青岛垚鑫智能科技有限公司
宣传

位置:中冶有色 >

有色技术频道 >

> 废水处理技术

分类:
全部
矿山技术
冶金技术
材料制备及加工技术
环境保护技术
分析检测技术
 
全部
废水处理技术
大气治理技术
固/危废处置技术
土壤修复技术
地区:
全部
北京
天津
上海
重庆
河北
山西
辽宁
吉林
黑龙江
江苏
浙江
安徽
福建
江西
山东
河南
湖北
湖南
广东
海南
四川
贵州
云南
陕西
甘肃
青海
内蒙
广西
西藏
宁夏
新疆
其他
其他
展开
 
全部
南京
无锡
徐州
常州
苏州
南通
连云港
淮安
盐城
扬州
镇江
泰州
宿迁

江苏无锡有色金属废水处理技术理论与应用

免费发布技术信息>>
将右旋糖酐发酵废液用于丁二酸发酵生产的方法

本发明公开了一种将右旋糖酐发酵废液用于丁二酸发酵生产的方法,属于生物工程技术领域。本发明方法是以右旋糖酐发酵废液为母液配制丁二酸发酵培养基,分批发酵可产丁二酸30-40g/L;或者采用10-40g/L葡萄糖为起始发酵培养基的碳源,后续补加浓缩右旋糖酐发酵废液的方式进行补料分批发酵生产丁二酸,40-60h产丁二酸可达40-55.0g/L,生产强度0.8-1.0g/L/h,糖酸转化率为0.70-0.83g/g。本发明可充分利用右旋糖酐发酵废液中的还原糖作为丁二酸发酵生产的碳源,有效减少右旋糖酐生产过程中的废水排放量,减少丁二酸发酵培养基制备时的葡萄糖用量,实现右旋糖酐发酵废液的废物利用。

标签:
废水处理
江苏 - 无锡 来源:中冶有色网 2023-03-19
植物叶制粉冻干工艺
植物叶制粉冻干工艺 1263     
 0

本发明公开了一种植物叶制粉冻干工艺,其特征是,以6年至10年生长的植物叶为原料,剔除枯黄叶及夹杂物,用配制的3.5%浓度的D-2.3.5.6-四羟基-2-己烯酸-γ-内酯酸钠+1.5%浓度的脱乙酰基的甲壳素漂洗、沥水、再经低温10-20℃温度下真空干燥后,在2-6度温度下冷藏保存备用;开启冷冻浓缩装置,料液送入冷冻浓缩装置,在设定时间内完成冷冻浓缩过程,料液被分离成高浓度溶液和废水,高浓度溶液的固形物含量最高不超过40%;溶液送入喷雾冷冻塔,废水送入水冷箱,水冷箱设有一级热泵;水冷箱作为二级热泵的冷源和一级热泵的热源;干燥过程为:料液喷雾冷冻造粒,喷雾冷冻造粒的温度控制在-40~-60℃,在低温状态下,喷雾产生的颗粒瞬间被冷冻,制成冻干粉该方法制备简单,收率高。

标签:
废水处理
江苏 - 无锡 来源:中冶有色网 2023-03-19
以微波幅射加热合成钼酸铋八面体纳米颗粒的方法

一种以微波幅射加热合成钼酸铋Bi3.2Mo0.8O7.5八面体纳米颗粒的方法,属于纳米材料和催化材料技术领域。本发明通过微波幅射加热反应前驱水溶液合成表面具有特殊形态的钼酸铋八面体颗粒,以五水硝酸铋为铋源,通过超声清洗仪分散在水溶液中后,加入钼酸钠形成前驱溶液,通过控制反应体系的pH值和反应温度,使纳米八面体颗粒粒径控制在50-200nm;钼酸铋八面体颗粒具有良好的分散性,比表面积较大,在可见光光范围具有响应性质,可应用于可见光催化降解有机物,从而解决废气、废水中的污染问题。本发明制备过程中的反应条件温和,方法简单易行,制得的钼酸铋八面体纳米颗粒可作为可见光光催化剂。

标签:
废水处理
江苏 - 无锡 来源:中冶有色网 2023-03-19
硫氮重金属离子螯合聚合物微球的制备及应用

一种硫氮重金属离子螯合聚合物微球的制备及应用,属于功能化高分子材料制备、含有重金属离子的废水治理技术领域。本发明采用4-乙烯基吡啶、聚乙二醇甲基丙烯酸酯为聚合单体,硫二甘醇二甲基丙烯酸酯为交联剂,进行悬浮聚合,制得硫氮重金属离子螯合聚合物微球;该交联聚合物微球中同时含有硫和氮功能性配体,以强化对重金属离子的螯合去除效果,一步法双效实现聚合和螯合剂功能化,可有效地避免螯合剂的释放,同时具有优异的机械强度,可用于填充柱或床以去除重金属离子。本发明方法是一种高效、简单、可行的工艺路线,不易产生二次污染,所需设备简单,操作方便,条件易于控制,生产成本低。

标签:
废水处理
江苏 - 无锡 来源:中冶有色网 2023-03-19
提高邻苯二甲酸二丁酯/二异丁酯热稳定性的方法

一种提高邻苯二甲酸二丁酯/二异丁酯热稳定性的方法,属于精细有机合成、高分子新材料的应用与加工成型技术领域。本发明采用无机碳酸盐热处理方法提高塑料增塑剂邻苯二甲酸二正丁酯和邻苯二甲酸二异丁酯产品内在热稳定性的方法,该方法的特点适用于采用质子酸,如硫酸作为酯化催化剂,在苯酐和正丁醇、或异丁醇酯化合成的反应体系中,对粗酯用无水固体碳酸盐进行热分解,有效地除去反应过程中的催化剂、副产物,能有效去除酯化反应体系中的着色副产物,达到提高产品稳定的作用效果,满足PVC制品热加工的要求;比原来生产方法减少了2/3的工艺废水量,并缩短了生产周期,达到了节能与减排的目的。

标签:
废水处理
江苏 - 无锡 来源:中冶有色网 2023-03-19
降低酸洗废液中双氧水含量的方法

本发明提供一种降低酸洗废液中双氧水含量的方法,其可避免引入杂质并有效降低酸洗废液中的双氧水含量,保证硫酸的回收率,提高酸洗废液的回收利用效果;其包括以下步骤:S1:将酸洗废液从加热釜顶部的吹脱塔上部喷入带有曝气装置的加热釜中,低压压缩空气从加热釜的底部通过曝气装置进入加热釜,加热反应;S2:得到的硫酸顺次经过预热器、冷却器后进入硫酸成品储罐,反应产生的蒸汽经吹脱塔进入冷凝器中进行冷凝,得到的冷凝水进入冷凝水罐,不凝废气进入尾气处理系统;S3:冷凝水送至废水处理槽中与印染废水反应。

标签:
废水处理
江苏 - 无锡 来源:中冶有色网 2023-03-19
一株高效苯酚降解菌及其应用

本发明公开了一株高效苯酚降解菌及其应用,所述菌株的保藏编号为CGMCC NO.16470。本发明的菌株能够有效降解含苯酚的高浓度废水。

标签:
废水处理
江苏 - 无锡 来源:中冶有色网 2023-03-19
以二氧化锰一维纳米材料作为催化剂的臭氧化水处理方法

一种以二氧化锰一维纳米材料作为催化剂的臭氧化水处理方法,本发明给出了纳米催化剂的制备方法和使用方法,属于水处理和环境催化技术领域。通过简便的水热法获得了二氧化锰纳米棒,将其作为催化剂加入到含苯酚类废水的臭氧化水处理体系中,促进苯酚类有机污染物的降解,在此基础上提出了一种新型的臭氧化水处理方法。所得二氧化锰一维纳米材料具有尺度小、分散好、可分离性好的特点,在臭氧化水处理中具有广阔的应用前景。

标签:
废水处理
江苏 - 无锡 来源:中冶有色网 2023-03-19
高效反渗透浓水处理方法

本发明公开了一种高效反渗透浓水处理方法,包括以下几个步骤:1)、调节反渗透浓水的pH范围为6~9;2)投加H2O2,反应5~20分钟;3)进入臭氧氧化塔,臭氧氧化塔内O3浓度为50~200mg/L,反渗透浓水在塔内停留0.5h~2h;4)进入电催化氧化反应器,在塔内停留0.5h~1.5h;5)进入混凝沉淀池,投加PAM,利用搅拌器混凝搅拌15~20min;6)、进入经斜板沉淀后进入机械过滤器,经过滤后的出水达标排放。本发明不仅适用于各类生化处理达标后经反渗透回用处理产生的高盐高碱度浓水,也适用于其它难以处理的废水。处理后的出水由CODcr120-400mg/L降至60mg/L以下,从而达到《城镇污水处理厂污染物排放标准》(GB18918-2002)中一级B标准。

标签:
废水处理
江苏 - 无锡 来源:中冶有色网 2023-03-19
以薯类为主原料的酒精环形生产工艺

本发明涉及一种利用厌氧消化液作为工艺配料用水的薯类原料酒精生产的环形生产工艺。其主要取薯类淀粉质原料粉碎后加入消化液、Α-淀粉酶,经搅拌均匀、加热、保温、液化,降温,再加入糖化酶,糖化结束后降温;接入酵母,恒温培养发酵,经蒸馏获得成品酒精;取上述蒸馏废醪液经冷却,恒温厌氧发酵产生沼气;厌氧发酵液经固液分离得到消化液和活性污泥;消化液循环回下一批发酵,构成一个环形圈。本发明蒸馏废醪液只需要厌氧发酵一步处理,可大大减少占地面积和固定资产投资;厌氧发酵的运行成本低,消化液循环利用,可实现发酵废水的零排放,可完全消除目前酒精生产中的高浓度废液排放对环境造成的污染,并可节约大量宝贵的水资源。

标签:
废水处理
江苏 - 无锡 来源:中冶有色网 2023-03-19
水溶性大分子重金属捕集剂的制备及应用

一种水溶性大分子重金属捕集剂的制备及应用,属于功能化高分子材料制备、含有重金属的废水治理技术领域。本发明公开了一种水溶性大分子重金属捕集剂的制备方法,通过将两种小分子胺类乙二胺和三乙烯四胺交联生成大分子骨架,然后在大分子骨架上接枝二硫代氨基甲酸基团,生成一种大分子水溶性的重金属捕集剂。此类重金属捕集剂不仅可以螯合重金属离子还有网捕絮凝的功效,常温下可与废水中各种游离或者络合状态的重金属离子迅速反应,生成不溶性的沉淀,生成的絮体沉淀物颗粒大、结构密实、沉降速度快,适用的重金属离子范围广,pH范围宽1~9,对于水中重金属离子的去除率高,可以达到95%以上。

标签:
废水处理
江苏 - 无锡 来源:中冶有色网 2023-03-19
苯二甲酸二(2-乙基)已酯的清洁生产方法

一种苯二甲酸二(2-乙基)已酯的清洁生产方法,将精对苯二甲酸与辛醇投入反应釜中,在催化剂作用下进行酯化,经碱水中和、真空脱醇、过滤得成品,生产方法中的酯化水循环利用,将酯化反应生成的酯化水收集并进行预处理,部分经处理后的酯化水配制用于后续酯化反应液中和用的高浓度碱水,剩余的经处理后的酯化水用于真空脱醇,以此循环,完全没有使用工艺用水,大幅度地减少了废水生成量,达到了清洁生产的效果。?

标签:
废水处理
江苏 - 无锡 来源:中冶有色网 2023-03-19
高效回收并利用豌豆白蛋白制备乳液的方法

一种高效回收并利用豌豆白蛋白制备乳液的方法,属于农产品加工及副产品综合利用技术领域。本发明以豌豆乳清废水为原料,使用天然可食性的阴离子多糖作为回收白蛋白及制备蛋白乳液的材料,在豌豆乳清废水中添加一定质量的多糖,调节pH,通过静电沉淀回收豌豆白蛋白,得到的豌豆白蛋白‑多糖复合物通过分散溶解、加油、乳化均质,制备得到酸性稳定的乳液,提高豌豆白蛋白乳液的乳化稳定性和贮存稳定性。本发明实现了豌豆白蛋白的综合利用,设备要求低,操作简单,无环境污染,乳液贮存稳定性高。

标签:
废水处理
江苏 - 无锡 来源:中冶有色网 2023-03-19
水酶法提取玉米胚芽油及回收蛋白质的方法

水酶法提取玉米胚芽油及回收蛋白质的方法,属于水酶法提油工艺的技术领域。本发明是以玉米胚芽为原料,经稀柠檬酸溶液浸泡热处理、沥干、加水磨浆、酶解、离心得到游离玉米胚芽油;将沥干后所得之浸泡液和离心后所得之水解液混合经过纳滤、真空浓缩、喷雾干燥回收得到蛋白质。本发明对所用原料湿玉米胚芽进行冻结-解冻反复两次,用稀柠檬酸溶液浸泡热处理,酶解时采用酸性蛋白酶结合纤维素酶的酶解工艺,通过这些特色的处理工艺大大提高了游离油的提取率,游离油质量较好易于精炼,并较好保持回收蛋白质的营养价值和功能价值。与传统压榨法、水提法工艺相比,生产过程设备简单、操作安全、能耗较低、污染少,废水中BOD、COD值大为下降易于处理。

标签:
废水处理
江苏 - 无锡 来源:中冶有色网 2023-03-19
纯淀粉上浆棉织物的一浴退浆精练方法

本发明公开了一种纯淀粉上浆棉织物的一浴退浆精练方法,属于纺织品染整前处理技术领域。本发明方法是将栓菌Trametes?sp.LEF01产的含漆酶、纤维素酶、半纤维素酶、果胶酶等多种酶成分的粗酶液和淀粉酶复配,对含淀粉浆(无PVA)纯棉织物进行酶法一浴退浆、精练前处理,利用淀粉酶分解淀粉浆料,栓菌产粗酶液降解果胶、棉籽壳等非伴生杂质,实现织物上淀粉浆料的退尽、织物润湿性提高和表面的光洁。本发明方法可全面提升棉织物前处理效果,克服传统碱法退浆精练能耗、水耗和废水排放量大,环境污染严重的不足,是一种绿色环保、环境友好型棉织物短流程清洁生产工艺。

标签:
废水处理
江苏 - 无锡 来源:中冶有色网 2023-03-19
棉机织物生物酶轧堆法前处理工艺

一种棉机织物生物酶轧堆法前处理工艺,属于染整行业的前处理工艺技术领域。本发明采用棉机织物生物酶轧堆法前处理工艺,将退浆棉机织物先浸轧碱性果胶酶液,再保温堆置处理,然后经热水洗(兼灭酶),冷水洗,最后进行常规过氧化氢漂白工序而完成棉机织物的前处理加工。所用碱性果胶酶尤以Bacillus subtilis WSHB04-03产碱性果胶裂解酶为优。该工艺具有前处理效果好,对纤维损伤小,处理织物的品质高,处理废水环境污染小,以及生产效率高、劳动强度低、节能、节水等诸多优点。

标签:
废水处理
江苏 - 无锡 来源:中冶有色网 2023-03-19
分离提取ε-聚赖氨酸的方法

本发明公开了一种分离提取ε‑聚赖氨酸的方法,属于提取分离技术领域。本发明运用有机溶剂/无机盐双水相体系,提供了一种既能够减少废水产生、简化操作步骤、降低提取成本,又具有提取回收率高、提取成品纯度高等优势的ε‑聚赖氨酸(ε‑PL)提取方法,采用此方法分离提取ε‑聚赖氨酸,回收率可高达98%以上,相较于传统离子交换提取方法具有显著的优势。

标签:
废水处理
江苏 - 无锡 来源:中冶有色网 2023-03-19
制备阳离子淀粉浆料的方法

本发明公开了一种制备阳离子淀粉浆料的方法,包括在反应器中加入水和原淀粉,配制原淀粉质量百分浓度为10%-15%的淀粉乳,在搅拌条件下加入相对于淀粉质量1%-10%的2,3-环氧丙基三甲基氯化铵和相对于淀粉质量1%-2%的氢氧化钠,在高于原淀粉糊化温度30-50℃下高温反应,反应结束后用稀盐酸或硫酸调节pH为6.5-7.5,就得到了阳离子淀粉浆料,该浆料可以直接用于经纱上浆,免除了阳离子淀粉在淀粉厂或浆料厂进行专门生产的过程,大幅度节约了生产成本,简化了生产工序,减轻了阳离子淀粉生产过程中排放的废水对环境的污染。

标签:
废水处理
江苏 - 无锡 来源:中冶有色网 2023-03-19
钛基氧化铜掺杂锡锑氧化物电极的制备方法及应用

本发明公开了一种钛基氧化铜掺杂锡锑氧化物电极的制备方法及应用,属于电极材料制备领域。本发明所述的制备氧化铜掺杂锡锑氧化物电极的方法,包括如下步骤:对钛基材进行预处理、超声铜活化、化学沉积锡和锑、煅烧,得到氧化铜掺杂锡锑氧化物电极;其中化学沉积锡和锑采用的A液中含有硫脲、醋酸、磷酸二氢钠、OP‑10、聚乙二醇;B液中硫酸、柠檬酸、锡盐、SbCl3的质量体积比为90uL:1.5g:0.575g~3.45g:12~48mg;煅烧是在400‑650℃煅烧4‑8h。本发明制备的氧化铜掺杂锡锑氧化物电极具有高析氧电位达到2.13V(vs.SHE),适用于难降解废水的完全降解,100min可实现20mg/L染料几乎完全降解。

标签:
废水处理
江苏 - 无锡 来源:中冶有色网 2023-03-19
在膜生物反应器中抑制膜污染的方法

一种在膜生物反应器中抑制膜污染的方法,属于废水生物处理技术领域。本发明采用在传统膜生物反应器中,培养或接种好氧颗粒污泥即增大污泥颗粒的尺寸或改变污泥形态,从而抑制膜污染;以模拟生活污水为膜生物反应器进水,以好氧絮状污泥或好氧颗粒污泥为接种污泥,通过改变传统膜生物反应器的环境运行条件,从而改变膜生物反应器中的污泥大小和形态,保持接种好氧颗粒污泥的理化特性,来减轻甚至消除膜污染带来的不利影响。本发明方法操作简便、高效,可望在工程实践中运用。

标签:
废水处理
江苏 - 无锡 来源:中冶有色网 2023-03-19
结合转晶的谷氨酸闭路循环提取工艺

本发明涉及一种结合转晶的谷氨酸闭路循环提取工艺,其主要先将谷氨酸发酵液和味精母液混合,调等电点使谷氨酸结晶析出;经过两级分离分别得到Α晶型谷氨酸结晶及等电母液;等电母液经过除菌分离回收菌体;除菌后母液进蒸发器浓缩、脱盐浓缩,使硫酸铵结晶析出;分离得到硫酸铵结晶和浓缩母液;Α晶型谷氨酸结晶中加入味精母液或水,并加热溶解,冷却结晶,使Α晶型谷氨酸转变为Β晶型,分离得到Β晶型谷氨酸;转晶母液经浓缩后和脱盐浓缩母液混合,加入硫酸水解;水解液循环回到等电结晶。本发明谷氨酸提取收率高,获得的谷氨酸结晶质量好,同时获得菌体蛋白、硫酸铵、腐殖质等多种副产物,消除了高浓度废水污染。

标签:
废水处理
江苏 - 无锡 来源:中冶有色网 2023-03-19
羧甲基淀粉硬脂酸酯及其制备方法

一种羧甲基淀粉硬脂酸酯及其制备方法,属于复合变性淀粉技术领域。本发明以羧甲基淀粉为原料,硬脂酸为酯化剂,脂肪酶为催化剂,加入干燥剂并以水浴锅为控温装置,控制搅拌速率,酶法结合干法制备复合变性淀粉羧甲基淀粉硬脂酸酯;该产品有效地改善了羧甲基淀粉不耐盐、不耐剪切的缺点,并且大大提高了羧甲基淀粉的粘度,因而在某些领域中能代替羧甲基淀粉作为增稠剂、稳定剂、乳化剂、脂肪替代品等。本发明所述的脂肪酶在pH3-11之间都具有较高活性;干法收率高、流程短、无废水排放;酶法催化反应具有低能耗、选择性好和转化率高等优点,并且反应组分少,利于后期分离。

标签:
废水处理
江苏 - 无锡 来源:中冶有色网 2023-03-19
环保型微电解陶粒及其制备方法

本发明提供一种环保型微电解陶粒及其制备方法。本发明环保型微电解陶粒,其由下述原料按质量百分比制成:纳米零价铁30~40%,活性炭20~30%,河湖淤泥20~30%,分散剂5~10%,粘合剂5~10%,造孔剂5~10%,催化剂5~10%,石墨烯0.1~0.5%。本发明利用河湖淤泥制备环保型微电解陶粒,有利于河湖淤泥资源化利用,且陶粒具有比表面积大、吸附性能好、机械强度高、使用寿命长、理化性能稳定、不易钝化和板结、可活化重复利用等优点,有效结合电化学、氧化还原、物理吸附及絮凝沉淀于一体,在处理废水的同时可提高废水的可生化性。

标签:
废水处理
江苏 - 无锡 来源:中冶有色网 2023-03-19
臭氧联合鸟粪石沉淀法去除高氨氮的方法

本发明涉及一种臭氧联合鸟粪石沉淀法去除高氨氮的方法,属于环境工程技术领域。本发明提供一种臭氧‑鸟粪石MAP组合技术处理垃圾渗滤液的方法,有效增加了鸟粪石沉淀的大小,提高了氨氮、TOC、总磷的去除效率,分别达到75.12%,84.33%,95.03%;同时,还缩短了MAP沉淀沉降的时间,缩短到了原先的一半。本发明方法减轻了垃圾渗滤液也后续难度,提升好氧处理的可生化性。同时,本发明使氨氮废水处理方法简单,不受温度和水中毒素的限制,能有效处理高浓度的氨氮废水,实现氨氮的资源化回复利用,更加适于实用。

标签:
废水处理
江苏 - 无锡 来源:中冶有色网 2023-03-19
一株产漆酶的二年残孔菌

本发明公开了一株产漆酶的二年残孔菌(Abortiporus biennis)LS‑4,属于生物技术领域。所述Abortiporus biennis LS‑4已保藏于中国典型培养物保藏中心,保藏编号:CCTCC M 2017822。该菌株所产漆酶催化性能高,对多种染料脱色能力显著,且粗酶液单位酶活催化效率高,有利于漆酶在印染废水处理等领域的应用。

标签:
废水处理
江苏 - 无锡 来源:中冶有色网 2023-03-19
自动捞渣的机械格栅装置

一种自动捞渣的机械格栅装置,属于机械格栅技术领域,包括承接台、支撑柱、转筒、格栅,承接台设置前后间隔一定距离且对称的两块,前后两承接台顶部左侧固定均设置支撑柱,两支撑柱之间通过一左右转向的转轴连接,转轴两端活动连接在支撑柱内的电机上,转轴轴体中间外嵌套一同轴线的承接轴,承接轴轴体上下左右侧均通过两前后间隔分布的支撑轴与转筒内嵌连接,转筒与承接轴同轴线,转筒筒面环绕固定设置格栅。通过设置可以旋转的转筒承载格栅,转筒底部最少六分之一的部分浸入到废水中,增大格栅与废水的接触范围,能够保证废渣捞取的充分性;同时转筒转动使得格栅连续的浸入到废水中,能够避免废渣出现遗漏的现象,保证废渣捞取的效果。

标签:
废水处理
江苏 - 无锡 来源:中冶有色网 2023-03-19
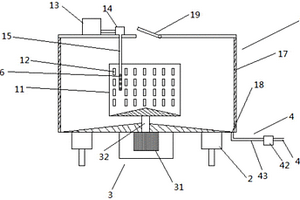
含曝气的膜处理装置
含曝气的膜处理装置 969     
 0

本实用新型公开了一种含曝气的膜处理装置,包括一个或若干个并联连接的过滤组件,过滤组件的进水口通过进水管路与进水箱连接,进水管路上设置有进水阀、进水泵;过滤组件的产水口外接有产水管路,产水管路上设置有产水阀;过滤组件的底部设置排污口;过滤组件的错流口外接有错流管路,错流管路上设置有错流阀;供气管路连接至过滤组件,供气管路上设置有曝气阀;反冲泵连接在产水口与产水阀之间的产水管路上。过滤时通过打开曝气阀对膜过滤部件外部进行擦洗,打开错流阀,使浓度较高的污水直接流出,不进行过滤,同时在冲洗时利用反冲泵对膜过滤部件进行水反洗,降低膜过滤部件堵塞概率,适合处理含煤废水等高浊度废水、含强酸、强碱的化工废水。

标签:
废水处理
江苏 - 无锡 来源:中冶有色网 2023-03-19
生化系统耐盐脱氮菌活化投加一体化装置

本实用新型专利涉及一种废水中投加菌剂降解氨氮的装置,属于废水处理设备领域,尤其是涉及一种生化系统耐盐脱氮菌活化投加一体化装置,该装置具有结构紧密,操作简单、实用性强的特点,其能够有效降低投入成本,适用于废水处理中氨氮较高的企业使用,其包括活化池和储存池,所述活化池与所述储存池内均设置有搅拌器,所述活化池和所述储存池通过带传输泵的传输管道连接,所述活化池与所述储存池均连接曝气风机、消泡剂投加装置,所述活化池还连接碳酸钠投加装置和活化剂投加装置。

标签:
废水处理
江苏 - 无锡 来源:中冶有色网 2023-03-19
新型网带式电阻炉
新型网带式电阻炉 806     
 0

本实用新型公开了一种新型网带式电阻炉,包括电阻炉本体,所述电阻炉本体的上端边侧通过螺钉固定安设有冷却水箱,所述冷却水箱的右端底侧通过固定管与底端的电阻炉本体对接相连,所述电阻炉本体的内壁顶端通过销钉固定安设有吸风罩,所述吸风罩的顶端通过风管与风机的输入端对接相连,该实用新型能够有效的将废气中粉尘以及二氧化硫等气体溶解在废水箱中废水中,相应的蒸汽以及其他气体通过排气管排出,减少有害气体对工作人员造成伤害,待温度计检测到水体的温度低于设定值后,水泵抽取废水箱上层的水体,使其通过输水管、排水管再次回到冷却水箱中便于对水体进行循环使用,节省水资源,结构设计紧密合理,具有很强的实用性,适合推广。

标签:
废水处理
江苏 - 无锡 来源:中冶有色网 2023-03-19
生产硫酸软骨素用脱水装置

本实用新型公开了一种生产硫酸软骨素用脱水装置,包括机体、阻尼减震器、动力装置和废水处理装置,所述机体的下方设有阻尼减震器;所述机体内同轴设有脱水桶,所述脱水桶内壁上均布有若干个脱水孔;所述机体的顶部安装有鼓风机和空气加热器,所述鼓风机通过管道与空气加热器的一端相连,所述空气加热器的下端设有进风管,所述进风管贯穿机体顶部进入到脱水桶内,所述进风管表面开有若干进风孔;所述机体内壁设有一层隔音层;所述动力装置安装于机体下方;所述废水处理装置与机体底部的排污口相连。本实用新型应用于硫酸软骨素生产过程中,可在离心脱水的同时进行热风干燥,脱水效率更高;同时,设置废水处理装置和隔音层,降噪、降低环境污染。

标签:
废水处理
江苏 - 无锡 来源:中冶有色网 2023-03-19
上一页 13 14 15 16 17 ... 80 下一页
共80页    到第

中冶有色为您提供最新的江苏无锡有色金属废水处理技术理论与应用信息,涵盖发明专利、权利要求、说明书、技术领域、背景技术、实用新型内容及具体实施方式等有色技术内容。打造最具专业性的有色金属技术理论与应用平台!

全国热门有色金属设备推荐
展开更多 +
全国热门有色金属技术推荐
展开更多 +

 

江西省隆恩特环保设备有限公司
宣传

报名参会
更多+

报告下载

有色专家
更多+

武汉科技大学
校学术委员会主任 / 教授
郑州大学
校长/党委书记
长沙矿冶研究院
总经理
中国矿业大学(北京)
教授
辽宁忠旺集团
教授级高工
赤泥综合利用研究报告2025
推广

热门技术
更多+

推荐企业
更多+

福建省金龙稀土股份有限公司
宣传

发布

在线客服

公众号

电话

顶部
咨询电话:
010-88793500-807