青岛垚鑫智能科技有限公司
宣传

位置:中冶有色 >

有色技术频道 >

> 复合材料技术

分类:
全部
矿山技术
冶金技术
材料制备及加工技术
环境保护技术
分析检测技术
 
全部
功能材料技术
复合材料技术
新能源材料技术
合金材料技术
加工技术
地区:
全部
北京
天津
上海
重庆
河北
山西
辽宁
吉林
黑龙江
江苏
浙江
安徽
福建
江西
山东
河南
湖北
湖南
广东
海南
四川
贵州
云南
陕西
甘肃
青海
内蒙
广西
西藏
宁夏
新疆
其他
其他
展开
 
全部
福州
厦门
漳州
泉州
三明
莆田
南平
龙岩
宁德

福建厦门有色金属复合材料技术理论与应用

免费发布技术信息>>
游艇复合材料油箱/水箱的制作方法

一种游艇复合材料油箱/水箱的制作方法,利用船底加强筋及横向舱壁侧面作为油箱的壁板,采用制作法兰边模具、玻璃钢油箱盖、多次糊制等工艺,将油箱/水箱组合成型,进一步简化油箱/水箱的成型工艺,并提高油箱/水箱的耐腐蚀性及防渗油/水性。

标签:
复合材料
福建 - 厦门 来源:中冶有色网 2023-03-18
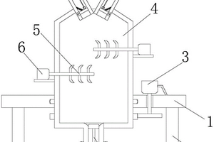
环氧树脂的复合材料制备的混合装置

本实用新型涉及环氧树脂技术领域,且公开了一种环氧树脂的复合材料制备的混合装置,包括台板,所述台板的内壁设置有混料箱,所述台板的外壁设置有传动组件,所述混料箱的内部设置有进料组件,所述进料组件包括设置在混料箱内壁的进料筒,所述进料筒的内壁活动连接有转销,所述转销的外壁活动连接有挡板,所述挡板的外壁活动连接有拉杆,所述台板的底部固定连接有支杆,所述混料箱的底部活动连接有活塞,所述混料箱的外壁固定连接有小电动机。该混合装置,因传动组件的设置以及其内部部件和搅拌杆和小电动机的相互配合使用,通过搅拌和离心混合,可达到较好的混合效果,提高了该装置的使用效果,为使用者提供了便利。

标签:
复合材料
福建 - 厦门 来源:中冶有色网 2023-03-18
用于复合材料钻孔用环形刀具

本实用新型公开了一种用于复合材料钻孔用环形刀具,包括圆棒形主体;该圆棒形主体的一端设为切削部,另一端设为夹持部,中间为过渡部;切削部和过渡部均为空心槽位结构,并在圆棒形主体的一端的端部沿圆周方向设置至少一个切削刃;当切削刃为多个时,各切削刃为等刃高,且不等刃宽;所述切削刃具有前刀面和后刀面,相应地形成工作前角和工作后角;所述切削刃与水平方向成一定夹角,形成倒锥角度;所述切削刃前刀面设有多级容屑槽结构,以便于切屑排出。本实用新型克服了现有技术的钻头钻芯部位切削阻力大的缺点,能够有效降低钻削轴向力,避免钻头易产生出口毛刺、层间分层和纤维裂纹等缺陷,特别适用于薄壁零件孔位加工,能够有效降低加工颤振。

标签:
复合材料
福建 - 厦门 来源:中冶有色网 2023-03-18
用于碳纤维复合材料铣钻加工的专用机床

本实用新型专利公开了一种用于碳纤维复合材料铣钻加工的专用机床,专用机床包括机床本体、单动力源三轴进给机构、真空吸盘专用夹具、负压吸尘装置,该专用机床内部的置有齿轮变向传动机构,可以仅用一个驱动电机的驱动实现x、y、z三个方向的直线进给,减少了电机使用数量,简化了进给系统,进给稳定可靠;专用机床采用真空吸盘专用夹具来装夹工件,定位简单,操作方便;机床主轴上配有负压吸尘装置,可将加工过程中产生的粉尘及时吸取回收,避免工作环境的污染,保证工作人员的健康和机器设备的良好运行。该专用机床,结构简单,使用方便,适用于碳纤维薄板的铣钻加工。

标签:
复合材料
福建 - 厦门 来源:中冶有色网 2023-03-18
复合材料建筑模板组合体系

本实用新型提供了一种复合材料建筑模板组合体系,包括楼梯模板及闭合型阴角模板;楼梯模板包括堵板、狗牙、楼梯侧板、楼梯踏板及楼梯踢板;楼梯踏板及楼梯踢板从低到高依次错位布置形成台阶,台阶安装于楼梯侧板与狗牙的内侧面之间,狗牙的外侧面安置于墙体上,堵板设于狗牙、楼梯侧板及台阶的底部,堵板、狗牙、楼梯侧板、楼梯踏板及楼梯踢板之间形成一闭口式浇注空间;楼梯踏板的上端面上设有进料口;闭合型阴角模板包括第一端板及第一侧板,第一端板及第一侧板相互连接形成一长方体;任意两个相邻的第一侧板上设有连接部与操作部,操作部之间于第一侧板的交汇处对接;连接部上设有第一连接孔;操作部设有操作孔。本实用新型是一套完整的体系。

标签:
复合材料
福建 - 厦门 来源:中冶有色网 2023-03-18
基于石墨烯复合材料的柔性钙钾离子检测传感器及其制备方法

本发明属于柔性传感器领域,具体公开了基于石墨烯复合材料的柔性钙钾离子检测传感器。柔性钙钾离子检测传感器包括两个工作电极、Ag/AgCl参比电极和耐高温高分子膜柔性基底;两工作电极分别为钙离子选择性电极和钾离子选择性电极,耐高温高分子膜柔性基底具有第一电路和第二电路,工作电极在耐高温高分子膜柔性基底的电极结构为柔性基底/第二电路/导电高分子聚合物/石墨烯/特异性钙(钾)离子检测混合物。本发明还公开了上述传感器的制备方法,该制备方法操作可控,重现性高,传感器在0.25~2mM的钙、钾离子浓度下,能够显示出特有的开路电位;高灵敏度、高特异性、低干扰,综合性能突出,能够实现长时间进行实时检测。

标签:
复合材料
福建 - 厦门 来源:中冶有色网 2023-03-18
低成本高性能的导热阻燃尼龙复合材料及其制备方法

本发明公开一种低成本高性能的导热阻燃尼龙复合材料,包括以下重量份数的原料:尼龙树脂30‑45份;导热填料20‑30份;增量填料10‑20份;增强材料10‑20份;增韧剂2‑5份;增白填料2‑5份;润滑剂0.5‑1.5份;复配抗氧剂0.1‑0.3份;成核剂0.05‑0.2份。制备方法将除增强材料外的其它材料先高速混合均匀,再将混合材料和增强材料分别投入双螺杆挤出机的主、侧喂料口,最终成型。本发明通过对于生产配方的改进,在原料中加入大量的增量填料用于控制成本,同时配方的改进实现各原料间的合理搭配使用,使得成型产品仍然具有良好的流动性和机械性能,以解决现今低成本的导热阻燃尼龙因填充过多无机填料而导致流动性偏低、性能下降的问题。

标签:
复合材料
福建 - 厦门 来源:中冶有色网 2023-03-18
聚氨酯与玻璃纤维树脂复合材料产品及其制造方法

本发明了公开一种聚氨酯与玻璃纤维树脂复合材料产品,包括聚氨酯泡沫层和玻璃纤维树脂层,玻璃纤维树脂层形成中空腔体,聚氨酯泡沫层是由聚氨酯经化学反应发泡填充在中空腔体内。制造方法是:在预设模型的模具里,喷上离型剂;将玻璃纤维树脂均匀地涂喷在模具内表面上,等玻璃纤维树脂固化后,形成具有中空腔体的玻璃纤维树脂层;将低密度聚氨酯原料注入模具内,经化学反应进行发泡,使聚氨酯填充玻璃纤维树脂层的中空腔体,形成聚氨酯泡沫层;等发泡成型后,开模取出产品,再经过补修、外喷漆,完成加工制作。本发明不但具有玻璃钢的硬度以及低密度聚氨酯内芯泡沫强度、韧性的双重特征,并且产品整体密度低、耐冲击强度好,赢得了广阔的市场。

标签:
复合材料
福建 - 厦门 来源:中冶有色网 2023-03-18
用于碳纤维复合材料加工用PCD铣刀

本发明公开了一种用于碳纤维复合材料加工用PCD铣刀,包括刀片和刀杆;刀杆为硬质合金材料制作而成;所述刀片具有双刃断屑齿铣削刃,所述双刃断屑齿铣削刃包括铣削刃前端、由数个铣削刃单元组成的铣削刃主体和铣削刃后端,其中,一个铣削刃单元包括一个双刃断屑齿和一个断屑槽,所述一个双刃断屑齿包括一个第一铣削刃和一个第二铣削刃,且第一铣削刃的螺旋角β1与第二铣削刃的螺旋角β2旋向相反。本发明采用高强度材质PCD作为切削刃材料,在保证刃口强度的条件下,进一步通过创新性刃口结构设计,所产生的切屑细小易断,同时抑制轴向铣削分力,有效抑制毛刺的产生。

标签:
复合材料
福建 - 厦门 来源:中冶有色网 2023-03-18
复合材料声学检测传感器及检测方法

本发明公开了一种复合材料声学检测传感器及检测方法,传感器包括激励压电晶片、振动杆、电容式麦克风、触头,采用电容式麦克风替代接收压电晶片,无需考虑与激励压电晶片配对问题,容易制作,同时检测灵敏度提高,并可获得丰富的谐波分量,便于作频谱分析,利于检测材料的不连续性信息,便于进一步分析处理。

标签:
复合材料
福建 - 厦门 来源:中冶有色网 2023-03-18
复合材料帽壳
复合材料帽壳 919     
 0

本发明公布了一种复合材料帽壳,涉及注塑帽壳结构技术领域,最外层壳体采用轻质抗穿刺材料注塑构成,所述轻质抗穿刺材料由含浸尼龙网、PET、Kevlar、Uhmwpe、Innegra、LCP、Dyneema其中的任意一种与玻布,树脂,固化剂混合组成。它的优点在于相对于目前的塑料帽壳,本发明的帽壳不但重量轻,同时抗穿刺和抗冲击能力更好。

标签:
复合材料
福建 - 厦门 来源:中冶有色网 2023-03-18
溶剂型复合材料织板的制法及装置

本发明公开了一种溶剂型复合材料织板的制法,织板经传统制程中的上离型纸在滚筒上、纱束含浸树脂并缠在离型纸上、割下离型纸、覆盖另一离型纸、辗平、静置、烘烤流程后,特别将烘烤后的织板送入一热压装置,经热压装置的加热、加压,即可消除织板中存在的气泡,使纤维丝排列整齐,匀化树脂的分布,确保成品的结构强度及稳定性。

标签:
复合材料
福建 - 厦门 来源:中冶有色网 2023-03-18
不同包覆厚度的聚磷腈聚合物改性埃洛石纳米管复合材料的制备方法及其应用

本发明公开了一种不同包覆厚度的聚磷腈聚合物改性埃洛石纳米管复合材料的制备方法及其应用,包括如下步骤:(1)将适量的埃洛石纳米管置于乙腈中进行超声分散,再依次加入双端胺物质和三乙胺进行搅拌;(2)向步骤(1)所得的物料中缓慢滴入不同浓度的六氯环三磷腈的乙腈溶液,在40‑80℃下搅拌进行缩合聚合反应6‑24h;(3)将步骤(2)所得的物料用无水乙醇洗涤,在40‑80℃的条件下进行真空干燥至恒重得淡黄色固体,即得。

标签:
复合材料
福建 - 厦门 来源:中冶有色网 2023-03-18
超高频有源RFID物联网扎带电子标签用超韧尼龙66复合材料及其制备方法

本发明属于工程塑料技术领域,主要应用于物联网电子标签领域,涉及一种超高频有源RFID物联网扎带电子标签用超韧尼龙66复合材料及其制备方法,包括下述重量份数的组分,PA66树脂42.5~89.0份、PA6树脂0~20.0份、偶联剂0.1~1.0份、增韧剂10.0~30.0份、增塑剂0~6.0份、抗氧剂0.1~1.0份,其中增韧剂是由几种不同种类烯烃类聚合物的马来酸酐接枝物按比例搭配而成,具有良好的信号穿透性,并且在低温‑40℃的情况下扎带对折不断,同时PA66材料所制作的扎带也可以在较高的温度下使用,而不发生扎带滑牙,以应对物联网电子标签在各种不同应用环境下的使用要求。

标签:
复合材料
福建 - 厦门 来源:中冶有色网 2023-03-18
软磁金属粉体表面包覆处理方法及软磁复合材料

本发明提供一种软磁金属粉体表面包覆处理方法及软磁复合材料,通过设置不同配比的三烷氧基硅烷和正硅酸乙酯的多种水解液,将软磁金属粉体依次浸泡入不同的水解液,获得从里到外柔韧性依次降低的多层包覆层,最里层的包覆层柔韧性最好、与软磁金属粉体的结合力好,中间层的包覆层柔韧性比最里层包覆层的柔韧性差,最外层的包覆层为正硅酸乙酯水解缩合物,具有较高的硬度。因此,本发明的绝缘包覆层柔韧性梯度变化,由最里层往最外层柔韧性逐层降低。当压制成型时,最里层较好的柔韧性能较好的抵御挤压力造成的多层包覆粉体变形,降低压制成型时包覆层的破损。最外层为正硅酸乙酯的水解缩合物,有较好的耐热性,在退火时能较好的保护绝缘包覆层的稳定性。

标签:
复合材料
福建 - 厦门 来源:中冶有色网 2023-03-18
基于耐磨PA66复合材料加工的滚筒式压片装置

本发明公开的属于PA66材料加工技术领域,具体为一种基于耐磨PA66复合材料加工的滚筒式压片装置,包括工作台;支撑腿,所述支撑腿靠近所述工作台的一侧与所述支撑腿固定连接,所述支撑腿用于支撑工作台;降温机构,所述降温机构固定在所述工作台的顶部,解决了现有的滚筒式压片装置在对PA66材料加工过程中会出现压片后的材料表面不够平整,同时在加工过程中通过自然冷却的方式对材料进行冷却,增加了材料在冷却时的时间,从而减少了材料的加工效率,在材料加工过程中,由于材料在压片过程中会使得体积发生变化,需要将压片后的材料进行分切,从而方便使用者对材料的二次加工,给使用者的二次加工带来不便。

标签:
复合材料
福建 - 厦门 来源:中冶有色网 2023-03-18
界面增强增容的有机硅改性橡塑复合材料的制备方法

本发明公开了一种界面增强增容的有机硅改性橡塑复合材料的制备方法,包括如下步骤:(1)将硅橡胶生胶与多乙烯基硅氧烷在捏合机中捏合;(2)在步骤(1)所得的物料中分多次同时加入白炭黑和偶联剂,每次加入后均充分捏合均匀,得混炼胶;(3)将步骤(2)所得的混炼胶升温至130~150℃,加入增容剂POSS‑MMA嵌段共聚物、丙烯酸酯橡胶和防老剂,真空捏合均匀,然后通冷却水降温至80℃,加入交联剂,捏合出胶(4)将步骤(3)所得的物料冷却至室温,再分两段进行高温硫化成型,即成。本发明中POSS‑MMA嵌段共聚物作为增容剂,较好地增加了硅橡胶和丙烯酸酯橡胶的相容性,解决了丙烯酸酯橡胶分散不均匀的缺点。

标签:
复合材料
福建 - 厦门 来源:中冶有色网 2023-03-18
碳纤维复合材料自行车碟刹勾爪加强结构

本发明公开了一种碳纤维复合材料自行车碟刹勾爪加强结构,该勾爪是设在自行车管的后上叉管与后下叉管连接处的外端;后上叉管邻接勾爪的背部设有供安装碟刹的配合孔;其中:在自行车管的后上叉管与后下叉管的夹角之间设有一连接肋片。该连接肋片是位于碟刹配合孔的下方,形成一个三角形结构,能有效的将碟刹工作时产生的扭力进行分解,则碟刹产生的扭力会被后上叉管、后下叉管及连接肋片形成的稳固三角形共同承受而分解,使得整个勾爪承受力的强度得到极大提升;并且该连接肋片并无明显材料重量的增加。

标签:
复合材料
福建 - 厦门 来源:中冶有色网 2023-03-18
碳纤维复合材料模压成型工艺用双组份风管胶及制备方法

本发明公开一种碳纤维复合材料模压成型工艺用双组份风管胶,以重量份计,该双组份风管胶由以下成分组成:A组分:羟基封端的线型聚二有机基硅氧烷30-50份,填料10-20份,甲基硅油5-15份,溶剂油20-40份,添加剂1-10份;B组分:交联剂20-40份,溶剂油60-80份。将本发明的风管胶涂刷在保丽龙泡沫上,因保丽龙泡沫能成各种形状,包裹上碳纤材料进行高温烘烤就可直接成各种形状,因风管胶的离型较好,可方便抽出,这样就完成了有一定形状的碳纤制品,相比传统的就省去了粘合等步骤,并且不影响构件强度。本发明同时公开双组份风管胶的制备方法。

标签:
复合材料
福建 - 厦门 来源:中冶有色网 2023-03-18
用于肉类新鲜度监测的复合材料、比色薄膜及其制备

本发明一种用于肉类新鲜度监测的复合材料γ‑环糊精‑金属有机框架与茜素复合物(γ‑CD‑MOFs@ALI),并提出其制备方法包括将γ‑环糊精‑金属有机框架(γ‑CD‑MOFs)和茜素(ALI)溶解于有机溶剂中分散均匀,反应后离心获得γ‑CD‑MOFs@ALI沉淀,对所述沉淀进行洗涤和干燥处理,获得γ‑CD‑MOFs@ALI。本发明进一步提出一种比色薄膜,该薄膜通过流延法制备,以甲基纤维素MC/聚乙烯醇PVA为膜基材,其中包括上述复合物γ‑CD‑MOFs@ALI。本方法利用γ‑CD‑MOFs对挥发性有机胺的吸附实现薄膜的比色响应,增强了ALI对挥发性有机胺的显色灵敏性,表现出优越的比色传感性能。将该薄膜复合于肉类食品包装上,可依据ALI对pH的颜色响应判断肉类新鲜度。

标签:
复合材料
福建 - 厦门 来源:中冶有色网 2023-03-18
树脂基碳纤维复合材料表面密着处理剂及制备方法

本发明公开了一种树脂基碳纤维复合材料表面密着处理剂,由以下原料制备而成,所述原料按重量份数比为:碱性水溶液70‑85重量份,催化剂1‑5重量份,清洗剂5‑10重量份,引发剂10‑15重量份,稀释剂60‑80重量份,稳定剂1‑3重量份,有机钛螯合化合物4‑17重量份,表面活性剂5‑9重量份,防腐剂4‑5重量份,清洗剂去除工件表面易剥离的低表面张力有机硅脱模剂,用催化剂、引发剂在65℃打开复材表面镶嵌固化在工件表面上脱模剂的化学键,使其能和油漆交联,同时防腐剂和除油剂可以将模具表面剩余的脱模剂油性进行去除,且通过表面活性剂,加快反应速度,缩短反应时间,减少异味和废料的存在,较为环保,成本交底,单件处理工作量较小,便于生产工序自动化。

标签:
复合材料
福建 - 厦门 来源:中冶有色网 2023-03-18
多尺度微纳米荷正电复合材料及其制备方法

本发明公开了一种多尺度微纳米荷正电复合材料,其特征在于,包括荷负电纤维,特种带电粘结材料,粘结剂以及多尺度微纳米荷正电金属氧化物;其中荷负电纤维的质量百分比为20wt%~80wt%,特种带电粘结材料的质量百分比为1wt%~10wt%,粘结剂的质量百分比为0.1wt%~2wt%,多尺度微纳米荷正电金属氧化物的质量百分比为20wt%~70wt%。本发明具有表面积大,形成zeta电位高,稳定性好,能够通过电荷吸附去除水中带负电的污染物且去除效率高,并且具有优异的力学性能,制备方法和工艺简单,生产成本低,可实现工业化生产。

标签:
复合材料
福建 - 厦门 来源:中冶有色网 2023-03-18
直径145~155mm复合材料平衡训练板滚柱

本实用新型涉及体育训练器材领域,公开了一种直径145~155mm复合材料平衡训练板滚柱,包括滚柱基材,滚柱基材两端面设有两片彩片,所述滚柱基材外侧以及彩片外侧套设有热缩套管。本实用新型,可以大幅降低材料成本及运输成本,按近期的成本算是塑料管加防滑胶带方案的1/2,铝合金柱包橡胶的1/5,且外观面光滑无接缝,由于成本低比重轻可以做成大直径增加整个产品灵活性,提升训练效果。

标签:
复合材料
福建 - 厦门 来源:中冶有色网 2023-03-18
发泡聚丙烯复合材料的制备方法

本发明公开了一种发泡聚丙烯复合材料的制备方法,包括:(1)在聚丙烯材料中,添加重量比0.2‑1.0%的去离子水,按照上述重量配比,将聚丙烯材料和去离子水混合均混;(2)将(1)中所得混合物加入到双螺杆挤出机中熔融共混挤出,挤出机设置加工温度190‑220℃,加工过程中控制真空度在‑0.03‑0MPa,熔体压力控制在3.5‑5.5MPa;(3)将(2)挤出的样条进行过水冷却、干燥、切粒得到发泡粒子。本发明具有原料制取方便快捷、无毒、无污染等优势。

标签:
复合材料
福建 - 厦门 来源:中冶有色网 2023-03-18
一株多环芳烃去除复合材料、制备方法及其用途

本发明公开了一种多环芳烃去除复合材料,其有效成分包括:Mycobacterium?gilvum菌,保藏号为CGMCC?No.10941。制备方法为:将培养的Mycobacterium?gilvum菌(保藏号为CGMCC?No.10941)的种子液接种于装有生物炭的容器中,并于摇床振荡培养进行浸泡固定化后即得。可用于去除或降解土壤或水环境中的多环芳烃;在多环芳烃和重金属复合污染或多环芳烃单独污染的土壤或水环境中进行生物修复。

标签:
复合材料
福建 - 厦门 来源:中冶有色网 2023-03-18
石墨烯/壳聚糖复合材料的制备方法

本发明涉及一种石墨烯/壳聚糖复合材料的制备方法,其具体步骤为:将氧化石墨烯超声分散于水中制得分散液,向分散液中加入稳定剂继续超声,将氧化石墨烯/稳定剂分散液加到酸性壳聚糖水溶液中室温下高速搅拌后低速搅拌,加入还原剂进行油浴反应,静置、干燥蒸发溶剂得到石墨烯/壳聚糖复合膜;本发明制得的石墨烯/壳聚糖复合膜力学性能、耐热性能、导热、导电性能都有较大提高,所用原料均为绿色的,对环境无污染,且易于实现工业化生产。

标签:
复合材料
福建 - 厦门 来源:中冶有色网 2023-03-18
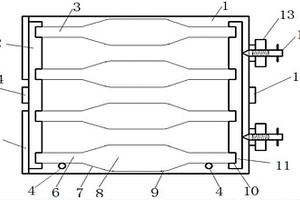
用于纤维水泥基复合材料拉伸实验的模具

本实用新型是一种用于纤维水泥基复合材料拉伸实验的模具,包括底板,所述底板为长方形板体,底板的两端设有端板,端板的内侧有卡槽,通过卡槽固定隔板,隔板的两端为长方形,长方形的宽和端板的卡槽相配合,隔板中部向外侧凸起,凸起面为一个没有下底的等腰梯形。隔板、端板和底板围成一个空腔,四块隔板嵌入端板中,可围成三个空腔,用于浇筑试件。采用本实用新型提供的模具制备的试件,成型试件精准,进行轴心抗拉强度测试时应力分布均匀,所得结果精确稳定。

标签:
复合材料
福建 - 厦门 来源:中冶有色网 2023-03-18
复合材料刀具
复合材料刀具 942     
 0

一种复合材料刀具,包括刀身和刀柄,所述的刀身包括陶瓷材料制成的刀身主体及接合于刀身主体表面的由金属或金属化合物制成的包覆层。所述的刀身主体为氧化锆陶瓷刀身主体。所述的包覆层通过真空蒸镀、真空溅射或电镀方式与刀身主体接合。在陶瓷刀身主体外设金属或金属化合物包覆层,使其保持陶瓷刀的优良性能且韧性较好,色彩多样。

标签:
复合材料
福建 - 厦门 来源:中冶有色网 2023-03-18
混合相硫化钼-多壁碳纳米管复合材料、制备方法及应用

本发明公开了混合相硫化钼‑多壁碳纳米管复合材料、制备方法及应用。该方法以钼酸铵为钼源、硫代乙酰胺为硫源、碳酸氢铵为助生长剂,在180~220℃下水热反应6~13h,制备出混合相硫化钼‑多壁碳纳米管,显著提高了超级电容器材料的比电容量和循环稳定性,一步水热法制备工艺简单高效,有利于大批量生产超级电容器材料。

标签:
复合材料
福建 - 厦门 来源:中冶有色网 2023-03-18
碳纤维复合材料自行车架

本实用新型一种碳纤维复合材料自行车架,涉及一种自行车部件。该自行车架中车首管、五通管,座管、两个钩爪、上管、下管、立管、后上叉和后下叉分别组成若干个组件并连接成完整的车架;各组件至少包含一管件及两个与其它组件接合的接头部;相邻组件相互接合并胶接的两个接头部组成一个接头对;其中至少有一对相邻的组件之间设有两个不同轴向的接头对,其中至少有一个接头对采用与该接头对自身的轴向相垂直的横向拼接胶合;该横向拼接胶合的接头对两侧的接头部分别带有沿自身轴线延伸的横截面呈凸字形的缩颈部及呈凹字形的缩颈部,这一对缩颈部横截面上的凸出部与凹入部相互横向对合并拼接胶合便于装配。

标签:
复合材料
福建 - 厦门 来源:中冶有色网 2023-03-18
上一页 13 14 15 16 17 ... 32 下一页
共32页    到第

中冶有色为您提供最新的福建厦门有色金属复合材料技术理论与应用信息,涵盖发明专利、权利要求、说明书、技术领域、背景技术、实用新型内容及具体实施方式等有色技术内容。打造最具专业性的有色金属技术理论与应用平台!

全国热门有色金属设备推荐
展开更多 +
全国热门有色金属技术推荐
展开更多 +

 

江西省隆恩特环保设备有限公司
宣传

报名参会
更多+

报告下载

有色专家
更多+

北方民族大学
院长/教授
江西理工大学
副校长
中南大学
中国工程院院士
长沙矿冶研究院有限责任公司
中国工程院院士
昆明理工大学
教授
赤泥综合利用研究报告2025
推广

热门技术
更多+

推荐企业
更多+

福建省金龙稀土股份有限公司
宣传

发布

在线客服

公众号

电话

顶部
咨询电话:
010-88793500-807