青岛垚鑫智能科技有限公司
宣传

位置:中冶有色 >

有色技术频道 >

> 复合材料技术

分类:
全部
矿山技术
冶金技术
材料制备及加工技术
环境保护技术
分析检测技术
 
全部
功能材料技术
复合材料技术
新能源材料技术
合金材料技术
加工技术
地区:
全部
北京
天津
上海
重庆
河北
山西
辽宁
吉林
黑龙江
江苏
浙江
安徽
福建
江西
山东
河南
湖北
湖南
广东
海南
四川
贵州
云南
陕西
甘肃
青海
内蒙
广西
西藏
宁夏
新疆
其他
其他
展开
 
全部
福州
厦门
漳州
泉州
三明
莆田
南平
龙岩
宁德

福建厦门有色金属复合材料技术理论与应用

免费发布技术信息>>
介孔硅树脂阻燃剂、制备方法及其阻燃复合材料

本发明公开了一种介孔硅树脂阻燃剂、制备方法及其阻燃复合材料,该阻燃剂通过带有环氧基团的氧化石墨烯和氨基改性的介孔二氧化硅反应,再负载羟基锡酸锌而制备得到。利用石墨烯的屏蔽阻隔、介孔二氧化硅对可燃气体的吸附以及羟基锡酸锌的催化成炭的协同阻燃作用,可以提高高分子材料的抑烟阻燃性能。其制备方法简单可行,在高分子抑烟阻燃领域具有广阔的应用前景。

标签:
复合材料
福建 - 厦门 来源:中冶有色网 2023-03-18
表面接枝石墨烯/蒽醌化合物复合材料的塑料、制备方法及应用

本发明属于水处理领域,涉及含污染物废水的处理领域,具体是表面接枝石墨烯/蒽醌化合物复合材料的塑料、制备方法及应用,塑料表面亲水处理后含有羟基、羧基等活性基团,与含氨基硅烷偶联剂反应,得到氨基改性的塑料,再与氧化石墨烯反应,加入碳酰二亚胺和N‑羟基琥珀酰亚胺活化氧化石墨烯表面的羧基,与含氨基蒽醌化合物反应,还原氧化石墨烯后得到表面接枝石墨烯/蒽醌化合物的塑料,可加速偶氮染料、硝酸盐等的生物降解,而且重复使用次数达到10次以上,可在污水处理中广泛应用。

标签:
复合材料
福建 - 厦门 来源:中冶有色网 2023-03-18
碳纤维复合材料自行车轮圈

本实用新型公开了一种碳纤维复合材料自行车轮圈,包括由碳纤维构成的轮圈本体,轮圈本体的顶部设有铝合金圈,铝合金圈内表面的两侧顶部设有向内延伸的钩状凸起,两个钩状凸起之间设有倒扣凹槽,倒扣凹槽内均匀设有防脱滑纹,铝合金圈的外表面两侧设有刹车边,轮圈本体的内侧顶部设有第一缓冲层,第一缓冲层的下方设有轮圈内骨架,轮圈内骨架的下方设有第二缓冲层,轮圈本体的两侧外壁均贯穿设有多个弧形孔,轮圈本体的径向内侧间隔均匀设有多个辐条安装座,辐条安装座的内侧贯穿设有辐条安装孔,辐条安装孔内螺纹连接有辐条,辐条的一端螺纹连接有限位螺母,辐条的另一端固定连接有轮轴。本实用新型强度高,韧性好,具备良好的散热性。

标签:
复合材料
福建 - 厦门 来源:中冶有色网 2023-03-18
装饰用复合材料
装饰用复合材料 834     
 0

本实用新型公开了一种装饰用复合材料,由玻璃钢基层和装饰面层经加温加压复合而成;玻璃钢基层由树脂、短切玻璃纤维、填料及添加剂经加温加压制成;装饰面层为木纹面纸、大理石纹面纸或花岗石纹面纸。这样,本实用新型可以制成表面无需再装饰的高级装饰用面板,用于汽车制造、电子、电气及建筑等领域,代替金属制造零部件,产品的装饰性能大大提高,装饰使用十分方便,使用范围也更广。

标签:
复合材料
福建 - 厦门 来源:中冶有色网 2023-03-18
高承载性复合材料滚柱

本发明涉及一种多层式复合材料滚柱,由不同硬度、不同弹性的材料相间层叠复合而成的圆柱体。本发明既充分保留硬质材料的接触许用应力。在低硬度高弹性体材料的撑垫下,保持高抗压强度的表层结构不受损毁。整个柱体具有一定的弹性变形,增大其承载面积,相应大大提高其承载力。从而克服了现有普通柱体在外力作用下,接触面积小导致柱体承载力小,以致降低了滚柱体使用价值与使用范围的缺陷。这种新型的叠层式复合承载柱承载力大、结构并不复杂、成本低廉、性价比高、同时,在运转过程中降噪效果明显。应用范围广。具有可观的经济、社会效益。

标签:
复合材料
福建 - 厦门 来源:中冶有色网 2023-03-18
复合材料球拍框的制作方法

本发明公开了一种复合材料球拍框的制作方法,它包括纤维含浸树脂,缠绕心轴及硬化成型三个步骤。通过心轴的转动及移动滑动体从而改变心轴与纤维的缠绕角度,以此得到不同角度的心轴状含 树脂纤维管。本发明较传统制作工艺,具有省时、省料、提高成品率的优点。

标签:
复合材料
福建 - 厦门 来源:中冶有色网 2023-03-18
导热阻燃PET/PBT复合材料及由其制成的灯座体

本发明涉及一种导热阻燃PET/PBT复合材料,包括以下组份及重量份:PET 30%‑40%;PBT 5%‑10%;壳核型活性炭插层石墨烯0.5%‑2%;玻璃纤维15%‑30%;导热剂15%‑30%;润滑剂0.3%‑0.8%;增韧剂3%‑5%;协效阻燃剂2%‑3%;阻燃剂7%‑10%;加工助剂0.3%‑1%。其中,壳核型活性炭插层石墨烯以活性炭插层石墨烯为核层,包覆连接所述核层的交联结构聚合体为壳层,各结构层包含的组分及质量份数如下:石墨烯10‑50%;活性炭10‑45%;交联结构聚合体5‑47%;其中,所述交联结构聚合体由聚合单体、引发剂以及交联剂引发聚合并交联而成的具有三维交联网络结构的聚合体。

标签:
复合材料
福建 - 厦门 来源:中冶有色网 2023-03-18
抗黄变高导热尼龙复合材料及其制备方法

本发明公开了一种抗黄变高导热尼龙复合材料及其制备方法,它包括:尼龙树脂30‑50份;导热填料45‑55份;成核剂0.2‑2份;玻璃纤维3‑7份;增韧剂2‑5份;抗氧剂0.2‑0.5份;润滑剂0.2‑0.5份;偶联剂0.2‑0.5份;所述尼龙树脂粘度2.0‑2.4;所述成核剂为2500目以上滑石粉或布吕格曼公司的P22成核剂的至少一种;所述抗氧剂为以受阻酚类抗氧剂为主抗氧剂,以亚磷酸酯、硫醇类和硫代二丙酸酯一种或2种以上复配为辅助抗氧剂。本发明材料能够运用于家电、照明等领域。

标签:
复合材料
福建 - 厦门 来源:中冶有色网 2023-03-18
晶须增强植物纤维复合材料、及其制备方法和应用

本发明涉及的是晶须增强植物纤维复合材料、及其制备方法和应用。本发明由以下重量组份制备而成,植物纤维粉40~60份,天然树脂粉10~15份,糊化淀粉10~20份,碳酸钙晶须5~15份,硅烷偶联剂0.5~1份。本发明将碳酸钙晶须作填充物,能够阻止裂纹扩展,通过界面可塑性形变起到加速冲击能量耗散的作用,以此达到增强的目的。本发明使用硅烷偶联剂对碳酸钙晶须进行改性,改性后的硅烷偶联剂连接或包覆在晶须表面,形成包覆层,同时硅烷偶联剂有较长的分子链,易与树脂发生分子缠结,形成柔性界面层,从而提高了碳酸钙晶须在树脂中分散性,改善了碳酸钙晶须与树脂间的界面相容性,达到了提高制品的强度的目的。

标签:
复合材料
福建 - 厦门 来源:中冶有色网 2023-03-18
复合材料用风管成型工艺

本发明公开了一种复合材料用风管成型工艺。步骤为,注塑成型制成保丽龙模芯;风管胶的固化:在保丽龙模芯上覆盖风管胶,留出风嘴,晾干使风管胶在模芯上完全固化;在含有风管胶的模芯外围包纤维预浸布;放入模具充气加压、高温成型;冷却脱模,取出制品,取出制品内的风管胶及模芯。本发明的方法大大降低制品报废率,所得制品内壁平整光亮。

标签:
复合材料
福建 - 厦门 来源:中冶有色网 2023-03-18
玻璃钢复合材料种植盘

本实用新型公开了一种玻璃钢复合材料种植盘,其包括盘体,盘体包括侧壁和底盘,侧壁朝外倾斜,底盘呈方形,侧壁上设有若干个侧气孔,底盘上分为左区域和右区域,左区域和右区域上均设有若干个出水孔,且左区域上的出水孔比右区域上的出水孔密集,底盘上的四个角处设有四个储水凹槽,储水凹槽的底部向下突出并设有一层防滑垫。本实用新型的有益效果有:采用玻璃钢复合材料,该材料具有稳定性好,强度高,质量轻等特点;底部分为两片区域,左边区域的水孔分布较密,右边区域的水孔分布较疏,可分别适用于不同植物的种植,通用性好;设有防滑垫,增强种植盘使用时的稳定性;左右各设有两个托手块,便于两个人一起搬运种植盘。

标签:
复合材料
福建 - 厦门 来源:中冶有色网 2023-03-18
智能型复合材料切割设备

本实用新型公开了一种智能型复合材料切割设备,包括主体、帽壳、基体和双头伸缩杆,所述主体的外侧设置有机械手臂,且机械手臂的底部安置有切割刀,所述基体固定于主体的底端,且主体的内部安置有条形通风口,所述基体的内侧设置有第一凹槽,且基体的内部安置有第二凹槽,所述基体的左侧顶部安装有支撑块,且支撑块的顶端固定有支撑体,所述帽壳设置于支撑体的外侧,且支撑体的顶端安置有固定块,所述双头伸缩杆设置于固定块的顶部。该智能型复合材料切割设备设置有主体,且主体的截面高度大于电路柜的截面高度,在主体与电路柜的共同作用下,能够对装置进行电路稳定、部件运行、切割等操作,使得装置正常进行工作。

标签:
复合材料
福建 - 厦门 来源:中冶有色网 2023-03-18
LFT-G抗菌PA6复合材料及其制备方法

本发明公开了一种LFT‑G抗菌PA6复合材料及其制备方法,该复合材料中的各组分按重量份如下:PA6 40~70,抗菌母粒10~30,增韧剂3~5,抗氧剂0.3~0.5,润滑剂0.3~0.5,玻璃纤维20~50。本发明通过先制备抗菌母粒,使抗菌剂在PA6基材中分散更均匀,使得材料拥有优异的抗菌性能;然后通过采用浸润包覆工艺,使塑料基材很好地包裹玻璃纤维,极大地增强了材料的机械性能,最终制备出的复合改性材料具有优异的抗菌性能和机械性能。

标签:
复合材料
福建 - 厦门 来源:中冶有色网 2023-03-18
单原子锑修饰和氮、氧共掺杂的多孔碳片复合材料

本公开提供一种单原子锑修饰和氮、氧共掺杂的多孔碳片复合材料,包括:多孔碳片基质材料,多孔碳片基质材料包括多个多孔碳片以形成层状材料,各个多孔碳片之间紧密连接;以及单原子锑修饰和氮、氧共掺杂结构,单原子锑与氮、氧原子形成氧锑氮(O‑Sb‑N)键,并结合于多孔碳片基质材料之中,以形成单原子锑和氮、氧共掺杂结构。本公开还提供一种单原子锑修饰和氮、氧共掺杂的多孔碳片复合材料的制备方法、电池负极材料及电池。

标签:
复合材料
福建 - 厦门 来源:中冶有色网 2023-03-18
氧化石墨烯/迷迭香酸复合材料及其制备方法

本发明涉及一种氧化石墨烯/迷迭香酸复合材料及其制备方法,该方法包括:(1)将迷迭香酸加入有机溶剂中溶解,再加入以迷迭香酸摩尔计1~2倍的缩合活化剂和1~3.5倍缩合剂,调节溶液的pH值,反应1~3h,以便获得反应液;(2)将氧化石墨烯分散液加入所述反应液中,调节溶液的pH值后,超声处理,反应24~30h,离心,冷冻干燥,以便获得氧化石墨烯/迷迭香酸复合材料。该方法操作简单,反应条件温和,制备的复合抗菌材料有良好的抗菌效果,具有较高的应用价值。

标签:
复合材料
福建 - 厦门 来源:中冶有色网 2023-03-18
低成本、高CTI、高GWIT阻燃增强PBT复合材料及其制备方法

本发明涉及PBT塑料改性技术领域,特别涉及一种低成本、高CTI、高GWIT阻燃增强PBT复合材料及其制备方法,PBT复合材料由以下重量份的原料组成:PBT树脂40‑52份;无卤复合阻燃剂14‑25份;玻璃纤维25‑30份;增韧剂1‑5份;抗氧剂0.1‑0.5份;其他加工助剂0.5‑1份;所述无卤复合阻燃剂选用金属磷酸盐阻燃剂、有机磷酸盐阻燃剂、无机阻燃剂复配而成。本发明提供的无卤阻燃增强PBT工程材料,具有良好的力学性能和阻燃性能,高CTI(600V)和高GWIT(灼热丝起燃温度800℃全程不起燃),材料环保,加工性能好;特别地,使用的无卤复合阻燃剂成本低廉,比同类进口的阻燃剂价格低40%‑50%,具有很大的市场竞争力。

标签:
复合材料
福建 - 厦门 来源:中冶有色网 2023-03-18
碳纤维复合材料制品的加热模具

本实用新型公开了一种碳纤维复合材料制品的加热模具,包括模具本体,在模具本体上对应设有开设有模具型腔,模具型腔包括第一型腔和第二型腔,在模具本体的侧壁对应开设有多个热流体孔,在侧壁上对应设有感温元件安装孔;第一型腔与第二型腔对称设置在模具本体中部,第一型腔包括截面和半圆形的半圆柱体,在半圆柱体径向的两端分别对应设有左一收缩环和右一收缩环,左一收缩环和右一收缩环分别与左二收缩环和右二收缩环对应对应连接,在左一收缩环和右一收缩环的两边分别对应设有一对左一限位凸块和右一限位凸块。本实用新型可以使生产出的复合材料制品达到最佳的性能,避免传统机台加热带来的固化不完全或过固化的缺陷。

标签:
复合材料
福建 - 厦门 来源:中冶有色网 2023-03-18
复合材料检测去除干扰信号的方法及检测装置

本发明公开一种复合材料检测去除干扰信号的方法及检测装置,用于具有电磁性质层(11)的多层复合材料(1)的检测装置(2),通过引线(31)连接于检测分析仪器(3),检测装置(2)包括涡流检测传感器(21)、漏磁检测传感器(22)、和/或其它多个检测传感器,其特征在于将检测传感器进行编号排列,在每个检测传感器的激励信号之间设定频谱间距,以检测传感器的编号进行顺序的设定激励信号的频谱间距。实现充分保护有效信号,抑制加性干扰信号。

标签:
复合材料
福建 - 厦门 来源:中冶有色网 2023-03-18
硫铜化合物碳基复合材料为正极的铝离子电池

一种硫铜化合物碳基复合材料为正极的铝离子电池,涉及铝离子电池,其中,正极为Cu2‑xS‑碳基复合材料,所述Cu2‑xS包含Cu2S、Cu1.96S、Cu1.8S、Cu1.75S、Cu1.6S、Cu1.39S、Cu1.12S、Cu0.5S。负极为高纯铝或含铝合金,电解液为含铝离子非水系电解液。所提供的铝离子电池具有比容量高、制备工艺简单、原材料便宜且对环境友好等优点,其首圈放电比容量高达140mA h g‑1,具有两对清晰的充放电平台,与循环伏安曲线中两对还原氧化峰对应,说明在Al的嵌入过程中发生了两步反应。铝离子电池可应用于如便携式电子设备、电动汽车、大型储能电站多种领域。

标签:
复合材料
福建 - 厦门 来源:中冶有色网 2023-03-18
聚酰胺/石墨烯高导热奈米复合材料及其制备方法

本发明涉及一种聚酰胺/石墨烯高导热奈米复合材料及其制备方法,属工程塑料领域。本发明制备方法及其各组成百分比含量为:(1)取45%-87%的聚酰胺6、10%-50%的石墨烯或氧化石墨烯、0.1%-2%的硅烷偶联剂、0.1%-2%的分散剂、0.2%-2%的抗氧剂,利用短时程、高速搅拌密炼技术制得聚酰胺6/石墨烯共混母粒;(2)取上述15%-55%的石墨烯复合母粒、45%-85%的纯聚酰胺6至高混炼效能双螺杆挤出机中进行造粒作业。本发明产品聚酰胺/石墨烯高导热奈米复合材料提供优益的热导性能、强韧材料物性、热与化学稳定性,可广泛应用于汽车零配件、LED散热背板或灯罩、电器产品零配件等领域中。

标签:
复合材料
福建 - 厦门 来源:中冶有色网 2023-03-18
铋酸锌/氧化铋纳米复合材料及其制备方法

本发明涉及一种铋酸锌/氧化铋纳米复合材料及其制备方法,制备方法包括:将柠檬酸溶解于去离子水中,得到的柠檬酸溶液中加入硝酸铋和乙酸锌,搅拌后静置沉淀,过滤得到的沉淀物洗涤后干燥,之后在400~600℃下煅烧处理1‑3h。所述铋酸锌/氧化铋纳米复合材料为纳米花结构,其比表面积大,结构稳定,电阻值低,经其修饰后的玻碳电极对苯甲酸的检测灵敏度高,可以广泛运用于检测生物污染分子,而且电化学检测范围宽,检测限低。

标签:
复合材料
福建 - 厦门 来源:中冶有色网 2023-03-18
用于加工碳纤维复合材料的匕首刀片

本实用新型公开了一种用于加工碳纤维复合材料的匕首刀片,包括能够沿着预置的轴线轴向高频振动的刀体;所述刀体包括柄部和刀片部;所述柄部和刀片部为焊接相固定或是一体相接;所述刀片部具有两条与所述轴线形成一定夹角的周切削刃部,每条周切削刃部上分别设有多个分屑槽,以利用多个分屑槽在周切削刃部上形成多个刀齿。本实用新型能够提高在加工碳纤维复合材料大切深往复加工过程中的断屑能力,提高散热能力,提升切削速度,提高加工效率和提高刀具使用寿命。

标签:
复合材料
福建 - 厦门 来源:中冶有色网 2023-03-18
去除草甘膦的CuAl-LDH/SnS/GO复合材料的制备方法

本发明公开了一种去除草甘膦的CuAl‑LDH/SnS/GO复合材料的制备方法,包括以下原料:硝酸铜、硝酸铝、氧化石墨烯、硫化钠和SnBr2,制备方法包括以下步骤:首先将硝酸铜、硝酸铝溶于去离子水中,加入氢氧化钠调节pH,得到CuAl‑LDH;然后合成SnS,最后负载在氧化石墨烯上。本发明制备的复合材料具有良好的光催化活性,能够有效去除草甘膦。

标签:
复合材料
福建 - 厦门 来源:中冶有色网 2023-03-18
复合材料模板斜支撑的连接结构

本实用新型提供了一种复合材料模板斜支撑的连接结构,包括一水平支撑杆、一斜支撑杆、两固定件及一底座,所述水平支撑杆包括一水平套管及两水平螺杆,所述水平套管的两端内壁上设有牙型相反的螺纹,对应牙型的两所述水平螺杆通过所述水平套管进行连接,一所述水平螺杆固定在所述底座上,另一所述水平螺杆通过一所述固定件固定在模板的底部;所述斜支撑杆包括一斜套管及两斜螺杆,所述斜套管的两端内壁上设有牙型相反的螺纹,对应牙型的两所述斜螺杆通过所述斜套管进行连接,一所述斜螺杆固定在所述底座上,另一所述斜螺杆通过另一所述固定件固定在模板的顶部。本实用新型可以起到固定复合材料模板的作用,调整好模板的垂直度。

标签:
复合材料
福建 - 厦门 来源:中冶有色网 2023-03-18
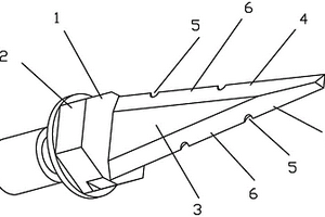
用于碳纤维复合材料的粗精加工立铣刀

本实用新型公开了一种用于碳纤维复合材料的粗精加工立铣刀,包括一采用硬质合金材料制作而成的圆形棒体,圆形棒体的一头设有切削刃,圆形棒体的另一头设为刀柄;所述切削刃包括处于圆形棒体的一头端面的底刃和处于圆形棒体一头周面的圆周刃;所述圆周刃由左螺旋切削刃和右螺旋切削刃构成,且所述左螺旋切削刃和所述右螺旋切削刃在交叉处具有预置长度的实体部分。本实用新型的立铣刀一方面能够减少在粗铣削复合材料时,铣刀刃口磨损,另一方面能够使得被加工材料表面平整,无翻边和毛刺现象,且材料内部纤维无破坏,并且粗精加工一次性完成,既保证表面质量又大幅度提供效率。

标签:
复合材料
福建 - 厦门 来源:中冶有色网 2023-03-18
碳纤维复合材料固化成型系统以及拉挤成型设备

本实用新型涉及一种碳纤维复合材料固化成型系统以及拉挤成型设备,碳纤维复合材料固化成型系统包括机架、固化成型模具、冷却装置、牵引装置和卷集架,所述固化成型模具的型腔呈弧形延伸;所述牵引装置接收所述固化成型模具输出的成型品并将成型品连续延弧形路线牵引出模,所述机架包括在重力方向上竖立布置的平板架,所述牵引装置和固化成型装置安装在所述平板架的竖立面上从而牵引出以水平方向为轴向绕卷的成型品,所述卷集架在重力方向上承接经牵引装置牵引绕卷的成型品,以使连续绕卷的成型品收卷在所述卷集架上。本实用新型的固化成型系统能够产出连续的弯曲的成型品,大幅简化了生产流程,提高了弯曲的成型品的自动化生产效率。

标签:
复合材料
福建 - 厦门 来源:中冶有色网 2023-03-18
碳纤维复合材料汽车线路安装结构

本实用新型公开一种碳纤维复合材料汽车线路安装结构,在碳纤维复合材料汽车的车身底盘内预埋设置数个线束走线槽及空气管道槽,不同功能控制线束安装在不同线束走线槽中,线束走线槽与空气管道槽相互独立;同时,在车身前后侧部预埋设置数个竖向线束走线槽;控制电柜安装在车身尾部;仪表盘控制线束从控制电柜下方进入车身后侧部竖向线束走线槽,然后进入车身底盘线束走线槽,由车身前部竖向走线槽至仪表盘;灯光及空调控制线束从车身前侧部竖向线束走线槽,上行至车身顶盖通风管道中,由顶盖通风管道至车身后侧部竖向线束走线槽,下行至控制电柜。本实用新型实现空气管道与电缆分离,避免造成接线中对线缆的损伤,同时使走线美观整齐、利于维护。

标签:
复合材料
福建 - 厦门 来源:中冶有色网 2023-03-18
复合材料的三角木结构

本实用新型公开一种复合材料的三角木结构,包括具有相同轮廓并卡扣连接的两个半体,两个半体均是由尼龙增强复合材料制成;半体的相对表面设置有两个沉槽,沉槽的设置方向与半体的中线相倾斜,其两端延伸至半体的端面,两个沉槽对称设置在半体的中线两侧;沉槽内设置有若干尖刺;两个沉槽的外侧及两个沉槽之间三处位置均设置有若干卡扣结构;组装时,两个半体相向扣合,以使相对的沉槽组成形成供边绳配合的穿孔,尖刺用于卡住边绳防止移动。本实用新型无需再使用铝扣,通过互相扣接的两个半体实现相对固定,由沉槽内的尖刺来实现边绳在沉槽内的相对固定,从而实现牢靠、稳定的固定,以保证救援工作的安全进行。

标签:
复合材料
福建 - 厦门 来源:中冶有色网 2023-03-18
复合材料屏蔽电力电缆

本实用新型公开了一种复合材料屏蔽电力电缆,分为单芯和多芯电缆两类,单芯电缆外包裹绝缘层,绝缘层外包裹复合材料屏蔽层;多芯电缆在每芯导线绝缘层外设置屏蔽层;或在保护层中设置屏蔽层;或同时在绝缘层外和保护层中同时设置屏蔽层。本实用新型结构简单,屏蔽材料轻质,同时可以有效增强电缆的抗电磁干扰能力,均衡电位、改善供电品质,并减低通电导线产生的电磁环境影响。

标签:
复合材料
福建 - 厦门 来源:中冶有色网 2023-03-18
正交取向化二维复合材料、制备方法与柔性纳米发电机

本发明涉及纳米发电机领域,特别涉及一种正交取向化二维复合材料、制备方法与柔性纳米发电机。其中,一种正交取向化二维复合材料,由氮化硼纳米片与紫外固化胶混合,后经电场正交取向化,并进行紫外固化制得,所述氮化硼纳米片由氮化硼粉末经超声液相剥离后筛选得到,正交电场施加平行于发电薄膜法向方向。本发明提供的柔性纳米发电机,采用紫外固化胶固化的正交取向氮化硼纳米片,配合上下电极,最终制得的纳米发电机具有高输出电压,最高能达到50~60V,电流可超过100nA,性能突出,柔性稳定,并且柔性纳米发电机整体制备过程简便,具有大规模推广应用的潜力。

标签:
复合材料
福建 - 厦门 来源:中冶有色网 2023-03-18
上一页 15 16 17 18 19 ... 32 下一页
共32页    到第

中冶有色为您提供最新的福建厦门有色金属复合材料技术理论与应用信息,涵盖发明专利、权利要求、说明书、技术领域、背景技术、实用新型内容及具体实施方式等有色技术内容。打造最具专业性的有色金属技术理论与应用平台!

全国热门有色金属设备推荐
展开更多 +
全国热门有色金属技术推荐
展开更多 +

 

江西省隆恩特环保设备有限公司
宣传

报名参会
更多+

报告下载

有色专家
更多+

江西理工大学
副校长
华东理工大学
主任/教授
武汉科技大学
校学术委员会主任 / 教授
洛阳有色矿业集团有限公司
生产技术部经理
中南大学
教授、博士生导师
赤泥综合利用研究报告2025
推广

热门技术
更多+

推荐企业
更多+

福建省金龙稀土股份有限公司
宣传

发布

在线客服

公众号

电话

顶部
咨询电话:
010-88793500-807