青岛垚鑫智能科技有限公司
宣传

位置:中冶有色 >

有色技术频道 >

> 复合材料技术

分类:
全部
矿山技术
冶金技术
材料制备及加工技术
环境保护技术
分析检测技术
 
全部
功能材料技术
复合材料技术
新能源材料技术
合金材料技术
加工技术
地区:
全部
北京
天津
上海
重庆
河北
山西
辽宁
吉林
黑龙江
江苏
浙江
安徽
福建
江西
山东
河南
湖北
湖南
广东
海南
四川
贵州
云南
陕西
甘肃
青海
内蒙
广西
西藏
宁夏
新疆
其他
其他
展开
 
全部
福州
厦门
漳州
泉州
三明
莆田
南平
龙岩
宁德

福建厦门有色金属复合材料技术理论与应用

免费发布技术信息>>
石墨烯活性炭复合材料的制备工艺

本发明公开了一种石墨烯活性炭复合材料的制备工艺,涉及净化材料领域。其技术要点是:包括以下步骤:步骤一,取石墨,采用改进Hummers法制备氧化石墨烯,制备过程中,石墨和浓硫酸的质量比为(10~30):100,反应完全后得氧化石墨烯/浓硫酸分散液;步骤二,取10~40重量份的糖类粉体与5~20重量份的水以及10~20重量份的过氧化钠混合均匀,加入到步骤一中得到的氧化石墨烯/浓硫酸分散液中,不断搅拌,得到粘稠糊状物;步骤三,将步骤二得到的粘稠糊状物脱水,随后将产品于900~950℃煅烧4~10h;冷却后将产品洗涤至中性即可得到石墨烯/活性炭复合吸附剂,本发明具有产出的石墨烯/活性炭复合吸附剂具有极高的孔隙率、极高的比表面积的优点。

标签:
复合材料
福建 - 厦门 来源:中冶有色网 2023-03-18
连续长纤维一次增强环保型热塑性树脂复合材料产品生产工艺

本发明公开一种连续长纤维一次增强环保型热塑性树脂复合材料产品生产工艺,包括:面板定位印刷及制作、纤维自动化定位铺层、热塑性树脂或光敏性树脂浸润覆盖、产品板材制作、产品吸塑加工、产品修整、产品外饰及成品组装。本发明相较目前工艺:更简洁、更节能、更环保,性能无因多次积层造成操作变异,性能也就更稳定,同时本发明工艺大部份设计将采用机械化、自动化生产,更切合目前社会的转型升级需求。

标签:
复合材料
福建 - 厦门 来源:中冶有色网 2023-03-18
碳纤维复合材料接骨板及其制备方法

本发明公开了一种碳纤维复合材料接骨板及其制备方法。具体为,按设计将碳纤维预浸布卷制排叠铺层,预热,预型,预热,成型;冷却降温,再送入脱模台,开模取出制品,清洗干燥,并烘干;按照接骨板设计图纸将块体材料经CNC加工成接骨板胚件胚件;再在所得接骨板胚件表面进行生物安全涂层处理。所述接骨板生物相容性好;采用生物涂层化,提高了医用植入的生物安全性;更加接近真实骨强度;其各项力学参数和骨骼相当,克服适配的问题,避免应力集中,造成应力遮挡效应;具有良好X射线穿透性,同时可以满足核磁共振测试的需求;适合批量化生产,成本低。

标签:
复合材料
福建 - 厦门 来源:中冶有色网 2023-03-18
碳纤维复合材料电缆
碳纤维复合材料电缆 814     
 0

本实用新型公开了一种碳纤维复合材料电缆,包括绝缘层、弹性分隔架、隔火铝护套和复合碳纤维缆芯,绝缘层内部设置有弹性分隔架,绝缘层与弹性分隔架之间对称设置有隔火铝护套,隔火铝护套内部均设有复合碳纤维缆芯,弹性分隔架内部开设有通孔,通孔内部插接有橡胶弹圈,弹性分隔架内部其位于通孔的四周均开设有安装槽,本实用新型通过复合碳纤维缆芯代替原有的金属缆芯,不仅可以减少传输的损耗,而且还可以实现电缆的轻量化,极大的提高了该电缆的使用效果,通过弹性分隔架可以对多组复合碳纤维缆芯分隔,可以避免集中发热的现象,从而提高使用的安全性,通过弹性护套配合弹性片进行使用,可以提高电缆的抗压能力,有利于提高电缆使用的稳定性。

标签:
复合材料
福建 - 厦门 来源:中冶有色网 2023-03-18
载带复合材料挤出机
载带复合材料挤出机 895     
 0

本实用新型涉及一种载带复合材料挤出机,其包括进料箱、挤出螺杆、主机电控操作柜、模具以及伺服电机;主机电控操作柜设置在进料箱外侧,进料箱与主机电控操作柜连接,进料箱包括进料箱A和进料箱B,挤出螺杆包括挤出螺杆A以及挤出螺杆B,伺服电机包括伺服电机A以及伺服电机B,挤出螺杆A与挤出螺杆B的出料端分别与模具内相应的模腔端部相连接;挤出螺杆A与挤出螺杆B在模具的同一侧平行设置;本实用新型主机电控操作柜统一控制进料箱A和进料箱B的进料,节省了设备成本,并且便于操作,挤出螺杆A与挤出螺杆B平行设置,不仅节约了空间,而且还使设备变得紧凑,利于挤出料更顺畅。

标签:
复合材料
福建 - 厦门 来源:中冶有色网 2023-03-18
道路设施修补用复合材料摊铺装置及摊铺方法

本发明公开了一种道路设施修补用复合材料摊铺装置,包括储存箱,储存箱一侧侧壁且靠近底部边沿处固定连接有出料板,出料板远离储存箱的一端固定连接有衔接柱,衔接柱远离出料板的一端转动连接有平铺辊,储存箱内部中间设立有内槽,内槽中间转动连接有搅拌辊,内槽内靠近底部位置设立有导流区,导流区与内槽之间设立有隔板,隔板中间转动连接有防堵辊,本发明的有益效果:通过加热管能够对内槽的材料持续的加热,有效的避免材料冷却凝固,在填补完成后,电机停转,启动伸缩杆推动夹板对防堵辊进行夹持,同时凸块插接进凹槽内,能够对防堵辊进行限定,且实现导流区与内槽的隔离。

标签:
复合材料
福建 - 厦门 来源:中冶有色网 2023-03-18
电子产品用的复合材料面板

本实用新型涉及一种电子产品用的复合材料面板,其包括上面板层、下面板层和中间层,所述上面板层和下面板层均为热固性纤维层,中间层为热塑性发泡层;所述上面板层和下面板层上均形成有中间区域和连接区域,连接区域环设在中间区域外周;所述上面板层和下面板层在中间区域通过中间层连接,在连接区域处则直接连接。本实用新型的面板稳定性好,且能够实现电子产品的轻量化和小型化。

标签:
复合材料
福建 - 厦门 来源:中冶有色网 2023-03-18
阻燃挤出级PC/ABS复合材料及其制备方法

一种阻燃挤出级PC/ABS复合材料,由按照重量份数计算的下述组分组成:PC树脂42‑74份、ABS树脂10‑32份、相容增韧剂5‑8份、填充剂5‑8份、阻燃剂6‑10份、抗滴落剂0.1‑0.3份。其中,所述PC树脂由双酚A和碳酸二苯酯通过酯交换和缩聚反应合成;所述ABS为本体聚合法生产的树脂;所述相容剂增韧剂为马来酸酐接枝含有机硅的甲基丙烯酸酯;所述阻燃剂为液体磷酸酯或固体磷酸酯;所述抗滴落剂为大分子量的聚四氟乙烯(PTFE)所述的填充剂为高岭土。本发明主要用于汽车挤出板材中。

标签:
复合材料
福建 - 厦门 来源:中冶有色网 2023-03-18
活性炭负载纳米零价铁和银金属簇的复合材料及其制备方法

本发明涉及一种活性炭负载纳米零价铁和银金属簇的复合材料及其制备方法,首先对活性炭进行酸化处理后洗净干燥;其次将聚乙二醇加入混合好的以乙醇和水为混合溶剂的硫酸亚铁溶液,溶解后,加入NaOH调节pH值;然后将酸化后的活性炭加入上述混合溶液中,充分搅拌后加入硼氢化钠溶液,得到负载纳米零价铁的活性炭;最后,将负载纳米零价铁的活性炭洗涤后,尽快加入至银盐溶液中,反应后得到所述的材料。本发明提供的制备方法工艺简单,操作简便,实际净水应用时,结合活性炭的强吸附能力以及铁和银纳米颗粒之间形成的微原电池,高效率地转化和降解饮用水中各类污染物。

标签:
复合材料
福建 - 厦门 来源:中冶有色网 2023-03-18
量子点蚕丝复合材料及其制备方法

一种量子点蚕丝复合材料及其制备方法,涉及量子点发光材料和功能化改性蚕丝。其组成包括CdSe/CdS、CdS/ZnS、CdSe@ZnS/ZnS中的至少一种混合的油溶性量子点发光材料和有机溶剂溶解的蚕丝溶液,CdSe/CdS、CdS/ZnS、CdSe@ZnS/ZnS中的至少一种混合的油溶性量子点发光材料掺杂到有机溶剂溶解的蚕丝溶液中。将蚕茧经脱胶、溶解、透析、冻干再溶解过程的再生蚕丝材料,将冻干粉末溶解在六氟异丙醇溶液中得蚕丝溶液;将CdSe/CdS,CdS/ZnS,CdSe@ZnS/ZnS量子点发光材料经表面处理再溶解在有机溶剂中得量子点;将蚕丝溶液和量子点混合,再挥发溶剂后即得。

标签:
复合材料
福建 - 厦门 来源:中冶有色网 2023-03-18
仿玻璃钢复合材料、制造方法及应用

本发明公开了一种仿玻璃钢复合材料,包括基础层,该基础层包括以下重量比的组分原料:活性轻质碳酸钙粉120-160份;回收塑料60-130份;玻璃纤维和/或玄武岩纤维30份-60份;偶联剂10-30份;发泡剂1-30份;加工助剂30-60份;以及稳定剂1-5份。还包括表面层以及填充层。本发明可以取代多种玻璃钢制品、钢铁制品、石材制品、陶瓷制品、木制品和塑料制品。具有木材所具有的可钉、锯、粘、刨,可二次加工等特点;并具有B-1级防火、防虫、不需薰蒸、防水、防腐、防锈、隔音、隔热、轻质、高强度、抗冲击、可塑性强、物理性能好、使用寿命长;零甲醛、无辐射,耐酸碱、耐冷热、防紫外线、免油漆、易施工、可回收循环再生利用等特性。

标签:
复合材料
福建 - 厦门 来源:中冶有色网 2023-03-18
基于活性炭-石墨烯复合材料的空气净化滤网

本实用新型公开了一种基于活性炭‑石墨烯复合材料的空气净化滤网,属于空气净化领域,其技术方案要点包括框架,框架内设置有网格,网格内填充有活性炭‑石墨烯复合颗粒,框架的后侧壁设置有后网面,框架的前侧壁设置有前网面,前网面远离后网面的一侧固定有预挡网,预挡网的边缘与前网面的边缘之间设置有透明玻璃,本实用新型具有使活性炭‑石墨烯复合颗粒可视化、方便活性炭‑石墨烯复合颗粒及时更换、保证活性炭‑石墨烯复合颗粒吸附效率的效果。

标签:
复合材料
福建 - 厦门 来源:中冶有色网 2023-03-18
碳纤维复合材料山地车碟刹锁紧结构

本实用新型公开一种碳纤维复合材料山地车碟刹安装锁紧结构,包括自行车架、两碟刹安装螺丝及两装配螺母;在自行车架的后下叉上设置两轴向孔,对应轴向孔位置分别设置径向孔,轴向孔与径向孔贯通;装配螺母上设置径向螺纹孔,装配螺母安装在轴向孔中;碟刹安装螺丝锁入装配螺母的径向螺纹孔中将碟刹安装锁紧。本实用新型生产、组装及维修方便且碟刹位置可微调。

标签:
复合材料
福建 - 厦门 来源:中冶有色网 2023-03-18
碳纤维复合材料座管头结构

本实用新型公开了一种碳纤维复合材料座管头结构,用于支撑座垫的座管头是活动套置于自行车车架的座管上,其中在座管头内置入一个或多个碳纤材料的调整环。由于在座管头中加置有一个或多个碳纤材料的调整环,可有效调整座管头的高度位置,使座管头相对车架的座管没有下滑的空间,保证了使用的安全及坐垫支撑的稳固性,主要用于配合加长座公路自行车架使用,提供一种便捷有效的座管头。

标签:
复合材料
福建 - 厦门 来源:中冶有色网 2023-03-18
抗静电阻燃PA6增强复合材料

本实用新型涉及一种抗静电阻燃PA6增强复合材料,包括PA6本体、玻璃纤维、微胶囊红磷阻燃剂,其中,在所述PA6本体的一侧设置玻璃纤维网层,在所述玻璃纤维网层远离PA6本体的一侧设置抗静电层,同时,在所述PA6本体的内侧设置阻燃层,所述阻燃层包括微胶囊红磷阻燃剂层,所述微胶囊红磷阻燃剂层设于PA6本体的另一侧,在所述微胶囊红磷阻燃剂层远离PA6本体的一侧设有氢氧化铝层,在所述氢氧化铝层之外连接耐高温层,所述耐高温层包括聚硅氧烷层,所述聚硅氧烷层设于氢氧化铝层的外侧,在所述聚硅氧烷层远离氢氧化铝层的一侧设置聚砜树脂层,然后将各层复合连接为一体。

标签:
复合材料
福建 - 厦门 来源:中冶有色网 2023-03-18
碳纤维复合材料自行车管件结合结构

本实用新型公开了一种碳纤维复合材料自行车管件结合结构,其中该车架分为主体前三角、座管与五通、后上叉及后下叉四个主体,各个主体相对配合接头处设为相对对接的对接装置。这样拆分的管体较少,而配合的接头方式为对接装置,如此可减少自行车车架的组合工序,使整个生产制程工序更加简易、快速、降低成本、提高复材自行车的市场竞争力。?

标签:
复合材料
福建 - 厦门 来源:中冶有色网 2023-03-18
用于碳纤维复合材料加工用PCD铣刀

本实用新型公开了一种用于碳纤维复合材料加工用PCD铣刀,包括刀片和刀杆;刀杆为硬质合金材料制作而成;所述刀片具有双刃断屑齿铣削刃,所述双刃断屑齿铣削刃包括铣削刃前端、由数个铣削刃单元组成的铣削刃主体和铣削刃后端,其中,一个铣削刃单元包括一个双刃断屑齿和一个断屑槽,所述一个双刃断屑齿包括一个第一铣削刃和一个第二铣削刃,且第一铣削刃的螺旋角β1与第二铣削刃的螺旋角β2旋向相反。本实用新型采用高强度材质PCD作为切削刃材料,在保证刃口强度的条件下,进一步通过创新性刃口结构设计,所产生的切屑细小易断,同时抑制轴向铣削分力,有效抑制毛刺的产生。

标签:
复合材料
福建 - 厦门 来源:中冶有色网 2023-03-18
Si@MnO@C复合材料及其制备方法、负极材料及电池

本发明涉及一种Si@MnO@C复合材料及其制备方法、负极材料及电池,所述材料制备方法包括如下步骤:1)将过硫酸铵和纳米硅粉超声分散于溶剂中,得到溶液A;2)将所述溶液A与硫酸锰混合,加热反应,然后冷却、过滤、洗涤和干燥,得到MnO2‑Si复合粉体;3)采用原位聚合反应对MnO2‑Si复合粉体进行酚醛树脂包覆处理;4)在惰性气体保护下对酚醛树脂包覆的MnO2‑Si复合粉体进行热解,得到所述材料。将所述材料用于锂离子电池,表现出优异的比容量和倍率性能,如,在0.1A/g时的放电比容量达到1025mAh/g,1A/g时放电比容量达到712mAh/g,1A/g循环1000次后比容量为697mAh/g,显现了极佳的循环稳定性。

标签:
复合材料
福建 - 厦门 来源:中冶有色网 2023-03-18
基于双链特异性核酸酶辅助的可控释放电化学DNA水凝胶复合材料的制备方法

本发明公开了一种基于双链特异性核酸酶辅助的可控释放电化学DNA水凝胶复合材料的制备方法。其特征在于:设计DNA水凝胶中DNA链A(SA)与DNA链B(SB)的碱基序列。使其能在双链特异性核酸酶(DSN)的辅助下,对少量沙眼衣原体16S rRNA(靶RNA)的刺激产生更加明显的响应。在大多数类型的DNA水凝胶中,其中DNA探针的每次分离都需要一条目标链与之杂交。当目标rRNA的数量较少时,这导致其不能对DNA水凝胶产生有效的刺激。该方法成功将DSN引入DNA水凝胶之中,获得了可以被少量目标物重复裂解的可控释放DNA水凝胶。因此,它具有更高的反应速率和灵敏度。

标签:
复合材料
福建 - 厦门 来源:中冶有色网 2023-03-18
复合材料球拍框的制法

本发明公开了一种复合材料球拍框的制法,其特征是先将纤维平展成预定厚度的纤维层,在其上下分别贴热塑性材布面而构成夹心布体,将夹心布体裁剪成各种片条及补强片再编织成管状物,将管状物置入球拍框成型模具中加热加压再冷却固化即可制得本发明涉及的球拍框。本发明提出的方法可避免环境污染及提高球拍框的品质。

标签:
复合材料
福建 - 厦门 来源:中冶有色网 2023-03-18
阻燃抗冲击ABS复合材料的制造方法

本发明提供一种阻燃抗冲击ABS复合材料的制造方法,其工艺如下:首先将20-40重量份的玻璃纤维、10-14重量份的空心玻璃微珠放入固体搅拌机,并将硅烷偶联剂溶液直接喷洒在玻璃纤维和空心玻璃微珠上并搅拌,使用高的转速以期达到好的分散效果。搅拌10-30分钟后,在120℃温度下进行烘干,烘干时间约为2小时;然后,将与处理完毕后的玻璃纤维、玻璃微珠,与100重量份的ABS树脂,50-80重量份的PC树脂、2-4重量份的润滑剂搅拌下充分混合,然后通过送料装置送入双螺杆挤出机中,在螺杆的升温、剪切、混炼下,使物料得以充分地熔融,再经过挤出、拉条、冷却、切粒为成品。本发明生产效率高,产品性能优良。

标签:
复合材料
福建 - 厦门 来源:中冶有色网 2023-03-18
过渡金属氧化物掺杂二氧化锰抑烟减毒剂和改性硬质聚氨酯泡沫复合材料及其制备方法

本发明涉及材料技术领域。本发明提供了一种过渡金属氧化物掺杂二氧化锰抑烟减毒剂的制备方法,包括:将二氧化锰纳米片分散到去离子水中,随后引入掺杂物,并加入还原剂,经沉淀,离心,水洗,干燥,灼烧得到最终产物。改性硬质聚氨酯泡沫复合材料,包括上述抑烟减毒剂均匀分散在多异氰酸酯中,再与白料混合物发生聚合反应。本发明以二氧化锰纳米片为支撑材料,提供了更大的比表面积和更多的活性中心;其次,通过化学还原或溶剂热等方法,将具有催化活性的过渡金属氧化物纳米颗粒吸附在二氧化锰纳米片表面,发挥不同金属氧化物的催化减毒作用;将其引入硬质聚氨酯泡沫后,可以降低硬质聚氨酯泡沫体燃烧产生的有毒烟气,与纯样相比,改性硬质聚氨酯泡沫体燃烧产生的一氧化碳降低了75%~95%,烟颗粒降低了80%‑90%。

标签:
复合材料
福建 - 厦门 来源:中冶有色网 2023-03-18
高强度抗翘曲的聚烯烃复合材料及其制备方法

本发明涉及一种高强度抗翘曲的聚烯烃复合材料,包括以下组份及其重量份数:聚烯烃树脂50‑90份;热稳定剂0.4‑1份;紫外稳定剂0.2‑1份;成核剂母料2‑6份;高分子量硅酮母料0.5‑5份;扁平玻璃纤维10‑50份;相容剂1‑6份。相容剂选自马来酸酐接枝聚丙烯或马来酸酐接枝含有机硅的甲基丙烯酸酯;马来酸酐接枝率为0.8%‑1.2%。所述高分子量硅酮母料中有机硅氧烷超高分子量聚合物的分子量≥100万,硅酮含量为40%‑60%。所述扁平玻璃纤维长度为2‑5mm,其横截面为长度20‑32μm、宽度为4‑10μm的矩形结构。本发明具有优异的树脂机械性能,使得制品具有较高的机械性能和抗翘曲性能。

标签:
复合材料
福建 - 厦门 来源:中冶有色网 2023-03-18
高耐候耐低温应力腐蚀开裂PP/HIPS合金复合材料及其制备方法

本发明公开了一种高耐候耐低温应力腐蚀开裂PP/HIPS合金复合材料及其制备方法,由如下重量百分比的组分制成:聚丙烯28‑66.5%、高抗冲聚苯乙烯15‑30%、填料5‑10%、复合增韧剂10‑25%、乙烯‑三氟氯乙烯共聚物1‑5%、抗氧剂0.2‑0.5%、润滑剂0.1‑0.5%、成核剂0.1‑0.5%和光稳定剂0.1‑0.5%。本发明在光稳定剂,复合增韧剂与乙烯‑三氟氯乙烯共聚物三者共同作用下,当PP/HIPS材料受到腐蚀介质侵蚀时,很好的释放内胆中的内应力,提高了材料耐候,耐腐蚀抗应力开裂性能,从而有效达到了降低内胆开裂的目的。

标签:
复合材料
福建 - 厦门 来源:中冶有色网 2023-03-18
轻质防尘透气复合材料
轻质防尘透气复合材料 1025     
 0

本实用新型公开一种轻质防尘透气复合材料,具有两层金属网和中间层防尘材料,两层金属网分别支撑在中间层防尘材料的上面和下面起到承载和压住中间层防尘材料的作用,两层金属网之间通过卡扣件固定在一起,使中间层防尘材料被夹置在两层金属网中固定。本实用新型结构十分简单,具有质地轻、防尘、透气等优点,而且,具有很强的通用性。

标签:
复合材料
福建 - 厦门 来源:中冶有色网 2023-03-18
氧化石墨烯-纳米金复合材料在ATP检测中的应用

本发明公开了氧化石墨烯‑纳米金复合材料在ATP检测中的应用。本发明对ATP体外检测的检测限约为1μM,对ATP浓度与反应动力学常数做拟合曲线发现,浓度范围在1μM‑100μM内,ATP浓度与催化反应动力学常数K具有较好的线性关系。对浓度10μM的ATP、CTP、GTP、UTP进行特异性检测,证明该比色传感器对ATP的选择性良好。

标签:
复合材料
福建 - 厦门 来源:中冶有色网 2023-03-18
复合材料叶片的制作方法

本发明提出的一种复合材料叶片的制作方法,包括利用预成型模制作叶片预成型件、将所述叶片预成型件移动到模具上、放置气袋、合模、对模具加热加压、脱模、表面处理等,通过该制作方法获得的叶片具有重量轻、结构简单、强度高、一体性强的优点。

标签:
复合材料
福建 - 厦门 来源:中冶有色网 2023-03-18
轻软弹新型橡塑复合材料

本发明公开了一种轻软弹新型橡塑复合材料,包括EVA24~35份、EPDM28~42份、POE9~18份、OBC9~18份、耐磨油3~10份、氧化锌0.2~3份、硬脂酸0.1~1份、胶黏剂0.1~1份、AC发泡剂1~3份。本发明通过在配方中引入相应助剂改善各组分材料的相容性和结合性,从而提高了共混体材料的强度和耐磨耗性能,同时在配方中引入改性EPDM、耐磨油,从而极大地提高材料的回弹性能和柔韧性。

标签:
复合材料
福建 - 厦门 来源:中冶有色网 2023-03-18
以水泥和“三废”为原料的零维和一维碳酸钙微纳米复合物产品及复合材料与合成工艺

本发明提出了大规模、低成本生产文石型碳酸钙晶须/纳米白炭黑复合物或方解石型纳米碳酸钙/纳米白炭黑复合物的新工艺。开发了以量大廉价的硅酸盐水泥或水泥熟料及烟道气为原料混合悬浮在含水体系中,通入烟道气或二氧化碳进行水化、复分解中和沉淀、脱水缩合生产具有一维或零维结构特征的微纳米线或纳米粉复合物产品的新途径,丰富了无机微纳米产品库。应用结果表明:碳酸钙基微纳米复合物产品可大幅提升塑料、橡胶等材料的拉伸强度和冲击韧性,增强胶黏剂的粘接力,提质降本的性价比优势显著,具有巨大的应用潜力。本发明开辟了以廉价量大的水泥作为基本原料同时利用并减排二氧化碳,大规模、低成本、生产高性能碳酸钙基微纳米复合产品及新型复合材料的新途径。

标签:
复合材料
福建 - 厦门 来源:中冶有色网 2023-03-18
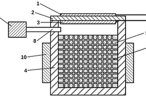
基于复合材料的二次燃料电池

本发明提供一种基于复合材料的二次燃料电池,所述二次燃料电池能够有效地加热且能够重复使用。本发明的二次燃料电池具有:固体电解质体(2);负极(3),形成于固体电解质体(2)的一个面;正极(1),形成于固体电解质体(2)的另一个面上;负极燃料物质体(5);加热部(10),用于将二次燃料电池外壳(4)、固体电解质体(2)和负极燃料物质体(5)加热维持在预定温度以上;压力吸收部(9),用于吸收二次燃料电池内由产生水蒸气引起的压力变动;三维有序层状多孔骨架(11),用于抑制负极燃料物质体(5)烧结,并在负极燃料物质体(5)中形成气体扩散通道。

标签:
复合材料
福建 - 厦门 来源:中冶有色网 2023-03-18
上一页 12 13 14 15 16 ... 32 下一页
共32页    到第

中冶有色为您提供最新的福建厦门有色金属复合材料技术理论与应用信息,涵盖发明专利、权利要求、说明书、技术领域、背景技术、实用新型内容及具体实施方式等有色技术内容。打造最具专业性的有色金属技术理论与应用平台!

全国热门有色金属设备推荐
展开更多 +
全国热门有色金属技术推荐
展开更多 +

 

江西省隆恩特环保设备有限公司
宣传

报名参会
更多+

报告下载

有色专家
更多+

东北大学
院长/教授
广东省科学院资源利用与稀土开发研究所
教授
武汉科技大学
校学术委员会主任 / 教授
长沙矿冶研究院
总经理
西安建筑科技大学
教授
赤泥综合利用研究报告2025
推广

热门技术
更多+

推荐企业
更多+

福建省金龙稀土股份有限公司
宣传

发布

在线客服

公众号

电话

顶部
咨询电话:
010-88793500-807