青岛垚鑫智能科技有限公司
宣传

位置:中冶有色 >

有色技术频道 >

> 加工技术

分类:
全部
矿山技术
冶金技术
材料制备及加工技术
环境保护技术
分析检测技术
 
全部
功能材料技术
复合材料技术
新能源材料技术
合金材料技术
加工技术
地区:
全部
北京
天津
上海
重庆
河北
山西
辽宁
吉林
黑龙江
江苏
浙江
安徽
福建
江西
山东
河南
湖北
湖南
广东
海南
四川
贵州
云南
陕西
甘肃
青海
内蒙
广西
西藏
宁夏
新疆
其他
其他
展开
 
全部
南京
无锡
徐州
常州
苏州
南通
连云港
淮安
盐城
扬州
镇江
泰州
宿迁

江苏无锡有色金属加工技术理论与应用

免费发布技术信息>>
基于锰锂制备锂离子电池正极材料的工艺

本发明公开了一种基于锰锂制备锂离子电池正极材料的工艺,其包括以下步骤:S1、称取适量的锰源、锂源,加入适量比例的助烧剂硼,改性物质铝和镁;S2、放入高效混合机或V型大混合机中充分混合;S3、将混好的物料放入烧结窑炉,通气氛,保持温度为800‑850℃,时间:8‑12h,气氛:2‑8m3/h;S4、烧结结束后过气流粉碎,除铁,筛包即得。本发明通过添加助烧剂来降低烧结温度时间、以及参杂改性物质来提高充放电容量和循环性;本发明制造工艺简单,通过添加助烧剂使生产周期缩短至5‑8h,成本降低至2000‑3000/T;本发明通过参杂改性物质,使其结构更加稳定,循环性更好,充放电容量得到有效提升。

标签:
加工技术
江苏 - 无锡 来源:中冶有色网 2023-03-18
锂电池封装膜及锂电池
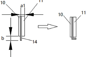
锂电池封装膜及锂电池 1010     
 0

本实用新型涉及一种锂电池封装膜,包括金属封装层,所述金属封装层的一面固定贴设有PP层,所述金属封装层位于所述PP层的一面边缘裸露形成热焊接部。通过将两个热焊接部直接热焊,这种锂电池封装膜,其便于焊接加工,且密封性能较好。该锂电池,采用上述的锂电池封装膜的锂电池,包括锂电池本体,两个所述锂电池封装膜分别压型扣合所述锂电池本体,所述热焊接部之间通过激光热焊接连接,所述锂电池本体的两个极耳固定在所述热焊接部之间并延伸而出,所述极耳与所述热焊接部之间设有热封绝缘层。这种锂电池,其便于焊接加工,且密封性能较高。

标签:
加工技术
江苏 - 无锡 来源:中冶有色网 2023-03-18
软包锂离子电池的铝塑膜和软包锂离子电池

本实用新型涉及一种软包锂离子电池的铝塑膜和软包锂离子电池。软包锂离子电池的铝塑膜包括第一铝塑复合膜部和第二铝塑复合膜部,第一铝塑复合膜部包括冲压成型的第一冲坑以及位于第一冲坑一侧的第一折边部,第二铝塑复合膜部冲压成型的第二冲坑以及位于第二冲坑一侧的第二折边部,第一冲坑和第二冲坑用于封装电芯,第一冲坑和第二冲坑的深度不同,第一折边部和第二折边部用于在封装电芯后形成折边,第一冲坑和第二冲坑中较深的冲坑深度不小于所述折边的宽度。本实用新型的软包锂离子电池的铝塑膜具有两种深度的冲坑,实现电池组装过程中的单次折边,提高了生产效率。

标签:
加工技术
江苏 - 无锡 来源:中冶有色网 2023-03-18
高容量的锂离子电池极片及含有该极片的锂离子二次电池

本发明提供一种高容量的锂离子电池极片,先通过原位聚合的方式将有机小分子单体、无机快离子导体和锂盐致密连接形成电极浆料,再将电极浆料涂覆在金属集流体上制备形成电池极片;有机小分子单体至少包括组成A和组成B;组成A包括至少一种含有不饱和碳碳键和羰基/磺酰基/亚磺酰基的化合物;组成B包括至少一种含有两个或以上的不饱和碳碳键的化合物;本发明还提供含有上述极片的锂离子二次电池。本发明利用小分子单体在固体颗粒间充分润湿,引发原位聚合固化,形成存在支化结构的弹性良好的聚合物电解质,均匀构建电极中的电子离子传输通道,支持更高的膨胀系数,有更高克容量,可有效抵御电极的膨胀收缩带来的性能劣化,工艺简单,易于制造。

标签:
加工技术
江苏 - 无锡 来源:中冶有色网 2023-03-18
锂离子电池用隔膜及快充型锂离子电池的制备方法

本发明涉及一种采用含有特殊结构的隔膜的快充型锂离子电池的制备方法。本发明的锂离子电池用隔膜包括隔膜基体以及位于隔膜基体一侧表面的连续的石墨层,石墨层具有多个间隔设置的岛状结构,石墨层包括粘结剂和石墨颗粒,石墨颗粒的粒径分布为D50在1‑8μm之间。本发明的快充型锂离子电池在制备时,将上述特殊结构隔膜具有石墨层一面与负极极片贴合,并在一定的压力和温度下对制备后电芯进行热压复合,以使得负极极片与隔膜复合。本发明的技术直接可以在现有工艺产出的极片上通过简单的热压复合工艺达到与双层涂布工艺同样的效果,对生产产能和加工成本无影响。

标签:
加工技术
江苏 - 无锡 来源:中冶有色网 2023-03-18
锂离子电池正极浆料、正极片及锂离子电池

本发明涉及一种锂离子电池正极浆料、正极片及锂离子电池,其中锂离子电池正极浆料包括活性物质、粘结剂以及导电剂,所述导电剂为经砂磨处理至粘度为0.1‑0.5万mPa·s CNT导电胶,所述CNT导电胶包括质量百分比4%CNT,95%的N‑甲基吡咯烷酮,1%分散剂。本发明的锂离子电池正极浆料在满足粘度较低、均匀分散、固含量高且稳定的基础上,无需额外增加成本,无需引入其他杂质进入电池进而不会对电池性能产生影响。

标签:
加工技术
江苏 - 无锡 来源:中冶有色网 2023-03-18
全极耳卷绕锂离子电池汇流排结构及锂离子电池

本实用新型公开了一种全极耳卷绕锂离子电池汇流排结构及锂离子电池。所述的全极耳卷绕锂离子电池汇流排结构包括:第一焊接部、弹性缓冲部和第二焊接部,所述第一焊接部、第二焊接部分别固定设置于所述弹性缓冲部的两端,其中所述第一焊接部能够与电池壳盖板连接,所述第二焊接部能够与卷芯焊接。本实用新型实施例提供的全极耳卷绕锂离子电池汇流排结构具有弹性缓冲部,当卷芯在壳体内部震动时,卷芯与盖板产生相对移动,弹性缓冲部能够抵消卷芯与盖板之间的拉扯力,增加电池的抗震性,提高了电池的安全性能。

标签:
加工技术
江苏 - 无锡 来源:中冶有色网 2023-03-18
用于锂电池软启动的开关电路及锂电池软启动电路

本实用新型涉及锂电池技术领域,具体公开了一种用于锂电池软启动的开关电路,其中,包括:延迟模块、检测使能模块、切换模块和驱动模块,延迟模块和检测使能模块均与切换模块电连接,切换模块与驱动模块电连接,驱动模块连接第一继电器和第二继电器,延迟模块用于设置短路延迟时间和软启动的延迟时间;检测使能模块用于检测短路信号;切换模块用于进行软启动模式与正常工作模式的切换;驱动模块用于驱动第一继电器断开,第二继电器闭合;以及用于当切换模块切换至正常工作模式时驱动第一继电器闭合,第二继电器断开。本实用新型还公开了一种锂电池软启动电路。本实用新型提供的用于锂电池软启动的开关电路避免了触发短路保护导致整机无法启动的问题发生。

标签:
加工技术
江苏 - 无锡 来源:中冶有色网 2023-03-18
用于锂电池组的组件及其应用及其加工工艺以及锂电池

本发明提供了一种用于锂电池组的组件及其应用及其加工工艺,同时还提供了采用该组件的锂电池,其具有低成本,低内阻、可焊接性能好的有点,可以满足锂电池的高性能要求,其通过第一金属连接块和第二金属连接块间隔排布组合而成。

标签:
加工技术
江苏 - 无锡 来源:中冶有色网 2023-03-18
锂电池负极使用的钛酸锂的制备方法

本发明涉及一种锂电池负极使用的钛酸锂的制备方法,属于电池制造技术领域。包括如下步骤:第1步、取氢氧化锂、偏钛酸、乙醇,加入去离子水,加热,得到悬浮液;第2步、在悬浮液中加入导电填料、钛酸酯偶联剂、表面活性剂,搅拌均匀,加热,得到改性悬浮液;第3步、将改性悬浮液在超声分散的作用下,加入氯化银溶液,混合均匀后,再加入碳酸氢铵溶液,混合均匀后,得到包覆悬浮液;第4步、将包覆悬浮液用微滤膜过滤,所得的颗粒烧结,冷却至室温即可。本发明通过对钛酸锂进行改性,使其表面具有更好的导电包覆涂料,颗粒之间结合更加紧密,确保了电池具有良好的高充放电容量。

标签:
加工技术
江苏 - 无锡 来源:中冶有色网 2023-03-18
可抑制锂枝晶的非水溶剂、非水电解液及锂离子二次电池

本发明提供一种可抑制锂枝晶的非水溶剂、非水电解液及锂离子二次电池。本发明的非水溶剂包括一种或两种以上的碳酸酯和一种或两种以上的特定的胺,其能够在锂离子二次电池中有效地抑制因充电引起的锂枝晶的生长。

标签:
加工技术
江苏 - 无锡 来源:中冶有色网 2023-03-18
锂离子电池用Mylar膜及锂离子电池

本实用新型涉及一种锂离子电池用Mylar膜,所述Mylar膜包覆锂离子电池的卷芯,所述卷芯的数量为两个及其以上,所述Mylar膜为聚醚砜Mylar膜,包括底面包覆片,所述底面包覆片两侧分别连接大面包覆片,每个所述大面包覆片的两侧分别连接侧面包覆片,所述底面包覆片与所述大面包覆片均设有若干个通孔;每两个卷芯之间设有间隔包覆片,所述间隔包覆片设有若干个通孔。本实用新型的锂离子电池用Mylar膜应用于锂离子电池中利于电解液的通过和浸润。

标签:
加工技术
江苏 - 无锡 来源:中冶有色网 2023-03-18
锂电池用非水电解液及其制备方法和锂离子电池

本发明公开了一种锂电池用非水电解液及其制备方法和锂离子电池。本发明的锂电池用非水电解液,按重量百分比计,包含如下组分:电解质锂盐5‑25%、非水性有机溶剂5‑80%、锂盐添加剂0.1‑10%、碳酸酯类添加剂2‑40%、磺酸酯类添加剂0.1‑5%、第四添加剂0.1‑5%;其中,所述非水性有机溶剂包含无α‑H的羧酸酯。本发明的锂电池用非水电解液,制成的锂离子电池在高电压、宽温范围工作时具有优异的稳定性,具有良好的循环性能。

标签:
加工技术
江苏 - 无锡 来源:中冶有色网 2023-03-18
极片的预锂化装置及其预锂化方法

本发明提供了极片的预锂化装置及其预锂化方法,所述预锂化装置包括:熔融槽,所述熔融槽盛有熔融锂液;转移辊,所述转移辊设置在所述熔融槽内,所述转移辊部分浸入所述熔融锂液,所述转移辊被配置为旋转以将所述熔融锂液转移到所述转移辊的外表面;锂压延单元,所述锂压延单元设置在所述转移辊远离所述熔融锂液的一侧,所述锂压延单元与所述转移辊的外表面紧贴;所述转移辊的旋转使得所述转移辊的外表面上的与所述熔融锂液相对应的锂层经所述锂压延单元后由所述熔融槽进行回收。本发明提供的预锂化装置在预锂化均匀性好的同时对残留锂进行熔融回收,可以在极片裁片后实现叠片预锂化,并且转移辊同时具备熔融锂液转移、冷却和压延功能。

标签:
加工技术
江苏 - 无锡 来源:中冶有色网 2023-03-18
低温锂离子电池电解液及使用该电解液的锂离子电池

本发明公开了低温锂离子电池电解液,其包括非水有机溶剂、锂盐、功能助剂一和功能助剂二,所述的功能助剂一为氟代碳酸乙烯酯,功能助剂二为丙烯基‑1,3‑丙磺酸内酯。本发明同时公开了一种锂离子电池,其包括正极片、负极片、锂电池隔膜及上述的低温锂离子电池电解液。本发明为一种低温条件下具有良好循环性和倍率性的低温锂离子电池电解液及使用该电解液的锂离子电池。

标签:
加工技术
江苏 - 无锡 来源:中冶有色网 2023-03-18
锂离子电池用的高压实镍钴锰酸锂三元材料的制备方法

本发明涉及一种锂离子电池用的高压实镍钴锰酸锂三元材料的制备方法,具体制备方法包括:1)配制小分子油系反应介质;2)将镍盐、钴盐和锰盐混合溶于上述反应介质中;3)加入碱源,通过水热反应制得镍钴锰酸锂的前驱体盐;4)将镍钴锰酸锂的前驱体盐和锂源充分混合、煅烧,得到最终镍钴锰酸锂三元产品。本发明利用了一种特殊的小分子油系反应介质,在该反应介质中制备得到了锂离子电池用的三元材料具有高的压实、高的容量和良好的循环性能,且制备方法简单,有机溶剂可反复回收使用,节约成本,对环境友好,可规模化生产。

标签:
加工技术
江苏 - 无锡 来源:中冶有色网 2023-03-18
锂电池极片偏心规整机构和双工位锂电池极片模切机

本发明公开了一种锂电池极片偏心规整机构和双工位锂电池极片模切机。规整机构包括基座,基座上设置有驱动结构、规整组件和滑轨,驱动结构通过偏心轮结构连接规整组件。规整组件包括四连杆结构、规整推板和滑块,四连杆结构带动滑块在滑轨上做往复运动,规整推板固定设置在滑块上围成规整区域。本发明实施方式中,偏心轮结构能带动四连杆结构平稳往复运动,在实现对锂电池极片规整整齐的同时,避免损伤电池极片,保证了电池极片的质量。此外,驱动结构可由电控无极调速,快速找到带动偏心轮结构运动的最佳速度,提高电池极片的规整效率。

标签:
加工技术
江苏 - 无锡 来源:中冶有色网 2023-03-18
通过回收废锂基润滑脂制备高纯氢氧化锂的方法

本发明公开了一种通过回收废锂基润滑脂制备高纯氢氧化锂的方法,将废锂基润滑脂通过煅烧后,用有机溶剂、稀盐酸溶解过滤,并进一步纯化,最后在电解池中电解、真空干燥得到高纯氢氧化锂产品。本发明能有效的将废锂基润滑脂转化为高纯氢氧化锂,不但有效的解决废锂基润滑脂难于利用的问题,也有助于为氢氧化锂的生产提供新方法,具有较强的经济和社会效益。

标签:
加工技术
江苏 - 无锡 来源:中冶有色网 2023-03-18
4.5V锂电池正极材料及其生产方法以及4.5V锂电池正极材料前驱体生产方法

本发明公开了4.5v锂电池正极材料及其生产方法以及4.5v锂电池正极材料前驱体生产方法,包括以下步骤:配置浓度为0.2~3.0mol/L的镍钴混合溶液,并混合添加剂;然后将镍钴混合溶液加入反应釜,同时并流加入络合剂和氢氧化钠溶液,并且通入氧化剂进行氧化,加料的同时对反应釜中的液体进行持续搅拌;最后将反应釜中溢出的物料进行固液分离、洗涤、脱水和热处理,便可得到锂电池正极材料前驱体(Co1-x-yNixMy)3O4,本发明制备的高电压锂电池正极材料前驱体具有高电压性能,在4.5V电压下成品电池的放电容量>180mAh/g,常温下1C/1C循环1000次容量保持率≥80%,上述前驱体,反应皆在溶液中进行,容易通过调整反应条件可获得高振实密度,大粒径颗粒的前驱体。

标签:
加工技术
江苏 - 无锡 来源:中冶有色网 2023-03-18
新型锂离子电池石墨烯导电剂及其制备方法

本发明公开了一种新型锂离子电池石墨烯导电剂,所述石墨烯导电剂各组分的质量份数为:10~20份石墨烯、10~30份导电炭黑或导电石墨,50~60份聚偏氟乙烯,100~160份溶剂,1~5份金属氧化物。本发明的导电剂是一种导电性能高,循环性能和倍率性能优良,耐高温、低温性能好的新型锂离子电池石墨烯导电剂。

标签:
加工技术
江苏 - 无锡 来源:中冶有色网 2023-03-18
新型硫化物固态电解质以及新型全固态锂硫电池的制备方法

本发明公开了一种新型硫化物固态电解质以及新型全固态锂硫电池的制备方法。本发明采用简便易行的液相合成法制备出具有较高离子电导率的固态电解质,该方法操作简便,与传统的球磨法相比,该法原料反应彻底,且具有极高的反应活性,可以大大提高固态电解质的生产效率。与此同时,采用液相法制备固态电解质可以降低球磨过程的能源消耗,进而降低固态电解质的生产成本,此外本发明还将采用液相法制备的固态电解质组装成新型全固态锂硫电池,在一定电流下进行循环测试,得到较好的电池循环性能。

标签:
加工技术
江苏 - 无锡 来源:中冶有色网 2023-03-18
富锂锰基锂离子电池排气用单向阀

本发明涉及一种富锂锰基锂离子电池排气用单向阀,所述单向阀包括阀体、拖杆、挡板、密封圈、弹簧,所述阀体为三个连体同心圆柱体结构,自上而下依次为圆柱体一、圆柱体二和圆柱体三,所述圆柱体一和圆柱体三的直径相同且小于圆柱体二的直径;所述阀体侧面设有开口孔,所述开口孔经硅树脂胶黏剂连接聚四氟乙烯微孔膜。本发明的单向阀降低了高电压下富锂锰基体系方形电池产气带来的安全风险,提高了电池的安全性能。

标签:
加工技术
江苏 - 无锡 来源:中冶有色网 2023-03-18
锂离子电池用锂化功能聚合物及其制备方法和应用

本发明涉及一种锂离子电池用锂化功能聚合物及其制备方法和应用。具体地,本发明提供了式(I)所示的锂化的功能聚合物及其制备方法。所述锂化的功能聚合物和锂化的全氟磺酸树脂(Nafion‑Li)混合可用于制备锂离子电池用粘结剂,该粘结剂赋予锂离子电池快速充电能力。

标签:
加工技术
江苏 - 无锡 来源:中冶有色网 2023-03-18
锂离子电池富锂正极改性材料及其制备方法

本发明涉及一种锂离子电池富锂正极改性材料及其制备方法,属于锂离子电池正极材料技术领域。其包括正极材料和三类金属氧化物包覆材料,包覆材料为TiO2、MnO2或A12O3。采用溶胶?凝胶法水浴搅拌加热得到凝胶,干燥后得到干凝胶,在分别经过低温预烧结和高温煅烧,冷却研磨后得正极材料,然后将制备的正极材料与TiO2和MnO2包覆材料分散在去离子水中,恒温搅拌,而后静置、过滤、洗涤、干燥,经煅烧得到锂离子电池富锂正极改性材料。而A12O3采用液相包覆法,将正极材料分散在九水合硝酸铝溶液中,恒温搅拌,静置、过滤、洗涤、干燥,煅烧后得到所需改性材料。本发明制备方法简便、易操作,制备得到的富锂正极改性材料的颗粒粒径分布均匀,结晶度高,包覆后材料倍率性能和循环性均得到明显提高。

标签:
加工技术
江苏 - 无锡 来源:中冶有色网 2023-03-18
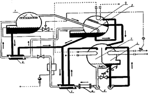
溴化锂吸收式制冷机组溴化锂溶液磁处理改性装置

本发明涉及一种溴化锂吸收式制冷机组溴化锂溶液磁处理改性装置。它是在机组的溴化锂稀溶液泵5出口与低温热交换器3之间的管道上,增置一电磁处理器4。在磁场作用下,溴化锂溶液的胶体化学和物理化学性质的变化,使其或者不能集合成为晶体;或者形成分散的小晶体,浮散在溶液中或松散地附着在器壁上。使溶液的稳定性、传热和流动性能得到改善,表面张力降低,从而可拓宽发生器的放气范围,降低溴化锂溶液的循环倍率,提高溴化锂吸收式制冷机的热力系数。

标签:
加工技术
江苏 - 无锡 来源:中冶有色网 2023-03-18
锂离子电池富锂正极材料及其改进方法

本发明涉及一种锂离子电池富锂正极材料及其改进方法,属于锂离子电池正极材料技术领域。其包括正极材料和三类商品锂离子正极包覆材料,包覆材料为LiCoO2、LiMn2O4或LiFePO4。采用溶胶‑凝胶法水浴搅拌加热得到凝胶,干燥后得到干凝胶,在分别经过低温预烧结和高温煅烧,冷却研磨后得正极材料,然后将制备的正极材料与LiCoO2和LiMn2O4包覆材料分散在去离子水中,恒温搅拌,而后静置、过滤、洗涤、干燥,经煅烧得到锂离子电池富锂正极改性材料。而LiFePO4采用液相包覆法,将正极材料分散在九水合硝酸铝溶液中,恒温搅拌,静置、过滤、洗涤、干燥,煅烧后得到所需改性材料。本发明制备方法简便、易操作,制备得到的富锂正极改性材料的颗粒粒径分布均匀,结晶度高,包覆后材料倍率性能和循环性均得到明显提高。

标签:
加工技术
江苏 - 无锡 来源:中冶有色网 2023-03-18
锂离子电池正极及使用该正极的锂离子电池

本发明提供一种锂离子电池正极及使用该正极的锂离子电池,该电池正极包括集电体以及涂敷和/或填充在集电体上的正极材料;正极材料包括正极活性物质/碳基纳米网复合物、导电剂和粘合剂;正极活性物质以纳米颗粒形式均匀镶嵌在所述碳基纳米网的网格中。本发明实施例通过构建正极活性物质/碳基纳米网复合物,将正极活性物质以纳米颗粒形式均匀镶嵌在所述碳基纳米网的网格中,提高了锂电池正极的导电性和锂电池的比容及循环稳定性,可快速充电和大倍率放电。

标签:
加工技术
江苏 - 无锡 来源:中冶有色网 2023-03-18
氟元素掺杂改性的锂离子电池富锂正极材料及其制备方法

本发明涉及一种氟元素掺杂改性的锂离子电池富锂正极材料及其制备方法,属于锂离子电池领域。所述正极材料为Li[Li0.2Ni0.2‑0.5b+0.5aCobMn0.6‑0.5b‑0.5a]O2‑aFa;其中,0<a≤0.1,0≤b≤0.13;将锂盐、镍盐、锰盐、钴盐、氟化锂和助燃剂研磨成细粉后加溶剂混合均匀,灼烧后即得。本发明的锂离子电池富锂正极材料不仅放电比容量高,而且循环稳定性优异、倍率性能优良、高低温性能兼顾,能满足动力电池的要求。其掺杂所用氟盐来源丰富,价格低廉,且环境友好,其合成工艺简单易行,制造成本低,便于大规模工业化生产,实用化程度高。

标签:
加工技术
江苏 - 无锡 来源:中冶有色网 2023-03-18
锂电池负极耳的制造方法及锂电池负极耳

本发明涉及一种锂电池负极耳的制造方法及锂电池负极耳。该方法采用纯铁带及铜带作为原材料,清理纯铁带及铜带表面的杂质后,分别经过渗透退火处理,冷却后冷轧成复合带,最后表面电镀处理。通过该方法生产出了一种较易焊接且内阻较低的锂电池负极耳。该锂电池负极耳为表面镀镍的Fe-Cu-Fe复合带或Fe-Cu复合带,其具有较易焊接且电阻较低的优点,另外还具有性价比较高的优点。

标签:
加工技术
江苏 - 无锡 来源:中冶有色网 2023-03-18
连续法生产烷基锂投锂器装置

一种连续法生产烷基锂投锂器装置,其特征是包括料斗(1)、输送器(5)、反应器(6)和液压推进器(7),所述输送器(5)设置在料斗(1)下方,输送器(5)一端设有液压推进器(7),输送器(5)另一端设有反应器(6)。本实用新型的连续法生产烷基锂投锂器装置密封性好,可以保证锂柱的彻底隔绝,满足连续生产的要求。

标签:
加工技术
江苏 - 无锡 来源:中冶有色网 2023-03-18
上一页 143 144 145 146 147 ... 148 下一页
共148页    到第

中冶有色为您提供最新的江苏无锡有色金属加工技术理论与应用信息,涵盖发明专利、权利要求、说明书、技术领域、背景技术、实用新型内容及具体实施方式等有色技术内容。打造最具专业性的有色金属技术理论与应用平台!

全国热门有色金属设备推荐
展开更多 +
全国热门有色金属技术推荐
展开更多 +

 

江西省隆恩特环保设备有限公司
宣传

报名参会
更多+

报告下载

有色专家
更多+

矿冶科技集团有限公司
所长/研究员级高工
长沙有色冶金设计研究院有限公司
正高级工程师/中国铝业首席工程师/全国有色金属行业设计大师/国家注册采矿工程师
昆明冶金研究院有限公司
党委书记、执行董事
红河学院
研究员
中南大学
粉末冶金国家重点实验室 主任
赤泥综合利用研究报告2025
推广

热门技术
更多+

推荐企业
更多+

福建省金龙稀土股份有限公司
宣传

发布

在线客服

公众号

电话

顶部
咨询电话:
010-88793500-807