青岛垚鑫智能科技有限公司
宣传

位置:北方有色 >

有色技术频道 >

> 加工技术

分类:
全部
矿山技术
冶金技术
材料制备及加工技术
环境保护技术
分析检测技术
 
全部
功能材料技术
复合材料技术
新能源材料技术
合金材料技术
加工技术
地区:
全部
北京
天津
上海
重庆
河北
山西
辽宁
吉林
黑龙江
江苏
浙江
安徽
福建
江西
山东
河南
湖北
湖南
广东
海南
四川
贵州
云南
陕西
甘肃
青海
内蒙
广西
西藏
宁夏
新疆
其他
其他
展开
 
全部
南京
无锡
徐州
常州
苏州
南通
连云港
淮安
盐城
扬州
镇江
泰州
宿迁

江苏南京有色金属加工技术理论与应用

免费发布技术信息>>
动力锂离子电池正极材料的制备方法

本发明涉及一种动力锂离子电池正极材料的制备方法,其具体步骤为:首先配制氧化石墨溶液,然后制备FeF3纳米颗粒,再制备非支撑的FeF3/氧化石墨烯薄膜;将得到的非支撑的FeF3/氧化石墨烯薄膜进行光还原,得到动力锂离子电池正极材料—FeF3/石墨烯薄膜。本发明在有效的解决FeF3材料在电池循环过程中严重的极化现象的同时,创新性的利用最新的光还原法还原FeF3/氧化石墨烯,以克服传统高温还原法还原FeF3生成Fe以及纳米颗粒团聚的缺点,大大的提高了锂离子电池正极材料的比容量。本发明制备工艺简单、制备的FeF3/石墨烯薄膜可以直接用作锂离子电池正极材料,避免另外加入导电添加剂和粘结剂,而且材料具有很好的延展性和灵活的加工性能,适合工业化大规模生产。

标签:
加工技术
江苏 - 南京 来源:北方有色网 2023-03-18
锂电池的正极材料及高温固相烧结制备方法

本发明涉及具有较高电容量(>130mAh/g)的锂电池用正极材料,LiBiSnO4、LiBiTiO4、LiBiPbO4、LiInSnO4、LiInTiO4或LiInPbO4。其高温固相烧结制备方法是:以Li2O、Bi2O3或In2O3中的一种和SnO2、TiO2或PbO2中的一种为原材料,纯度为99.99%,这三种原材料按1∶1∶2摩尔比充分混合,然后在球磨机中球磨,粉末的粒径达到1-2微米,在100±20℃烘干4±2小时,压制成片,放入高温烧结炉中进行烧制。然后粉碎压制成片后第三次放入高温烧结炉中由室温升温至900-1400℃,保温25-36h后随炉冷却,取出粉末压片粉碎至粒径为0.5-1.2微米。制备成功纯净的单相锂电池正极材料。

标签:
加工技术
江苏 - 南京 来源:北方有色网 2023-03-18
锂电池生产组装方法
锂电池生产组装方法 1109     
 0

本发明涉及一种锂电池生产组装方法,其使用了一种锂电池生产组装设备,该锂电池生产组装设备包括底座与组装装置,底座上表面设置有组装装置。本发明可以解决目前对于电动车用锂电池生产后的外壳体和壳盖进行组装时,存在以下问题:现有的对于电动车锂电池的外壳进行组装时是采用人工手动进行组装,这样不仅组装效率低,而且锂电池内部含有化学药品,可能会出现一些泄漏的问题,便会导致工人长期接触后出现生病的问题,而且人工安装外壳体和壳盖的效果也会不好,容易造成壳盖与外壳体密封错位的问题,导致锂电池在使用时保护的效果不好,使得锂电池容易受到损坏,影响锂电池的使用寿命。

标签:
加工技术
江苏 - 南京 来源:北方有色网 2023-03-18
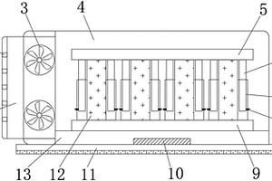
模块锂电池储能装置
模块锂电池储能装置 1112     
 0

本发明提供一种模块锂电池储能装置,涉及锂电池领域。该模块锂电池储能装置,包括电池储能机箱和模块锂电池,所述电池储能机箱的右端安装有控制机箱,所述控制机箱的前端安装有显示装置,所述显示装置的下端安装有若干组控制按钮,所述电池储能机箱的上端开设有定位收纳槽孔,所述定位收纳槽孔的两端均开设有定位固定卡槽,每组定位固定卡槽的一端均开设有导向限位滑槽,每组导向限位滑槽的底端均安装有支撑受力弹簧,每组支撑受力弹簧的一端均安装有导向限位滑块。该模块锂电池储能装置,每组限位固定卡块的一端均与对应的限位固定卡槽设置为相匹配,使模块锂电池快速卡接安装在电池储能机箱的内部,且代替螺丝固定,从而提高工作效率。

标签:
加工技术
江苏 - 南京 来源:北方有色网 2023-03-18
用于检验磷酸铁锂储能电站灭火系统有效性的装置及方法

本发明提供的用于检验磷酸铁锂储能电站灭火系统有效性的装置及方法,涉及消防系统,包括电池预制舱、安装在电池预制舱外的控制中心、安装在电池预制舱内的磷酸铁锂电池模组和灭火系统;各灭火装置在舱内对过充热失控的磷酸铁锂电池模组进行直观可靠的实测灭火,并通过设置在舱内的温度监测装置、气体监测装置和视频监控装置的数据分析准确验证在灭火装置的有效性;本发明结构简单,检测结果安全可靠,能准确高效的判断用于磷酸铁锂电池模组火灾灭火装置的有效性,并且还能在检测过程中确定灭火装置的基本参数和在磷酸铁锂储能电站的布置方式,提出有效的磷酸铁锂储能电站灭火策略和防火工作建议。

标签:
加工技术
江苏 - 南京 来源:北方有色网 2023-03-18
适用于不同型号锂电池的储存箱

本发明公开了一种适用于不同型号锂电池的储存箱,包括排水口、安装箱、冰袋、第一导气管、抽风机、第二导气管、把手、箱体、储物屉、滑槽、滚轮、通风孔、安装腔、干燥剂层、导通槽、导通柱、正极接头、电池盒、负极接头、弹簧、卡板和干燥腔。该种适用于不同型号锂电池的储存箱结构简单,操作便捷,功能性强,设计新颖,通过设置降温干燥装置,保持箱内干燥,有效地保护了内部存放的锂电池,同时保证箱内具有一个合适的温度,从而可使内部存放的锂电池保持最优的状态;通过设置弹簧和卡板,可以改变电池盒的大小,对不同的锂电池进行储存,同时使锂电池充电储存为一体,进一步提升了储存箱的实用性,增加了储存箱的多样性。

标签:
加工技术
江苏 - 南京 来源:北方有色网 2023-03-18
锂盐在混凝土碱-硅酸反应预防中有效性的快速检测方法

锂盐在混凝土碱-硅酸反应预防中有效性的快速检测方法:用一定数量、一定粒径的活性骨料与水泥、砂和锂盐成型为标准混凝土砂浆棒,24H后脱模;测定初始长度;置于养护溶液中养护,通过一定龄期的混凝土砂浆棒的膨胀值来衡量锂盐抑制混凝土ASR膨胀的能力,进而进行有效性评价;当养护14天膨胀率小于0.10%时,可认为该掺量的锂盐能有效抑制相应碱活性集料引起的ASR膨胀;当养护14天的膨胀率大于0.10%时,可认为该掺量的锂盐不能有效抑制碱活性集料引起的ASR膨胀。本发明可简捷快速的检测锂盐预防混凝土ASR膨胀的有效性,检测结果准确可靠、与CSAA23.2-14A或ASTM C 1293的判定结果一致。

标签:
加工技术
江苏 - 南京 来源:北方有色网 2023-03-18
自带电池保护功能的汽车锂电池

本实用新型公开了一种自带电池保护功能的汽车锂电池,包括壳体,所述壳体的一侧固定有连接层,且壳体的下方固定有底座,所述连接层的一侧安装有出气口,所述出气口共安装有五个,所述连接层的一端安装有风扇,所述风扇共安装有两个,所述壳体的内部下方固定有减震层,所述减震层的下方开设有凹槽,且减震层的上方安装有底板,所述底板的上方固定有下固定板,所述下固定板共安装有八个,且八个下固定板的上方均通过顶珠弹簧卡合有上固定板,八个所述下固定板的内部两两之间安装有锂电池组,八个所述上固定板的上端均连接有顶板,本实用新型设置了顶珠弹簧,避免了锂电池组不便于稳定固定,易发生倾倒的问题。

标签:
加工技术
江苏 - 南京 来源:北方有色网 2023-03-18
防撞的锂电池放置箱
防撞的锂电池放置箱 1131     
 0

本实用新型提供一种防撞的锂电池放置箱。所述防撞的锂电池放置箱包括箱体;四个支架,四个所述支架均固定安装在所述箱体的底部,四个所述支架呈矩形阵列分布;四个螺栓,四个所述螺栓分别设置在四个所述支架上;电池,所述电池设置在所述箱体的底部内壁上;顶盖,所述顶盖法兰安装在所述箱体的顶部,所述顶盖和所述箱体相适配;四个弹性抵触板,四个所述弹性抵触板分别固定安装在所述箱体的四周内壁上,四个所述弹性抵触板相互靠近的一侧均和所述电池相接触。本实用新型提供的防撞的锂电池放置箱具有能够缓解撞击力、降低电池箱损坏程度、取出较为方便、且能够对电池进行固定的优点。

标签:
加工技术
江苏 - 南京 来源:北方有色网 2023-03-18
带有自充功能的锂电系统

本实用新型所揭示的一种带有自充功能的锂电系统,包括:一个带有正负端子并制有变压器的适配器,一个带有正负端子的锂电池包,锂电池包包含有一个充电模块,适配器包括一个第一控制端口,锂电池包包括第二控制端口,充电模块通过第一、第二控制端口控制适配器的电压输出端口的输出值。使用者无需通过另外的充电器就可完成对电池包的充电,操作简单方便。

标签:
加工技术
江苏 - 南京 来源:北方有色网 2023-03-18
动力锂电池检测仪
动力锂电池检测仪 1156     
 0

本实用新型提供了一种动力锂电池检测仪,属于锂电池检测仪技术领域。该一种动力锂电池检测仪,包括锂电池检测仪本体和锂电池安装组件。所述锂电池安装组件包括U形板Ⅰ、步进电机、滚珠丝杠副和夹紧件,所述步进电机设在所述U形板Ⅰ外壁,所述滚珠丝杠副连接至所述步进电机输出端,所述滚珠丝杠副外壁转动连接有滚珠丝杠螺母副,所述夹紧件包括U形板Ⅱ和丝杆Ⅰ以及夹紧板,所述U形板Ⅱ连接至所述滚珠丝杠螺母副。锂电池安装组件不仅能将若干个锂电池进行统一夹紧固定,并进行间歇性移动,还能将锂电池检测仪本体所连接的表笔进行调节固定,并进行往复上下移动,有利于增加锂电池检测的连续性。

标签:
加工技术
江苏 - 南京 来源:北方有色网 2023-03-18
电动车锂电池模组结构

本实用新型属于锂电池领域,尤其是一种电动车锂电池模组结构,针对现有的电动车锂电池的安装步骤比较繁琐,影响后续维护和检修的效率,不利于推广使用的问题,现提出如下方案,其包括顶部设置有开口的箱体,所述箱体上固定安装有箱盖,箱体的底部内壁上固定安装有限位块,且限位块设置有两个,两个限位块上均可脱离活动卡装有模组板,两个模组板相互靠近的一侧活动卡装有锂电池,锂电池设置有多个,多个锂电池呈环形排布,两个模组板相互远离的一侧均固定安装有上固定块和下固定块,本实用新型较之常规的电动车锂电池模组结构,可以便于对模组板和锂电池进行安装,简化后续维护锂电池的步骤,提高维护和检修锂电池的效率。

标签:
加工技术
江苏 - 南京 来源:北方有色网 2023-03-18
软包装锂电池用包装膜结构

本实用新型公开了一种软包装锂电池用包装膜结构,包括有锂电池包装膜和锂电池包装膜上的电芯放置坑,锂电池包装膜为一层膜体结构,其膜体上设有电芯放置坑,电芯放置坑的下方开设有气袋坑,电芯放置坑中设置有电芯结构,电芯结构上固定安装有正极耳,正极耳的右侧设置有负极耳,气袋坑中设置有气袋结构;通过将锂电池包装膜由尼龙耐热层、铝箔层、聚丙烯层、纳米硅层、CPP层压合而成,从而相比传统的单层镀铝CPP薄膜所构成的锂电池包装膜,其性能更好,而且其中的聚丙烯层可以有效的防止电池中的电解液对铝箔层的侵蚀,从而达到延长电池寿命的目的。

标签:
加工技术
江苏 - 南京 来源:北方有色网 2023-03-18
适用于高温环境下的1865锂电池

本实用新型属于锂电池技术领域,尤其为一种适用于高温环境下的1865锂电池,包括可充电锂电池,所述可充电锂电池正面连接有交换口,所述可充电锂电池的表面连接有冷却外壳,所述冷却外壳的侧面连接有防护壳,所述防护壳的顶部设置有透气孔,所述防护壳的背面连接有第一合页,所述第一合页的一侧连接有第一固定环,所述防护壳的正面连接有第二合页。通过第一固定环和第二固定环可以分别从装置的前后两侧取出可充电锂电池,增加装置的实用性,使其更方便维护和更换,通过工作电机带动散热风扇来进行降温,通过多个交换管可以及时将液化后的冷却液输送到蛇形输液管中,不仅增加了散热风扇的工作效率,还大大提高了装置的冷却效果。

标签:
加工技术
江苏 - 南京 来源:北方有色网 2023-03-18
观察周期性极化铌酸锂晶体畴结构的方法

本发明公开了一种观察周期性极化铌酸锂晶体畴结构的方法,目的在于简便观察铌酸锂晶体的畴结构。具体步骤为:(1)在铌酸锂晶体表面均匀涂布厚度500纳米-10微米的S1805、SU-8或AZ5214光刻胶,或LOR聚合物,获得铌酸锂-聚合物双层结构的样品;(2)将步骤(1)所制备得到的样品在80-200摄氏度下加热1分钟-60分钟;然后直接置于显微镜下观察,能够获得良好表现的铌酸锂晶体畴结构的图像。本方法与其他传统方法相比,具有成本低、对铌酸锂晶体无破坏等特点。

标签:
加工技术
江苏 - 南京 来源:北方有色网 2023-03-18
锂电池保护装置
锂电池保护装置 812     
 0

本实用新型公开了一种锂电池保护装置,包括保护盒、卡盘、隔板、散热器和风机;所述保护盒顶部设有挡板;所述挡板连接第一弹簧,且第一弹簧连接卡盘;所述保护盒内部装置锂电池;所述锂电池侧壁紧贴隔板,且隔板连接第二弹簧;所述保护盒侧壁连接散热器,且散热器底部连接风机;所述风机内部设有转轴,且转轴连接风叶;所述风叶底部设有通风孔;所述保护盒底端设有平板层;所述平板层底部连接隔热层,且隔热层底部连接抗震层。本实用新型电池保护装置的卡盘结构以及隔板结构很好地起到固定锂电池的作用;锂电池散发的热量能够通过风机从通风孔中抽出,再通过散热器散发;隔热层可以在温度较低的时候起到保温的作用;抗震层起到了很好地抗震作用。

标签:
加工技术
江苏 - 南京 来源:北方有色网 2023-03-18
碳酸型卤水制备碳酸锂的工艺及装置

本发明涉及盐湖卤水提锂的技术,具体涉及由碳酸盐型盐湖卤水提取碳酸锂的技术。本发明中所处理的是碳酸盐型卤水,其中含有较多的碳酸根离子,充分利用吸附尾卤中碳酸根,充当碳酸锂制备过程中碳源,无需额外添加碳酸钠反应;在沉锂反应过程中,利用双极膜技术处理沉锂母液,得到酸和碱,酸用于吸附剂解析,碱用于沉锂反应和进吸附,形成了一个前后工艺的闭合循环,不仅节省了原料成本,还提高了锂回收率。

标签:
加工技术
江苏 - 南京 来源:北方有色网 2023-03-18
便于将圆柱状锂电池放入盛装结构内的装置

本发明公开了一种便于将圆柱状锂电池放入盛装结构内的装置,包括第一传送框、第一传送带、计数传感器、锂电池本体、微型气泵、分气管、承载吊板、电动转盘、T型圆台、电动推杆、条形凹槽、条形夹块、U型条板、推板、条形滑槽、塑料筐、第二传送带、第二传送框、条形气囊、限位条块、圆形铁块、圆杆、第一电磁阀、第二电磁阀、连接块和导气管。本发明设计合理,实现了一次夹取多个锂电池的功能,解决了逐个取放锂电池而耽误时间的问题,结构紧凑,有利于循环夹持放置锂电池,保证了取放锂电池的连续性,运行稳定,实现了将全部锂电池整齐放置在盛装结构内的功能,解决了人工摆放的不便性。

标签:
加工技术
江苏 - 南京 来源:北方有色网 2023-03-18
锂电池参数辨识方法及系统

本发明涉及一种基于变量遗忘因子最小二乘算法的锂电池参数辨识方法,该方法将传统遗忘因子最小二乘算法中的人为设定的遗忘因子改变为随辨识过程改变的变量,基于采集到的锂电池端电压、电流数据,采用变量遗忘因子最小二乘算法对锂电池待辨识的参数向量进行递推辨识,得出锂电池待辨识参数向量的辨识结果;基于锂电池待辨识参数向量的辨识结果,计算得到锂电池二阶RC等效电路模型的电气参数。本发明基于变量遗忘因子的递推最小二乘辨识算法在提升辨识精度的同时加快了辨识过程的收敛速度。

标签:
加工技术
江苏 - 南京 来源:北方有色网 2023-03-18
利用微波近场技术表征铌酸锂波导的方法

本发明公开了一种利用微波近场技术表征铌酸锂波导的方法,使用原子力显微镜微波近场探针的尖端在铌酸锂波导的表面扫描。具体步骤如下:将微波信号通过定向耦合器和传输线传导进入探针的尖端,微波信号在铌酸锂波导的表面反射后进入定向耦合器,反射的微波信号和一路消除信号同时经过放大器的放大进入混频器解调,得到两组直流信号,这两组直流信号分别对应于探针的尖端与铌酸锂波导之间的阻抗实部和虚部,即电阻R和电容C。本发明的方法实现了快速、无损的鉴别出铌酸锂波导的分界区域、有无表面裂纹,对于更好的制备铌酸锂质子交换波导提供了实验依据。

标签:
加工技术
江苏 - 南京 来源:北方有色网 2023-03-18
复合型锂原电池阳极
复合型锂原电池阳极 933     
 0

本实用新型公开了一种复合型锂原电池阳极,包括阳极片、底片、压片以及角片,所述阳极片的底部设有底片,所述底片的顶部设有角片,所述角片位于阳极片的上方,所述底片的顶部固定连接压片,所述阳极片插入在压片的内部。该一种复合型锂原电池阳极,通过在阳极片的背面额外增设底片,解决了传统锂原电池阳极在应用时其强度不高的问题,由于阳极片是固定在底片之上的样式,从而形成了复合型的结构,这样在使用该阳极片的过程中就可以从整体上来实现提高强度的效果,避免了传统锂原电池阳极受到来自外力的碰撞导致出现形变的情况,整体结构简单,实用性较强。

标签:
加工技术
江苏 - 南京 来源:北方有色网 2023-03-18
锂硫电池复合正极材料及其制备方法与应用

本发明公开了一种锂硫电池复合正极材料及其制备方法与应用。该方法包括以下步骤:(1)利用水热法制备VOX;(2)用溶液法或者溶剂热法将金属MOF生长在VOX上,得到MOF@VOX的复合材料;(3)将步骤(2)制备的MOF@VOX在NH3氛围下氮化,得到微孔C和VN的复合材料C@VN;(4)将步骤(3)得到的微孔C@VN与S粉进行混合,在惰性氛围煅烧得到锂硫电池复合正极材料S‑C@VN。本发明利用锂硫电池在金属MOF碳化后形成的独特微孔结构中实现的准固态反应以及氮化物极强的催化活性、高导电性和对多硫化物的强化学吸附能力,有效降低了电解液使用量,提升了锂硫电池的循环性能和倍率性能。

标签:
加工技术
江苏 - 南京 来源:北方有色网 2023-03-18
宽压锂电池
宽压锂电池 887     
 0

本发明涉及一种宽压锂电池。所述锂电池包括:电池组,所述电池组采用多片电池串联方式封装以用于向无人机供电,所述电池充电截止电压为4.35V或4.2V,放电截止电压为3.1V至3.4V;充电接口,所述充电接口用于外接充电器以用于向所述电池组供电。本发明的宽压锂电池采用了高充电截止电压,低放电截止电压,拓宽了电池放电范围;采用了耐高压隔膜的新型三元锂电正负极材料,改善了电池性能;兼容市面标准HV型充电器,用户无需采购专用器材;根据经验选定的充放电能力,在发热、功率和能量密度之间加以平衡。

标签:
加工技术
江苏 - 南京 来源:北方有色网 2023-03-18
含有三维空间导电网络的锂离子电池纳米复合正、负极材料及制备方法

本发明公开了含有三维空间导电网络的锂离子电池纳米复合正、负极材料及制备方法。技术要点:综合使用改性分散后的大长径比、高强度的一维导电纳米材料与零维纳米导电材料在粘结剂的作用下搭建三维空间导电网络,提高了锂离子电池正、负极材料的机械强度、加工性能以及颗粒之间电子的传导能力,从而解决了典型的锂离子电池电极材料的大倍率性能和循环寿命较差的问题。其制备方法包括以下步骤:首先将一维导电纳米材料加入到含有表面活性剂的水或有机溶剂中超声、搅拌处理,使其充分的分散开;再将上述的分散液分别加入零维导电剂、粘结剂、正、负材料,超声和高速搅拌一段时间,得到含有三维空间导电网络的锂离子电池纳米复合正、负极材料。

标签:
加工技术
江苏 - 南京 来源:北方有色网 2023-03-18
利用发动机排烟余热的车载式溴化锂制冷空调机

本发明的利用发动机排烟余热的车载式溴化锂制冷空调机,包括溴化锂溶液、发生器、稀液槽、泵、换热器和冷风机,其特征在于还包括至少一根空气冷凝管和至少一根插入式吸收蒸发套管,所述空气冷凝管为设有外翅片的冷凝管;插入式吸收蒸发套管包括蒸发管、吸收管、冷剂水槽、内翅片和外翅片,其中的蒸发管插装在吸收管内的顶部,冷剂水槽的上开口紧贴在蒸发管的底部,内翅片分布在吸收管内的中下部,外翅片分布的吸收管的外壁上;冷凝管和插入式吸收蒸发套管是上下叠置安装于车顶上,主要利用行进中的迎面风进行冷却,使用发动机排烟余热即可制冷。具有体积小,重量轻和节能减排效果好等优点,可代替压缩式制冷机作车载式空调机使用。

标签:
加工技术
江苏 - 南京 来源:北方有色网 2023-03-18
方型锂电池用点焊夹具结构

本实用新型公开了一种方型锂电池用点焊夹具结构,包括固定板、条板、凹孔、第一螺纹套、第一螺栓、内杆、固定块、连接板、内板、外板、第二螺纹套、第二螺栓、粘灰胶带、通槽、套筒、内杆、第三螺纹套、第三螺栓、压板、连接杆、垫块、连接条、铁块、电磁铁、滑槽和滑块。本实用新型结构合理,设计新颖,可满足多种型号的锂电池进行装夹,使用方便,通过电磁铁和铁块可使压板压紧锂电池进行固定和解除固定,操作简单,可减少锂电池的装夹时间;通过铰链可实现外板、内板和连接板一起转动,通过粘灰胶带可快速的对装夹的锂电池进行快速除灰,可便于保持锂电池表面的洁净,避免影响锂电池的品质。

标签:
加工技术
江苏 - 南京 来源:北方有色网 2023-03-18
锂电池充电器
锂电池充电器 848     
 0

本实用新型公开了一种锂电池充电器,涉及充电装置技术领域,具体为一种锂电池充电器,包括充电箱,所述充电箱的左右表面均开设有安装槽,所述充电箱左侧的安装槽中固定安装有冷风扇,所述充电箱右侧的安装槽中固定安装有出风扇,所述充电箱正面开口处的左右两侧均固定连接有转轴,所述转轴外表面的内侧活动套接有限位块,所述限位块的正面设置有限位杆,所述充电箱内腔的底部固定安装有移动板。该锂电池充电器,通过在水冷管与冷却管的内腔中盛满冷水,利用冷水可以对充电器进行水冷,与冷风扇、出风扇之间相互配合,能够提高该装置的冷却性能,避免锂电池在充电时,导致充电器散发大量的热,无法及时解决的问题出现。

标签:
加工技术
江苏 - 南京 来源:北方有色网 2023-03-18
锂离子电池充电器
锂离子电池充电器 1052     
 0

本实用新型是一种在低温时可对锂离子电池加热的充电器,要解决的是现有的锂离子电池充电器在低于常温时,对电池的充电效果较差,电池容量损失较大的问题。它包括包括电源、充电部分以及与电源相接的、以PTC热敏电阻芯片制成的加热体,该加热体的一端面与锂离子电池的一端面接触。在低温条件下使用本实用新型对锂离子电池充电时,可以使锂离子电池温度保持在较高的温度,使充电时间缩短,电池容量损失减小;其结构简单,易生产制造,成本低廉。

标签:
加工技术
江苏 - 南京 来源:北方有色网 2023-03-18
用于锂离子电池的Co<sub>2</sub>(BDC)<sub>2</sub>ted负极材料

本发明公开了一种用于锂离子电池的Co2(BDC)2(ted)负极材料。利用水热法制备了钴基MOF材料Co2(BDC)2(ted),无需经过后期处理步骤直接将Co2(BDC)2(ted)用于锂离子电池负极材料。Co2(BDC)2ted具有规则有序的三维多孔结构和良好的导电性,这种结构在脱锂/嵌锂过程中有效缩短Li+的传输距离,利于锂离子扩散,从而提高其比容量和倍率性能,经测试Co2(BDC)2ted作为负极材料具有优异的倍率性能,循环稳定性和较高的比容量,作为锂离子电池负极材料有着较大的潜在应用价值。

标签:
加工技术
江苏 - 南京 来源:北方有色网 2023-03-18
卤化锂与二维材料复合固态电解质材料及制备方法和应用

本发明公开了一种卤化锂与二维材料复合固态电解质材料及制备方法和应用。复合体系固态电解质材料为卤化锂与二维材料的球磨复合物,制备时,惰性气体气氛下,将卤化锂与二维材料按照一定摩尔比混合后进行球磨,本发明制备的固态电解质材料由卤化锂与二维材料两相构成,球磨过程中没有中间相生成也没有经历相互反应或自分解,两相界面为非晶相,更有利于锂离子的迁移,可以用于制备全固态锂离子电池的固态电解质。

标签:
加工技术
江苏 - 南京 来源:北方有色网 2023-03-18
上一页 125 126 127 128 129 ... 146 下一页
共146页    到第

北方有色为您提供最新的江苏南京有色金属加工技术理论与应用信息,涵盖发明专利、权利要求、说明书、技术领域、背景技术、实用新型内容及具体实施方式等有色技术内容。打造最具专业性的有色金属技术理论与应用平台!

全国热门有色金属设备推荐
展开更多 +
全国热门有色金属技术推荐
展开更多 +

 

江西省隆恩特环保设备有限公司
宣传

报名参会
更多+

报告下载

有色专家
更多+

任灵宝金源矿业股份有限公司
技术发展部经理
中南大学
教授、博士生导师
长沙有色冶金设计研究院有限公司
党委书记、董事长
昆明冶金研究院有限公司
党委书记、执行董事
中铝科学技术研究院有限公司
董事长
赤泥综合利用研究报告2025
推广

热门技术
更多+

推荐企业
更多+

福建省金龙稀土股份有限公司
宣传

发布

在线客服

公众号

电话

顶部
咨询电话:
010-88793500-807