青岛垚鑫智能科技有限公司
宣传

位置:中冶有色 >

有色技术频道 >

分类:
全部
矿山技术
冶金技术
材料制备及加工技术
环境保护技术
分析检测技术
 
全部
废水处理技术
大气治理技术
固/危废处置技术
土壤修复技术
地区:
全部
北京
天津
上海
重庆
河北
山西
辽宁
吉林
黑龙江
江苏
浙江
安徽
福建
江西
山东
河南
湖北
湖南
广东
海南
四川
贵州
云南
陕西
甘肃
青海
内蒙
广西
西藏
宁夏
新疆
其他
其他
展开
 
全部
合肥
芜湖
蚌埠
淮南
马鞍山
淮北
铜陵
安庆
黄山
阜阳
宿州
滁州
六安
宣城
池州
亳州

安徽芜湖有色金属环境保护技术理论与应用

免费发布技术信息>>
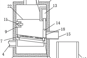
固体废弃物消解环保装置

本发明公开了一种固体废弃物消解环保装置,包括处理基座,处理基座的上方设置有初级预处理装置、次级废物消解装置以及用于对固体废弃物消解过程中产生废气进行净化处理的气体净化排放装置,次级废物消解装置一端通过导料通道与初级预处理装置连接,另一端通过气连通管道与气体净化排放装置连接,且次级废物消解装置内还设置有多级促消解机构,保证了固体废弃物充分消解,且大大提高了固体废弃物的消解效率,能够对固体废弃物消解过程产生的废气进行净化处理后再排放,避免了消解产生的酸性气体直接排入大气中,容易造成环境破坏,长期还可导致对人体健康带来严重威胁,保证了该固体废弃物消解环保装置的高效环保性。

标签:
固废
安徽 - 芜湖 来源:中冶有色网 2023-03-19
固体废物焚烧炉
固体废物焚烧炉 822     
 0

本发明涉及固废处理领域,具体的说是一种固体废物焚烧炉,包括主体结构、过滤结构、除尘结构和清灰结构;过滤结构的使用将焚烧尾气的喷淋和除祛有害物质结合在一起,减少尾气输送时间,提高尾气处理效率,并且利用水的喷淋加湿尾气,加快尾气中大颗粒固体的沉降,同时提高尾气中杂质的粘附性,在尾气通过活性炭层时,有害杂质和颗粒物更加容易被过滤掉;除尘结构的使用能够彻底除去尾气中的固体颗粒和有害物质,使得尾气达到排入大气的要求,同时除尘结构与过滤结构结合使用,减少了尾气输送时间,提高了尾气处理效率,避免尾气污染管道内壁。

标签:
固废
安徽 - 芜湖 来源:中冶有色网 2023-03-19
固体废弃物处置厂废气滤涤设备

本实用新型公开了一种固体废弃物处置厂废气滤涤设备,涉及到废气处理技术领域,包括设备主体和固定板,设备主体的顶端固定贯穿设置有进气管,设备主体的内部固定设置有呈倾斜设置的固定板,设备主体的一侧底端固定贯穿设置有排气管,且排气管位于固定板的底部一侧,固定板的中部贯穿开设有方槽,方槽的内侧顶端环绕开设有安装槽。本实用新型通过过滤框和过滤膜的设置,以及多个喷头的设置,采用过滤膜来过滤进气管进入设备主体内部的废气,过滤膜能够有效过滤掉颗粒杂质,并且多个喷头间断式的喷出清水,对过滤膜上的颗粒杂质进行清洗,并通过出水方管流出到收集槽内部收集,这样使用的水资源大大减少,节省了水资源的成本,减少水资源的浪费。

标签:
固废
安徽 - 芜湖 来源:中冶有色网 2023-03-19
固废预处理厂房除臭装置

一种固废预处理厂房除臭装置,属于水泥窑协同处置固体废弃物处理技术领域,该除臭装置,包括通风管道和与之相连的除臭机,通风管道包括相连通的主管道和分支管道,主管道与除臭机的进风口相通连,分支管道定位布置在厂房的内部,分支管道的管径由其端部向与主管道的连接处逐渐增大,分支管道上设置有多个吸气口,本实用新型的有益效果是,该除臭装置整体结构简单、设备投入成本低,可平衡通风管道内的风阻,减少了风道短路的情况,可全面收集的臭气,使均匀顺畅地吸入除臭机内进行处理,提高了除臭效果和除臭效率,改善了厂房作业环境。

标签:
固废
安徽 - 芜湖 来源:中冶有色网 2023-03-19
用于固废处理的自动进出料装置

本发明公开了一种用于固废处理的自动进出料装置,包括储料筒、进料装置和出料装置,进料装置包括进料斗、进料板、排料管和阻挡板,排料管和进料斗底端连接在一起,进料斗侧面连接有进料管,进料板底端连接有活塞杆,活塞杆通过连接杆和储料筒内壁连接在一起,支撑杆通过弹簧杆支撑,弹簧杆底端和通过金属盘和储料筒连接在一起,所述储料筒侧壁连接有若干个阻挡座,所述出料装置包括出料管和挡料板,所述储料筒底端安装有支撑架,所述支撑架包括支撑座和承压杆,所述承压杆分别连接在支撑座两端,该装置过重力方式实现固体废料的自动进出料,从而方便实现进出料的自动化控制,提高了固废的处理效率,值得推广。

标签:
固废
安徽 - 芜湖 来源:中冶有色网 2023-03-19
具有除尘结构的固废处理设备

本实用新型涉及固废处理设备技术领域,具体为一种具有除尘结构的固废处理设备,包括破碎装置外壳,所述破碎装置外壳的内壁固定安装有破碎机构,所述破碎机构包括破碎辊,所述破碎辊设置有两组,所述破碎辊的右侧固定连接有齿轮,所述齿轮远离破碎辊的一侧固定连接有电机,且电机固定安装在机电盒的内壁。本实用新型通过设置有喷洒管和除尘机构,在使用时通过将喷洒管外界的管道相连接,通过喷洒管表面的圆形通孔对固体废料表面的灰尘进行加湿处理,加湿过后的灰尘重量增加,从而粘附在吸附网的表面,降低破碎的固体废料在出料时的灰尘量,继而一定程度上提高了工作人员的安全系数,避免大量灰尘被工作人员吸收。

标签:
固废
安徽 - 芜湖 来源:中冶有色网 2023-03-19
防液体堵塞的3D打印机喷头清理机构

本实用新型公开了一种防液体堵塞的3D打印机喷头清理机构,包括:水泵、气泵、三通阀、第一对接头、第二对接头、输入管和清水池。本实用新型提出的一种防液体堵塞的3D打印机喷头清理机构,当打印机喷头与第一对接头连接,三通阀第一输入端连接输出端时,水泵可向打印机喷头内部充水,从喷料出口逆向冲洗打印机喷头内部,冲洗后的废水从逆冲出口排出;三通阀第二输入端连通输出端时,气泵可向打印机喷头内部充气,既可实现从喷料出口逆向冲洗打印机喷头内部加强清洁效果,又可以对打印机喷头内残留的水分进行风干。

标签:
废水处理
安徽 - 芜湖 来源:中冶有色网 2023-03-19
炼铁高炉炉顶均压放散的废气、噪声处理系统

本实用新型公开了一种炼铁高炉炉顶均压放散的废气、噪声处理系统,包括大钟均压室(1)、放散管道(3),在所述的放散管道(3)的出口,设除尘水箱(4),所述的放散管道(3)的出口,设在除尘水箱(4)内的水面之下,所述的除尘水箱(4)的上部设有洁净气体排气口(13)。采用上述技术方案,通过除尘水箱,把均压放散废气中的颗粒污染物捕集在水中,洁净气体排入大气,产生的废水经过冲渣水池沉淀后回收利用。本工艺减少了噪声和粉尘对环境的污染,达到最终去除污染物的目的。整个工艺占地很小,工艺流程简化,工艺简单、合理,投资少,解决了长期存在的高炉均压放散废气、噪声处理较难的问题。

标签:
废水处理
安徽 - 芜湖 来源:中冶有色网 2023-03-19
饮水机支承座
饮水机支承座 900     
 0

本实用新型公开了一种饮水机支承座,包括支撑饮水机的托架、设置在所述的托架周边的限位板、支撑所述的托架的支脚,所述的托架呈方形,包括前、后、左、右四边,分别支撑所述的饮水机底座的四边,在所述的托架的四个角上分别设置一个所述的支脚,还包括积水盒,所述的积水盒设置在所述的托架和支脚之间,所述的支承座侧视图整体成直角梯形形状,所述的积水盒的一侧露出所述的托架外。本实用新型技术方案中,由于在饮水机的支承座中设置一个积水盒,工人在喝水时,不用走到远处倒杯中的废水,克服了由此带来的造成增加工人的劳动强度,影响工作效率,造成工作环境的杂乱等一系列问题。

标签:
废水处理
安徽 - 芜湖 来源:中冶有色网 2023-03-19
圆筒式离心萃取器
圆筒式离心萃取器 1189     
 0

圆筒式离心萃取器,它由电机、电机座、传动机构、支撑盖、收集室、重轻相分离通道部件、转鼓、搅拌桨、混合室、支架及底座组成;传动机构为弹性联轴器、轴承及座、设有莫氏锥度的内套,电机经传动机构通过莫氏锥体轴套付与转鼓及搅拌桨轴联接;转鼓为圆柱形,长径比为1.6~1.7,其下部动静结合部的密封为螺旋迷宫密封;重轻相通道内部及与转鼓的密封件为O形密封圈;适于作为湿法冶金、废水治理等萃取流程中的萃取装置。

标签:
废水处理
安徽 - 芜湖 来源:中冶有色网 2023-03-19
果胶重金属吸附剂及其制备方法

本发明公开了一种果胶重金属吸附剂,其特征是由下述重量份的原料制得:果胶10-20,明胶5-10,山梨醇1-2,酒石酸1-2,聚乙烯醇5-10,锯末粉3-5,玉米淀粉3-5,十二烷基硫酸钠0.1-0.2,聚山梨酯-80?0.5-1,助剂6-8,水80-100。本发明的重金属吸附剂具有重金属结合、吸附能力强,吸附容量大的特点,安全环保,无毒无害,处理废水过程中不向环境中引入二次污染,实用性强。

标签:
废水处理
安徽 - 芜湖 来源:中冶有色网 2023-03-19
汽车涂装前脱脂处理系统

本发明公开了一种汽车涂装前脱脂处理系统,包括脱脂槽和喷淋头,所述脱脂槽与喷淋头之间相连的管路上设有喷淋泵和过滤器,还包括用于将脱脂液分子量变小的脱脂液分子量处理系统,脱脂液分子量处理系统的进液口与脱脂槽的下部相连,脱脂液分子量处理系统的出液口与脱脂槽的上部相连。通过改善脱脂液的物理性质,即脱脂液分子量小量化处理,增加水分子的活性,降低水的粘滞性和表面张力,从而大大提高水的溶解力和渗透力,在不添加其他化学成分的情况下,延长脱脂液使用寿命,安全可靠;减少脱脂剂的添加,减少废物处理量,节省脱脂剂,减少新鲜水的补充,减少废水处理量,降低脱脂槽液温度,从而达到节能减排效果。

标签:
废水处理
安徽 - 芜湖 来源:中冶有色网 2023-03-19
应用于铝轮毂电镀中的铝合金无氰沉锌剂的制作方式

本发明提供一种应用于铝轮毂电镀中的铝合金无氰沉锌剂的制作方式,主要由以下组份配制得到:350‑450mL/L开缸剂、8‑12mL/L调整剂及120‑130mL/L补充剂,其余为水。所述开缸剂包括0.5‑2.0g/L铜离子、0.1‑0.8g/L铁离子、0.8‑3.0g/L镍离子、8‑16g/L锌离子和40‑150g/L以氢氧化钠计的氢氧根离子;所述调整剂是含有硝酸钠、亚硝酸钠、2‑巯基苯并咪唑、苯并三氮唑、2‑巯基苯并噻唑、聚乙二醇、乙基己基硫酸钠、硫脲、1,3‑二乙基硫脲、羟甲基纤维素钠、L‑甲硫氨基酸、联吡啶和磺基水扬酸中的至少一种组分的水溶液,调整剂的浓度为150‑250g/L;本发明采用多元配合物添加剂代替氰化物的工艺,不含氰化物和强络合剂,无毒无害,废水处理简单,是目前国家大力和强制推广的清洁生产工艺。

标签:
废水处理
安徽 - 芜湖 来源:中冶有色网 2023-03-19
利用红土镍矿冶炼废渣制备水体COD降解催化剂的方法及其臭氧降解COD应用

本发明提供了利用红土镍矿冶炼废渣制备水体COD降解催化剂的方法及其臭氧降解COD应用。本发明在添加镍矿冶炼废渣基础上,补充镍渣重量的35%~100%天然多孔黏土矿物添加锰盐补充催化剂活性组分,锰盐折合MnO2占废渣重量的6~18%,经酸浸、混合、沉淀、离心洗涤、练泥、挤条、烘干、焙烧等环节制得成型柱条催化剂。与现有技术相比,本发明制取高效水体COD降解催化剂,工艺过程无废气、废固等产生,仅有少量盐碱废水,工艺简单可行,绿色环保,经济性高。而且,成功解决了废渣有毒金属浸出风险,COD去除率可超85%,而同等条件下不加催化剂40min去除率仅为65%,去除效率提升超31%。

标签:
废水处理
安徽 - 芜湖 来源:中冶有色网 2023-03-19
再生还原橡胶制造工艺
再生还原橡胶制造工艺 1101     
 0

本发明涉及一种再生还原橡胶制造工艺,特别涉及一种废旧橡胶还原再生EPDM橡胶制造工艺,包括以下步骤:首先将开炼机的辊距调整至零,开练机转速调为40转/每分钟,将胶粒和废橡胶边料压炼一次,再将配合原料加入压炼10分钟;然后调整开炼机的辊距至0.5mm,加入操作助剂和混炼胶再混炼5分钟出片,温度控制在40-60℃之内;出片后,用硫化机硫化,制成成品。本发明降低了生产成本、提高了生产效率、产品质量,时本发明满足了21世纪对环境保护的要求,使其沿着可循环、可持续发展的经济模式,实现了无废水、无废气、无污染的环保型生产,从而真正实现橡胶的循环经济。

标签:
废水处理
安徽 - 芜湖 来源:中冶有色网 2023-03-19
酒厂底锅水去浊处理剂及其制备方法

本发明公开了一种酒厂底锅水去浊处理剂及其制备方法,由活性污泥、碳酸钙、乙酸酐、巯基乙酸、木质纤维素、镁砂、正硅酸乙酯、四氧化三铁粉末等原料制成,本发明采用烧制污泥搭载改性镁砂,配合巯基化木质纤维素的加入,利用巯基的存在加强处理剂的可溶性和各材料之间的结合稳定性,使其可以更好的分散于底锅水中,与有机污染物胶粒表面的活性空位相互吸附,使污染物胶粒脱稳形成矾花得以去除,大大提高了酒厂废水的治理效率并降低了成本。

标签:
废水处理
安徽 - 芜湖 来源:中冶有色网 2023-03-19
菠萝叶制备的重金属吸附剂及其制备方法

本发明公开了一种菠萝叶制备的重金属吸附剂,其特征是由下述重量份的原料制得:菠萝叶40-50,凹凸棒土5-10,沸石粉5-10,魔芋精粉3-5,聚乙烯吡咯烷酮1-2,海藻酸钠0.5-1,氯化钙2-4,植酸钠1-2,十二烷基葡糖苷0.3-0.5,助剂4-6,水40-60。本发明的以农业废料菠萝叶为主要原料制得重金属吸附剂,并且重金属结合、吸附能力强,吸附容量大,安全环保,无毒无害,处理废水过程中不向环境中引入二次污染,原料来源广泛、价格低廉,既有效降低了生产成本,又达到节能利废的目的,具有较高的经济效益、社会效益和环境效益。

标签:
废水处理
安徽 - 芜湖 来源:中冶有色网 2023-03-19
核壳结构的絮凝剂的制备方法

本发明涉及絮凝剂技术领域,具体涉及一种核壳结构的絮凝剂的制备方法,包括以下步骤:对壳聚糖进行接枝处理,得到改性壳聚糖;将改性壳聚糖与硅酸铝镁复合,得到改性硅酸镁铝;将改性硅酸镁铝与四氯化硅复合,得到核壳结构的絮凝剂。本发明的核壳结构的絮凝剂中含有阴阳离子基团,具有两性特征,不仅提高了絮凝剂的絮凝性能,在对废水中污染物进行絮凝后,能够形成大分子网络的大絮凝体,具有絮凝效果好,且絮凝剂能够重复利用,成本低。

标签:
废水处理
安徽 - 芜湖 来源:中冶有色网 2023-03-19
光酶耦合催化材料的制备方法及其应用

本发明提供了一种光酶耦合催化材料的制备方法及其应用,制备方法包括如下步骤:步骤一、将GO和TiO2负载于水刺黏胶纤维膜上;步骤二、将负载GO和TiO2的水刺黏胶纤维膜置于木醋杆菌培养液中通过原位生长的方式制备水刺黏胶纤维/GO/TiO2/BC复合纤维膜;步骤三、对复合纤维膜进行ATRP接枝改性处理;步骤四、对接枝改性后的复合纤维膜配位过渡金属离子;步骤五、对配位过渡金属离子的水刺黏胶纤维/GO/TiO2/BC复合纤维膜进行氧化还原酶的固定化,以得到光酶耦合催化材料。光酶耦合催化材料可以快速高效降解多种染料废水,而且具有优异的重复使用性能。

标签:
废水处理
安徽 - 芜湖 来源:中冶有色网 2023-03-19
防液体堵塞的3D打印机喷头清理装置

本发明公开了一种防液体堵塞的3D打印机喷头清理装置,包括:水泵、气泵、三通阀、第一对接头、第二对接头、输入管和清水池。本发明提出的一种防液体堵塞的3D打印机喷头清理装置,当打印机喷头与第一对接头连接,三通阀第一输入端连接输出端时,水泵可向打印机喷头内部充水,从喷料出口逆向冲洗打印机喷头内部,冲洗后的废水从逆冲出口排出;三通阀第二输入端连通输出端时,气泵可向打印机喷头内部充气,既可实现从喷料出口逆向冲洗打印机喷头内部加强清洁效果,又可以对打印机喷头内残留的水分进行风干。

标签:
废水处理
安徽 - 芜湖 来源:中冶有色网 2023-03-19
核壳结构的絮凝剂
核壳结构的絮凝剂 1005     
 0

本发明涉及属于絮凝剂技术领域,具体涉及一种核壳结构的絮凝剂,所述核壳结构的絮凝剂由以下重量份的物质制成:壳聚糖3~15重量份、氯乙酸3~15重量份、丙烯酰胺5~15重量份、引发剂1~5重量份、硅酸镁铝20~40重量份、四氯化硅废液10~20重量份、硅烷偶联剂3~8重量份、乙二醇二缩水甘油醚30~60重量份。本发明的核壳结构的絮凝剂中含有阴阳离子基团,具有两性特征,不仅提高了絮凝剂的絮凝性能,在对废水中污染物进行絮凝后,能够形成大分子网络的大絮凝体,具有絮凝效果好,且絮凝剂能够重复利用,成本低。

标签:
废水处理
安徽 - 芜湖 来源:中冶有色网 2023-03-19
椰壳基重金属吸附剂及其制备方法

本发明公开了一种椰壳基重金属吸附剂,其特征是由下述重量份的原料制得:椰壳20-30,草木灰5-10,花生壳3-5,黄原胶3-5,麦芽糊精1-2,苹果酸1-2,木糖醇1-2,聚丙烯酸钠0.5-1,腐殖酸钠0.1-0.2,硬脂酰乳酸钠1-2,助剂6-8,水60-80。本发明通过对农业肥料的有效回收利用制得重金属吸附剂,具有金属结合、吸附能力强,吸附容量大的特点,同时对水体中的有机污染物有吸附去除功效,安全环保,无毒无害,处理废水过程中不向环境中引入二次污染,节能利废,经济实用。

标签:
废水处理
安徽 - 芜湖 来源:中冶有色网 2023-03-19
便于移动的自行车清洗装置

本发明涉及一种便于移动的自行车清洗装置,包括底座、风机、水泵、前清洗盘、套管、挡板、支撑板、后清洗盘和连接轴,所述底座上表面设置有机体,且机体上设置有清洗室,所述套管设置在前清洗盘内部,且套管内部连接有连接弹簧,所述连接弹簧末端连接有刷子,所述挡板设置在清洗室底部,且挡板上固定有连接杆,所述出水孔下部连接有废水收集箱,所述连接轴连接在底座下表面,且连接轴上设置有锁紧装置,所述锁紧装置内部设置有轮子。该便于移动的自行车清洗装置在此装置上设置了前清洗盘与后清洗盘,且前清洗盘与后清洗盘的结构相同,并且前清洗盘与后清洗盘上均设置有刷子,而且在刷子后面设置了连接弹簧,能够更好的将自行车的车轮清洗干净。

标签:
废水处理
安徽 - 芜湖 来源:中冶有色网 2023-03-19
基于植物秸秆的重金属吸附剂及其制备方法

本发明公开了一种基于植物秸秆的重金属吸附剂,其特征是由下述重量份的原料制得:芦苇秸秆10-15,玉米秸秆10-15,玉米芯3-5,泥炭3-5,羧甲基壳聚糖1-2,苹果酸2-4,γ-聚谷氨酸0.3-0.5,葡萄糖酸钠1-2,氯化钙2-4,柠檬酸钠1-2,助剂4-6,水40-50。本发明有效回收利用农业废料制得重金属吸附剂,原料来源广泛、价格低廉,重金属结合吸附能力强,且能吸附去除水中氮磷等污染物,安全环保,无毒无害,处理废水过程中不向环境中引入二次污染,经济性好,实用性强。

标签:
废水处理
安徽 - 芜湖 来源:中冶有色网 2023-03-19
荷叶制备的重金属吸附剂及其制备方法

本发明公开了一种荷叶制备的重金属吸附剂,其特征是由下述重量份的原料制得:鲜荷叶20-30,凹凸棒土5-10,氯化钙1-2,氯化钠1-2,海藻酸钠0.5-1,草酸钠0.5-1,阿拉伯胶1-2,羟乙基纤维素0.5-1,没食子酸0.1-0.2,助剂4-6,水40-60。本发明的以荷叶为主要原料制得重金属吸附剂,来源广泛、价格低廉,并且重金属结合、吸附能力强,吸附容量大,安全环保,无毒无害,处理废水过程中不向环境中引入二次污染,高效低成本、经济实用。

标签:
废水处理
安徽 - 芜湖 来源:中冶有色网 2023-03-19
畜牧山羊饲养用智能化饮水装置

本发明涉及畜牧业饲养技术领域,具体涉及一种畜牧山羊饲养用智能化饮水装置,包括储水箱,储水箱的左侧底部设有蓄电池,储水箱的后侧设有废水槽,储水箱的顶部从左到右依次呈阶梯状设有三组支撑块,支撑块的顶部设有弧形连接装置,弧形连接装置的顶部连接有饮水槽,饮水槽的顶部前侧贯通设有饮水口,饮水槽的顶部后侧设有检测固定架,检测固定架的前表面从左至右依次间隔设有耳标识别器、温度传感器和浑浊度传感器,三组饮水槽的左侧壁底部均贯穿设有出水管;本发明能够有效克服现有技术所存在的传统的山羊用饮水装置不能够满足不同体型山羊使用,且饮水装置受天气和使用时间影响导致饮水不方便的缺陷。

标签:
废水处理
安徽 - 芜湖 来源:中冶有色网 2023-03-19
纺织浆料搅拌装置
纺织浆料搅拌装置 811     
 0

本发明涉及一种纺织浆料搅拌装置,包括底板、搅拌箱,安装架,所述安装架上滑动安装有移动台,所述移动台下端连接有可进行多角度搅拌清洗的搅拌机构,所述安装架上安装有与移动台配合的丝杠、与丝杠沿底板宽度方向平行分布的导向杆,所述丝杠连接有一号电机,所述安装架上还安装有沿底板长度方向平行分布的若个烘干风机,所述搅拌箱连接有安装在底板上的水阀,所述水阀连接有安装在底板上废水收集箱。本发明通过一号锥齿轮与二号锥齿轮配合带动一号搅拌架和二号搅拌转动,实现了多浆料的多角度搅拌,防止浆料结块,使浆料清洗和上色均匀,本发明通过丝杠与移动台配合可对大型搅拌箱进行搅拌作业,节约加工时间,提高生产效率。

标签:
废水处理
安徽 - 芜湖 来源:中冶有色网 2023-03-19
植物复合改性水处理剂

本发明涉及一种植物复合改性水处理剂,按照重量份计,包括改定淀粉50‑60份、竹叶提取物3‑5份、胡萝卜提取物6‑8份、改性纤维素6‑8份,所述的改性淀粉的制备方法为:(1)将淀粉加水配置成20‑30%的淀粉溶液,然后压力250Mpa‑350Mpa、保压时间10‑20min;(2)然后加入淀粉溶液总重5%的氢氧化钠,于80℃碱化1小时,通过缓慢滴加1g50%的3‑氯‑2‑羟丙基三甲基氯化铵水溶液滴加完毕,继续在80℃下反应2小时,然后加入稀盐酸调节pH至中性,将产物在无水乙醇中沉淀,脆化,过滤,60℃真空干燥箱内烘干48小时,研磨后得到改性玉米淀粉。本发明的植物复合改性水处理剂用于废水处理时具有耗药量少、絮凝效果好、絮凝速度快等优点,而且原料都是植物源,易于生物降解,无污染。

标签:
废水处理
安徽 - 芜湖 来源:中冶有色网 2023-03-19
高效共聚集好氧反硝化组合菌剂及其制备方法和应用

本发明属于废水处理技术领域,具体涉及一种高效共聚集好氧反硝化组合菌剂及其制备方法和应用。该组合菌剂由门多萨假单胞菌IHB602、甲基杆菌DC‑1和施氏假单胞菌IHB618组成,该组合菌剂可显著提高无机氮去除效率,其制备方法和应用工艺操作简单,能耗和成本低。

标签:
废水处理
安徽 - 芜湖 来源:中冶有色网 2023-03-19
初期雨水分流方法
初期雨水分流方法 915     
 0

本发明公开了一种初期雨水分流方法,汇水面积内的雨水经过厂区雨水沟流入初期雨水分流装置,前15分钟的雨水经过初期雨水沟流入初期雨水收集池,初期雨水收集池的最高水位与初期雨水沟顶部齐平,池内最高水位以下有效容积为汇水面积内的前15分钟雨水量,水位高于最高水位后,由于初期雨水沟顶部和后期雨水沟底部齐平,后期雨水会通过初期雨水分流装置从后期雨水沟流走,并经过格栅过滤较大的杂质后进入厂区水塘,从而实现分流。实现雨水零排放,避免初期雨水不经处理直接外排对环境的污染,充分利用垃圾发电项目配套的渗滤液处理站或其他项目设置的废水处理站处理初期雨水,达标后回用;充分回收污染物浓度较低的后期雨水,有效节约了水资源。

标签:
废水处理
安徽 - 芜湖 来源:中冶有色网 2023-03-19
上一页 10 11 12 13 14 ... 23 下一页
共23页    到第

中冶有色为您提供最新的安徽芜湖有色金属环境保护技术理论与应用信息,涵盖发明专利、权利要求、说明书、技术领域、背景技术、实用新型内容及具体实施方式等有色技术内容。打造最具专业性的有色金属技术理论与应用平台!

全国热门有色金属设备推荐
展开更多 +
全国热门有色金属技术推荐
展开更多 +

 

江西省隆恩特环保设备有限公司
宣传

报名参会
更多+

报告下载

有色专家
更多+

广东省科学院资源利用与稀土开发研究所
教授
江西理工大学
副校长/教授
中国矿业大学(北京)
院长/教授
长沙矿冶研究院
总经理
湖南有色金属研究院
教授级高工/原总工程师
赤泥综合利用研究报告2025
推广

热门技术
更多+

推荐企业
更多+

福建省金龙稀土股份有限公司
宣传

发布

在线客服

公众号

电话

顶部
咨询电话:
010-88793500-807