青岛垚鑫智能科技有限公司
宣传

位置:中冶有色 >

有色技术频道 >

> 加工技术

分类:
全部
矿山技术
冶金技术
材料制备及加工技术
环境保护技术
分析检测技术
 
全部
功能材料技术
复合材料技术
新能源材料技术
合金材料技术
加工技术
地区:
全部
北京
天津
上海
重庆
河北
山西
辽宁
吉林
黑龙江
江苏
浙江
安徽
福建
江西
山东
河南
湖北
湖南
广东
海南
四川
贵州
云南
陕西
甘肃
青海
内蒙
广西
西藏
宁夏
新疆
其他
其他
展开
 
全部
武汉
黄石
十堰
宜昌
襄阳
鄂州
荆门
孝感
荆州
黄冈
咸宁
随州
恩施土家族苗族自治州
仙桃
潜江
天门

湖北襄阳有色金属加工技术理论与应用

免费发布技术信息>>
三维锂离子电池的制备方法

一种三维锂离子电池的制备方法,用于锂离子电池制造。将混合均匀的正极导电胶液、负极导电胶液分别涂布于三维箔材的一侧,烘干即得到正极导电胶膜和负极导电胶膜,再将正极浆料、负极浆料分别涂布于正极导电胶膜、负极导电胶膜上,制备成三维锂离子电池。本发明的导电胶膜粘结性和导电性良好,可以有效防止在使用三维箔材涂布过程中漏料、掉料等问题,降低电池制造成本,同时可有效提高三维锂离子电池的充放电效率、能量密度、循环性能和倍率性能。

标签:
加工技术
湖北 - 襄阳 来源:中冶有色网 2023-03-18
锂电池回收装置
锂电池回收装置 830     
 0

本实用新型属于锂电池回收技术领域,尤其为一种锂电池回收装置,包括箱体,所述箱体的一侧设置有安装门,所述箱体的顶部内壁上焊接有固定座,所述固定座远离所述安装门的一侧固定安装有电机,所述电机的输出轴上固定安装有螺杆,所述螺杆上转动安装有安装板,所述安装板的顶端焊接在所述箱体的顶部内壁上,所述螺杆上螺纹安装有螺纹套筒,所述箱体远离所述安装门的一侧开设有通孔,所述螺纹套筒与所述通孔相适配,所述箱体远离所述安装门的一侧焊接有滑板。本实用新型结构简单,操作方便,使锂电池的回收装置具有防盗功能,阻止了不法分子盗取废旧的锂电池,使之流入到市场,坑害消费者。

标签:
加工技术
湖北 - 襄阳 来源:中冶有色网 2023-03-18
用于软包锂离子电池的封装定位装置

本实用新型涉及锂离子电池生产技术领域,公开了一种用于软包锂离子电池的封装定位装置,包括底座、安装在所述底座上的下定位板、上定位板、翻转机构,上定位板上安装有多个真空吸盘一,下定位板上安装有多个真空吸盘二。本实用新型具有以下优点和效果:通过上定位板上的真空吸盘一、下定位板的真空吸盘二对软包锂离子电池的铝塑膜壳体吸附,翻转机构驱动上定位板翻转,上定位板与下定位板合拢,将铝塑膜壳体夹持和固定,且将电芯夹持进行定位,操作方便,快速和准确对铝塑膜壳体定位,提高封装工序中软包锂离子电池封装良率和性能,解决了现有电芯封装时铝塑膜壳体定位精度不高、封装偏斜的问题。整个装置结构简单,成本低廉。

标签:
加工技术
湖北 - 襄阳 来源:中冶有色网 2023-03-18
软包锂离子电池芯包的极耳裁切定位装置

本实用新型提供一种软包锂离子电池芯包的极耳裁切定位装置,属于裁切定位技术领域,该软包锂离子电池芯包的极耳裁切定位装置包括底板,底板的顶部固定有L形围板,L形围板的后内壁设置有挤压组件,L形围板的左内壁后侧设置有极耳限位组件,底板的上方设置有螺旋夹持组件,挤压组件和螺旋夹持组件之间设置有多个叠放的软包锂离子电池芯包本体,本裁切定位装置结可针对不同尺寸大小的软包锂离子电池芯包的极耳进行裁切,并且在进行定位时可将多个包锂离子电池芯包进行叠放,同时对多个包锂离子电池芯包上的两个极耳进行同步裁切,提高效率的同时大大降低了装置的裁切成本,具有较强的实用性。

标签:
加工技术
湖北 - 襄阳 来源:中冶有色网 2023-03-18
锂矿石机械化焙烧窑
锂矿石机械化焙烧窑 1057     
 0

本实用新型公开了一种锂矿石机械化焙烧窑,包括窑体、总控制室、炉门、操作台、布料和矿球松动系统、焙烧系统、冷却和出料系统,总控制室设置在窑体前部,用于安装控制箱;布料和矿球松动系统包括用于将矿球送入窑腔内的布料机、布料轨道、在焙烧过程中起松动作用的矿球松动机、推拉车以及牵引机,焙烧系统包括烟气出口、引风机、烟气通道、窑腔、炉条、加热装置和卸料装置;加热装置设置在窑腔内、炉条下方;卸料装置对称设置在窑体两侧并通过炉条与窑腔连通。本实用新型公开的设备提高了锂矿石的焙烧离子交换率,可用于焙烧锂辉石矿粉矿球,锂云母矿粉矿球,也可以用于焙烧锂辉石矿粉和锂云母矿粉的混合矿粉矿球。

标签:
加工技术
湖北 - 襄阳 来源:中冶有色网 2023-03-18
高倍率锂离子电池的制备方法

一种高倍率锂离子电池的制备方法,用于锂离子电池的制造。将制备好的正极制片、负极制片与聚烯烃隔膜卷绕成电芯,将电芯用外壳预封装,经真空干燥后注入电解液,静置后化成、封装、分容,即得到锂离子电池。本发明通过在正极片单、双面表面涂覆导电碳层,来提高电子电导性和离子通过率,减小电池层间极化,进而减小电池内阻,提高电池的高倍率性能。在极片边缘切口端面涂覆一层防毛刺层,以防止极片边缘毛刺可能造成的短路或微短路,降低自放电率,提高电池的安全性能。使用具有较低孔隙率的隔膜,在保证高倍率性能的前提下,降低了电池的自放电率和成本。

标签:
加工技术
湖北 - 襄阳 来源:中冶有色网 2023-03-18
新型锂电池pack组的散热结构

本发明提供一种新型锂电池pack组的散热结构。所述新型锂电池pack组的散热结构包括:方型收纳壳;长方型保护盖板,所述长方型保护盖板设置在方型收纳壳上;横向分隔固定板一,所述横向分隔固定板一设置在方型收纳壳内,所述横向分隔固定板一的两侧内壁分别与方型收纳壳的两侧内壁固定连接;垂直型分隔固定板二,所述垂直型分隔固定板二固定安装在横向分隔固定板一的顶部;散热机组一,所述散热机组一放置在横向分隔固定板一上。本发明提供的新型锂电池pack组的散热结构具有操作方便,能够简单快捷对散热机组一、圆柱型锂电池和散热机组二进行更换,节约资源,操作起来简单便捷的优点。

标签:
加工技术
湖北 - 襄阳 来源:中冶有色网 2023-03-18
软包锂离子电池注液封口夹具

一种软包锂离子电池注液封口夹具,用于锂离子电池技术领域。上定位夹板与下定位夹板的一侧通过弹性部件铰接,弹性部件使上定位夹板与下定位夹板自由闭合夹紧,上定位夹板的另一侧带有凹槽。本实用新型在对软包锂离子电池封口时,电池主体处于夹具内部,通过夹具的夹紧封口边固定电池,并将电池待封处置于夹具外,封口时将夹具顶住封口机封条即可完成封口。通过夹具对电池的夹紧,保证了电解液封口时不轻易流出,封口美观,可有效定位注液后电池封口的准确性,提高电池封口效率和加工性能。从而提高电池性能。

标签:
加工技术
湖北 - 襄阳 来源:中冶有色网 2023-03-18
磷酸铁锂电池自放电的筛选方法

本发明的名称为一种磷酸铁锂电池自放电的筛选方法。属于磷酸铁锂电池制造技术领域。它主要是解决自放电筛选方法存在筛选周期长的问题。它的主要特征在于包括以下步骤:将单体锂电池电量放空,以小电流充电至标称容量的10%‑30%SOC,在室温下搁置第一预定时间,测量单体锂电池电压V1;将测量后的单体锂电池先在高温下搁置第二预定时间,然后在室温下搁置第三预定时间,测量单体锂电池电压V2;将测量后的单体锂电池继续在室温下搁置第四预定时间,测量单体锂电池电压V3;计算K23值,按K23值标准剔除不符合要求的单体锂电池。本发明具有操作简单、可用于批量化生产和筛选一致性好的特点,主要用于剔除一致性差的磷酸铁单体锂电池。

标签:
加工技术
湖北 - 襄阳 来源:中冶有色网 2023-03-18
用于锂离子铝壳电池激光焊接的除尘装置

本实用新型的名称为一种用于锂离子铝壳电池激光焊接的除尘装置。属于锂电池生产技术领域。它主要是解决现有保护装置存在除尘效果差,维护成本高的问题。它的主要特征是:包括上盖板、内层管、中层管、外层管和下盖板;中层管、外层管的高度小于内层管的高度;上盖板和下盖板均设有与内层管内腔配合的通孔,下盖板固定在内层管、中层管和外层管的下端口上,上盖板固定在中层管和外层管的上端口、以及内层管的外壁上;保护气管固定在中层管上;除尘管固定在外层管上;下盖板上设有保护气出口及吸尘口;内层管伸出上盖板的管端头设有螺纹孔。本实用新型具有除尘效果好、结构简单和方便安装使用的特点,主要用于锂离子铝壳电池的激光焊接。

标签:
加工技术
湖北 - 襄阳 来源:中冶有色网 2023-03-18
软包锂电池自动封装夹持机构

本实用新型涉及锂电池夹具技术领域,特别涉及一种软包锂电池自动封装夹持机构,上固定座上设置有上立柱;上立柱上设置有能够升降运动的上支架;上支架上固定有上压板;上固定座与上支架之间连接有拉簧;上固定座上设置有能够沿水平方向滑动的载板;载板的下方设置有能够推动载板沿水平方向滑动的载板动力组件在。使用本实用新型时,而载板动力组件带动动载板向外伸出至与上支架错位,方便锂电池的加工和移栽。

标签:
加工技术
湖北 - 襄阳 来源:中冶有色网 2023-03-18
加速锂离子电池浸润的装置

一种加速锂离子电池浸润的装置,加热固定板、丝杆挡板相互平行的设置于底座左右两端,加热固定板与丝杆挡板之间还设置有一个加热推板,加热推板与丝杆挡板相互平行,加热推板与丝杆挡板之间设置有一个以上的滚珠丝杆,且加热推板与丝杆挡板相对位置上均匀设置有一个以上与滚珠丝杆相匹配的通孔,滚珠丝杆依次穿过丝杆挡板、加热推板右端与电机输出轴相连接,加热推板与套接在滚珠丝杆上的丝杆螺母固定连接;加热固定板右侧设置有一个用于给注液后软包锂离子电池加热的第一加热片,加热推板的左侧设置有一个用于给注液后软包锂离子电池加热的第二加热片;结构简单,可加速锂离子电池极片浸润,使电解液均匀分布,提高生产效率。

标签:
加工技术
湖北 - 襄阳 来源:中冶有色网 2023-03-18
废旧锂电池极片回收机构

本实用新型提出了一种废旧锂电池极片回收机构,包括:主输送线、正极分拣线、负极分拣线及分拣机构,所述分拣机构包括机架、取料装置、抽吸装置、识别元件及平移装置,其中,主输送线的一端延伸至机架内;取料装置用于对锂电池极片进行吸取;抽吸装置,用于抽吸隔膜;识别元件,设置在取料装置上,用于对正极片、负极片及隔膜进行识别;平移装置,固定安装在机架内,用于驱动取料装置上下平移及左右平移,以使抓取的正极片及负极片分别放置于正极分拣线及负极分级线上。本实用新型的极片回收机构,可以自动进行正极片、负极片及隔膜分离回收,无需人工进行分拣,大大提高锂电池极片回收效率,同时减少对人体健康造成危害。

标签:
加工技术
湖北 - 襄阳 来源:中冶有色网 2023-03-18
锂离子电池电芯叠片检测对齐度的定位装置

本实用新型的名称为一种锂离子电池电芯叠片检测对齐度的定位装置。属于锂离子电池制造技术领域。它主要是解决目前使用钢尺叠片对齐度存在检测过程中极片未被压实固定容易发生偏移并导致误判率较大的问题。它的主要特征是:包括固定盖板、定位底座和辅助定位模块;定位底座上设有侧边限位机构和底边限位机构;固定盖板与侧边限位机构和底边限位机构套装配合;侧边限位机构和底边限位机构与辅助定位模块形成待检测叠片电芯放置区域,固定盖板上设有显露放置区域四个角的检测区域的缺口。本实用新型具有可将电芯极片固定、检测更加便捷准确、降低钢尺检测误差和减少人为因素影响的特点,主要用于锂离子电池叠片电芯的叠片对齐度的人工检测。

标签:
加工技术
湖北 - 襄阳 来源:中冶有色网 2023-03-18
叠片软包装锂离子电池快速化成方法

本发明属于锂离子电池技术领域,具体涉及一种叠片软包装锂离子电池的快速化成方法,包括固体电解质相界面膜的形成阶段和化成气体排出阶段。主要理论依据为:固体电解质相界面膜主要形成于化成充电初期,同时伴随着化成气体的排出。SEI膜的形成受电流密度和温度等条件影响,在小电流密度下,负极表面先形成有机锂盐,后形成无机锂盐,这样形成的SEI膜更致密,成分也更加稳定。在此阶段采用高温加压的化成方式,可增加反应活性,加快反应的进行,增大电池表面的压力,可缩短离子迁移距离,提升化成效率和极片表面反应一致性。相对于传统的化成工艺,本发明既缩短了化成时间又使得形成的SEI膜更加致密和稳定,可广泛应用于工业化生产中。

标签:
加工技术
湖北 - 襄阳 来源:中冶有色网 2023-03-18
锂离子电池包及其保护板

本实用新型公开了一种锂离子电池包及其保护板,锂离子电池包保护板包括保护板本体,保护板本体靠近其第一侧边和第二侧边分别开设有至少两个第一装配孔和第二装配孔;第一装配孔包括沿第一侧边长度方向布置的第一固定孔及由第一固定孔向第一侧边垂直延伸形成的第一导孔,第二装配孔包括沿第一侧边长度方向布置的第二固定孔及由第二固定孔向第一侧边垂直延伸形成的第二导孔;而锂离子电池包则具有上述保护板。本实用新型将第一装配孔和第二装配孔均设置为L型,从而便于镍片竖直插入第一导孔或第二导孔内后可沿第一导孔和第二导孔运动,以实现保护板本体水平插入限位凸扣内,其操作简单便捷,利于实现自动化操作以提高锂离子电池包的装配效率。

标签:
加工技术
湖北 - 襄阳 来源:中冶有色网 2023-03-18
高性能磷酸铁锂材料及其合成方法

本发明涉及一种高性能磷酸铁锂材料及其合成方法,其由磷酸二氢锂以及氧化铁组成,按摩尔比计算,所述磷酸二氢锂∶氧化铁=2.0-2.04∶1,其合成步骤包括混合、球磨、分离、烘干、煅烧以及破碎。本发明的高性能磷酸铁锂材料具有低的自放电率、高的能量密度,高的振实密度等诸多优点,且其制造过程简单,易于工业化。

标签:
加工技术
湖北 - 襄阳 来源:中冶有色网 2023-03-18
锂离子电池生产用极片热辊压装置

本实用新型公开了一种锂离子电池生产用极片热辊压装置,包括牵引组件、液态加热组件、常温压辊组件、冷却组件和张紧组件,所述液态加热组件包括箱体,所述箱体的内部填充有液态水,所述箱体的两侧壁上均设有加热棒,所述箱体内部设有导向组件,所述导向组件浸没在液态水中,所述导向组件包括上下设置的第二导向辊和第一导向辊,所述常温压辊组件包括相互配合的上常温压辊和下常温压辊。本实用新型设计合理,构思巧妙,可加热锂离子电池极片,以增加其柔软性和延展性,使其在辊压过程中能够有良好的塑性形变,从而避免出现碎裂锂离子电池极片的情况,提高了产品优率,降低了企业的生产成本。

标签:
加工技术
湖北 - 襄阳 来源:中冶有色网 2023-03-18
软包锂离子启停电池系统

本实用新型的名称为一种软包锂离子启停电池系统。属于锂离子启停电源技术领域。它主要是解决现有系统存在体积和重量都比较大、安装工艺复杂和散热性能差的问题。它的主要特征是:包括电气模块和电池模块;其中,所述电池模块包括载体、软包电芯、散热铝片、铝型材外壳和底板,散热铝片设置于软包电芯之间及外部,载体上设有插孔铜排;所述电气模块由塑料顶盖、电子零件、插针铜排和防水橡胶垫构成,塑料顶盖上设有正、负极输出端子和通讯接插件;所述插针铜排与插孔铜排为配合的对插连接。本实用新型具有体积小、可靠性和抗振性高、过流能力强、装配方便、集成精度及效率均比较高的特点,主要用于软包锂离子启停电池系统。

标签:
加工技术
湖北 - 襄阳 来源:中冶有色网 2023-03-18
软包锂离子电池气囊结构

本实用新型的名称为一种软包锂离子电池气囊结构。属于软包锂离子动力电池技术领域。它主要是解决现有气囊因易发生形变而贴合导致水分无法及时排出和气体存留在电池本体内的问题。它的主要特征是:所述的气囊本体为矩形体封闭结构的气囊本体;所述气囊本体的下部为电池本体容纳区,上部为气体容纳区;所述气囊本体的顶部设有导管,保证外界与气囊只能通过导管相通。本实用新型具有其气囊本体在烘烤阶段、电池注液阶段和电池化成阶段能保持一定形状,满足水蒸汽排出和产生的气体可随时抽除要求的特点,主要用于软包锂离子电池生产过程中的气囊结构。

标签:
加工技术
湖北 - 襄阳 来源:中冶有色网 2023-03-18
锂电池块
锂电池块 1143     
 0

本实用新型提供一种锂电池块,所述锂电池在池块上连接有一个可直接充电的充电装置,所连接的充电装置有一个伸缩调节的充电插头和伸缩调节钮。通过上述设置,使锂电池块可以随时直接插接在电源上充电,避免外出必须另外携带充电器的麻烦。

标签:
加工技术
湖北 - 襄阳 来源:中冶有色网 2023-03-18
磷酸铁锂电池化成陈化方法

一种磷酸铁锂电池化成陈化方法,包括以下步骤:①采用变电流阶梯式充电化成工艺;②化成最后将电池恒流充电至高电压状态;③化成结束的电池高压状态下高温陈化;④挑选出陈化时压降较大的电池,压降合格电池上柜分容。本发明解决了现有技术在分容时首次容量发挥偏低等不足,提高锂离子电池低电压挑选效率,本发明的优点在于:高电压高温陈化后磷酸铁锂电池首次分容容量较高,节省了后续容量恢复时间,更方便电池按容量分档;高电压高温陈化锂离子电池压降更大,更有利于挑选出潜在的低电压电池,提高成组电池一致性。

标签:
加工技术
湖北 - 襄阳 来源:中冶有色网 2023-03-18
锂电池柔性线路板结构

本发明涉及一种锂电池柔性线路板结构,其包括电路板本体,所述电路板本体的外缘处设置有至少一个延伸部,所述延伸部用以安装元器件,所述延伸部与所述电路板本体所处平面错开设置、并能够安装于锂电池模组的安装面上,以供所述电路板本体与所述安装面之间形成一缓冲间隙;解决安装于锂电池上的电路板结构在受到撞击、冲击以及震动后,存在拉断、脱落的风险,电路板结构的稳定性差,以致于使用寿命较短的问题。

标签:
加工技术
湖北 - 襄阳 来源:中冶有色网 2023-03-18
高能电子束辐照交联锂离子电池隔膜及其制备方法

本发明涉及及锂离子电池隔膜制备技术领域,具体为一种高能电子束辐照交联锂离子电池隔膜,其包括位于上层的复合材料层和位于下层的三层共挤隔膜,所述复合材料层涂覆于所述三层共挤隔膜上表面,所述复合材料层为经过高能电子束辐照并发生交联反应形成聚合物网络结构,所述复合材料层为聚丙烯酸酯基复合材料层,所述复合材料层由以下质量分数组成:聚丙烯酸酯树脂100份,无机填料10~100份,抗氧剂0.1~1份,交联剂0.1~5份,助交联剂0.1~5份,硅烷偶联剂0.1~2份,去离子水10~100份;本发明通过聚丙烯酸酯树脂体系的固化反应可以有效增加锂离子电池隔膜的横向拉伸强度,提高隔膜的耐热性能,增加散热,降低锂离子电池的燃烧风险。

标签:
加工技术
湖北 - 襄阳 来源:中冶有色网 2023-03-18
锂电池化成用化成杯
锂电池化成用化成杯 940     
 0

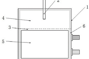
本实用新型的名称是锂电池化成用化成杯,涉及一种电池行业用的工装夹具,具体地是涉及锂电池化成用的电解液溢流杯。它主要是解决大容量锂电池在化成(预充电)过程中,需建化成车间,因此造价高,用电量大,造成建设成本和运行成本高的问题。本本实用新型的锂电池组化成用化成杯是:化成杯杯体是一个中空的筒体,筒体的一端与杯盖通过螺纹连接,筒体的另一端与杯底通过螺纹连接,在杯盖和杯底上沿化成杯杯体的轴向设有通孔。本本实用新型在使用时杯底与电池的注液孔连接,杯盖与1/4时球阀连接,用真空泵对电池进行真空处理,电池中溢出的电解液进入化成杯内而不与空气接触,保证了电池的质量,由于不用建化成车间,大大节约了成本。

标签:
加工技术
湖北 - 襄阳 来源:中冶有色网 2023-03-18
锂离子电池隔离膜波浪边检测装置及检测方法

本发明公开了一种锂离子电池隔离膜波浪边检测装置及检测方法。属于锂离子电池制造技术领域。它主要是解决现有技术中,对隔离膜波浪边的测试没有标准的工具和方法,导致测试结果不准确的问题。它的主要技术特征是:包括工作台,工作台上固定设有隔离膜固定辊、导轨、滑动模块和控制系统;滑动模块上装有光栅信号传感器;光栅信号传感器包括分设于隔离膜固定辊两侧的光栅信号发射器和光栅信号接收器;光栅信号传感器与控制系统电连接。本发明的锂离子电池隔离膜波浪边检测装置具有结构简单、成本低廉、操作方便的特点,可以高效准确的测试锂离子电池隔离膜波浪边的高度。

标签:
加工技术
湖北 - 襄阳 来源:中冶有色网 2023-03-18
升温迅速纯氮气热效率高的锂电池生产用真空烤箱

本发明公开了一种升温迅速纯氮气热效率高的锂电池生产用真空烤箱,循环加热装置包括底板,存储箱由第一储存室和第二储存室相互组成,第三电动阀门的一端固定连通有电动抽气泵,电动抽气泵的输出端固定连通有连接管,存储箱的一侧通过套环固定连接有第二电机,轴承的表面分别对称固定连接有连接杆和固定板,固定板相对的一面对称固定连接有红外线加热管,转动杆的表面滑动设置有扇叶机构,本发明涉及锂电池生产技术领域。该升温迅速纯氮气热效率高的锂电池生产用真空烤箱,解决了每一次烘干使用都需要加氮气,导致烘干无法连续使用,以及会浪费能量,另外无法缩短烘干的时间,以及无法提高下工序注液作业员的生产效率的问题。

标签:
加工技术
湖北 - 襄阳 来源:中冶有色网 2023-03-18
锂离子电池用新型负极材料

本发明涉及锂离子电池负极材料技术领域,且公开了一种锂离子电池用新型负极材料,包括以下重量份数配比的原料:3~5份的微米级氧化亚硅粉末、1~2份的球形纳米铝粉、8~10份的微纳米级氧化石墨烯、10~20份聚氯乙烯(PVC)糊树脂。本发明解决了纯硅材料在高度嵌锂过程中均存在非常显著的体积膨胀(体积膨胀率>300%),由此产生的机械应力使电极材料在循环过程中逐渐粉化,合金结构被破坏,活性物质与集流体之间电接触丧失,从而导致循环性能下降的技术问题。

标签:
加工技术
湖北 - 襄阳 来源:中冶有色网 2023-03-18
防爆低内阻锂离子电池及其制备方法

本发明公开了一种防爆低内阻锂离子电池及其制备方法,包括电池本体和电解液,所述电池本体包括正极片、负极片、隔膜和铝壳,所述隔膜靠近正极片的一侧涂覆有陶瓷涂层,所述隔膜靠近负极片的一侧涂覆有石墨烯涂层,所述隔膜为聚烯烃基膜,所述隔膜位于正极片与负极片之间,所述正极片和负极片中间加垫隔膜之后卷绕形成圆柱形,本发明涉及锂离子电池技术领域。该防爆低内阻锂离子电池及其制备方法,隔膜靠近正极片的一侧涂覆有陶瓷涂层,隔膜靠近负极片的一侧涂覆有石墨烯涂层,在隔膜的正反面分别涂覆有陶瓷涂层和石墨烯涂料,石墨烯提高了负极片的导电性能,降低了负极片的内阻,保证电池容量的正常发挥和循环性能的稳定性。

标签:
加工技术
湖北 - 襄阳 来源:中冶有色网 2023-03-18
保证锂电池模组加热均匀性的专用加热板结构

本实用新型的名称为一种保证锂电池模组加热均匀性的专用加热板结构。属于锂电池模组加热技术领域。它主要是解决现有加热板存在其与加热板与模组电芯接触面上各区域温度不一致的问题。它的主要特征是:包括加热元件和侧板;所述的侧板由铝型材构成;侧板设有用于安装加热元件的空腔体,加热元件装于空腔体内;侧板内表面为平面,中间设有纵向的凹槽,凹槽内装有小块导热硅胶垫;侧板内表面固定有面积大于小块导热硅胶垫面积但小于侧板内表面面积的大块导热硅胶垫。本实用新型具有使锂电池模组加热过程中电芯温差小、保证电芯的循环寿命、加热速度快和大大缩短工低温下锂电池工作等待时间的特点,主要用于锂离子动力电池模组低温环境下的均匀加热。

标签:
加工技术
湖北 - 襄阳 来源:中冶有色网 2023-03-18
上一页 10 11 12 13 14 ... 16 下一页
共16页    到第

中冶有色为您提供最新的湖北襄阳有色金属加工技术理论与应用信息,涵盖发明专利、权利要求、说明书、技术领域、背景技术、实用新型内容及具体实施方式等有色技术内容。打造最具专业性的有色金属技术理论与应用平台!

全国热门有色金属设备推荐
展开更多 +
全国热门有色金属技术推荐
展开更多 +

 

江西省隆恩特环保设备有限公司
宣传

报名参会
更多+

报告下载

有色专家
更多+

南方科技大学
外籍院士
江西理工大学
副校长/教授
长沙矿冶研究院
总经理
广东省科学院工业分析检测中心
副主任
北京科技大学、中国科学院
院士
赤泥综合利用研究报告2025
推广

热门技术
更多+

推荐企业
更多+

福建省金龙稀土股份有限公司
宣传

发布

在线客服

公众号

电话

顶部
咨询电话:
010-88793500-807