青岛垚鑫智能科技有限公司
宣传

位置:中冶有色 >

有色技术频道 >

分类:
全部
矿山技术
冶金技术
材料制备及加工技术
环境保护技术
分析检测技术
 
全部
废水处理技术
大气治理技术
固/危废处置技术
土壤修复技术
地区:
全部
北京
天津
上海
重庆
河北
山西
辽宁
吉林
黑龙江
江苏
浙江
安徽
福建
江西
山东
河南
湖北
湖南
广东
海南
四川
贵州
云南
陕西
甘肃
青海
内蒙
广西
西藏
宁夏
新疆
其他
其他
展开
 
全部
其他

其他有色金属环境保护技术理论与应用

免费发布技术信息>>
用于生物废水处理的单质硫内循环‑SANI(ISC‑SANI)工艺

一种在生物废水处理中去除有机碳的方法,包括以下步骤:(a)用单质硫作为电子载体将有机碳氧化为二氧化碳,并将单质硫还原成硫化物;(b)使用自动ORP控制器,通过控制一种或多种回流比以将氧化还原电位(ORP)维持在‑360mv至‑420mv的范围内,从而通过回流的硝酸盐将硫化物氧化成单质硫;(c)将硫化物氧化期间形成的单质硫回流用于氧化有机碳;和(d)将氨氮氧化成硝酸盐,然后部分回流用于硫化物氧化。

标签:
废水处理
其他 - 其他 来源:中冶有色网 2023-03-19
废水中有机物氧化去除系统与方法

本发明是关于半导体、液晶显示器(LCD)等相关工业制程排放废水,甚至其它事业所产生的含有机污染物的废水的有机物的氧化去除,是关于一种借助注入臭氧及经紫外光照射的废水中有机物氧化去除流程与装置。一个处理含有机物废水的流程与系统。此系统包括紫外光/臭氧(UV/ozone)氧化去除模块,或一个或数个去除模块串联,此串联可连续或不连续。一个UV/ozone氧化去除模块主要包括臭氧产生器、臭氧吸入器、臭氧溶解槽、臭氧破坏装置、紫外线(UV)反应槽及回流管路。UV/ozone氧化去除模块的效率由回流水比例、臭氧浓度、及紫外线强度所控制。

标签:
废水处理
其他 - 其他 来源:中冶有色网 2023-03-19
水中分解导电废水中有机成分的方法和设备

本发明的目的是水中分解废水中有机成分的方 法和设备,涉及对废液的pH和电导率的测量和必要条件下的 调节,在过程中保持最佳的pH和/或电导率,并进一步涉及该 废液有机成分的部分或全部分解。所述设备包含进料罐,至少 一个分解回路,和一个贮存罐。本发明的方法的特征在于将电 极浸没在废液中,在电极和导电废液间产生并保持电弧,其中 的电弧由至少70V的电压下电流密度至少0.5A/cm2的电流和优选频率至少为10Hz的对称交流电流产生;其特征还在于将有机成分分解为水,二氧化碳和氮。

标签:
废水处理
其他 - 其他 来源:中冶有色网 2023-03-19
净化高盐废水并从废水中回收盐的方法和系统

本发明涉及一种方法,其包括:用膜过滤废水;用包括超高交联树脂的吸附剂来吸附被所述膜阻挡的浓水中的有机物,以获得有机物浓度降低的浓水;蒸发所述有机物浓度降低的浓水,以获得浓缩流体;及从所述浓缩流体中结晶出至少一种金属盐。本发明还涉及与所述方法相关的系统。

标签:
废水处理
其他 - 其他 来源:中冶有色网 2023-03-19
废水处理剂及废水处理剂的制备方法

废水处理剂,其中,包含含有植物粉末和凝聚剂聚合物的粒子,且休止角为38度以下。

标签:
废水处理
其他 - 其他 来源:中冶有色网 2023-03-19
废水处理用厌氧氨氧化菌群保持用载体、厌氧氨氧化菌群附着体和使用该附着体的废水处理装置

本发明所要解决的技术问题在于:提供能够飞跃性地缩短用于获得氮去除速度1kg-N/m3/day的起步时间的厌氧氨氧化菌群保持用载体、厌氧氨氧化菌群附着体和废水处理装置。本发明解决技术问题的技术方案的厌氧氨氧化菌群保持用载体的特征在于,含有碳颗粒,希望碳颗粒为石墨颗粒,特别是各向同性石墨颗粒,另外,希望Zeta电位为-35mV以上0mV以下,希望上述碳颗粒的平均粒径为2μm以上1000μm以下。

标签:
废水处理
其他 - 其他 来源:中冶有色网 2023-03-19
废水处理系统的沉降池及用于废水处理系统的沉降池的主轴

本实用新型涉及一种废水处理系统的沉降池,所述沉降池包括:第一侧壁和第二侧壁;安置于所述第一侧壁上的第一主轴安装座;安置于所述第二侧壁上的第二主轴安装座;和主轴,所述主轴包括在所述第一主轴安装座和所述第二主轴安装座之间延伸的且接合所述第一主轴安装座和所述第二主轴安装座的复合材料轴;还涉及一种用于废水处理系统的沉降池的主轴,所述主轴包括轴,所述轴由复合材料形成并且包括第一端部和第二端部,所述第一端部配置成接合安置于所述沉降池的第一侧壁上的主轴安装座,所述第二端部配置成接合置于所述沉降池的第二侧壁上的主轴安装座。

标签:
废水处理
其他 - 其他 来源:中冶有色网 2023-03-19
用于处理废水的新型微生物及方法

本发明涉及分离的新型微生物,其特征在于,它能够实现:I)凯氏氮、氨型氮和/或氮氧化物向气态氮的转化;以及II)含碳物质向二氧化碳的转化;这两种转化都在需氧条件下进行。本发明还涉及使用所述微生物来处理废水的方法。

标签:
废水处理
其他 - 其他 来源:中冶有色网 2023-03-19
使用过氧化羧酸处理废水和废水污泥的方法

本发明提供处理废水或废水污泥的方法,其中该方法使用过氧化羧酸作为气味控制剂和/或腐蚀控制剂。

标签:
废水处理
其他 - 其他 来源:中冶有色网 2023-03-19
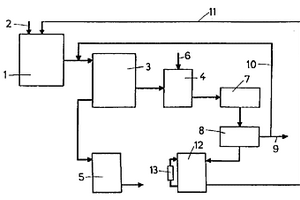
废水处理系统和方法
废水处理系统和方法 1067     
 0

本申请公开内容涉及处理废水的系统和方法。根据一种特定实施方式的系统可以包括真空过滤带系统,其被构造为接收来自前端系统的饱和树脂罐,该真空过滤带被构造为产生来自饱和树脂罐的浆料并对该浆料提供级联的树脂冲洗。该系统可进一步包括重复解吸系统,该被构造为接收来自特定金属净化系统的金属填充的净化单元。该重复解吸系统可进一步被构造为将多个酸罐的内容物顺序地施加到金属填充的纯化单元中从而产生金属盐。许多其他实施方式也包括在本申请公开内容的范围内。

标签:
废水处理
其他 - 其他 来源:中冶有色网 2023-03-19
用于判断水及废水中化学需氧量的比色卡、测试组及方法

本发明提供一种用于判断水及废水中化学需氧量的比色卡,此比色卡包括蓝色区域、靛紫色区域、红棕色区域及橘色区域。本发明亦提供一种用于判断水及废水中化学需氧量的测试组,此测试组包括氧化剂、还原剂、呈色剂以及上述的比色卡。本发明亦提供一种判断水中化学需氧量的方法,此方法包括提供水样;加入氧化剂至水样中;加热水样;加入还原剂至水样中;加入呈色剂至水样中,以使水样呈现颜色;将水样的颜色与上述比色卡上的颜色区域进行颜色比对,以判断水样的化学需氧量。本发明所提供的比色卡、测试组及方法有利于在现场进行化学需氧量的快速筛检。

标签:
废水处理
其他 - 其他 来源:中冶有色网 2023-03-19
采用高溶解氧水平的活性污泥废水处理方法

提供了活性污泥废水处理方法。所公开的方法包括:接受废水流,进入无盖的活性污泥池内的混合液;将高纯度氧气导入活性污泥池内的混合液,以在活性污泥池中产生平衡氧条件(即溶解氧水平为约5mg-15mg);使活性污泥池内的一部分混合液通过澄清池,以分离活性污泥,并产生流出液流和活性污泥流;使一部分活性污泥流再循环至活性污泥池,以产生混合液,该混合液的固体负荷为约3000mg-约10000mg悬浮固体/升混合液,固体停留时间为约7天-40天。

标签:
废水处理
其他 - 其他 来源:中冶有色网 2023-03-19
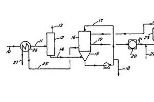
废水焚烧方法和废水焚烧装置

本发明提供一种废水焚烧方法,包括:(S10)将废水供应至蒸发器以使所述废水蒸发;(S20)将从所述蒸发器排出的蒸发器顶部排出流供应至焚烧炉以焚烧所述排出流;(S30)将从所述焚烧炉排出的包含第一焚烧炉排出流和第二焚烧炉排出流的两种或更多种焚烧炉排出流混合以形成混合排出流;和(S40)使所述混合排出流与新鲜空气流在第一热交换器中进行热交换,其中,所述第一焚烧炉排出流通过第二热交换器之后与所述第二焚烧炉排出流混合以形成所述混合排出流。

标签:
废水处理
其他 - 其他 来源:中冶有色网 2023-03-19
流化床废水处理
流化床废水处理 744     
 0

从废水中除去磷和氮的流化床反应器(14),其含有包含若干区段(15A、15B、15C、15D)的柱体。柱体的直径在区段之间阶梯式改变。在最低的一个区段中保持超过100CM/MIN的流速,在随后的区段中保持较低的流速。鸟粪石过饱和率部分地通过从柱体的出口回收废水来控制。周期性地从柱体的底部除去鸟粪石丸粒。

标签:
废水处理
其他 - 其他 来源:中冶有色网 2023-03-19
用于废水生物处理的装置

自生的废水处理设备减少温室气体、捕获CO2并生产生物体以满足多个关键的环境需要。该设备包括一排旋转介质轮,其创造最佳次序的藻类的混合以维持生长。收获于旋转介质轮的生物体可以提供用于其他处理设备,例如用于生产生物燃料。来自处理设备的废弃的CO2还可以回到处理设备中用于促进藻类生长。细菌提供用于与藻类形成共生关系,通过日光供应燃料以有效地从废水中移除有毒的材料。该多功能的设备还可以集成到再生设备中,其中从藻类和菌落中获得的生物体用于独立的设备,且独立的设备的运行的副产品被多功能设备用以为进一步的藻类生长供应燃料。

标签:
废水处理
其他 - 其他 来源:中冶有色网 2023-03-19
含木材基有机材料的处理系统及其在废水处理中的用途和从废水去除溶解有机化合物的方法

一种用于从废水中去除溶解的有机化合物的处理系统,该系统包含水溶性阳离子聚合物和具有平均粒径<10mm的基于木材的有机材料。本发明还涉及所述处理系统用于在废水处理中去除COD的用途,以及用于从废水中去除溶解的有机化合物的方法。

标签:
废水处理
其他 - 其他 来源:中冶有色网 2023-03-19
含氨废水的处理装置及含氨废水的处理方法

提供一种含氨废水的处理装置,所述处理装置即使不使用水垢分散剂、粘泥控制剂等化学试剂也能高效地处理高浓度的含氨废水。一种含氨废水的处理装置,其具备:氨汽提处理装置(12),其在pH10以上对含氨废水进行氨汽提处理;一次反渗透膜处理装置(14),其在pH10以上对氨汽提处理后的氨汽提处理水进行第一步的反渗透膜处理,从而分离为一次透过水和一次浓缩水;二次反渗透膜处理装置(16),其在pH8.5以下对一次透过水进行第二步的反渗透膜处理,从而分离为二次透过水和二次浓缩水;以及循环机构,其将二次浓缩水循环到氨汽提处理装置(12)的上游侧。

标签:
废水处理
其他 - 其他 来源:中冶有色网 2023-03-19
废水的催化处理方法
废水的催化处理方法 1145     
 0

本发明提出了一种处理含非挥发性污染物和可化学氧化的有机和无机污染物的废水的方法。本方法把浓缩非挥发性化合物的高效蒸发与转化挥发性有机和无机污染物的催化氧化反应结合起来。按照本发明的方法处理废水,可以得到一种冷凝产品,这种产品符合蒸馏水的纯度要求,基本上不含矿物质和有机物。

标签:
废水处理
其他 - 其他 来源:中冶有色网 2023-03-19
烃或含氧化合物的制造装置废水的处理方法

当处理烃或含氧化合物的制造装置中副产的含有甲醛的废水时,具有对甲醛进行化学处理,然后使用具备微生物或酶与分离膜的膜生物反应器边进行曝气边进行处理的各工序的废水的处理方法。

标签:
废水处理
其他 - 其他 来源:中冶有色网 2023-03-19
紧凑型废水浓缩器和污染物洗涤器

一种紧凑型和便携式液体浓缩器包括气体入口、气体出口和将所述气体入口和所述气体出口连接的流过道,其中所述流过道包括缩窄部,所述缩窄部使通过流过道的气体加速。液体入口在缩窄部之前的点处将液体喷射到气流中以使气液混合物在流过道内充分混合,使得液体的部分被蒸发。在缩窄部下游的除雾器或流体洗涤器从气流中去除曳出液滴并且通过再循环回路将去除的液体再循环到液体入口。待浓缩的新鲜液体也以足有抵消在流过道中蒸发的液体的量的速率被导入再循环回路中。

标签:
废水处理
其他 - 其他 来源:中冶有色网 2023-03-19
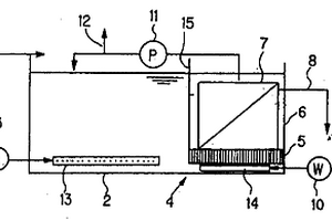
废水的处理方法及废水处理装置

本发明提供废水的处理方法及其废水处理装置。本发明为挤奶室废水/生物质消化液的处理方法及其废水处理装置,该处理方法在至少具备混和槽‑反应槽‑污泥脱水机‑(中和槽)‑生物处理槽的净化设施中,具备:在混和槽中向被处理水的挤奶室废水/生物质消化液添加Mp值(含水率评价)具有Mp(滤饼含水率)≤55或55~70的脱水助剂的工序;接着,在反应槽中向被处理水添加絮凝剂,形成包合了废弃奶中的油脂成分和钙的絮状物/包合了生物质消化液中的乳化成分和微粒成分的絮状物:特大(φ10mm以上)~大(φ5~10mm)的工序;用污泥脱水机除去该絮状物,同时分离为除去了絮状物的脱离液和脱水滤饼:含水率55%以下或55~70%的工序;接着,将该脱离液投入生物处理槽,执行生物处理的工序。

标签:
废水处理
其他 - 其他 来源:中冶有色网 2023-03-19
废水尤其是来自发酵厂和酿酒厂废水的处理方法

本发明描述了一种废水尤其是来自发酵厂和酿酒厂废水的处理方法,其中该废水在运行过程中受到微生物、盐类和有机化合物的污染。为了重复使用,建议在废水被循环到使用过程之前,对经过活性污泥处理后的废水进行反渗透。

标签:
废水处理
其他 - 其他 来源:中冶有色网 2023-03-19
用于控制废水处理系统的操作的控制单元及废水处理系统

本实用新型涉及用于控制废水处理系统的操作的控制单元及废水处理系统。本公开内容提供了一种用于特别是包括膜曝气生物膜反应器(MABR)模块的废水处理系统的控制单元。该控制单元被配置为减少能量消耗并维持期望的流出物质量。该控制单元包括处理模块,该处理模块被配置为接收感测数据并且因此产生用于MABR模块的水混合参数的操作数据,诸如增加或降低混合频率或强度,并且将MABR容积体维持在缺氧条件下。

标签:
废水处理
其他 - 其他 来源:中冶有色网 2023-03-19
废水处理用催化剂、其制造方法及使用该催化剂的废水处理方法

含有锰的氧化物和/或复合氧化物以及从铁、钛与锆组成的这一组中选择的至少一种金属的氧化物和/或复合氧化物、必要时还含有贵金属的废水处理用催化剂,其制造方法,以及使用所述催化剂、在使废水保持液相的压力下用含氧气体以对废水进行湿式氧化处理的废水处理方法。

标签:
废水处理
其他 - 其他 来源:中冶有色网 2023-03-19
含氟和硅的废水的预处理方法,以及含氟和硅的废水的处理设备

本发明的目的是提供一种相比现有技术能够减少处理含氟和硅的废水时所生成的污泥量的废水处理技术(特别是预处理技术)。在将钙化合物添加到含氟和硅的废水中,并对该废水进行凝集沉淀处理之前,作为预处理,将氢氧化钠添加到所述废水中(第一反应槽1)使硅氟化钠析出,并通过固液分离将析出的硅氟化钠除去(第一沉淀槽2)。

标签:
废水处理
其他 - 其他 来源:中冶有色网 2023-03-19
利用废热的紧凑型废水浓缩器

一种紧凑型和便携式液体浓缩器,包括气体入口、气体出口和将所述气体入口和所述气体出口连接的流过道,其中所述流过道包括缩窄部,所述缩窄部使通过流过道的气体加速。液体入口在缩窄部之前的点处将液体喷射到气流中以使气液混合物在流过道内充分混合,使得液体的部分被蒸发。在缩窄部下游的除雾器或流体洗涤器从气流中去除曳出液滴并且通过再循环回路将去除的液体再循环到液体入口。待浓缩的新鲜液体也以足有抵消在流过道中蒸发的液体的量的速率被导入再循环回路中。

标签:
废水处理
其他 - 其他 来源:中冶有色网 2023-03-19
地板抛光剥离废水和清洗废水的处理方法

为了提供一种地板抛光剥离废水和清洗废水的处理方法,该方法适于处理由一种强碱剥离剂剥离涂覆并在地板表面形成的地板抛光薄膜而产生的剥离废水以及定期或常规清洗过程中采用一种具有中性至碱性的地板清洗剂清洗地板过程中产生的清洗废水。该方法能够在短时间处理废水和除去固体的一段有限的时间间隔内进行操作从而减少环境负荷。一种剥离废水或清洗废水的处理方法,通过加入一种聚脒高分子絮凝剂并将团聚颗粒转变成具有适宜尺寸的非粘结性团聚物,固-液分离工艺可在短时间内完成并得到良好的效益。

标签:
废水处理
其他 - 其他 来源:中冶有色网 2023-03-19
废水处理方法及装置
废水处理方法及装置 1158     
 0

一种处理废水的方法,其中通过对未经处理的废水进行生物处理获得含活性污泥的混合液,对上述混合液进行固液分离,特征在于其包括将未净化水输送到生物反应容器中,在此实施生物处理,将生物反应容器中经过处理的包含活性污泥的混合液导入固液分离池,所述固液分离池具有浸在里面的透水过滤器,于是在透水过滤器部件表面上形成污泥的动态过滤层,从透水过滤器部件的内侧提取过滤水。该方法能够作为生物处理后实施固液分离的污水处理方法用于活性污泥的高效固液分离。

标签:
废水处理
其他 - 其他 来源:中冶有色网 2023-03-19
污水和废水处理系统
污水和废水处理系统 1160     
 0

污水和废水处理系统,包括:需氧池(10),其顶部有一个再曝气池(11);厌氧池(20),位于需氧池(10)的一侧,用来把经废水导入管(21)导入的废水与循环的淤泥混合,并除去废水中的磷;第一缺氧池(30),用来发生反硝化作用;第二缺氧池(40),用来除去硝酸盐式的氮;纯净氧发生器(70),用来供氧;空压机(80),它有一分流器(81);沉淀池(90),位于再曝气池(11)的外部,具有一浮渣排出装置(91)和一净水排出装置(92);和循环泵(100),位于需氧池(10)外部。所述废水处理系统将厌氧池(20)、需氧池(10)和沉淀池(90)结合起来安装在一个简单结构中,从而能够减少占地面积,使15-20m深的水最大限度地利用氧,而且节能。

标签:
废水处理
其他 - 其他 来源:中冶有色网 2023-03-19
用于废水处理的使用废水和活性污泥的生物燃料电池

本发明提供一种使用废水作燃料的生物燃料电池。本发明使用废水和活性污泥中的电化学活性微生物氧化废水中所含的有机物。氧化所产生的电子流出微生物的细胞外,并直接转移到电极上,从而可以同时产生电流和纯化废水。根据本发明,使用电化学活性微生物的生物燃料电池可以产生高达0.22mA的电流,并使作为燃料的废水的化学需氧量从1900ppm降低到55ppm。此外,生物燃料电池的效率随废水的种类和浓度而变化。

标签:
废水处理
其他 - 其他 来源:中冶有色网 2023-03-19
上一页 111 112 113 114 115 ... 117 下一页
共117页    到第

中冶有色为您提供最新的其他有色金属环境保护技术理论与应用信息,涵盖发明专利、权利要求、说明书、技术领域、背景技术、实用新型内容及具体实施方式等有色技术内容。打造最具专业性的有色金属技术理论与应用平台!

全国热门有色金属设备推荐
展开更多 +
全国热门有色金属技术推荐
展开更多 +

 

江西省隆恩特环保设备有限公司
宣传

报名参会
更多+

报告下载

有色专家
更多+

昆明理工大学
校长
中国瑞林工程技术有限公司
中国工程院院士
中冶沈勘秦皇岛工程技术有限公司
原矿山院院长/教授级高工
北京科技大学
副院长/教授
长沙矿冶院检测技术有限责任公司
总经理
赤泥综合利用研究报告2025
推广

热门技术
更多+

推荐企业
更多+

福建省金龙稀土股份有限公司
宣传

发布

在线客服

公众号

电话

顶部
咨询电话:
010-88793500-807