青岛垚鑫智能科技有限公司
宣传

位置:中冶有色 >

有色技术频道 >

分类:
全部
矿山技术
冶金技术
材料制备及加工技术
环境保护技术
分析检测技术
 
全部
废水处理技术
大气治理技术
固/危废处置技术
土壤修复技术
地区:
全部
北京
天津
上海
重庆
河北
山西
辽宁
吉林
黑龙江
江苏
浙江
安徽
福建
江西
山东
河南
湖北
湖南
广东
海南
四川
贵州
云南
陕西
甘肃
青海
内蒙
广西
西藏
宁夏
新疆
其他
其他
展开
 
全部
其他

其他有色金属环境保护技术理论与应用

免费发布技术信息>>
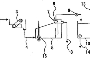
废水分类方法及装置
废水分类方法及装置 1089     
 0

一种废水分类方法,根据由测定动作时需要预定时间的TOC浓度计(传感器)所测定动作的TOC浓度(水质指标)将废水分类,其特征在于,在多个水槽中分别反复地进行以接收动作、测定动作、排出动作、循环动作及待机动作为一个周期的处理,并且使各水槽A、B、C的各周期的接收动作开始时机按照接收动作的时间长度分别错开,各周期中的测定动作从接收动作的中途开始进行。本发明能高精度且高效地将废水分类。

标签:
废水处理
其他 - 其他 来源:中冶有色网 2023-03-19
用于处理废水的设备和方法

本发明涉及用于处理废水的设备,其包括:均衡池,所述均衡池设置为接收待处理的废水,并且可操作以充当厌氧水解反应器;与所述均衡池连接的第一澄清器,所述第一澄清器可操作以将所述废水与均衡池内的厌氧水解微生物分离;与所述第一澄清器连接以接收来自所述第一澄清器的废水的好氧生物反应器;所述好氧生物反应器可操作以进一步处理来自所述第一澄清器的废水;以及第二澄清器,所述第二澄清器可操作以接收来自所述好氧生物反应器的废水流出物以及将废水与好氧生物污泥分离;其中将一部分由所述第二澄清器分离的好氧生物污泥循环到所述均衡池。

标签:
废水处理
其他 - 其他 来源:中冶有色网 2023-03-19
生物处理装置及其净化废水或自来水原水的方法

一种浮动床型生物处理装置及使用该装置净化难分解性废水或自来水原水的方法。该处理装置包括一支撑挡板,以将该处理装置分为上、下两部分。上部构成一反应槽,该反应槽中填充反应槽体积的80%至100%的颗粒状多孔性可压缩载体。下部则设有一难分解性废水或自来水原水入口管及一气体入口管。反应槽的上部设有至少一上部载体挡板,以使载体可被上部载体挡板压住,保留在反应槽内,且使载体成为浮动状态。使用本发明的方法或装置来净化难分解性废水或自来水原水,可降低难分解有机物质的处理成本,并强化废水处理性能,以达到提高排放水品质的目的。此外,由于载体是浮动状态的,因此载体具有低磨耗、避免阻塞且可均匀分散气体与进水的优点。

标签:
废水处理
其他 - 其他 来源:中冶有色网 2023-03-19
使用离子交换树脂用于处理源自纯化的对苯二甲酸生产的废水的方法

一种用于从纯化的对苯二甲酸生产废水中回收水的方法,包括:生产包含纯化的对苯二甲酸原料和含有杂质的废水的纯化的对苯二甲酸;从含有杂质的废水中分离纯化的对苯二甲酸原料;将废水转移至罐;用碱溶液调节废水的pH;调节废水的温度;将废水传送至塔中;使废水与离子交换树脂接触以除去杂质;以及回收排除杂质的水。

标签:
废水处理
其他 - 其他 来源:中冶有色网 2023-03-19
酸性废水的回收处理方法

本发明提供一种酸性废水的回收处理方法。上述酸性废水的回收处理方法包含:导入含金属离子的酸性(PH<7)废水至倒极式电透析装置之中,同时进行脱盐及移除金属离子的步骤,接着导出酸性的回收产水。由于上述酸性废水的回收处理方法可直接将含金属离子的酸性废水导入倒极式电透析装置之中,而不需要事先调整PH值及沉淀的步骤。因此,不但可简化回收处理方法的步骤,而且同时也可降低成本。

标签:
废水处理
其他 - 其他 来源:中冶有色网 2023-03-19
从废水中除去金属离子

本发明公开了一种用来清洁含溶解状态的金属离子,过氧化氢,和高含量固体粒子,如浓度大于约50毫克/升的微粒状固体粒子废水的新型方法和设备。碳吸收柱除去含高含量固体粒子的废水进料中的过氧化氢。化学沉淀单元从溶液中除去金属离子。该方法和设备从集成电路微芯片的化学机械抛光(CMP)处理产生的高含量固体粒子的副产物抛光浆中除去金属离子如铜离子,并生成环保清洁的排放废水。

标签:
废水处理
其他 - 其他 来源:中冶有色网 2023-03-19
通过色谱分离选择性除去废水中的氟化物和氨

提供一种从工业操作产生的废水液流中除去氟化物供进一步的工业应用或使之符合环境规则的方法。该方法将从废水液流总体离子中除去氟阴离子和除去氟硅酸阴离子分开,因此提高了处理效率并降低成本。采用离子-交换色谱法除去氟化物和氟硅酸根阴离子,具体是使废水液流通过一个或多个装填树脂的柱,所述树脂能选择性结合液流中的阳离子/阴离子。从柱上冲洗下氟阴离子,然后收集除去或供在其它过程中使用。

标签:
废水处理
其他 - 其他 来源:中冶有色网 2023-03-19
煤气化废水的处理方法
煤气化废水的处理方法 1016     
 0

通过有效去除煤气化工序中产生的气体清洗废水等煤气化废水中所含的SS、氟、氰、硒、氨、COD成分,能够获得可排放的或者可再利用的水质良好的处理水。一种煤气化废水的处理方法,其包括下述工序(1)~(4)并且在工序(2)之前先施行工序(1):(1)通过凝集沉淀去除氟的氟去除工序;(2)通过湿式氧化或者热水解来分解氰的氰分解工序;(3)通过金属还原剂来还原处理硒酸根离子的硒处理工序;以及,(4)去除COD和/或氨的COD/氨去除工序。

标签:
废水处理
其他 - 其他 来源:中冶有色网 2023-03-19
硅晶片的蚀刻废水处理方法以及处理装置

本发明的课题在于,在向硅晶片的蚀刻废水中添加酸而析出二氧化硅并对该析出的二氧化硅进行固液分离的方法中,能够实现减少凝聚剂的必要添加量、减少生成污泥的容积、降低污泥含水率和提高脱水性,且实现处理水质的稳定。为了解决该课题,将酸与部分固液分离污泥混合后将其添加到硅晶片的蚀刻废水中。通过向污泥中添加并混合酸,利用酸对污泥表面进行改性,由此使二氧化硅在污泥表面析出,其结果,能够最低限度地抑制被污泥所吸取的水量。因此,能够得到含水率低且脱水性优异的污泥,且凝聚剂的必要添加量减少,由此污泥生成量也会减少,且污泥的固液分离性得到提高,从而处理水质也稳定。

标签:
废水处理
其他 - 其他 来源:中冶有色网 2023-03-19
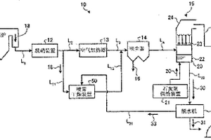
生活废水处理装置
生活废水处理装置 1163     
 0

本发明提供一种能够处理生活废水,使其能够以低成本再利用的生活废水处理装置。该生活废水处理装置分别独立地包含第一处理系统和第二处理系统,其中,第一处理系统包含第一生物处理槽(15)、第一凝聚沉淀装置(17)、第一过滤装置(19)和第一处理水箱(20);第二处理系统包括:第二生物处理装置(25)、第二凝聚沉淀装置(27)、第二过滤装置(29)和第二处理水箱(30)。厨房废水在第一处理系统进行处理,卫生间废水在第二处理系统进行处理,在不同的用途再利用。

标签:
废水处理
其他 - 其他 来源:中冶有色网 2023-03-19
有机性废水和有机性污泥的处理方法和处理装置

一种有机性废水和有机性污泥的处理方法和处理装置,其包括:泡沫分离槽(5),其把对鱼肉片等固体物进行除去处理的废水导入;气泡发生装置(16),其设置在该泡沫分离槽(5)内并使废水中产生微细气泡;养殖水槽(35),其把在泡沫分离槽(5)内产生的泡沫导入,并饲养海底生物(32)。其把渔港、鱼市场和陆地养殖场等产生的有机性废水和在膜分离活性污泥处理槽(10)中被活性污泥处理后产生的剩余有机性污泥向养殖水槽(35)导入,使剩余有机性污泥成为海底生物饲料(饵)而进行消化减量处理。其结果是,能经济地进行渔港、鱼市场和陆地养殖场等处大量产生的有机性废水的净化处理以及净化处理后的剩余有机性污泥的处理。

标签:
废水处理
其他 - 其他 来源:中冶有色网 2023-03-19
用于预测与废水处理过程相关的参数的系统和方法

一种用于预测与废水处理过程相关的排出物参数的系统,其包括:预测器模块,其被构造用于接收包括多个废水流入物参数的第一输入数据组,以预测排出废水的可生物降解类型;机械模拟器,其构造用于接收排出废水的可生物降解类型和多个废水流入物参数作为第二输入数据组,以预测排出物参数。

标签:
废水处理
其他 - 其他 来源:中冶有色网 2023-03-19
利用氧化还原金属反应器的污废水处理系统

本发明涉及利用氧化还原金属反应器的污废水处理系统,更详细地说,涉及如下污废水处理系统:利用填充了具有电化学电位差的两种以上金属介质的氧化还原金属反应器,对钢铁工厂在用于金属表面处理后排出的油性废水、工业园区产生的酸/碱废水、畜产废水、食品污废水、多样的油性废水(异常难分解性污废水)、其它污废水进行处理,特别是进行预处理或后处理,解决污废水中含有的油相互凝聚、漂浮,厚厚地覆盖处理池上面,进而因皂化反应等而凝聚,无法进行油水分离及水处理的问题。另外,在通常的水处理工序(污废水处理、海水淡化设备、冷却水等用水(包括再利用水)设备等)中再附加杀菌效果。

标签:
废水处理
其他 - 其他 来源:中冶有色网 2023-03-19
含硼废水的处理方法
含硼废水的处理方法 751     
 0

本发明提出一种可有效去除含硼废水中的硼的方法,利用二段添加氧化剂(例如过氧化氢)及絮凝剂的氧化/絮凝处理,大幅降低硼含量后,再配合离子交换树脂法或反渗透法去除残留低浓度部份,使高浓度的含硼废水例如发电厂废水能被处理达到放流水标准的目标。

标签:
废水处理
其他 - 其他 来源:中冶有色网 2023-03-19
来自脱硫废水的脱水滤液的喷雾干燥装置及废气处理系统

本发明提供一种来自脱硫废水的脱水滤液的喷雾干燥装置,其具备:气体导入口(52),其设于喷雾干燥装置(50A)的顶(盖)部(51a)附近的侧壁(51b)中,导入对脱水滤液(33)的喷雾液(33a)进行干燥的废气(18);整流板(53),其设于喷雾干燥装置主体内,将所导入的废气(18)减速,并且将废气流变更为层流(X);喷雾喷嘴(54),其向变为层流(X)的废气(18)中喷雾来自脱硫废水(30)的脱水滤液(33);气体排出口(55),其设于喷雾干燥装置主体的底部附近的侧壁(51c)中,将参与了脱水滤液(33)的干燥的废气(18)排出;排出料斗(57),其设于喷雾干燥装置主体的底部侧,是将作为喷雾干燥固形物的灰(56)排出的固形物排出机构。

标签:
废水处理
其他 - 其他 来源:中冶有色网 2023-03-19
含氨废水处理装置
含氨废水处理装置 1111     
 0

本发明公开一种含氨废水处理装置,包含:一反应部,具有可处理含有氨的废水的至少一个反应塔;一臭氧供给部,可将臭氧供给到该反应塔内的废水;以及一溴离子供给部,可将溴离子供给到于该反应塔所处理的废水。通过让溴离子供给部往废水供给溴离子的技术手段,可将于反应塔所处理的废水中的溴离子调节到既定浓度。臭氧供给部将臭氧供给到于反应塔所处理的废水。藉此,即可调节供给到反应塔的臭氧的供给速度。据此,即可最适当化调节反应塔的废水的溴离子的浓度及臭氧供给速度。该结果即可对废水中的溴离子来控制让臭氧供给速度过剩。

标签:
废水处理
其他 - 其他 来源:中冶有色网 2023-03-19
焚烧厂的废水处理方法
焚烧厂的废水处理方法 1126     
 0

一种焚烧厂的废水处理方法,其是从焚烧厂排出的废水的废水处理方法,该焚烧厂具备:焚烧装置,使有机物燃烧;热回收装置,对从该焚烧装置排出的燃烧废气的热进行回收;以及,降温装置,使通过该热回收装置而热回收的燃烧废气进一步降温。上述方法进行利用分离膜将从焚烧厂排出的废水分离成透过水与浓缩水的膜分离工序,将该浓缩水的至少一部分供给至所述降温装置并吹入至所述燃烧废气中来使其蒸发,由此,使燃烧废气降温。将混合有焚烧厂废水中的锅炉保罐水、锅炉排污水、冷却塔排污水以及杂废水中的至少两种的混合废水供给至所述膜分离处理工序。

标签:
废水处理
其他 - 其他 来源:中冶有色网 2023-03-19
包括主要固体的辐射的废水处理系统和方法

本发明提供处理废水的系统和方法,其中使用主要分离方法将大部分固体和生物需氧化合物从废水物料分离,以产生固体相和水相。固体相被辐射以降低病原体水平,使得其安全地用作土壤替代物和/或添加剂,从而固体可以因此以环境友好的方式丢弃。在另外的实施方案中,已经通过辐射灭菌的固体混合合适的惰性填料材料,以产生土壤替代物,肥料,堆肥,或其他土壤添加物。液体相以比处理足额废水所要求的基本上更小的系统来处理,所述处理足额废水可以包括悬浮的介质生物再生反应器系统。液体处理系统可以包括和低通量吸附性材料生物再生反应器一体化的高通量吸附性材料处理系统。

标签:
废水处理
其他 - 其他 来源:中冶有色网 2023-03-19
硝化方法、装置以及废水处理装置

一种废水处理装置,其特征在于,设置有:将硝化处理含氨性氮液的槽并列配置2槽以上N段数的多段硝化槽、设置于所述多段硝化槽的后段并对所述多段硝化槽内硝化处理后的流出液进行脱氮处理的脱氮槽、将所述脱氮槽内脱氮处理后的流出液进行再曝气处理的再曝气槽、将所述再曝气槽内再曝气处理后的流出液进行固液分离的固液分离槽、将所述固液分离槽内固液分离后的污泥和/或处理水返送至所述多段硝化槽内第N段和/或第N-1段的返送单元。由此,可以缩短硝化槽内的开始时间并能够迅速开始,并且能够抑制恒定作业时AL菌固定化载体的硝化速度的急剧下降现象并使硝化速度稳定保持较大的状态。

标签:
废水处理
其他 - 其他 来源:中冶有色网 2023-03-19
用于预测废水处理过程的参数的系统和方法

本发明描述了用于预测废水处理过程的参数的方法,包括以下步骤:获得数据集,所述数据集包括与待预测的废水处理过程的参数有关的多个过程变量;获得所述待预测的参数的预定数量的测量值;预处理所获得的数据集;预处理步骤包括将所述数据集分类成输入组,所述输入组包括所述数据集和所述待预测的参数的测量值;在每个软传感器处获得合成输出;以及对跨多个软传感器中的每个软传感器的合成输出进行平均;平均后的合成输出被设为最终预测参数。

标签:
废水处理
其他 - 其他 来源:中冶有色网 2023-03-19
有色废水的处理方法
有色废水的处理方法 715     
 0

本发明涉及一种有色废水的处理方法,包含有下列步骤:输送废水至初级澄清器以在废水的液体中分离出固体;由初级澄清器输送废水至一厌氧反应装置,废水在厌氧反应装置中循环;集收厌氧反应装置的流出液,以及输送流出液至嗜氧反应装置;厌氧反应装置及嗜氧反应装置分别独立包含有一种染料脱色菌混合物,染料脱色菌混合物以4∶2∶1的比例包含有粪肠球菌、梭形赖氨酸芽孢杆菌及Brevibacillus?panacihumi等菌种;厌氧反应装置及嗜氧反应装置分别独立包含有生物膜培养基,生物膜培养基供加强染料脱色菌的包覆作用;由嗜氧反应装置输送流出液至二级澄清器后可去除固体物质。

标签:
废水处理
其他 - 其他 来源:中冶有色网 2023-03-19
用于废水处理的好氧生物质颗粒

本发明公开了一种生成用于废水处理的好氧生物粒的方法,包括如下步骤:a)将废水引入反应器中;b)将活性生物质材料种入所述反应器;c)将含氧气体供给反应器,以进行所述废水中的生物质材料的混合,含氧气体的供给可提供大于0.25cm/s的表观上流气体速度;d)继续供应含氧气体的同时,开始一段生物质材料的营养饥饿期;e)允许形成的好氧颗粒在所述反应器内的沉淀区沉淀;f)排放至少一部分废水;g)重复步骤(a)至(f),直至在所述沉淀区中的至少一部分生物粒具有预定物理性质;以及h)回收那些预定性质范围内的所述生物质颗粒。

标签:
废水处理
其他 - 其他 来源:中冶有色网 2023-03-19
烟道气脱硫方法和烟道气脱硫体系

本发明提供一种用于处理用湿石灰—石膏法吸 收和分离燃烧烟道气中的硫氧化物的湿式烟道气脱硫器排放 的废水的脱硫废水处理方法, 其中将次氯酸盐加到废水中以后, 将pH值调节到7—9.5以及将废水进行固—液分离; 以及提供一 种用湿石灰法处理含有硫氧化物和氮氧化物的烟道气的烟道 气脱硫方法, 所述方法包括氧化过程, 其中在抽出一部分脱硫过 程中的吸收剂浆液和分离石膏以后, 将全部滤液或一部分滤液 的pH值调节到3—4并加入氧化剂; 中和过程, 其中将碱性剂与 液体混合, 使pH值调节到7—9.5; 以及固—液分离过程, 其中将 经中和及调节的液体进行固—液分离。根据本发明, 可有效地除 去对脱硫性能有不良影响的NS化合物, 同时从经济性的观点来 说, 可有利地除去重金属、特别是锰。

标签:
废水处理
其他 - 其他 来源:中冶有色网 2023-03-19
有机性废水的生物处理方法

提供一种可适当捕食分散菌、进行稳定的生物处理的有机性废水的生物处理方法。有机性废水的生物处理方法,其是将有机性废水通入好氧性的第一生物处理槽而通过细菌生成分散菌,将来自该第一生物处理槽的包含分散菌的第一生物处理水,导入添加了流化床载体的好氧性的第二生物处理槽来被微小动物捕食的有机性废水的生物处理方法,其特征为整体的BOD容积负荷定为5kg/m3/d以下,将第一生物处理水中来自分散菌的SS的相对于第二生物处理槽内的载体的负荷定为8kg-SS/m3-载体/d以下。

标签:
废水处理
其他 - 其他 来源:中冶有色网 2023-03-19
烟道气脱硫废水处理的方法

本发明提供了处理烟道气脱硫废水的方法,该方法可防止水垢在烟道气脱硫装置所包括的蒸发器、加热器和其它设备的液体接触表面上的沉积。该方法包括如下步骤,(a)将石膏晶种引入烟道气脱硫废水中,(b)浓缩蒸发器中含晶种的脱硫废水,直至达到预定的浓度比为止,由此沉淀出存在于脱硫废水中的石膏,和(c)将浓缩过的脱硫废水从蒸发器中排出,用洗涤水洗涤蒸发器的内表面,按正常顺序重复上述步骤(a)到(c)。

标签:
废水处理
其他 - 其他 来源:中冶有色网 2023-03-19
基于DF管式膜的脱硫废水处理工艺及系统

本发明涉及一种基于DF管式膜的脱硫废水处理工艺及系统,包括脱硫池、沉淀池、软化反应系统、DF模组系统、脱盐纯化系统,脱硫池与沉淀池通过输送管道连接,沉淀池顶部通过溢流管道与软化反应系统连接,软化反应系统输出端连接至DF模组系统,DF模组系统的输出端连接至脱盐纯化系统,还包括石体脱水设备、沉淀体输送管道、沉淀池回流管道,本发明充分的对废水中的化学污染物质进行分离、再利用,不浪费一点工业废水,过滤得到的纯水可以回流至工业设备循环利用或者排出,绿色环保,节能减排的同时降低了废水治理成本。

标签:
废水处理
其他 - 其他 来源:中冶有色网 2023-03-19
从废水中离子交换除去金属离子

公开了一种新型的用来清洁含溶解状态的金属离子,过氧化氢,和高含量固体粒子,如浓度大于约50毫克/升的微粒状固体粒子的废水的方法和设备。碳吸收柱除去含高含量固体粒子的废水进料中的过氧化氢、离子交换单元从溶液中除去金属离子。该方法和设备从集成电路微芯片的化学机械抛光(CMP)处理产生的高含量固体粒子的副产物抛光浆中除去金属离子如铜离子,并生成环保清洁的排放废水。

标签:
废水处理
其他 - 其他 来源:中冶有色网 2023-03-19
废水的处理装置和处理方法

本发明涉及废水的处理装置和处理方法。在进行亚硝酸型硝化,对含有氮化合物和无机离子的废水中的氮化合物进行处理时,含有氮化合物和无机离子的废水的处理装置防止硝化槽中的无机离子因不溶解引起的结垢析出。该处理装置具备:将含有氮化合物和无机离子的废水经曝气而将氮化合物氧化成亚硝酸性氮的硝化槽1、用于抑制无机离子结垢的结垢防止装置2,3、和用于将硝化槽1内的pH保持在中性至碱性的pH调节剂添加装置2。

标签:
废水处理
其他 - 其他 来源:中冶有色网 2023-03-19
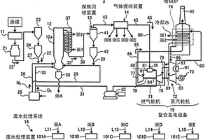
废水处理系统以及复合发电设备

提供一种废水处理系统以及复合发电设备,该废水处理系统能够高效地对在对煤气化气体进行提纯而得到提纯气体时产生的废水进行处理,减少排出的废水量。本发明的废水处理系统(16)对在利用煤气化炉(12)生成气化气体(33)并利用气体提纯装置(14)进行提纯之前的期间内产生的废水进行处理,所述废水处理系统(16)具有:废水处理线(L11~L15),其用于分别对生成气化气体(33)时以及对气化气体(33)进行清洗时产生的炉渣废水、文丘里废水、汽提塔废水进行处理;以及废水处理装置(101A~101E),其用于对向废水处理线(L11~L15)排出的各废水中所含有的需要处理的物质进行处理,不将废水处理线(L11~L15)的各废水混合,根据各废水中所含有的需要处理的物质单独对废水处理线(L11~L15)的各所述废水进行处理。

标签:
废水处理
其他 - 其他 来源:中冶有色网 2023-03-19
含有硒的废水的处理方法和处理装置

含有硒的废水的处理方法和处理装置,其能够将含有6价硒的废水进行还原处理、能够以少量的金属溶出量有效地除去硒,优选此时产生的污泥为白色,可容易地进行处理。使含有硒的废水接触金属钛与其它金属的合金或混合物,使该其它金属的一部分溶出,由此将废水中的硒进行还原处理。

标签:
废水处理
其他 - 其他 来源:中冶有色网 2023-03-19
上一页 109 110 111 112 113 ... 117 下一页
共117页    到第

中冶有色为您提供最新的其他有色金属环境保护技术理论与应用信息,涵盖发明专利、权利要求、说明书、技术领域、背景技术、实用新型内容及具体实施方式等有色技术内容。打造最具专业性的有色金属技术理论与应用平台!

全国热门有色金属设备推荐
展开更多 +
全国热门有色金属技术推荐
展开更多 +

 

江西省隆恩特环保设备有限公司
宣传

报名参会
更多+

报告下载

有色专家
更多+

武汉理工大学
副主任/研究员
中南大学
中国工程院院士
长沙矿冶研究院有限责任公司
中国工程院院士
北京科技大学
主任/教授
矿冶科技集团有限公司工程公司
副总经理
赤泥综合利用研究报告2025
推广

热门技术
更多+

推荐企业
更多+

福建省金龙稀土股份有限公司
宣传

发布

在线客服

公众号

电话

顶部
咨询电话:
010-88793500-807