青岛垚鑫智能科技有限公司
宣传

位置:中冶有色 >

有色技术频道 >

分类:
全部
矿山技术
冶金技术
材料制备及加工技术
环境保护技术
分析检测技术
 
全部
废水处理技术
大气治理技术
固/危废处置技术
土壤修复技术
地区:
全部
北京
天津
上海
重庆
河北
山西
辽宁
吉林
黑龙江
江苏
浙江
安徽
福建
江西
山东
河南
湖北
湖南
广东
海南
四川
贵州
云南
陕西
甘肃
青海
内蒙
广西
西藏
宁夏
新疆
其他
其他
展开
 
全部
其他

其他有色金属环境保护技术理论与应用

免费发布技术信息>>
用于从制革厂废水中除去总溶解固体(TDS)的细菌菌株

本发明涉及用于从未经处理的和经电浮法处理的制革厂废水中减少总溶解固体(TDS)水平的保藏号为MTCC 5097的菌株、制备用于从未经处理的和经电浮法处理的鞣革厂废水中减少总溶解固体(TDS)水平的菌株接种物的方法和使用所述菌株从制革厂废水中减少总溶解固体(TDS)的需氧方法。

标签:
废水处理
其他 - 其他 来源:中冶有色网 2023-03-19
有机废水的生物处理方法

本发明提供一种有机废水的生物处理方法,该方法能够稳定地得到由微型生物的捕食作用产生的污泥减量效果,并能够得到良好水质的处理水。将有机废水导入曝气槽(21)中,以高负荷进行生物处理,生成分散性细菌。将从曝气槽(21)流出的含有分散性细菌的生物处理液导入微型生物保持槽(31)中。通过控制曝气槽(21)的DO浓度或者使微型生物保持槽(31)的溶解性BOD污泥负荷为0.025KG-BOD/KG-VSS/日以上、0.05KG-BOD/KG-VSS/日以下进行运转,使蛭形轮虫等微型生物生存,利用微型生物的捕食作用减少剩余污泥产生量,同时生成沉降性好的污泥絮凝体。

标签:
废水处理
其他 - 其他 来源:中冶有色网 2023-03-19
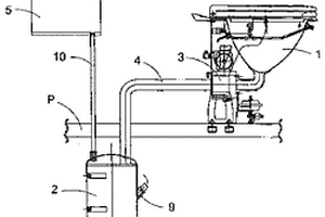
带有废水临时存放箱的真空处理系统

一种带有废水临时存放箱的真空处理系统包括一个废水箱(2),该废水箱(2)至少与一抽水马桶(1)相连并具有带排水阀(8)的出口管(7);该箱(2)放置在铁道火车地板(P)的下方,并且出口管(7)在其向下朝着铁轨的底部开口,排水阀(8)与一控制模块(6)相连。该系统无需维修并且占地很小。

标签:
废水处理
其他 - 其他 来源:中冶有色网 2023-03-19
废水处理系统及其清洗方法

本揭露提供一种废水处理系统及其清洗方法。在废水处理系统系统中,第一电极与第二电极分别设置于废水室的相对两侧。酸液室设置于废水室与第一电极之间。碱液室设置于废水室与第二电极之间。酸液供应装置通过第一管道与酸液室连通且通过第二管道与碱液室连通。碱液供应装置通过第三管道与碱液室连通且通过第四管道与酸液室连通。控制装置与第一至第四管道耦接。电源供应装置与第一电极以及第二电极电性连接。电源供应装置提供正电压至第二电极以及提供负电压至第一电极。控制装置将第一管道关闭使得酸液供应装置通过第二管道将酸液提供至碱液室中,且将第三管道关闭使得碱液供应装置通过第四管道将碱液提供至酸液室中。

标签:
废水处理
其他 - 其他 来源:中冶有色网 2023-03-19
从废水中分离污染物的方法及其系统

本公开涉及从废水中分离或回收污染物的方法。在实施方式中,本公开的方法涉及胺的使用,例如但不限于烷基胺用于所述萃取,其中胺可选地存在于溶液中。从废水中回收的污染物化合物可以为贡献化学需氧量(COD)的有机化合物。本公开还涉及从废水中分离或回收污染物的系统。

标签:
废水处理
其他 - 其他 来源:中冶有色网 2023-03-19
经由正向渗透处理废水的方法和系统

本文公开的实施例涉及用于经由正向渗透处理废水的方法和系统。举例来说,本文公开的方法和系统可以用于从由发电厂产生的废水(例如烟气废水)、油和气废水、以及其他工业过程产生的废水中过滤一种或多种沉淀盐和/或其他颗粒。例如,本文公开的方法和系统可用于从在正向渗透过程期间形成的废水进料浓缩物中过滤一种或多种沉淀盐,其通过至少一个膜组件被再循环以继续正向渗透过程。从废水进料浓缩物中过滤一种或多种沉淀盐有助于限制至少一个膜组件的一个或多个开放通道进料间隔件的堵塞。

标签:
废水处理
其他 - 其他 来源:中冶有色网 2023-03-19
含有氨的废水的处理方法

提供即使在高浓度的氨分解时也能够防止有害气体产生、而且还适于氨的部分分解的含有氨的水的处理方法。一种含有氨的废水的处理方法,其具有在含有氨的废水中添加包含次溴酸和/或次氯酸的化学溶液而使氨氧化分解的工序。将溴化物水溶液和次氯酸盐水溶液混合而生成次溴酸和/或次溴酸盐的液体添加到含有氨的废水中。将溴化钠水溶液和次氯酸钠水溶液以等摩尔比或者以次氯酸钠过量的方式混合而进行添加。

标签:
废水处理
其他 - 其他 来源:中冶有色网 2023-03-19
含有不溶性物质的废水的处理方法及装置

本发明提供一种处理方法及装置,无需添加乳化剂等药液,而将含有不溶性物质的废水中的不溶性物质剪断及分散成适于生物处理的粒子直径。在含有不溶性物质的废水4中旋转搅拌翼5,且通过搅拌翼5的旋转而在含有不溶性物质的废水4中产生具有下降流的对流,将水面上的不溶性物质卷入且将该不溶性物质分散于该含有不溶性物质的废水4中。

标签:
废水处理
其他 - 其他 来源:中冶有色网 2023-03-19
低浓度废水处理系统和方法

提供一种低浓度废水处理系统,包括和低通量吸附性材料生物再生反应器一体化的高通量吸附性材料处理系统。高通量吸附性材料处理系统包括一个或多个单元操作以混合低浓度废水和吸附性材料,该吸附性材料是新鲜的、循环的或两者,并且倾泻具有降低水平的污染物的液体流出物。具有吸附的污染物的吸附性材料在低通量吸附性材料生物再生反应器(其中发生生物反应,例如生物氧化)中再生,其中废水中的有机污染物通常代谢为二氧化碳和水。过量生物质从吸附性材料中回收,并且这样再生的吸附性材料循环至高通量吸附性材料处理系统。

标签:
废水处理
其他 - 其他 来源:中冶有色网 2023-03-19
从镀敷清洗废水中回收水和金属的方法

本发明的目的在于从镀敷清洗废水中有效地回收水和金属。本发明提供一种从镀敷清洗废水中回收水和金属的方法,其包括下列工序:在氧化剂的存在下调节镀敷清洗废水为pH3~6使液体中的二价铁离子氧化成三价铁离子并且析出氢氧化铁的铁不溶解化工序,将该铁不溶解化工序的处理水通过精密过滤膜、超滤膜或者过滤器进行固液分离的固液分离工序,将该固液分离工序中所分离的分离水进行逆渗透膜分离处理并且将透过水作为处理水向系统外排出的逆渗透膜分离工序,以及通过在该逆渗透膜分离工序的浓缩水中添加碱并且以酸不溶性颗粒作为晶种的结晶析出法使液体中的金属作为碳酸盐析出的结晶析出工序。

标签:
废水处理
其他 - 其他 来源:中冶有色网 2023-03-19
含氰配合物废水的处理方法及用于该方法的处理剂

本发明提供含氰配合物废水的处理方法,通过在pH 6‑9的条件下共存亚铜化合物和过氧化氢、或者在pH 6‑8的条件下共存二价铜化合物和过氧化氢,处理含氰配合物废水中的氰配合物。

标签:
废水处理
其他 - 其他 来源:中冶有色网 2023-03-19
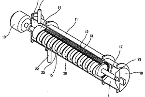
用于废水处理的螺杆压力脱水器

本发明涉及一种用于废水处理的螺杆压力脱水器,应用于从食品工业的废水中脱除液体物质的过程。圆柱形的多孔圆筒设置在外筒内部,圆柱形的金属过滤器设置在多孔圆筒内部,旋转螺杆的螺旋刮片刮除由金属过滤器滤出的固体物质,在旋转轴中插入可运动的调节止挡件以调节块状物出口的大小。由废水入口引入的废水中的液体物质流过金属过滤器,从而经过液体物质出口单独排出。废水中的固体物质被旋转螺杆的螺旋刮片压缩,从而形成块状物。然后由块状物出口单独排出所述块状物。

标签:
废水处理
其他 - 其他 来源:中冶有色网 2023-03-19
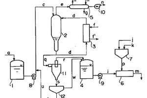
脱硫废水的处理方法
脱硫废水的处理方法 953     
 0

本发明涉及一种用于烟道气脱硫系统排放的脱硫废水的处理方法,其中废水在蒸发器中蒸发以减少其体积然后与固化助剂一起捏和形成固体物质。特别是,安装一个分离石膏用的固-液分离器(12),以分离和回收增浓废水中的石膏。回收的全部或部分石膏加到蒸发器中或送到蒸发器的废水中,其剩余部分排出的系统或返回脱硫装置以与其间所形成的石膏一起回收。此外,回收冷凝蒸发器(2)中的蒸汽作为冷凝液,并用冷凝液周期地冲洗蒸发器(2)。

标签:
废水处理
其他 - 其他 来源:中冶有色网 2023-03-19
电渗析膜生物反应槽及含硝酸盐原水或废水的脱氮方法

本发明属于生物领域,特别涉及电渗析膜生物反应槽及含硝酸盐原水或废水的脱氮方法。一种适于含硝酸盐原水或废水的脱氮的电渗析膜生物反应槽,其包括一槽;一阴离子渗析膜;及一阳离子渗析膜;其中该阴离子渗析膜及阳离子渗析膜将该槽分隔成一阴极室、一阳极室及介于该阴极室与阳极室之间的生物脱氮室。该阴离子渗析膜允许位于该阴极室内的水溶液中的硝酸根离子通过该阴离子渗析膜进入该生物脱氮室;及该阳离子渗析膜阻绝位于该生物脱氮室内的水溶液中的硝酸根离子进入该阳极室,并阻绝位于该阳极室内的水溶液中的氯离子进入该生物脱氮室。

标签:
废水处理
其他 - 其他 来源:中冶有色网 2023-03-19
废水厌氧生物处理系统及方法

本发明是关于一种含有机污染物的废水厌氧生物处理系统,包含一厌氧污泥床反应槽,及一溶解空气浮除槽,其中该厌氧污泥床反应槽是用厌氧微生物于反应槽中去除废水中的有机污染物,及该溶解空气浮除槽是用于对来自该厌氧污泥床反应槽的出流水中的固体物进行固液两相分离,以回收流出该厌氧污泥床反应槽的厌氧微生物并送回该厌氧污泥床反应槽中,以提升厌氧污泥床反应槽的水力负荷。

标签:
废水处理
其他 - 其他 来源:中冶有色网 2023-03-19
氨氮回收设备、多段式氨氮废水处理系统

本发明公开了一种氨氮回收设备,其包括:pH值控制单元,容纳待处理的氨氮废水,并调整该待处理的氨氮废水的pH值至10至13;薄膜蒸馏单元,连通该pH值控制单元,并接收经调整pH值的待处理的氨氮废水,以分离氨和废液;以及电透析单元,连通该薄膜蒸馏单元和该pH值控制单元,以接收分离自该薄膜蒸馏单元的废液,并电透析该废液以回收液碱,以馈送经回收的液碱至该pH值控制单元中。本发明还公开了一种多段式氨氮废水处理系统。

标签:
废水处理
其他 - 其他 来源:中冶有色网 2023-03-19
通过监测耗氧量速率来控制废水处理

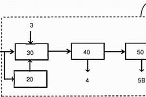
公开了用一个或一组液体彼此相通的反应器处理废料以除掉其中选定的成分的方法和装置,该反应器接受待处理废料作为进料。进料形成包括废料和微生物的生物物质,并用监测该生物物质的耗氧速率或潜在耗氧速率来处理该进水,以确定应送入生物物质所需的氧量和生物物质的曝气时间,来保持预定的耗氧速率,除掉废料中选定的成分。优选选择的待除掉成分是含氮、含碳和/或含生物磷的物料或衍生物。

标签:
废水处理
其他 - 其他 来源:中冶有色网 2023-03-19
处理含氨废水的方法
处理含氨废水的方法 1036     
 0

本发明涉及处理其中碳酸氢根离子作为废水中存在的铵离子的抗衡离子的含氨废水的方法。根据本发明,一半的铵转化成亚硝酸盐,产生含氨和亚硝酸盐的溶液,且在第二步骤中,亚硝酸盐用作氨的氧化剂。在本发明方法中,一半的氨自发转化成亚硝酸盐,从而提供一种需要更少控制的方法。同时,本发明方法不需要外部添加物。

标签:
废水处理
其他 - 其他 来源:中冶有色网 2023-03-19
用于处理碱性废水的方法

本发明提供一种用于处理包含钠离子和有机杂质的碱性废水的方法,该方法包括以下步骤:a)使部分废水与阳离子交换树脂接触以获得酸性废水部分,b)在中和溶液的存在下,混合酸性废水部分和剩余的废水部分以获得具有5至9、优选6至8、更优选6.5至7.5、更优选6.8至7.2的pH的污水以及c)从污水中降低有机杂质的量。

标签:
废水处理
其他 - 其他 来源:中冶有色网 2023-03-19
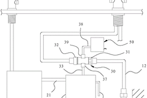
废水处理系统和船舶
废水处理系统和船舶 1129     
 0

本发明的一个方式的废水处理系统是对于从洗涤器中排出的清洗液进行净化处理的废水处理系统,其中,该废水处理系统具备:保留罐,其具有暂时保留从洗涤器中排出的清洗液的罐主体;以及废水处理部,其对于从保留罐供给的清洗液进行净化处理,从洗涤器中排出的清洗液的每单位时间的排出量在规定期间内为最大排出量,对于从保留罐供给至废水处理部的清洗液的每单位时间的供给量进行控制,以使得该供给量在整个期间比洗涤器的最大排出量少。

标签:
废水处理
其他 - 其他 来源:中冶有色网 2023-03-19
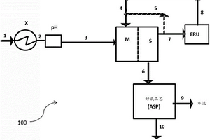
用于异辛醇制备过程中降低废水化学需氧量的处理方法

一种降低废水化学需氧量的处理方法,应用于处理异辛醇制备过程中进行羟醛缩合反应所生成的碱性废水,处理步骤包括添加无机酸使废水酸化后的pH值为0~4;取异辛醇制备过程副产的高沸点醛醇混合物与低沸点醛醇混合物分别萃取酸化处理后的废水,再对酸化且经过萃取处理后的废水实施汽提处理,可有效降低废水中的化学需氧量(COD),废水中的COD去除率可达89~93%,有助于提升废水处理程序的稳定性与经济效益。

标签:
废水处理
其他 - 其他 来源:中冶有色网 2023-03-19
废水处理方法和装置
废水处理方法和装置 812     
 0

本发明涉及废水处理领域,更具体地涉及加速废水处理过程的方法和装置。在一个实施方案中,本发明涉及生活和工业废水和雨水现场处理系统,然而,应该理解的是,本发明不仅仅限于该用途。阻碍使用普通地面吸收沟渠和蒸散系统的问题被本发明所克服,本发明消除了地点限制效应对自然处理和处置机制的功能的限制。本发明包括用于加速废水处理过程的方法的装置,该方法包括将至少一预定量的废水引入到废水处理区和至少一第二废水处理区之一中的步骤。本发明的优选实施方案既提供了促进和维持自然生物处理机制运行而免于地点限制的条件,又增强了蒸发废水的液体组分的能力。核心处理区提供了适于自然处理和处置过程运行的条件。在二级处理区内的增强的蒸发能力有效地使所要处理的废水量减至最少。

标签:
废水处理
其他 - 其他 来源:中冶有色网 2023-03-19
有机性废水的生物处理方法以及装置

一种有机性废水的生物处理方法以及装置,其将固定床载体用于第一生物处理槽(分散菌槽)从而能够在不生长微小动物的情况下形成固定床,并且无运行不良的顾虑,能够使分散菌槽进行高负荷处理。将有机性废水导入第一生物处理槽(10),通过细菌进行生物处理生成分散菌,将含分散菌的第一生物处理水从第一生物处理槽(10)通入第二生物处理槽(20)进行生物处理。通过将两个以上的片状载体以面方向成为竖直方向的方式设置在生物处理槽(10)、(20)内而形成固定床(11)、(21),并以0.1~5m3‑空气/m2‑底面积/min的散气量从第一固定床(11)的下方进行散气。

标签:
废水处理
其他 - 其他 来源:中冶有色网 2023-03-19
含过醋酸废水的处理方法

本发明揭示一种对食品厂使用过醋酸杀菌剂进行管线清洗与装填容器杀菌所产生废水的处理方法,包括对含有过醋酸的废水进行曝气或机械搅拌使其中的过醋酸分解,接着进行好氧微生物处理,使其中的有机物分解。过醋酸本身为不稳定的过氧化态,因此本发明利用曝气或搅拌诱导过醋酸进行自身氧化还原反应,分解成醋酸,而失去杀菌功能,于是好氧微生物处理可被进行来分解废水中的有机物。

标签:
废水处理
其他 - 其他 来源:中冶有色网 2023-03-19
降低废水中化学需氧量的方法

本发明提供了一种降低废水中化学需氧量的方法,包括:于化学需氧量(COD)大于3000ppm的废水中通入以该废水的总重量计,1至7重量%的氯气,以令该废水进行氯氧化反应;以及于该通有氯气的废水中添加碱。本发明的方法能有效降低废水中的化学需氧量,能有效节省污水处理成本。

标签:
废水处理
其他 - 其他 来源:中冶有色网 2023-03-19
含过氧化氢的废水的处理方法及系统

本发明是关于一种含过氧化氢的废水的处理,尤其有关一种使用活性碳降低废水中过氧化氢含量的废水处理。其中用于降低废水中过氧化氢含量的活性碳的效率及使用寿命被增进。本发明方法在监测该废水的pH值,并且当pH值小于4时将其调整至4或更高,接着才令活性碳接触废水。

标签:
废水处理
其他 - 其他 来源:中冶有色网 2023-03-19
水刀废水收集装置
水刀废水收集装置 906     
 0

一种水刀废水收集装置,适用于盛接沿流动路径流动的废水,包含容装单元。所述容装单元包括设置于所述废水下游的底壁件、由所述底壁件周缘向上延伸的挡壁件,及覆盖所述挡壁件并与所述底壁件及所述挡壁件相配合界定出盛液空间的顶壁件,其中,所述顶壁件具有沿所述流动路径贯穿所述顶壁件并连通所述盛液空间的进液孔。通过所述进液孔的设置,切割后而仍处高速高压状态的废水,将沿所述流动路径直接进入所述盛液空间中,并配合所述顶壁件挡止因反弹而向上喷溅的水珠,达成回收废水且有效防止工件及机组零件锈蚀的效果。

标签:
废水处理
其他 - 其他 来源:中冶有色网 2023-03-19
含有油分的废水的处理方法及处理装置

本发明提供含有油分的废水的处理方法及处理装置。该含有油分的废水的处理方法及处理装置与采用以往的浮起分离进行的处理相比,能够降低凝聚剂的使用量。该含有油分的废水的处理方法对向含有油分的废水中添加能够捕捉或吸附该废水中的油分的悬浊物质或者预先混入该悬浊物质的被处理水,在浮起分离工序中除去捕捉或吸附了废水中的油分的悬浊物质之后,使凝聚剂起作用而除去上述废水的油分。

标签:
废水处理
其他 - 其他 来源:中冶有色网 2023-03-19
含有不溶性物质的废水处理方法及处理装置

一种利用活性污泥的作用对含有不溶性物质的废水进行生物处理的处理方法,在上述含有不溶性物质的废水中混合活性污泥,在废水中细化不溶性物质和活性污泥并使之分散后,进行生物处理。通过本发明提供的有机废水处理方法,不需加入药剂,能够短时间内容易地改善、抑制非线性膨胀及线性膨胀的两种现象。

标签:
废水处理
其他 - 其他 来源:中冶有色网 2023-03-19
RO逆渗透过滤器的废水回收结构

一种RO逆渗透过滤器的废水回收结构,其包括有:一供水装置分流有一第一水管与一第二水管,一过滤器连接该第一水管,并以一排水管连接有一废水桶,一混合器互为相通的形成有一连接第二水管的进水端、一出水端及一连接该废水桶的废水导入管,而该出水端连接有一用水装置,又该混合器内部形成有一混合室,且该混合室相通该进水端形成有一进水锥孔,且相通该出水端形成有一出水锥孔,该混合器与该废水导入管之间装设有一逆止组件,该水流流过该混合器能在该混合室产生负压,使该逆止组件动作而形成该废水桶的自动吸取,从而将废水混入一般用水而达到省水的功效。

标签:
废水处理
其他 - 其他 来源:中冶有色网 2023-03-19
上一页 108 109 110 111 112 ... 117 下一页
共117页    到第

中冶有色为您提供最新的其他有色金属环境保护技术理论与应用信息,涵盖发明专利、权利要求、说明书、技术领域、背景技术、实用新型内容及具体实施方式等有色技术内容。打造最具专业性的有色金属技术理论与应用平台!

全国热门有色金属设备推荐
展开更多 +
全国热门有色金属技术推荐
展开更多 +

 

江西省隆恩特环保设备有限公司
宣传

报名参会
更多+

报告下载

有色专家
更多+

鞍钢集团有限公司
中国工程院院士
中南大学
中国工程院院士
南方科技大学
外籍院士
江西理工大学
副校长/教授
矿冶科技集团有限公司工程公司
副总经理
赤泥综合利用研究报告2025
推广

热门技术
更多+

推荐企业
更多+

福建省金龙稀土股份有限公司
宣传

发布

在线客服

公众号

电话

顶部
咨询电话:
010-88793500-807