青岛垚鑫智能科技有限公司
宣传

位置:中冶有色 >

有色技术频道 >

> 新能源材料技术

分类:
全部
矿山技术
冶金技术
材料制备及加工技术
环境保护技术
分析检测技术
 
全部
功能材料技术
复合材料技术
新能源材料技术
合金材料技术
加工技术
地区:
全部
北京
天津
上海
重庆
河北
山西
辽宁
吉林
黑龙江
江苏
浙江
安徽
福建
江西
山东
河南
湖北
湖南
广东
海南
四川
贵州
云南
陕西
甘肃
青海
内蒙
广西
西藏
宁夏
新疆
其他
其他
展开
 
全部
广州
韶关
深圳
珠海
汕头
佛山
江门
湛江
茂名
肇庆
惠州
梅州
汕尾
河源
阳江
清远
东莞
中山
潮州
揭阳
云浮

广东深圳有色金属新能源材料技术理论与应用

免费发布技术信息>>
可换式充电枪
可换式充电枪 1213     
 0

本实用新型属于新能源汽车技术领域,尤其涉及一种可换式充电枪,包括充电枪本体以及设置于充电枪本体端部的插头,所述插头具有可与外部待充电设备电性连接的充电接口,所述充电枪本体与所述插头采用可拆卸方式连接,所述充电枪本体前端面设有与所述插头匹配的连接端,所述连接端上设置有螺纹孔,所述插头上设有螺纹通孔,所述插头插接在所述充电枪本体的连接端上,通过螺钉穿过所述螺纹通孔拧入所述螺纹孔内将所述插头固定在所述充电枪本体上。本实用新型拆解及更换方式简单易操作,能够实现可换式充电枪的长期使用。

标签:
新能源
广东 - 深圳 来源:中冶有色网 2023-03-18
降低机房用电成本的配电系统

本实用新型提出的降低机房用电成本的配电系统,分别在UPS模块、PCS模块配备储能模块,降低了机房在用电高峰期的用电量,提高了机房在用电低谷期的用电量,节省了用电成本,同时还外接新能源的供电网络,提高了机房的PUE。

标签:
新能源
广东 - 深圳 来源:中冶有色网 2023-03-18
熔盐输送管道
熔盐输送管道 1026     
 0

本实用新型涉及新能源的技术领域,尤其涉及一种熔盐输送管道,包括管道本体,所述管道本体的一端与化盐系统的出液口连通,另一端与熔盐储盐系统的进液口连通,所述管道本体靠近所述化盐系统的出液口的一端连接有空气压缩机。当熔盐输送系统紧急暂停或停止运行时,启动空气压缩机,通过向管道本体内输入压缩空气,可以有效排除管道本体内的残留熔融盐,防止管道本体堵塞,从而保证熔盐化盐储盐系统连续、稳定、安全的运行。

标签:
新能源
广东 - 深圳 来源:中冶有色网 2023-03-18
太阳能无线远程数据采集系统

本实用新型公开了一种太阳能无线远程数据采集系统,包括太阳能供电系统、测量设备、用于采集测量设备测量到的数据的采集器、用于无线接收采集器采集到的数据的中继器、用于无线接收中继器发出的信息并上传给后台管理中心的集中器;太阳能供电系统包括太阳能电池板、太阳能充放电控制器和蓄电池,太阳能电池板的输出端子与太阳能充放电控制器的太阳能接线端子对应连接,太阳能充放电控制器的蓄电池接线端子与蓄电池的正、负极对应连接,采集器、测量设备和中继器由太阳能充放电控制器提供工作电压。本实用新型采用了新能源供电方式,彻底摆脱了布线的困扰,使系统脱离了对外部电源的依赖性,提高了蓄电池的使用寿命。

标签:
新能源
广东 - 深圳 来源:中冶有色网 2023-03-18
轮胎式龙门起重机的双动力节能系统

本实用新型涉及新能源应用领域,特别涉及一种轮胎式龙门起重机(RTG)的双动力节能系统。本实用新型包括系统控制器、电池组及管理系统、发电机组、单向DC/AC逆变电源、单向DC/DC直流电源和辅助变压器等;本实用新型采用一套电池组作为主动力电源,电池组可满足RTG在一段时间内的全电作业,实现动力源输出功率与RTG功率需求全程完全匹配,提高能源效率;实现RTG制动能量回收并循环利用;发电机组一旦工作便控制在最佳能效下输出功率,能源效率最高;实现发动机不过载、不冒黑烟;缩短发电机组运行时间、延长维护保养周期;在本实用新型中,可以提高RTG的能源利用效率,达到降低RTG整体能耗的效果,节能减排。

标签:
新能源
广东 - 深圳 来源:中冶有色网 2023-03-18
太阳能热风干燥制粉系统

本实用新型公开了一种太阳能热风干燥制粉系统,包括集热装置以及与所述集热装置连接的储能装置,所述集热装置与所述储能装置之间连接设置有散热装置,所述散热装置的后方设置有风机,所述散热装置的前方,与所述风机相对处设置有制粉装置。本实用新型提供的一种太阳能热风干燥制粉系统,可利用太阳能和相变储能的热量来提供热风给颗粒或块状固体在粉碎的过程中进行加热干燥,减少干燥剂成品生产过程中因为原材料湿度大而增加生产难度和降低产品的性能,利用新能源与干燥剂生产相结合,减少对电力的需求,同时可以降低企业的电力运营成本。

标签:
新能源
广东 - 深圳 来源:中冶有色网 2023-03-18
高层住宅小区集中供热太阳能热水系统

本实用新型涉及新能源及节能技术技术领域,具体为一种高层住宅小区集中供热太阳能热水系统,包括平板太阳能集热器和承压保温水箱,所述平板太阳能集热器上分别安装有排气阀和膨胀罐,所述承压保温水箱的左侧顶部连接有燃气热水器,所述承压保温水箱的左侧底部分别连接有回水管接口和冷水管接口,所述燃气热水器上分别通过水管连接有用热水点、自来水管接口以及三通阀,所述三通阀端分别连接燃气热水器、用热水点以及承压式热交换水箱接口,所述用热水点通过供水管连接于燃气热水器,本实用新型通过集中集热、集中储热、集中辅助加热的控制系统,达到高效节能,减少维护,保障热水供应,降低辅助加热成本的目的。

标签:
新能源
广东 - 深圳 来源:中冶有色网 2023-03-18
端子结构
端子结构 1064     
 0

本实用新型涉及新能源充电技术领域,尤其是指一种端子结构,包括端子本体,所述端子本体包括由端子本体弯折形成的第一连接部、与第一连接部连接的弯折部、以及与弯折部连接的第二连接部,所述第一连接部与第二连接部之间具有夹角,所述第一连接部和/或第二连接部设置有贯穿端部的连接孔。本实施例中,第一连接部和第二连接部均设置有连接孔;或者第一连接部或第二连接部设置有连接孔,其加工容易,降低制造成本,其采用一体成型,结构紧凑,安装方便。

标签:
新能源
广东 - 深圳 来源:中冶有色网 2023-03-18
智能电动冷链物流车
智能电动冷链物流车 1054     
 0

本实用新型公开了一种智能电动冷链物流车,由车厢保温体、车厢保温门、车厢内胆、车厢温度传感器、送风口、送风风道、循环风机、回风口、蓄冷条、热交换通道、蓄冷液加液口、蓄冷液回液口、空气排出口、车体、温度控制器、温湿度传感器和温湿度采集器组成。本实用新型采用外源蓄冷站充冷,电动物流车车体无需额外增加制冷系统等组件,车辆负荷轻。采用无相变低温蓄冷液蓄冷制冷,蓄冷效率高,理论上可以达到任意所需要的换热温度。采用温度反馈风机循环控制电路实现平稳温控,采用温湿度采集器联网实现远程智能监控。由常规电动物流车经简单改造而成,工业化、规模化改造实现容易,且节能环保,符合国家新能源政策,经济社会效益高。

标签:
新能源
广东 - 深圳 来源:中冶有色网 2023-03-18
防碰撞快速充电桩
防碰撞快速充电桩 977     
 0

本实用新型属于充电桩技术领域,特别涉及一种防碰撞快速充电桩,包括充电桩本体和与该充电桩本体电连接的充电枪,充电桩本体的底部设有固定座,围绕固定座设有第一缓冲件,充电桩本体的顶部固定设有定位杆,定位杆上连接有活动座,活动座上设有第二缓冲件,充电桩本体中设有控制器,定位杆上设有超声波探测器,超声波探测器、第一缓冲件均与控制器电连接。本实用新型通过设置第二缓冲件、第一缓冲件,对充电桩本体起到撞击缓冲的作用,通过超声波探测器和控制器,可以感应汽车与充电桩之间距离,当新能源汽车达到充电桩不同方位的感应的距离时,可以自动启动相应的第一缓冲件对充电桩进行防撞保护,保障充电操作安全,降低维护成本。

标签:
新能源
广东 - 深圳 来源:中冶有色网 2023-03-18
光伏逆变器夹装结构及光伏逆变器

本实用新型公开了一种光伏逆变器夹装结构及光伏逆变器,光伏发电作为新能源开发利用的重要内容,对于解决能源和环境问题,有着深远的意义,逆变器是光伏发电过程中的重要环节。一种光伏逆变器夹装结构包括定位基板,所述定位基板的上端固定安装有两组快接座,两组所述快接座的内底部均固定安装有底部卡接机构,所述快接头上套接有第一橡胶圈,所第一橡胶圈与快接座的内壁过盈配合,两组所述接头之间固定安装有光伏逆变器。本实用新型使得使用时直接将光伏逆变器插入快接座即可完成装配,整个安装过程无需在光伏逆变器和夹持机构之间有限的空间进行作业,因此安装方便且作业效率高。

标签:
新能源
广东 - 深圳 来源:中冶有色网 2023-03-18
绝缘片、端板防呆检测上料装置

本实用新型属于新能源汽车动力电池生产设备领域,提供了一种绝缘片、端板防呆检测上料装置。该绝缘片、端板防呆检测上料装置包括绝缘片上料机构、端板防呆检测机构及端板上料机构,所述端板防呆检测机构设置于所述端板上料机构上,所述端板上料机构与所述绝缘片上料机构连接。本实用新型通过绝缘片上料机构、端板防呆检测机构及端板上料机构,实现绝缘片、端板自动上料,并通过端板防呆检测机构能区分端板正反面,使得上料更精准,且占用空间有限,结构紧凑,为后工序的工作做好准备,大大提升上料效率。

标签:
新能源
广东 - 深圳 来源:中冶有色网 2023-03-18
极片擦拭装置
极片擦拭装置 758     
 0

本实用新型属于新能源电池技术领域,具体提供了一种极片擦拭装置,包括:机架、主板、收卷料盘、放卷料盘、清洁布、支撑板、擦拭结构和摆动轴;通过主板带动收卷料盘、放卷料盘、擦拭结构等部件在机架上滑动,可以实现极片定点定量的擦拭,保证擦拭位置的准确性,同时,本实用新型采用气缸推动擦拭头动作的方式,通过调整气缸压力,实现擦拭头与极片的柔性接触,防止对极片造成机械损伤;此外,擦拭头上可设置加注清洁液的孔道,在清洁过程中可以使清洁液浸润在清洁布上,将擦拭过程中难以擦去的残留物溶解并被彻底擦拭干净,而且擦拭过程中的粉尘被清洁液吸附后,减少了粉尘飘逸造成的空间污染。

标签:
新能源
广东 - 深圳 来源:中冶有色网 2023-03-18
用于太阳能路灯的储能锂离子电池组

本实用新型公开了一种用于太阳能路灯的储能锂离子电池组,包括外壳,所述外壳内部中央固定设置有电池安装板,所述电池安装板上表面一侧固定设置有第一储能锂电池,所述第一储能锂电池一侧固定连接有串联线路板,所述串联线路板远离第一储能锂电池的一侧固定连接有第二储能锂电池,所述电池安装板上位于第一储能锂电池和第二储能锂电池的上下两侧均固定设置有限位槽,所述限位槽的数量为6个,所述第一储能锂电池和第二储能锂电池上表面均滑动连接有限位保护滑板,所述电池安装板一侧固定设置有充电控制器,本实用新型涉及新能源技术领域。该用于太阳能路灯的储能锂离子电池组,稳定性强,抗冲击能力强,具有很好的密闭性,防尘和防水效果好。

标签:
新能源
广东 - 深圳 来源:中冶有色网 2023-03-18
流动机械的智能启停系统

本实用新型公开了一种流动机械的智能启停系统,涉及新能源应用技术领域。该流动机械的智能启停系统包括一电池组、一控制器及一电动空调,所述控制器在流动机械作业等待且所述电池组的剩余电量高于第一预设值时,控制所述电池组独自给辅助用电设备及电动空调供电以及控制所述流动机械的发动机停止工作,减少了发动机怠速时间,借以规避流动机械在作业等待时发动机怠速运转所造成的能源浪费,达到节省燃料消耗、减少环境污染、同时减少发动机磨损、节省维护保养及大修费用的目的。而且发动机关闭后,采用电动空调代替原车空调工作制冷来调节驾驶室内气温,既满足了驾驶室内气温调节的需求又可以节省电能的消耗。

标签:
新能源
广东 - 深圳 来源:中冶有色网 2023-03-18
三维锥形纳米层膜结构

本实用新型属于新能源技术开发领域,尤其涉及一种三维锥形纳米层膜结构。本实用新型提供一种三维锥形纳米层膜结构,为:二氧化硅‑二氧化铪复合层以及银层,二氧化硅层设置于二氧化铪层的上方;二氧化硅‑二氧化铪复合层的数量大于10层,银层的上方设置有二氧化硅‑二氧化铪复合层。本实用新型中,引入三维锥形纳米层膜结构,可实现高性能的双窗口大气辐射,并最终可以实现高效率的被动辐射冷却降温的能力;解决了现有技术中,日间冷却的方法存在着净辐射冷却功率较低的技术缺陷。

标签:
新能源
广东 - 深圳 来源:中冶有色网 2023-03-18
高空风能风力发电装置

本实用新型公开了一种高空风能风力发电装置,属于新能源技术领域。一种高空风能风力发电装置,包括固定架、箱体和底座,所述底座的顶部固定安装有箱体,所述箱体的表面旋转安装有箱门,所述箱体的内部固定安装有蓄电池组,所述蓄电池组的一侧固定安装有控制器,所述箱体的一侧固定安装有地桩,所述地桩的顶部通过连接管固定安装有固定架,所述固定架的内侧固定安装有发电机,所述发电机之间通过主轴固定安装有桨叶,所述固定架的顶部通过输气管固定安装有气球;本实用新型通过设置有一系列的结构使本装置在使用的过程中能够主动带动装置上升至高空,稳定性强以及防护效果好等优点,优化使用过程。

标签:
新能源
广东 - 深圳 来源:中冶有色网 2023-03-18
电芯合芯装置
电芯合芯装置 1124     
 0

本实用新型实施例适用于新能源汽车动力电池技术领域,提供了一种电芯合芯装置,本实用新型包括底座、翻转机构、第一定位机构、合芯机构以及折弯机构,翻转机构包括电芯托板和翻转气缸,A、B两只电芯分别固定在两块电芯托板上,两块电芯托板可旋转地安装在合芯机构顶部,折弯机构安装在底座上且位于翻转机构下方,在电芯向上翻转时折弯极耳,并向上移动盖板与电芯盖合,避免向上折弯时挤压到电芯前端部。本实用新型保证了极耳折弯轨迹的一致性,合芯后盖板不偏向一侧,对于需要折连接片与极耳超声波焊接且连接片比较硬的产品,折弯效果较好,充分保证两电芯对齐度,入壳时易对盖成功。

标签:
新能源
广东 - 深圳 来源:中冶有色网 2023-03-18
太阳能超薄风管机
太阳能超薄风管机 929     
 0

本实用新型公开了太阳能超薄风管机,包括电源和风管机,所述电源的输入接头电性连接有太阳能板,所述电源的输出接头电性连接有逆变器,所述逆变器的一个输出接头电性连接有外机,所述逆变器的另一个输出接头电性连接有风管机,所述风管机的侧壁安装有吊装螺栓,所述吊装螺栓的一侧安装有冷凝水排水管,所述风管机电性连接有电器盒。该太阳能超薄风管机结构合理,将原有固定连接在风管机上的电器盒单独置于外部,不但减小了风管机的体积占用,使其更加纤薄,同时独立的电器盒在维修时也更加方便,同时采用全新的太阳能新能源为其提供能源,实现了零耗能的功用,有效的提高了风管机的使用效果。

标签:
新能源
广东 - 深圳 来源:中冶有色网 2023-03-18
大客车节能与防火车身结构

本实用新型提供一种大客车节能与防火车身结构,包括车体框架和包覆于车体框架外侧的车身面板,车身面板包括内层铝合金板和外层铝合金板,内、外层铝合金板之间设有由车身横梁、塞设于车身横梁内的岩棉保温层构成的防火保温结构。本实用新型中,车身面板摒弃传统的钢材,改用铝合金材料,生产过程中能源消耗和碳排放减少,达到节能效果;车身自重降低,尤其适用于新能源大客车、电动大客车,克服车辆自重,增加乘客载客量。使用高性能岩棉保温层替代普通的隔音棉及夹板,不但继承了原有的隔音、抗震功能,还增加隔热、保温性能,岩棉保温层的隔热性能,在夏天防止车内空调冷气散失,阻隔车外高温,达到节能效果;保温性能在冬天保持车内温度。

标签:
新能源
广东 - 深圳 来源:中冶有色网 2023-03-18
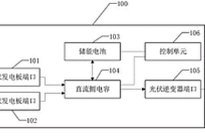
光伏储能发电设备
光伏储能发电设备 992     
 0

本实用新型适用于新能源领域,提供了一种光伏储能发电设备,包括:多个光伏发电板端口,多个光伏发电板端口分别与直流母线电容电性连接,多个光伏发电板端口能够接收光伏发电板输入的电能,并将光伏发电板输入的电能传输至直流母线电容。储能电池,储能电池与直流母线电容电性连接,储能电池能够基于控制单元的控制向直流母线电容输出电能或接收直流母线电容向储能电池传输的电能;直流母线电容与光伏逆变器端口电性连接,光伏逆变器端口能够与光伏逆变器相连接,直流母线电容能够基于控制单元的控制通过所述光伏逆变器端口输出符合所述光伏逆变器需求的电能;控制单元能够对直流母线电容所输出的电能及所述储能电池输出和输入的电能进行控制。

标签:
新能源
广东 - 深圳 来源:中冶有色网 2023-03-18
具有不间断供电功能的混合逆变器

本实用新型提供了一种具有不间断供电功能的混合逆变器,其包括变换器、双向变换器、双向逆变器、母线、控制器、第一路开关、第二路开关;第一路开关、第二路开关的一端相接,两路开关的另一端及两路开关的中间引出一个端口,分别为第一端口、第二端口、第三端口,第一端口和混合逆变器主体的交流输出连接,第二端口、第三端口分别用于和电网、负载连接;变换器一端接入光伏等新能源发电单元,另一端和母线连接,双向变换器一端接入储能单元,另一端和母线连接,双向逆变器一端连接母线,另一端和第一端口连接。当电网或混合逆变器中一个故障时,重要负荷仍然可以供电,实现不间断供电。

标签:
新能源
广东 - 深圳 来源:中冶有色网 2023-03-18
用于充电桩的耐高压大电流熔断器

本实用新型涉及新能源设备领域,尤指一种用于充电桩的耐高压大电流熔断器,包含真空管、熔片、绝缘管、连接件、螺纹帽和平顶帽,所述熔片和所述绝缘管均设在所述真空管内,所述螺纹帽设在所述真空管的一端,所述平顶帽设在所述真空管的另一端,两个所述连接件分别连接所述熔片的两端,能够耐高压大电流具有良好承载能力的同时方便安装和保养,满足充电桩对大型电动车的充电支持。

标签:
新能源
广东 - 深圳 来源:中冶有色网 2023-03-18
电池模组和电池包
电池模组和电池包 1063     
 0

本实用新型适用于新能源电池包技术领域,提供了一种电池模组和电池包,电池模组包括电池本体、电池外壳和绝缘保护板,电池本体包括电芯和电连接所述电芯的极耳;电池外壳包括端板,绝缘保护板位于端板和电池本体之间,在端板和极耳之间形成绝缘;端板的端部形成有用于套设螺钉的套筒,在套筒的延伸方向上设置有防脱部,螺钉的头部被限定在所述套筒和防脱部之间。安装过程中螺钉容易极耳与安装面电连接,导致电池模组在短时间内输出大量电流,影响电池的使用寿命,采本实施例提供的电池模组,能够避免电池模组和安装面之间形成电连接,避免了电池模组在安装过程中短路,避免对其造成损害影响其使用寿命,还排除了电池模组发热甚至爆炸的风险。

标签:
新能源
广东 - 深圳 来源:中冶有色网 2023-03-18
浮动连接器
浮动连接器 745     
 0

本实用新型涉及新能源车辆或移动行走的设备,尤其涉及一种浮动连接器,包括车端或设备端的插头和电池端的插座;所述车端或设备端的插头与电池端插座对插连接时,车端或设备端的插头内由定位爪和后盖定位的电源公端子插入电池端插座内由止退块紧固的电源母端子的插孔内,实现电流传输;车端或设备端的插头内由定位爪和后盖定位的信号公端子插入电池端插座内由止退块紧固的信号母端子的插孔内,实现信号传输。电池端插座的电源母端子和信号母端子上分别套装有若干个O型圈,起到密封防水功能。

标签:
新能源
广东 - 深圳 来源:中冶有色网 2023-03-18
方便清洗太阳能光伏板的清洗结构

本实用新型涉及新能源技术领域,且公开了一种方便清洗太阳能光伏板的清洗结构,包括底座,所述底座的顶部固定安装有支撑杆,所述支撑杆的顶部固定安装有安装板,所述安装板的顶部固定安装有光伏板本体,所述安装板的顶部并且位于光伏板本体的正面和背面均固定安装有条形块。该方便清洗太阳能光伏板的清洗结构,通过连接头连接水管,使矩形水管框架的内部充满水源,在通过洒水短管的喷洒在光伏板本体表面上,有效的清洗的光伏板本体的表面的灰尘,其中洒水短管将光伏板本体表面大量灰尘冲洗掉,然后利用转动盘和刷毛对光伏板本体表面进行清洗,最后再利用洒水短管将清洗后的表面进行喷洗,可以有效保证清洗质量。

标签:
新能源
广东 - 深圳 来源:中冶有色网 2023-03-18
电芯旋转机构
电芯旋转机构 929     
 0

本实用新型涉及新能源汽车动力电池生产领域,具体涉及一种电芯旋转机构。所述电芯旋转机构包括支架、旋转轴、动力部和用于抓取电芯的夹爪机构,所述旋转轴转动的安装在支架上,所述动力部安装在支架上,并与旋转轴传动连接,同时驱动旋转轴转动,所述夹爪机构安装在旋转轴上,并随旋转轴转动。本实用新型的电芯旋转机构通过夹爪机构抓取电芯,然后动力部驱动旋转轴转动,带动夹爪机构转动,实现电芯的90°旋转,结构简单、紧凑,占地面积小,成本低。

标签:
新能源
广东 - 深圳 来源:中冶有色网 2023-03-18
氢气传感器
氢气传感器 1121     
 0

本实用新型公开了一种氢气传感器,包括壳体、调节所述壳体内部湿度的水分管理单元、气体检测单元、化学过滤层以及防水透气膜;所述水分管理单元、气体检测单元、化学过滤层以及防水透气膜依次设置在所述壳体内;所述壳体内设有贯穿所述壳体以供氧气进入其中的氧气通道,所述壳体上设有贯通其内部的进气孔,所述防水透气膜于所述壳体内覆盖在所述进气孔一侧。本实用新型的氢气传感器,适用于新能源汽车车内等环境的氢气含量监测,具有响应迅速、选择性好、稳定性高、检测范围宽、使用寿命长、抗冲击及震动能力强等突出优点。

标签:
新能源
广东 - 深圳 来源:中冶有色网 2023-03-18
交流电压信号检测电路

本实用新型公开了一种交流电压信号检测电路,其具有差分运算模块,其两个输入端分别连接第一和第二交流信号输入端、其输出端连接信号输出端。与现有技术相比,本实用新型对AC交流电压电压直接处理并进行AC交流电压的检测,减少了AC交流电压整流转换为DC直流电压的过程,同时消除了现有技术中半导体器件对检测电路的影响。本电路成本低、检测控制精度高,实用性强、性能优良、电源转换效率高、操作简单、安全系数好、对电源本身无破坏性。本实用新型可广泛地应用于电源领域,尤其适用于开关电源、线性稳压电源、UPS电源、新能源光伏逆变器或类似的电源产品。

标签:
新能源
广东 - 深圳 来源:中冶有色网 2023-03-18
放电电路、电机控制器、车载充电设备以及车载DC/DC设备

本实用新型公开了一种放电电路,其包括:负反馈恒流放电单元,用于对母线电容放电,所述负反馈恒流放电单元连接在所述母线电容的两端;控制单元,用于控制所述负反馈恒流放电单元执行放电,所述控制单元与所述负反馈恒流放电单元连接。本实用新型应用于新能源汽车中,通过实施本实用新型实施例,可控制放电电流大小,放电速度快,体积小,成本低,可靠性高。另外本实用新型还公开了一种电机控制器、车载充电设备以及车载DC/DC设备,所述电机控制器、车载充电设备以及车载DC/DC设备中均包括有所述放电电路,通过所述放电电路对母线电容执行放电。

标签:
新能源
广东 - 深圳 来源:中冶有色网 2023-03-18
上一页 9 10 11 12 13 ... 116 下一页
共116页    到第

中冶有色为您提供最新的广东深圳有色金属新能源材料技术理论与应用信息,涵盖发明专利、权利要求、说明书、技术领域、背景技术、实用新型内容及具体实施方式等有色技术内容。打造最具专业性的有色金属技术理论与应用平台!

全国热门有色金属设备推荐
展开更多 +
全国热门有色金属技术推荐
展开更多 +

 

江西省隆恩特环保设备有限公司
宣传

报名参会
更多+

报告下载

有色专家
更多+

南方科技大学
外籍院士
辽宁忠旺集团
教授级高工
有研资源环境技术研究院(北京)有限公司
副总经理/教授级高工
重庆大学
副院长/教授
长沙有色冶金设计研究院有限公司
正高级工程师/中国铝业首席工程师/全国有色金属行业设计大师/国家注册采矿工程师
赤泥综合利用研究报告2025
推广

热门技术
更多+

推荐企业
更多+

福建省金龙稀土股份有限公司
宣传

发布

在线客服

公众号

电话

顶部
咨询电话:
010-88793500-807