青岛垚鑫智能科技有限公司
宣传

位置:中冶有色 >

有色技术频道 >

分类:
全部
矿山技术
冶金技术
材料制备及加工技术
环境保护技术
分析检测技术
 
全部
废水处理技术
大气治理技术
固/危废处置技术
土壤修复技术
地区:
全部
北京
天津
上海
重庆
河北
山西
辽宁
吉林
黑龙江
江苏
浙江
安徽
福建
江西
山东
河南
湖北
湖南
广东
海南
四川
贵州
云南
陕西
甘肃
青海
内蒙
广西
西藏
宁夏
新疆
其他
其他
展开
 
全部
其他

其他有色金属环境保护技术理论与应用

免费发布技术信息>>
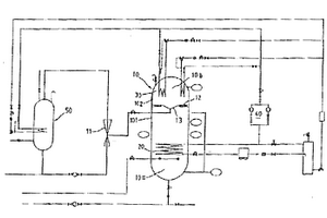
挥发性废水处理系统
挥发性废水处理系统 1164     
 0

一种挥发性废水处理系统,包含离心式气液分离装置及高温分解装置。离心式气液分离装置包含壳体、离心筒槽、废水输入端、废水输出端、气体输入端及气体输出端。壳体中设置离心筒槽。挥发性废水从废水注入端注入离心筒槽中,离心筒槽分离挥发性废水离心为挥发性气体及非挥发性废水,非挥发性废水由废水输出端排出,气体输入端输入空气至离心筒槽中,空气带动挥发性气体一起从气体输出端排出。高温分解装置接收空气及挥发性气体,高温分解处理空气及挥发性气体成无害气体后排出至大气。以此减少设备的建置费用,并能减少副产物及耗能。

标签:
废水处理
其他 - 其他 来源:中冶有色网 2023-03-19
半导体工艺废水之处理方法

本发明提供一种由数股半导体工艺废水汇集成的综合废水的处理方法,该综合废水不含NH4F/HF缓冲的氧化物蚀刻液(Buffered Oxide Etch solution)废水(简称NH4F/F-废水),而基本上含有氧化剂、有机物、无机物、及氨氮杂质。首先对该综合废水进行去氧化剂处理;接着以无氧微生物分解方式进行处理,使其中所含的杂质被部份分解;再以有氧微生物分解方式进行处理,使残留于其中的有机物及氨氮被进一步分解,而得到可回收或排放的废水。本发明方法进一步包含对NH4OH淋洗废水、TMAH黄光工艺废水、或NH4F/F-废水进行个别处理的步骤,及将此等个别处理所得到废水整合于该综合废水的处理方法。

标签:
废水处理
其他 - 其他 来源:中冶有色网 2023-03-19
处理酸性和金属废水的方法

一种处理酸性和金属废水,尤其是来自酸浸装置的冲洗水和/或废酸的方法,包括加入一种碱性溶液或气体并结合废水中的游离酸,随后将废水分成一个具有低金属含量的第一部分水流和一个具有高金属含量的第二部分水流。为了实现一个较为经济的具体实施方案,特别是就有利的能量损耗而言,也为了尽可能地减少硝酸盐负载,将游离酸与加入的氨溶液或气体结合,而具有高金属含量的部分水流被送入再生设备,在那里进行高温水解处理,优选喷雾焙烧。

标签:
废水处理
其他 - 其他 来源:中冶有色网 2023-03-19
由用硝化酸硝化甲苯制备二硝基甲苯得到的工艺废水蒸馏分离二硝基甲苯的方法

本发明涉及一种由用硝化酸硝化甲苯制备二硝基甲苯得到的工艺废水蒸馏移除二硝基甲苯的方法,其特征在于,将工艺废水碱化至PH值>8.5,将其供入汽提塔的上部并且用蒸汽对其逆流汽提以获得载有二硝基甲苯的蒸气流以及与所用工艺废水相比,贫二硝基甲苯的底部物流。

标签:
废水处理
其他 - 其他 来源:中冶有色网 2023-03-19
通过热氧化处理污水和废水的方法和系统

本发明提供了通过热氧化处理污水和废水的方 法,它包括的步骤为:在储槽中收集和沉积污水和废水;向污水 和废水中加入100-5, 000毫克/升的第一氧化剂;在40-90 ℃下,使污水和废水与第一氧化剂在第一真空反应池中反应 15-45分钟,同时进行搅拌;过滤所得的污水和废水。从而对 防止水质污染和保护大自然作出了的贡献。

标签:
废水处理
其他 - 其他 来源:中冶有色网 2023-03-19
废水净化方法
废水净化方法 790     
 0

描述了一种污水净化装置,特别是小型污水净化装置,其具有至少一个废水活化池和/或具有至少一个废水二次澄清池,所述活化池和/或二次澄清池中充有自由悬浮在废水中的成型体,所述装置的特征在于其具有至少一个用于废水净化的过滤装置,此过滤装置包括至少一个用于分离微生物的陶瓷基膜。此外还描述了一种净化废水的方法,包括在至少一个活化池中用微生物对废水进行生物净化和/或包括在至少一个澄清池中对废水进行二次澄清,其中所述至少一个活化池和/或所述至少一个二次澄清池中充有用于净化的成型体,特征在于借助于至少一个陶瓷基膜将位于废水中的微生物分离出来。

标签:
废水处理
其他 - 其他 来源:中冶有色网 2023-03-19
废水的处理方法
废水的处理方法 911     
 0

一种从含有高浓度的硼的废水中高效地除去硼的方法,以及当废水除了硼之外还包含碘时,在除去硼之后有效除去碘的方法。该废水处理方法包括:将包含碘和/或碘离子、以及硼和/或硼离子的废水的pH值调节到8~14的步骤;使得上述硼和/或硼离子的浓度(换算成硼)达到0.5质量%或以上的浓缩步骤;通过在冷却上述浓缩步骤中得到的液体的同时将液体的pH值调节到1~7使硼成分析出的步骤;和除去上述使硼成分析出的步骤中得到的析出物,分离硼和/或硼离子的步骤。

标签:
废水处理
其他 - 其他 来源:中冶有色网 2023-03-19
产生最少量废水的二羧酸制备方法

本发明提供改善的来自二甲苯氧化反应废气的能量含量和轴功率回收,同时使废水处理成本最小化。即使当使用优选的、相对低的氧化温度时,利用废气产生比需要驱动主空气压缩机更多的轴功率。同时,将大于来自二甲苯氧化反应的副产物水的废水量以蒸气形成保留并且与废气污染物在自驱动(自供燃料)气相热氧化分解装置中一同处理。任选地,废气合并自多级二甲苯氧化反应器,包括初级和/或次级氧化反应器且生成TPA和/或IPA的反应器。任选地,空气压缩机冷凝物和碱洗气器排放物被用于TPA工艺或用作有效去除来自TPA工厂的液态废水流出物常规流的公共用水。任选地,在共用热氧化分解装置中处理含有PET生成水的PET废气,有效地除去来自组合pX至TPA至PET工厂的液态废水流出物常规流。

标签:
废水处理
其他 - 其他 来源:中冶有色网 2023-03-19
处理酸性废水的系统和方法

一种包含分离单元操作的废水处理系统,通过控制进入分离单元操作的待处理废水的pH来抑制或促进物质的形成和沉淀。分离单元操作包含第一和第二反渗透设备。第一反渗透设备处理pH低于约3.5的废水,第二反渗透设备处理来自第一反渗透装置的pH约为6或更高的废水。

标签:
废水处理
其他 - 其他 来源:中冶有色网 2023-03-19
含氟废水处理的方法
含氟废水处理的方法 933     
 0

一种含氟废水的处理方法,首先,对该废水进行第一次氟离子浓度检测,接着依序对废水进行两次钙盐添加,以与废水中的氟离子反应生成氟化钙沉淀而自废水中去除,并再进行第二次氟离子浓度检测,其中第一次钙盐添加量与第二次钙盐添加量系分别由第一次氟离子浓度检测与第二次氟离子浓度检测的结果来决定。

标签:
废水处理
其他 - 其他 来源:中冶有色网 2023-03-19
用于在容器内的废水和液体之间进行热量传递的方法及装置

本发明涉及一种方法,用于借助于由液体流过的热交换器(46)来进行在容器内的废水和液体之间的热传递,所述热交换器具有被废水接触的外表面(48),其中在废水中将产生对流,该对流使得废水沿着外表面(48)运动。在此,废水流过容器,并且所产生的对流用作清洁废水的辅助措施,同时也用于清洁热交换器(46)的外表面(48)。本发明还涉及一种装置,用于借助于由液体流通的热交换器(46)来传递在处于容器中的废水和液体之间的热量,所述热交换器具有被废水接触的外表面(48),其中在废水中设置有用于压入空气的扩散管道(34)和/或搅拌机,它们都将产生对流,该对流使得废水沿着外表面运动。容器是废水处理设施的由废水流过的水处理池。

标签:
废水处理
其他 - 其他 来源:中冶有色网 2023-03-19
废水处理中受控的同时硝化和反硝化

本发明涉及一种用于控制废水处理方法的好氧阶段期间的曝气率的方法,包括:(a)在时刻U测量曝气的废水和微生物污泥的混合物中的铵浓度[NH4+]1和氮氧化物浓度[NOx]1;(b)基于至少当前铵浓度[NhVJi和当前NOx浓度[NOx]F1,确定在好氧阶段结束时的氮氧化物目标浓度[NOx]F1;(c)基于[NOx]1和[NOx]F1之间的插值确定设定点[NOx]SP1;(d)调整曝气率以最小化[NOx]1和[NOx]SP1之间的误差;和(e)在进一步的时刻ti重复步骤(a)至(d)。本发明还涉及一种用于废水处理的方法,包括:(A)在反应器区中使废水与微生物污泥接触;(B)对废水和污泥的混合物曝气;(C)根据本发明控制曝气率;和(D)从处理后的废水中分离污泥。最后,本发明涉及监测氮氧化物和铵浓度用于控制废水处理期间好氧阶段的曝气率的用途。

标签:
废水处理
其他 - 其他 来源:中冶有色网 2023-03-19
充气装置以及利用该装置的废水处理方法

本发明提供废水处理场和鱼类养殖场等使用的充气装置和废水处理方法。充气装置由搅拌机、喷射器、泵和充气水流引导管组成。搅拌机设置在下部深水处,喷射器的空气供给管设置在反应槽上部浅水处,泵具有吸入口和喷出口。在此装置中,喷射器吸入空气,由泵经过充气水流引导管压到深水处,吸入的空气与搅拌机的旋转叶片碰撞并喷出,对反应液进行充气和搅拌。该装置具有间歇充气功能,节约设施费和维护费,所有驱动部分都在水中运行,因此升高水温从而提高反应效率,并无噪音地安静运行。本发明的废水处理方法是把充气装置用于废水处理工艺中,可选择多种运行模式运行,以主动应对运行条件变化,对流入C/N比低的废水高效脱氮和脱磷。

标签:
废水处理
其他 - 其他 来源:中冶有色网 2023-03-19
含有机物废水处理设备
含有机物废水处理设备 1020     
 0

本实用新型涉及废水处理设备技术领域,并提供一种含有机物废水处理设备,包括废水槽、触媒反应槽、输送管路与氧化剂供应装置,输送管路连接于废水槽与触媒反应槽之间,氧化剂供应装置的氧化剂供应管路直接连接于废水槽与触媒反应槽之间的输送管路。根据本实用新型的含有机物废水处理设备,由于氧化剂供应装置的氧化剂供应管路直接连接于废水槽与触媒反应槽之间的输送管路,因此可将氧化剂直接供应到输送管路内的含有机物废水中进行混合,而非将氧化剂与含有机物废水在槽体中进行混合,从而可有效地减少氧化剂与含有机物废水中的无机盐类的反应,使得氧化剂能够直接与触媒进行反应,进而提升有机物的处理效率。

标签:
废水处理
其他 - 其他 来源:中冶有色网 2023-03-19
印染废水零排放处理装置

本发明提供一种印染废水零排放处理装置,包括废水处理装置、回用装置、浓缩装置和结晶装置;废水处理装置用于将印染废水处理达到国家排放标准;废水处理装置的出水口与回用装置的进水口相连;回用装置包括依次连接的超滤、臭氧发生器、生物活性炭装置、紫外线杀菌装置、活性炭过滤器及苦咸水反渗透装置;苦咸水反渗透装置的浓缩水出口与浓缩装置的进水口连接;浓缩装置为依次连接的反渗透装置和纳滤装置;反渗透装置的浓缩水出水口与纳滤装置的进水口连接;纳滤装置的浓缩水出水口与结晶装置的进水口连接;结晶装置为蒸发装置,除去水得到固化物。该装置能从废水处理到回收、浓缩、结晶,最终实现印染废水的零排放处理。

标签:
废水处理
其他 - 其他 来源:中冶有色网 2023-03-19
用于净化废水的微气泡型扩散器

根据本发明的用于净化废水的微气泡型扩散器,能够当将流入废水腔室内部的增压废水喷射到与废水腔室隔离的混合腔室时,通过由于流经间隙的空气的流入速度的增加而引起的废水和空气之间的接触面积的增加来提高废水与空气的混合效率。用于净化废水的微气泡型扩散器包括:管状主体,其上部分和下部分是敞开的;上盖,覆盖主体的上部分以在其中形成废水腔室;下盖,覆盖主体的下部分以在其中形成气体停留腔室和混合腔室;喷射器,安装在主体的下部分和下盖之间,其中喷射器包括板和多个喷嘴头,喷嘴头形成在板的中心部分以限定用于将废水喷射到混合腔室的倾斜废水通道,流经空气进入通道的空气和从喷嘴头喷射的废水彼此搅拌和相撞以流入到混合腔室中。

标签:
废水处理
其他 - 其他 来源:中冶有色网 2023-03-19
含有有机物的废水的处理装置和处理方法

提供了一种含有有机物的废水的处理装置和处理方法,该装置和方法能有效并且充分地分解废水中含有的有机物。提供了一种含有有机物的废水的处理装置,包括氧溶解装置和流动床式生物反应器,氧溶解装置是在通过电解处理和/或凝聚处理对废水中含有的难分解性有机物进行初步处理之后、用于氧溶解的装置,流动床式生物反应器是用于对由该氧溶解装置提供的溶解了接近饱和状态的氧的废水进行处理的装置,以及一种含有有机物的废水的处理方法,其特征在于通过氧溶解装置使氧在通过电解处理装置和/或凝聚处理装置对含有有机物的废水进行一次处理以后获得的初步处理废水中溶解至接近饱和状态,接着将该溶解了接近饱和状态的氧的废水提供给流动床式生物反应器进行微生物处理。

标签:
废水处理
其他 - 其他 来源:中冶有色网 2023-03-19
含氨废水的回收处理方法及其设备

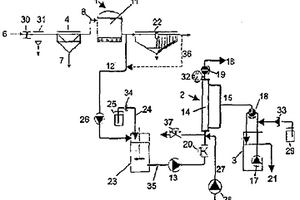
本发明提供一种含氨废水的回收处理方法及其设备,所述回收处理方法包括下列步骤:先将含氨废水调整为酸性废水,再利用反渗透膜从酸性废水离析出高浓度废水。然后,在高浓度废水中加入碱性溶剂以生成氨气,再利用酸性溶剂与氨气反应便能够生成并且回收铵化合物。本发明还提供一种含氨废水的回收处理设备。形成于第一pH值调整槽中的酸性废水经由反渗透膜离析出高浓度废水之后,再于第二pH值调整槽中将高浓度废水的pH值调整为碱性,以生成氨气。然后,氨气会在分离装置中与酸性溶剂反应而生成铵化合物。之后,再将铵化合物回收于回收槽中。

标签:
废水处理
其他 - 其他 来源:中冶有色网 2023-03-19
废水回收的处理方法及其装置

一种废水回收处理的方法及其装置,在真空蒸馏的处理过程中,利用冷媒介在反应器与热交换器之间循环运行,加热废水使其蒸发的能源和用来冷却蒸汽使其冷凝的能源是以回路进行热交换,电能只限于压缩机的推动能和电控的电能,将能源利用达到最佳化;废水处理装置是由反应器及加热和蒸发废水的热交换器,及重新冷凝蒸汽的热交换器所组成,利用循环式的压缩器将冷凝器内含有相应能量的冷媒介经过回路传送到蒸发器。

标签:
废水处理
其他 - 其他 来源:中冶有色网 2023-03-19
用于水的扩散曝气和废水处理

一种用于处理废水的系统,其包括:至少一个水处理路径,具有至少一个废水入口、用于将路径的内部与外部空气隔开的至少一个氧气可透过且水不可透过的壁部、以及至少一个已处理废水出口,并且水处理路径被布置为用于当废水从至少一个废水入口流至至少一个已处理废水出口时至少对废水进行需氧处理;至少一个废水供应管道,将废水供应至水处理路径的至少一个废水入口,以及至少一个已处理废水管道,从至少一个水处理路径的至少一个已处理废水出口供应已处理废水。

标签:
废水处理
其他 - 其他 来源:中冶有色网 2023-03-19
废水处理
废水处理 1128     
 0

本发明概括地涉及废水处理,还涉及控制气味和降解废水中所含有的化合物的方法,特别是通过向废水添加包含总状毛霉、淡紫色拟青霉、焦曲霉或非钩木霉的菌株的废水组合物。

标签:
废水处理
其他 - 其他 来源:中冶有色网 2023-03-19
用于从水和废水减少硫化物的方法

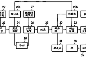
本申请涉及从废水流除去硫化物的方法。所述废水流的pH被调节为7.0‑8.0。将第一氧化剂与所述废水流混合,氧化所述硫化物为元素硫。所述废水流然后通过将石灰与所述废水流混合而软化。添加石灰还升高所述废水流的pH至10.0或更高,并将所述元素硫转变成可溶性硫化物(S2‑)和/或硫代硫酸盐。碳酸钙被沉淀,而硫化物(S2‑)和/或硫代硫酸盐被吸附于其上。此后,所述废水流被导向固‑液分离过程,后者从所述废水流分离所述碳酸钙和吸附的硫化物(S2‑)和/或硫代硫酸盐。固‑液分离器产生包含残留元素硫的排出物。然后将排出物与第二氧化剂混合,后者将所述残留元素硫氧化为硫酸盐,产生经处理的排出物。

标签:
废水处理
其他 - 其他 来源:中冶有色网 2023-03-19
用于处理含油废水的方法和设备

本发明涉及一种用于处理含油废水,尤其是金属加工用的运行冷却润滑剂的方法,其中,含油废水存储在至少一个废水存储容器(1a-1e)中并且尤其通过密度测定自动地确定含油废水的含水量和/或含油量,其中,根据含油量受控地将含油的废水导入再利用容器(11)中或第一废水处理级(4)或第二废水处理级(5)中,并且这样选择含油量的第一阀值S1和第二阀值S2,使得将含油量≥S1的废水导入再利用容器(11)中,以便进一步回收,将含油量≥S2并且<S1的废水导入第一废水处理级(4)中,在该第一废水处理级(4)内通过水的蒸发而增大含油量,将含油量<S2的废水导入第二废水处理级(5),在该第二废水处理级(5)内尤其通过超渗滤而增大含油量。本发明还涉及一种适合用于实施该方法的设备。

标签:
废水处理
其他 - 其他 来源:中冶有色网 2023-03-19
含氟废水处理方法及其处理剂

一种含氟废水处理方法及其处理剂,在已移除悬浮固体物的含氟废水中,适当地调整所述含氟废水的酸碱值,使所述含氟废水中的阳离子形成金属氢氧化物沉淀并予以滤除。再通过加入一种由含铝化合物、含钠化合物以及含氯化合物(也就是酸性化合物)所组成的处理剂,所述处理剂与所述含氟废水中的氟离子反应形成具经济价值的冰晶石沉淀,从而有效除去废水中的氟离子及其它含氟化合物。而处理后的废水水质良好且酸碱值适当,可直接排放或回收再利用,能有效降低对于环境的不良影响,并能符合环保要求。

标签:
废水处理
其他 - 其他 来源:中冶有色网 2023-03-19
具废水过滤功能的尿素水生产设备

本实用新型涉及一种具废水过滤功能的尿素水生产设备,其包含有一个尿素水生产装置;一个再生装置,该再生装置与尿素水生产设备相连接,又该再生装置设有一个废水排出口;一个过滤回收装置,该过滤回收装置内包含有一个废水暂存桶与一个过滤装置,其中该废水暂存桶分别与该再生装置的废水排出口及过滤装置相连接,又该过滤装置也与尿素水生产装置相连接;本实用新型通过设置该过滤回收装置,而可将该尿素水生产装置完成再生后所产生的废水过滤为只含尿素的回收水,可达到废水回收再利用及废水零排放的目的,进而使本实用新型可达到提升环保效果及降低生产成本的功效。

标签:
废水处理
其他 - 其他 来源:中冶有色网 2023-03-19
用来感测废水处理池中的污泥的沉淀密度的设备及其方法

本发明涉及一种用来感测废水处理池中的污泥的沉淀密度的设备,更特别地,涉及一种用来精确获取在废水处理池中沉淀的污泥的密度而不被污泥污染的设备和方法。本发明的用来感测废水处理池中的污泥的沉淀密度的设备包括:容器,该容器为底部敞开的管状,并且在其中填充有气体的情况下浸没在废水中;以及传感器,该传感器安装在所述容器内的空间中,并且在不直接接触废水的情况下感测污泥密度。

标签:
废水处理
其他 - 其他 来源:中冶有色网 2023-03-19
畜场用的原废水固、液分离装置

本实用新型是有关于一种畜场用的原废水固、液分离装置,具有一原废水集收桶,在原废水集收桶内设有一盖板并藉以区分上容纳部和下容纳部;在该盖板设有一导流口连通该上容纳部和该下容纳部,在该下容纳部上、下端分别设有排出口和排水孔连通于外。畜场原废水由原废水集收桶的上容纳部经导流口进入下容纳部,在下容纳部的原废水经发酵会致上浮污泥自动由上端排出口排出集收,而沉淀后的废水可由下端排水孔顺畅排出实施过滤。该分离装置可使畜场的原废水具有高效率、经济性和环保性的自动固、液分离排出效果。

标签:
废水处理
其他 - 其他 来源:中冶有色网 2023-03-19
用于处理废水的方法
用于处理废水的方法 1130     
 0

本发明涉及用于处理废水的方法。这是通过使用聚集含磷物质的凝结剂实现的。方法包括以下步骤:执行反应阶段,其具有生物处理阶段和后续的化学处理阶段。化学处理阶段包括:混合废水(5)同时将预定剂量的凝结剂注入(17)到池(1)中的第一子步骤,在其中废水速度等于或大于0.5m/s的位置处进行注入,以便使凝结剂接触和凝结含磷物质,其中将所述剂量的结合化合物注入到池(1)中是在这样的时间段期间进行的,其等于或大于完成废水(5)的两次混合周转所要求的时间段并且等于或小于完成废水(5)的七次混合周转所要求的时间段;和混合废水(5)使得池(1)中的废水(5)的平均速度等于或大于0.1m/s并且等于或小于0.4m/s,以便絮凝凝结的物质的第二子步骤。

标签:
废水处理
其他 - 其他 来源:中冶有色网 2023-03-19
废水处理方法和装置
废水处理方法和装置 983     
 0

本发明涉及一种废水净化方法和装置,其中在固定床(1)中,特别是在滴滤阶段,对待净化的废水(6)进行生物净化,对固定床(1)的出水(12)进行死端式膜过滤(2),并通过反冲洗除去截留的固体。用这种方式,可确保废水(6)在固定床(1)中被净化到净化后的废水水质可作为非饮用水,特别是用于灌溉的可重新利用的程度。此外,采用死端式膜过滤的优点是,与交叉流膜过滤方式相比,其能量消耗低,且死端式膜过滤装置占据的空间比传统的最终沉淀池和砂滤池要小。

标签:
废水处理
其他 - 其他 来源:中冶有色网 2023-03-19
除去废水中的悬浮物及其它物质的方法

本发明提供一种为除去污染物而在反应器中进 行废水处理的方法, 该方法包括 : 将废水和生物质混合, 这些生物 质是用于消耗一定量的污染物或吸收污染物; 在废水中掺混一 种微粉沸石材料; 将沸石材料和生物质混合; 使固体物质从废水 中沉降出来; 将得到的流出物排放出来, 其中大部分的微粉沸石 材料的粒径小于或等于100μm。本发明还提供一种在废水处 理过程中将固体物质从废水中分离出来的优化方法, 该方法包 括 : 将多种废水样品稀释成不同的稀释液, 以形成多种稀释样品 对每一种稀释样品都测定未搅拌的污泥体积指数(SVI); 将这些 未搅拌的污泥体积指数测定值外推到污泥浓度基本是零时以 得到零浓度指数; 将零浓度指数乘以废水中的固体物质浓度以 得到表示废水质量的无单位的参数; 控制该工艺以使该参数最 小化。

标签:
废水处理
其他 - 其他 来源:中冶有色网 2023-03-19
上一页 104 105 106 107 108 ... 117 下一页
共117页    到第

中冶有色为您提供最新的其他有色金属环境保护技术理论与应用信息,涵盖发明专利、权利要求、说明书、技术领域、背景技术、实用新型内容及具体实施方式等有色技术内容。打造最具专业性的有色金属技术理论与应用平台!

全国热门有色金属设备推荐
展开更多 +
全国热门有色金属技术推荐
展开更多 +

 

江西省隆恩特环保设备有限公司
宣传

报名参会
更多+

报告下载

有色专家
更多+

长春黄金研究院有限公司
总经理
矿冶科技集团江苏北矿金属循环利用科技有限公司
书记 / 总经理
太原理工大学
院长/教授
江西理工大学
副校长/教授
紫金矿业信息化研发中心
副总经理
赤泥综合利用研究报告2025
推广

热门技术
更多+

推荐企业
更多+

福建省金龙稀土股份有限公司
宣传

发布

在线客服

公众号

电话

顶部
咨询电话:
010-88793500-807