青岛垚鑫智能科技有限公司
宣传

位置:北方有色 >

有色技术频道 >

> 固/危废处置技术

分类:
全部
矿山技术
冶金技术
材料制备及加工技术
环境保护技术
分析检测技术
 
全部
废水处理技术
大气治理技术
固/危废处置技术
土壤修复技术
地区:
全部
北京
天津
上海
重庆
河北
山西
辽宁
吉林
黑龙江
江苏
浙江
安徽
福建
江西
山东
河南
湖北
湖南
广东
海南
四川
贵州
云南
陕西
甘肃
青海
内蒙
广西
西藏
宁夏
新疆
其他
其他
展开
 
全部
南京
无锡
徐州
常州
苏州
南通
连云港
淮安
盐城
扬州
镇江
泰州
宿迁

江苏南京有色金属固/危废处置技术理论与应用

免费发布技术信息>>
固体环氧树脂增韧聚酯的制备方法

本发明公开了一种固体环氧树脂增韧聚酯的制备方法,步骤如下:称取对苯二甲酸、多元醇混合物和酯化催化剂混合,加热搅拌,在175-185℃条件下进行酯化反应,并于3.5-4.5h升温至250-260℃,将产生的水排出,向混合物中加入消泡剂,控制真空度小于-0.08MPa,抽真空3-5h,冷却出料,即得产品,所述多元醇混合物是亚烷基二醇和有机废液的混合物,所述的有机废液为环氧树脂活性稀释剂的副产物饱和盐水蒸发析盐后回收的多羟基有机化合物。本发明充分利用制备固体环氧树脂活性稀释剂产生的有机废液作为原料之一进行固体环氧树脂增韧聚酯的制备,不仅节约生产成本,提高企业生产的经济效益,而且有效避免有机废液直接排放,从而实现废弃物的资源化利用,具有一定的经济效益和社会效益。

标签:
固废
江苏 - 南京 来源:北方有色网 2023-03-19
利用食用菌菌渣固体发酵产γ-聚谷氨酸的方法

本发明公开了一种利用食用菌菌渣固体发酵产γ-聚谷氨酸的方法,该方法包括如下步骤:(1)固体菌剂的制备:收集γ-聚谷氨酸发酵液中的菌体,并与载体混合,干燥,即得固体菌剂;(2)固体发酵:将步骤(1)得到的固体菌剂接种到发酵培养基中,混合均匀,发酵制备γ-聚谷氨酸;所述的发酵培养基由固体基质和外源添加物组成,所述的固体基质为食用菌菌渣与味精粕的混合物。与现有的固体发酵生产γ-聚谷氨酸技术相比,本发明不仅能高效地生产γ-聚谷氨酸,而且农业废弃物的利用大大降低了生产成本,同时也为这些废弃物的处理找到了新的出路,避免带来的环境污染问题。因此,本发明是一种高效率、低成本、绿色环保的生物反应过程,具有良好的工业化应用前景。

标签:
固废
江苏 - 南京 来源:北方有色网 2023-03-19
以提钾后固体渣为原料无模板制备ZSM-5分子筛的方法

本发明公开了一种以提钾后固体渣为原料无模板制备ZSM‑5分子筛的方法。所述方法采用无模板法,以富钾板岩经选矿、焙烧、浸出,浸出液通碳提钾后产生的固体渣作为硅源,加入碱源、水和铝源,混合均匀后晶化、洗涤、干燥,得到ZSM‑5分子筛。本发明以来源广泛、价格低廉的富钾板岩提钾后产生的固体渣反应原料为硅源,采用无模板法制备ZSM‑5,避免高温焙烧分解模板剂造成的高能耗及环境污染件,工艺简单,成本低廉,同时可实现工业固废和天然矿物的高附加值利用。

标签:
固废
江苏 - 南京 来源:北方有色网 2023-03-19
带有推拉结构的固体垃圾处理装置

本实用新型公开一种带有推拉结构的固体垃圾处理装置,包括一固定放置的挤压筒体;所述的挤压筒体的上方设置有一配合使用的挤压装置,该挤压装置的挤压杆上安装有挤压板,该挤压板与挤压筒体的挤压口相对应;且所述的挤压筒体的筒口设置有向外侧延伸的喇叭口结构,且喇叭口结构的两侧还设置有上料装置。本装置先通过推拉气缸控制封堵耐压板将挤压筒体的下端封堵住,上料装置先将固废上料到挤压筒体内,再通过上方的挤压装置将挤压筒体内的固废进行挤压,待挤压完成后,推拉气缸再控制封堵耐压板从两侧拉开后,挤压成型的固废体就直接落入到下方的固废填埋坑中,完成上料和挤压处理的工作,整体结构原理清楚,操作使用方便。

标签:
固废
江苏 - 南京 来源:北方有色网 2023-03-19
含有固废煤渣的轻质保温墙板及制备工艺

一种轻质保温墙板,它的组成为煤渣、膨润土、聚丙烯酰胺、聚丙烯酰氧乙基三甲基氯化铵、硅酸钠、聚乙烯醇、丁二醇、硅烷偶联剂、聚氨酯颗粒和高铝水泥;所述的保温墙板的保温层由有序排列的用等离子表面处理过的表面改性聚氨酯颗粒组成,耐火层由包裹在聚氨酯颗粒表面的由聚丙烯酰胺和聚丙烯酰氧乙基三甲基氯化铵改性的煤渣粉粒和填充在复合聚氨酯颗粒空隙间的高铝水泥组成。本发明以废弃的煤渣作为无机耐火材料,经等离子表面处理机改性后的聚氨酯颗粒作为保温材料,既实现了废物回收利用,又使用机械物理方法处理聚合物表面,减少了有机添加剂的种类和数量上的使用,制得的墙板质轻,保温耐火效果显著。本发明公开了其制法。

标签:
固废
江苏 - 南京 来源:北方有色网 2023-03-19
节能高效的固体催化剂雾化干燥系统

本发明涉及一种节能高效的固体催化剂雾化干燥系统,包括立式圆柱体结构的干燥塔、电动高速离心雾化器、上料装置、加热装置、风湿冷却装置、出料装置、废气回收利用装置、清洗装置和智能化控制柜,电动高速离心雾化器安装在干燥塔的顶端内部中心轴线上,上料装置连接至干燥塔的进料口,加热装置的前端设置有空气过滤器,出料装置设置在干燥塔底部,风湿冷却装置前端设有冷冻除湿机,废气回收利用装置通过废气回收塔将废气送至干燥塔塔体外侧周围,智能化控制柜对系统的整个工作过程进行集中自动控制。整个系统控制和管理方便,干燥效率高,节能效果好,并避免了废气对大气环境造成的污染。

标签:
固废
江苏 - 南京 来源:北方有色网 2023-03-19
固废烟气在线监测分析装置

本实用新型属于分析仪器设备技术领域,具体涉及一种实时监测垃圾燃烧后排放烟气中NO、NO2、CO、CO2、HCL、SO2等有害气体的分析装置。包括依次联接的采样单元、预处理单元、分析单元、标定单元、吹扫单元及数据处理单元,其特征是分析单元之前设置有压力传感器,分析单元包括FTIR红外分析仪和氧化锆传感器。本实用新型可以实时监测分析垃圾燃烧后排放烟气中NO、NO2、CO、CO2、HCL、SO2等有害气体,全程高温防止水汽冷凝,减少烟气对监测系统的腐蚀,水分成蒸汽状态,也减少易溶性气体在管道中吸附,组分损失小,增加了检测精度。FTIR傅里叶红外分析仪有很强的扩展能力,可以根据要求增加分析组分。

标签:
固废
江苏 - 南京 来源:北方有色网 2023-03-19
固废填埋场地电导率监测装置

本实用新型设计了一种固废填埋场地电导率监测装置,包括:电导率检测仪、保护箱和箱盖,所述电导率检测仪放置于保护箱内部,所述电导率检测仪顶部一侧安装有磁力搅拌器,位于所述磁力搅拌器一侧的所述电导率检测仪顶部设有凹槽,所述凹槽底部通过铰接件安装有伸缩杆,所述伸缩杆末端通过连接件与转轴一端连接,所述转轴另一端与锁紧旋钮连接,所述转轴和伸缩杆均与连接件内部滑动连接,所述转轴上焊接有套筒,所述套筒内设有内螺纹,所述内螺纹与检测笔上的外螺纹相卡合,所述检测笔顶部设有限位块。本实用新型便于携带、使用方便。

标签:
固废
江苏 - 南京 来源:北方有色网 2023-03-19
固废多循环耦合协同处理装置

本实用新型涉及废料处理技术领域,特别涉及一种固废多循环耦合协同处理装置,包括回转焚烧装置、废液焚烧装置、分级焚烧装置、碳化焚烧装置、二燃室和尾气分子裂解装置,回转焚烧装置、二燃室与尾气分子裂解装置位于同一条直线上,回转焚烧装置与二燃室连接,二燃室与尾气分子裂解装置连接,废液焚烧装置位于回转焚烧装置的旁侧,分级焚烧装置位于废液焚烧装置的旁侧,回转焚烧装置和废液焚烧装置均与分级焚烧装置连接,碳化焚烧装置位于回转焚烧装置的下方,并且碳化焚烧装置与回转焚烧装置连接。本实用新型能够针对不同物料,既可以分级燃烧,也可以窑内燃烧,以达到焚烬效果。尾气分子裂解装置能够进一步去除包括二噁英在内的有害物质。

标签:
固废
江苏 - 南京 来源:北方有色网 2023-03-19
建筑固废的残渣处理装置

本实用新型公开了一种建筑固废的残渣处理装置,包括处理箱,所述处理箱的内腔固定安装有破碎轮,所述破碎轮的下方固定安装有排料斗,所述排料斗的下方设置有筛料装置,所述筛料装置不少于两组,所述处理箱的内腔底部设置有废料箱,所述废料箱位于筛料装置的下方,所述筛料装置包括运输板、从动轮以及主动轮,所述运输板的表面固定安装有若干电磁铁,所述处理箱的两侧箱壁上设置有开口,所述筛料装置一端从开口向外延伸,所述从动轮固定安装于处理箱箱体的内壁上,所述主动轮通过支架固定安装于处理箱的外部,所述处理箱的外壁上固定安装有分料挡板,本实用新型的有益效果:减去了人工分料的繁琐程序,节约了人力资源,提高了分料的效率。

标签:
固废
江苏 - 南京 来源:北方有色网 2023-03-19
综合利用工业固废的系统

本实用新型公开了一种综合利用工业固废的系统。该系统包括混合装置,设有有色冶金渣入口、赤泥入口、电石渣入口和混合料出口;成型装置,设有混合料入口和球团出口,混合料入口与混合装置的混合料出口相连;氧化焙烧装置,设有球团入口、氧化性气体入口和氧化球团出口,球团入口与成型装置的球团出口相连;还原焙烧装置,设有氧化球团入口、还原性气体入口和碎裂球团出口,氧化球团入口与氧化焙烧装置的氧化球团出口相连;冷却装置,设有碎裂球团入口和粉化料出口,碎裂球团入口与还原焙烧装置的碎裂球团出口相连;磁选装置,设有粉化料入口、磁性铁粉出口和非磁性物质出口,粉化料入口与冷却装置的粉化料出口相连。制得的磁性铁粉的铁品位高。

标签:
固废
江苏 - 南京 来源:北方有色网 2023-03-19
有机固废高聚物连续制备碳材料联产氢的系统和方法

本发明涉及一种有机固废高聚物连续制备碳材料联产氢的系统和方法,该系统包括:熔融进料装置、热解装置、气相沉积装置、热解气纯化利用装置、燃气装置、碳产物收集装置及催化剂再生装置。该方法包括将废塑料加热熔融进入热解装置,生成的热解气通入气相沉积装置,将反应后的残余气体进行氢气分离并储存;传送带基底在装置中循环,进行气相沉积反应后冷却,在进行碳产物回收了进行催化剂的再负载和干燥,经循环后进行下一步反应。本发明形成了塑料废弃物连续制备高性能碳材料联产氢的系统,并通过热解与气相沉积过程中产生的可燃气体对系统进行部分供能,解决了传统热解方法产物收率低、能耗高的技术问题,极大地提高了能源利用率。

标签:
固废
江苏 - 南京 来源:北方有色网 2023-03-19
固废处理的自动控制系统

本发明提供一种固废处理的自动控制系统,包括设备,设备内设置有无线传输模块、检测模块、探测模块、报警模块、摄像模块、处理模块和电源模块,无线传输模块、检测模块、探测模块、报警模块、摄像模块和处理模块均与电源模块相连接,探测模块与检测模块相连接,无线传输模块、检测模块、探测模块、报警模块和摄像模块均与处理模块相连接;探测模块获取产品信息,检测模块获取设备信息,处理模块将获取的设备信息和产品信息进行收集并通过无线传输模块进行传输,摄像模块获取设备内部的实时信息,并将获取的实时信息传输到处理模块,设备信息和实时信息高于处理模块中设定值时,报警模块响起;大大提高了便捷性和功能性的同时也降低了人工成本。

标签:
固废
江苏 - 南京 来源:北方有色网 2023-03-19
循环流化床固废焚烧装备

本实用新型涉及循环流化床技术领域,特别涉及一种循环流化床固废焚烧装备。包括基座、焚烧容纳装置和物料传送装置,焚烧容纳装置包括焚烧锅炉罐、燃烧控制部件和定位驱动部件,定位驱动部件的外部设有限位保护罩,焚烧锅炉罐内的中心位置呈竖直状态设置的焚烧冷却部件,该焚烧冷却部件与基座固定连接,物料传送装置包括安装在焚烧锅炉罐侧壁上的传送管道和设置在传送管道内的螺旋送料轨道,该螺旋送料轨道沿着传送管道的轴线设置,焚烧锅炉罐的侧部设有供传送管道穿过的安装孔,传送管道自待处理废料的进料口到出料口倾斜向下设置。本实用新型通过自动化的控制方式能够提高对物料的充分燃烧,进而减少物料的浪费,减少人力和物力的输出。

标签:
固废
江苏 - 南京 来源:北方有色网 2023-03-19
固废处理气化炉
固废处理气化炉 819     
 0

本实用新型涉及一种固废处理气化炉,应用在气化炉设备的技术领域,其包括气化炉本体和基架,基架上设有倾斜的固定框,固定框倾斜向上的一端位于气化炉本体的加料口处,固定框沿长度方向的两端均滑动连接有第一滑框,两个第一滑框内均转动连接有第一辊筒,固定框侧壁上设有调节框,调节框内滑动连接有第二滑框,第二滑框内转动连接有第二辊筒,第二辊筒和两个第一辊筒通过环形的输送带连接,输送带上设有若干沿输送带外轮廓分布的挡料板;基架上设有用于限制第一滑框移动的第一限制件,其中一个第一滑框上设有用于驱动第一辊筒转动的驱动件,调节框上设有用于限制第二滑框移动的第二限制件。本实用新型具有方便气化炉本体上料的效果。

标签:
固废
江苏 - 南京 来源:北方有色网 2023-03-19
保温固废处理装置及消防车

本实用新型涉及一种保温固废处理装置,包括等水平高度布置的贯通连接的喷淋箱体和成型箱体,喷淋箱体和成型箱体之间设置有滤网,滤网封住喷淋箱体和成型箱体之间通道的截面,喷淋箱体的顶部布设有顶部喷淋头,底部布设有底部喷嘴,喷淋箱体一侧中部设置有鼓风装置,其朝向喷淋箱体中吹风,成型箱体位于鼓风装置吹风的下游侧,成型箱体的顶部设置有上压板,底部设置有下压板,上压板通过升降机构垂直移动;下压板开设有水平翻转机构。本实用新型主要应用包覆有保温材料的输送管道、设备和电厂报废的保温材料处理,本专利装置通过安装在消防车上便能够用于回收废料的现场处理,减少了报废保温材料因为地点分散而产生的收集和搬运麻烦的问题。

标签:
固废
江苏 - 南京 来源:北方有色网 2023-03-19
淤泥固废处理工艺
淤泥固废处理工艺 1166     
 0

本发明公开了一种淤泥固废处理工艺,所述处理工艺包括以下步骤:S1:初步处理;S2:改善脱水性能;S3:减少含水量;S4:压滤;S5:干燥;所述处理工艺采用的装置包括机架、输送架和压滤脱水装置,所述输送架的上表壁设置有盛泥槽,所述盛泥槽的内部设置有搅动组件。本发明中,通过设置的盛泥槽、搅动件、耙齿、甩泥板、导泥板、驱动电机和输送管道相互配合,避免淤泥直接被送至滤带上,通过导泥板引流至滤带上,使得淤泥能够均匀分布在滤带带面上,保证压滤效果,同时通过设置的活动塞、连接杆、固定件、弧形调节件、转动柱、驱动块和凸起的相互配合,能够实现淤泥间歇性通过输送管道进入盛泥槽,避免盛泥槽内的淤泥满溢。

标签:
固废
江苏 - 南京 来源:北方有色网 2023-03-19
土壤污染用固废处理用固液分离装置

本申请涉及土壤污染处理技术领域,且公开了一种土壤污染用固废处理用固液分离装置,包括箱体,箱体的内部上侧固定设有U形分离网套,箱体的侧壁位于U形分离网套的平直段内部均转动设有驱动杆,两个驱动杆的杆壁均固定套接有螺旋挤出叶,两个驱动杆共同连接有驱动机构,U形分离网套的进料端与箱体的顶部共同固定连接有进料斗,U形分离网套的出料端与箱体的侧壁共同固定连接有出料斗。本申请可以持续进行大量污泥的固液分离工作,使用方便简单,分离效率高,同时可以减少水资源浪费,且对U形分离网套的清理方便简单,并可以对排出的水流进行再次的污泥滤除工作。

标签:
固废
江苏 - 南京 来源:北方有色网 2023-03-19
固废渗滤液分离装置
固废渗滤液分离装置 720     
 0

本实用新型公开了一种固废渗滤液分离装置,两立板相隔一定间距且竖直布置,在两根立板之间固定两根滑轨,两滑轨平行且等高布置,在两滑轨之间设置若干个压板,压板与立板相互平行,在每个压板上转动连接两个滑轮,且两滑轮对应滑动连接在两滑轨上,收集箱置于压板的下方,动力源固定连接在一立板上,且动力源的自由端垂直于所述压板。本实用新型中收集箱可以实现固液分离后液体中残渣和油液的过滤,可以更好地便于后期被分离液体的净化处理。

标签:
固废
江苏 - 南京 来源:北方有色网 2023-03-19
有机固废处理控制系统
有机固废处理控制系统 1097     
 0

本实用新型提供一种有机固废处理控制系统,包括主控制柜、温度采集子控制柜、气体采集子控制柜,所述主控制柜分别与温度采集子控制柜和气体采集子控制柜采用串口总线通信;所述主控制柜包括PLC控制器模组、引风控制单元、加热控制单元、抽提控制单元;所述引风控制单元、加热控制单元、抽提控制单元分别电性连接PLC控制器;所述引风控制单元、加热控制单元、抽提控制单元分别电性连接外界的引风风机、电加热器、抽提风机。本实用新型及控制数据、采集数据、通信数据一体是实时控制、分析的综合系统,集成度高,智能化实用性强。

标签:
固废
江苏 - 南京 来源:北方有色网 2023-03-19
用于绿色低碳水泥和工业固废的粉磨装置

本实用新型属于粉磨设备技术领域,尤其为一种用于绿色低碳水泥和工业固废的粉磨装置,包括辊压机主体,辊压机主体一侧设置有斗式提升机,斗式提升机一侧固定安装有管道式除铁器,管道式除铁器一侧固定安装有烘干式粗选机,烘干式粗选机一侧固定安装有稳流仓,管道式除铁器一侧固定安装有三分离选粉机,三分离选粉机一侧固定安装有球磨机,三分离选粉机一侧固定安装有收尘器,收尘器一侧固定安装有循环风机,管道式除铁器一侧固定安装有热风炉。本实用新型通过设置斗式提升机,可以达到将辊压机主体内部的物料传送到管道式除铁器内部,便于方便进行除铁,通过设置烘干式粗选机,便于对物料进行加热烘干,便于更好的进行操作。

标签:
固废
江苏 - 南京 来源:北方有色网 2023-03-19
可分选式固废筛分处理装置

本实用新型属于环保技术领域,尤其为一种可分选式固废筛分处理装置,包括筛分处理箱和设置在筛分处理箱一侧的智能控制系统,所述筛分处理箱的内侧设置有多个固定架,且多个固定架上设置有同一个壳体,并且壳体的顶部开设有第一筛孔,所述壳体内套设有滑座,所述滑座顶部对应第一筛孔的位置开设有第二筛孔,所述滑座的侧面通过电动推杆与壳体的内侧面固定连接。本实用新型,通过吸管、过滤筒、过滤网板、风机、位移传感器、A/D转换模块、电动推杆、可编程控制器PLC、触摸显示屏、滑座、第一筛孔以及第二筛孔之间的相互配合,进而可得到分选的效果,同时还能够较好的清除粉尘,较好的避免了粉尘影响工作人员的身体健康的问题。

标签:
固废
江苏 - 南京 来源:北方有色网 2023-03-19
利用建筑固废物制作单掺废混凝土骨料的方法

本发明涉及一种利用建筑固废物制作单掺废混凝土骨料的方法,该单掺废混凝土骨料的方法采用如下单掺废混凝土骨料加工装置,该单掺废混凝土骨料加工装置包括粉碎框、传导框、下料框、粉碎机构、阻挡板和防护机构;采用上述单掺废混凝土骨料加工装置对单掺废混凝土骨料的方法,包括以下步骤:S1、废弃物破碎;S2、废弃物投放;S3、废弃物粉碎;S4、废弃物筛分与收集。本发明可以解决现有对建筑废弃物进行粉碎处理时存在的:建筑废弃物进行粉碎处理时会产生大量的废弃物颗粒的飞溅,从而产生废弃物颗粒伤人的现象,造成废弃物粉碎安全性较差、外侧面较为光滑的废弃物会存在无法进行粉碎的现象等问题。

标签:
固废
江苏 - 南京 来源:北方有色网 2023-03-19
多功能固废处理装置
多功能固废处理装置 1175     
 0

本实用新型公开了一种多功能固废处理装置,涉及垃圾处理技术领域,为解决现有技术中的垃圾回收效率低,垃圾不分类处理的问题。所述保护外壳的上方设置有粉碎机,所述粉碎机的上方设置有进料口,所述保护外壳的一侧设置有电源控制箱,所述电源控制箱的一侧设置有传送带,所述传送带的两侧设置有支撑桩,所述保护外壳的另一侧设置有出料口,所述粉碎机的下方设置有电磁滚轴,所述电磁滚轴的下方设置有涡电流滚轴,所述涡电流滚轴的下方设置有喷头,所述喷头的下方设置有静电滚轴,所述静电滚轴的一侧设置有刮刀,所述刮刀的下方设置有旋转钩,所述旋转钩的下方设置有旋转杆,所述旋转杆的下方设置有水箱。

标签:
固废
江苏 - 南京 来源:北方有色网 2023-03-19
上下移动分步处理的固废处理设备

本发明公开了一种上下移动分步处理的固废处理设备,一对左右驱动座之间竖直移动设置有上下开口的矩形框状的废料驱动框;内部中心槽的下部成型有水平支撑板;水平支撑板的上端面与一对左右穿槽的下侧壁平齐;水平支撑板的下端面上成型有与废料驱动框配合的下烘干框;水平支撑板的中部成型有上下开口与下烘干框配合的竖直穿槽;一对中心横板的上端面之间成型有与废料驱动框配合的上挤压框;上挤压框内竖直移动设置有上挤压板;下烘干框内竖直移动设置有下升降座;下烘干框上设置有热气循环装置;发明优点:废料上下料方便,固液分离方便。

标签:
固废
江苏 - 南京 来源:北方有色网 2023-03-19
工业固废处理系统及处理方法

本发明涉及一种工业固废处理系统及处理方法,包括框体、支撑装置、夹紧装置和切割装置,所述的框体的内部下端中部设置有支撑装置,支撑装置的左右两侧对称设置有夹紧装置,支撑装置的上方安装有切割装置。本发明可以解决工业生产中废弃的金属罐在切割过程中可能会遇到以下问题:a.通过人工利用切割机械对金属罐进行切割处理,由于金属罐的体积较大,造成人工切割难度较大,且切割时耗较长,导致切割效率较低;b.人工切割需要多人协作才能完成切合处理,因此需要投入大量的劳动力,增加了切割的成本,降低了企业的收益,且人工切割存在危险性,可能会对切割工人的身体造成一定的伤害等难题。

标签:
固废
江苏 - 南京 来源:北方有色网 2023-03-19
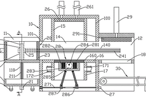
废气废液固废联合焚烧及余热回收系统

本实用新型公开了一种废气废液固废联合焚烧及余热回收系统,它包括污泥干化机(1),污泥干化机(1)与污泥给料机(2)相连,污泥给料机(2)与沸腾炉(3)的污泥进口(3‑1)相连,沸腾炉(3)顶部的烟气出口(3‑6)与余热锅炉(8)上部相连,余热锅炉(8)烟气出口与烟气净化塔(9)顶部相连,烟气净化塔(9)底部与布袋除尘器(10)相连,布袋除尘器(10)与引风机(11)相连,引风机(11)与烟囱(12)相连。本实用新型结构设计合理,操作方便,可同时处理废气、废液和干化污泥,回收余热进行发电的同时,净化烟气达标排放,节能环保,实用性强。

标签:
固废
江苏 - 南京 来源:北方有色网 2023-03-19
固废制备衍生废物燃料制备装置

本实用新型公开了一种固废制备衍生废物燃料制备装置,所述箱体外端底部位置处固定连接有支撑架,所述箱体顶端边侧位置处固定连接有进料管,且箱体顶端中部安装有第一电机,所述第一电机输出轴端固定连接有转轴,所述转轴底端固定连接有上切碎片,所述箱体内壁固定连接有第一过滤板,所述第一过滤板顶端中部安装有第三电机,本实用新型结构科学合理,使用安全方便,设置有上切碎片、转轴、下切碎片和过滤板,通过上切碎片和下切碎片以相反的方向进行转动,使得物料接触上切碎片和下切碎片时,从而使得物料在箱体内部进行充分的切碎,以此避免切碎不充分,导致较大的物料堆积,在箱体内部出现堵塞现象。

标签:
固废
江苏 - 南京 来源:北方有色网 2023-03-19
冷干法测定固废烟气中氧含量的装置

本实用新型涉及一种冷干法测定固废烟气中氧含量的装置,包括依次连接的采样单元、伴热管线、高温预处理系统、压力传感器、FT-IR分析仪、吹扫/反吹/标定单元、数据处理单元,其特征是在FT-IR分析仪之后依次连接带有集液和水洗功能的装置、冷凝器和电化学氧分析仪。本实用新型装置可以代替高温氧化锆测氧,防止氧化锆中毒或耗氧造成氧含量测不准情况的发生,且该无需在高温下运行,安全性高、寿命长,便于安装、更换与维护。

标签:
固废
江苏 - 南京 来源:北方有色网 2023-03-19
用于工业固废烘干分选的静态选粉机

本实用新型公开了一种用于工业固废烘干分选的静态选粉机,包括固定于安装台上的壳体,所述壳体上分别开设有出风口和进风口,所述进风口上设有进风调节阀门,所述进风口接入外置热风机的出风口,所述壳体内对称固定连接有滑轨,所述滑轨上开设有多个通风孔,两个所述滑轨之间设有分选通道,所述分选通道上端固定连接有进料管,所述分选通道的底端固定连接有出料管。本实用新型实现烘干和分选一体化操作,相比较传统的烘干机,烘干热效率更高,更低的标煤耗,相应降低了碳排放量,通过对需分选物料的细度,密度进行流体力学计算后确定选粉机内部设计风速,做到对分选物料达到精准控制,最大提升物料的分选效率。

标签:
固废
江苏 - 南京 来源:北方有色网 2023-03-19
上一页 84 85 86 87 88 ... 98 下一页
共98页    到第

北方有色为您提供最新的江苏南京有色金属固/危废处置技术理论与应用信息,涵盖发明专利、权利要求、说明书、技术领域、背景技术、实用新型内容及具体实施方式等有色技术内容。打造最具专业性的有色金属技术理论与应用平台!

全国热门有色金属设备推荐
展开更多 +
全国热门有色金属技术推荐
展开更多 +

 

江西省隆恩特环保设备有限公司
宣传

报名参会
更多+

报告下载

有色专家
更多+

中冶沈勘秦皇岛工程技术有限公司
原矿山院院长/教授级高工
石家庄铁道大学
团委书记/副教授
辽宁忠旺集团
教授级高工
有研资源环境技术研究院(北京)有限公司
副总经理/教授级高工
西安建筑科技大学
院长/教授
赤泥综合利用研究报告2025
推广

热门技术
更多+

推荐企业
更多+

福建省金龙稀土股份有限公司
宣传

发布

在线客服

公众号

电话

顶部
咨询电话:
010-88793500-807