青岛垚鑫智能科技有限公司
宣传

位置:中冶有色 >

有色技术频道 >

分类:
全部
矿山技术
冶金技术
材料制备及加工技术
环境保护技术
分析检测技术
 
全部
功能材料技术
复合材料技术
新能源材料技术
合金材料技术
加工技术
地区:
全部
北京
天津
上海
重庆
河北
山西
辽宁
吉林
黑龙江
江苏
浙江
安徽
福建
江西
山东
河南
湖北
湖南
广东
海南
四川
贵州
云南
陕西
甘肃
青海
内蒙
广西
西藏
宁夏
新疆
其他
其他
展开
 
全部
北京

北京有色金属材料制备及加工技术理论与应用

免费发布技术信息>>
基于四氧化三铁纳米线/氧化石墨烯互穿结构的复合气凝胶功能材料及其制备方法

一种基于四氧化三铁纳米线/氧化石墨烯互穿结构的复合气凝胶功能材料及其制备方法属于吸波功能材料领域。本发明基于一锅水热法,选用非离子型表面活性剂一维方向控制四氧化三铁生长且调控GO溶液与纳米线分散状态,采用单齿硫代硫酸盐调控沉淀反应速度以及与铁还原程度,采用多官能度生物质还原剂原位组装GO;通过间歇式循环冷冻干燥后处理复合水凝胶形成致密冰晶,制备了一种新型四氧化三铁纳米线/石墨烯气凝胶互穿结构复合材料,从而形成了集多维尺度于一体的分散均匀的吸波材料,充分发挥其电、磁损耗的同时利用耦合效应、界面效应以及阻抗匹配特性而获得优异的吸波性能,实现了多功能损耗机制对电磁波宽频强吸收,可有效解决电磁污染等问题。

标签:
复合材料
北京 - 北京 来源:中冶有色网 2023-03-18
具有可谐调吸波性能的材料及其制备方法

本发明涉及一种具有可谐调吸波性能的材料,所述材料为二维碳基负载镧系稀土氧化物(CN‑REOs)纳米材料与聚偏氟乙烯(PVDF)的复合材料(CN‑REOs/PVDF),其包括少量氮掺杂的具有部分类石墨相氮化碳(g‑C3N4)结构的二维碳基和纳米尺度的镧系稀土氧化物。本发明还涉及所述吸波材料的制备方法。本发明的吸波材料具有优异的吸波性能和可谐调性。

标签:
复合材料
北京 - 北京 来源:中冶有色网 2023-03-18
应用于低轨载人航天器的M/OD防护方法

本发明涉及应用于低轨载人航天器的M/OD防护方法,包括:(a)确定航天器用M/OD防护结构和防护材料;(b)根据包络及防护重量限制要求,确定航天器各舱段M/OD防护方案;(c)航天器在轨M/OD理论撞击失效风险仿真分析,初判指标满足情况;(d)进行防护结构和防护材料的超高速撞击试验,获得弹道极限方程;(e)根据试验得到的弹道极限方程修正撞击失效风险仿真分析结果;(f)评价防护方案的PNP指标及重量指标满足情况;(g)确定最终防护方案。本发明可以保障航天器10年在轨寿命;采用新防护方案,利用辐射器兼作防护板的基础上,在其中填加复合材料填充层,减少资源浪费;有效利用包络空间,节约重量,防护效果大大提高。

标签:
复合材料
北京 - 北京 来源:中冶有色网 2023-03-18
烧结铽镝铁磁致伸缩材料及其制备方法

一种烧结铽镝铁磁致伸缩材料及其制备方法,属于磁性功能材料领域。以TbxDy1‑xFey(0.27≤x≤0.50,1.80≤y≤2.1)为主制成合金粉末,添加Ho、Co、Mn、Si、Ni、Ti、Cr、V附加金属元素组成铽镝铁系合金,再加入以低熔点晶界相合金或金属作为晶界相,用烧结法制备铽镝铁系合金磁致伸缩材料。本发明克服了传统定向凝固制备取向多晶铽镝铁合金凝固组织不均匀、磁致伸缩性能一致性差;铽镝铁粉末树脂粘接复合材料粘接剂体积分数大导致的磁致伸缩性能下降、激励磁场增大等弊端;与传统烧结铽镝铁合金相比,重构了晶界组织,改善了合金脆性,实现了铽镝铁材料的高致密化、组织均匀化、高取向度、近净型加工,提高了材料综合性能和利用率。

标签:
复合材料
北京 - 北京 来源:中冶有色网 2023-03-18
高抗污聚偏氟乙烯多孔基复合超滤膜材料的制备方法

本发明属于复合材料领域,涉及一种聚偏氟乙烯多孔配位复合超滤膜材料的制备方法。该制备方法是利用带有双氨基团的分子将过渡金属离子固定在PVDF膜上,在有机配体溶液中实现多孔配位聚合物的原位生长。本发明的优点在于:开发了“一锅法”制备PVDF/PCPs复合超滤膜材料的新方法;PVDF与PCPs之间以化学键相连,形成高稳定的超滤膜材料;通过调节前驱体溶液中有机配体及金属源离子的种类、含量,反应条件等可对PCPs的孔结构、生长量等进行有效控制,从而实现对膜性能的定向调控;本发明所制备的PVDF/PCPs超滤膜材料集多孔性与亲水性于一体,提高了超滤膜的抗污能力,延长了使用寿命。

标签:
复合材料
北京 - 北京 来源:中冶有色网 2023-03-18
含纳米铝粉添加剂的锂硫电池正极的制备方法

本发明公开了一种含纳米铝粉的锂硫电池正极的制备方法,属于锂硫电池领域。本发明利用将硫碳复合材料加入纳米铝粉、锂电粘结剂PVDF(聚偏氟乙烯)和溶剂NMP(N‑甲基吡咯烷酮)搅拌成均匀浆料,然后将浆料涂敷在铝箔上,放入烘箱干燥得到含金属铝粉的锂硫电池正极。采取以纳米Al粉作为正极添加剂,以期通过铝金属的高电导率且不与电解液反应的特性改善传统硫碳正极欧姆极化严重,活性物质不可逆损失,导电区域分裂等问题,从而提升电池的容量和循环性能。本发明工艺流程短,制备过程简单易操作,耗时少,仪器设备廉价,节约能源,安全无污染,产率高,具有较好的可行性。

标签:
复合材料
北京 - 北京 来源:中冶有色网 2023-03-18
主动抑制路表扬尘环保型沥青添加剂及其制备方法

本发明公开了一种主动抑制路表扬尘环保型沥青添加剂,为复合材料,包括主动抑制路表扬尘组分和增黏增塑组分,所述主动抑制路表扬尘组分包括沸石粉、蒙脱石粉、海泡石粉和鸡窝岩矿石粉中的一种或者几种,所述增黏增塑组分包括聚酯纤维、玻璃纤维和橡胶纤维中的一种或者几种。本发明还公开了一种主动抑制路表扬尘环保型沥青添加剂的制备方法,包括以下步骤:将主动抑制路表扬尘组分和增黏增塑组分按照一定比例称取;将主动抑制路表扬尘组分和增黏增塑组分装入拌和设备中进行拌和。本发明的主动抑制路表扬尘环保型沥青添加剂对环境无污染,可直接作为筑路材料的成分之一,将其添加到基质沥青中配制主动抑制路表扬尘环保型沥青,再以该主动抑制路表扬尘环保型沥青作为胶结料铺筑道路,以实现抑制路表扬尘的效果,并且不影响沥青道路的其他各项性能。

标签:
复合材料
北京 - 北京 来源:中冶有色网 2023-03-18
金属氧化物/石墨烯复合物的制备方法

本发明公开了一种金属氧化物/石墨烯复合物的制备方法,利用石墨粉和金属氧化物同为粒状粉末的优势,使用球磨原位剥离石墨层,制备金属氧化物与石墨烯的复合物。具体步骤为:(1)石墨粉与金属粉末的预混合物在球磨机中充分球磨、剥离,制备出球磨态金属/石墨烯复合物;(2)将充分干燥后的混合物在马弗炉中煅烧,所得产物即为金属氧化物/石墨烯复合材料。本发明提供的方法操作工艺简单、可控性好、成本低、无需复杂的化学处理、也不需要昂贵的设备、易于产业化。

标签:
复合材料
北京 - 北京 来源:中冶有色网 2023-03-18
原位生成碳纤维增韧氧化铝陶瓷的制备方法

本发明提供了一种原位生成碳纤维增韧氧化铝陶瓷的制备方法,包括:将聚丙烯腈预氧化纤维与烧结助剂粉末进行混合,以使所述聚丙烯腈预氧化纤维的表面吸附有所述烧结助剂粉末;将表面吸附有所述烧结助剂粉末的所述聚丙烯腈预氧化纤维、高纯度氧化铝以及磨球置于球磨罐中,并进行球磨以得到目标混合物;将所述目标混合物置于指定模具中进行预压成型;将装有所述目标混合物的所述指定模具置于真空热压烧结炉中进行热压烧结,以得到原位生成碳纤维增韧氧化铝陶瓷基复合材料。

标签:
复合材料
北京 - 北京 来源:中冶有色网 2023-03-18
钝尾缘风力涡轮机叶片及其实施装置与方法

本发明公开了一种钝尾缘风力涡轮机叶片及其加工方法,叶片采用纤维层合复合材料制造,在钝尾缘部位,尾缘增强纤维单层沿压力面尾缘线和钝尾缘垂直部分交替铺层,在靠近叶尖的尖尾缘部位,增强纤维单层沿弦向依次向模具内侧缩进铺设以保证合适的合模间隙,在靠近叶根的圆弧尾缘部位,尽可能多的增强纤维层沿弦向靠近尾缘线以保证足够的合模粘接宽度;钝尾缘垂直部分内的增强纤维铺层可以根据结构性能的需要灵活设计铺设位置和增加额外的铺层以及铺层角度。本申请的叶片尾缘结构具有较强的连接强度和工程可操作性,可以有效抑制尾缘开裂和尾缘失稳。

标签:
复合材料
北京 - 北京 来源:中冶有色网 2023-03-18
基于石墨烯改性技术的新型安全套及制造方法

本发明属于常用医疗卫生用品技术领域,具体涉及一种基于石墨烯改性技术的新型安全套及制造方法。所述新型安全套添加有0.1%-25%的氧化石墨烯及功能化石墨烯。所述氧化石墨烯或化学修饰后的功能化石墨烯根据需要通过水相,或乳剂分散到天然乳胶为基材的安全套材料中。按照现行工艺制成安全套。本发明的安全套有益效果:厚度最薄可以达到15μm,依然保持较高韧性,能够满足安全套使用要求,强度比原天然乳胶材料提升15-40%,石墨烯由于较低透气性和材料复合作用使微孔较少,大大减小了病毒的透过几率,复合材料的导热系数得到10-20的提高,增加了安全套的体感。

标签:
复合材料
北京 - 北京 来源:中冶有色网 2023-03-18
用于太阳能飞机主翼梁的连接结构及制备方法

本发明公开了一种用于太阳能飞机主翼梁的连接结构及制备方法,其中,该连接结构包括:第一胶膜、第一包裹层、第二胶膜、金属法兰、第三胶膜和第二包裹层;其中,所述第一胶膜用于包设于碳纤维管;所述第一包裹层包设于所述第一胶膜;所述第二胶膜包设于所述第一包裹层;所述金属法兰套设于所述第二胶膜;所述第三胶膜包设于所述金属法兰的颈部;所述第二包裹层包设于所述第三胶膜。本发明的用于太阳能飞机主翼梁的连接结构通过将第一胶膜、第一包裹层、第二胶膜、金属法兰、第三胶膜和第二包裹层构成整体,使得金属材料与复合材料能够有效的连接,增强了连接强度,保证了太阳能飞机主翼梁的质量。

标签:
复合材料
北京 - 北京 来源:中冶有色网 2023-03-18
高效过滤空气颗粒物的材料及制备方法

本发明涉及一种高效过滤空气颗粒物的材料及制备方法,其中所述材料包括带有孔的基体骨架,以及设置在所述基体骨架上的带有电荷的驻极体。在本发明优选的技术方案中,采用派瑞林作为驻极体材料,并且通过气相沉积方法及后续的电晕放电处理制备所述材料。由本发明提供的过滤空气颗粒物的材料,具有良好的对微小颗粒的过滤效果,该复合材料具有过滤压降小、透气性好、具有透光性、轻薄和柔软等特性。在优选的技术方案中,对PM2.5的过滤效率可达99%以上。

标签:
复合材料
北京 - 北京 来源:中冶有色网 2023-03-18
含竹叶黄酮的抗菌防霾口罩材料及其制备方法

本发明涉及材料领域,具体涉及一种含竹叶黄酮的抗菌防霾口罩材料,其包括位于底层的支撑材料,以及在所述支撑材料上依次复合形成的纳米纤维网层和含竹叶黄酮的纳米纤维膜层。本发明先通过熔融挤出造粒制备纳米复合材料,再通过熔体静电纺丝技术纺丝,可使天然矿物纳米材料均匀分散在聚丙烯或聚酯材料中,可避免因天然矿物纳米材料团聚造成熔体静电纺丝中断。此外,本发明所述口罩材料由较粗的熔融静电纺纤维及较细的溶液静电纺纤维组成,可以有效阻隔大部分PM2.5颗粒,且其中天然矿物纳米材料所释放的负离子具有捕捉PM2.5颗粒的效果;另外,该口罩材料含有竹叶黄酮,具有抗菌功能,并且附带了清新的竹子香味。

标签:
复合材料
北京 - 北京 来源:中冶有色网 2023-03-18
具有宽频强吸波能力的3D二硫化钼纳米微球的制备

本发明公开了一种具有宽频强吸波能力的3D二硫化钼纳米微球的制备,属于纳米微球及其制备技术领域。所述方法选取反应物钼酸钠和L?半胱氨酸溶于去离子水中,搅拌均匀后,置于反应釜中,将反应釜置于200℃烘箱中反应时间12?20h,得到3D二硫化钼纳米微球。本发明采用简单的水热法制备出具有特殊形貌的3D?MoS2纳米微球,并将其与高分子材料聚偏氟乙烯进行复合,结合波导测试法,测试有机/无机纳米复合材料在高频段18?40GHz的吸波性能。本发明的制备方法具有操作简单、可重复性高的优点,所得产品结构稳定,具有宽频强吸波能力。

标签:
复合材料
北京 - 北京 来源:中冶有色网 2023-03-18
碳纳米管产品及其制备方法

本发明提供了一种碳纳米管产品及其制备方法,本发明碳纳米管的制备方法工艺简单,不采用氢气作为载气,采用长恒温区反应装置直接制备碳纳米管,有效实现了高质量、高纯度长双壁碳纳米管的安全宏量制备,有效解决了相关技术方法制备碳纳米管存在的质量、长度、纯度三者法同时兼顾这一科学和技术难题。本发明碳纳米管产品纯度高,质量高,长度长,具有优异的导电性、高弹性、高强度等特性,可望在超强纤维,透明导电薄膜、高频导线、薄膜晶体管器件、增强复合材料等器件和材料中获得应用。

标签:
复合材料
北京 - 北京 来源:中冶有色网 2023-03-18
石墨烯增强ODS铜的制备方法

本发明涉及一种石墨烯增强ODS铜的制备方法,属于铜基复合材料制备技术领域。以铜盐作为铜源,以硝酸铝作为铝源,以氢氧化钠或氨水作为沉淀剂,使铜离子、铝离子生成氢氧化铜、氢氧化铝,并与溶液中分散的石墨烯共沉淀,经干燥、还原、成型、烧结得到石墨烯增强ODS铜坯体,通过热挤压、热锻、热轧等热加工手段使之达到全致密。本发明提高了石墨烯在铜基体中的均匀分散性,改善了石墨烯与铜基体之间的界面结合状态,通过在铜基体引入石墨烯与弥散分布的纳米氧化铝颗粒达到双重强化效果,提高基体强度的同时又不会降低其传导性能。

标签:
复合材料
北京 - 北京 来源:中冶有色网 2023-03-18
全柔性气动机械臂结构

本发明公开了一种全柔性气动机械臂结构,呈纵长的圆锥形结构,包括全柔性机械臂主体、位于全柔性机械臂主体的圆锥形中心的机械臂中心体、均匀围绕机械臂中心体轴对称分布的气道,气道从直径大的一端向直径小的一端延伸并距离端面一定距离以保持住气道内的气体,机械臂外表面设置一层纤维增强复合材料。其中,轴对称分布的气道也呈纵长的圆锥形结构,柔性机械臂主体为超弹性材料,在气动压力下产生200%以上的变形,机械臂中心体的硬度大于柔性机械臂主体。与现有技术相比,本发明仿章鱼的触手,将气道与机械臂融为一体,使得整个机械臂结构设计、加工制造以及组装大大简化,使用3D打印技术一次成型且能够适用于抓捕复杂形状的物体,质量轻,大大降低发射成本。

标签:
复合材料
北京 - 北京 来源:中冶有色网 2023-03-18
载镧二氧化钛砷氟共除吸附材料及其制备方法

本发明涉及一种载镧二氧化钛砷氟共除吸附材料及其制备方法,属于环境科学与技术领域。该方法以纳米级{100}晶面为主的梭形二氧化钛为载体,利用晶面定向生长的方式使载镧氧化物与二氧化钛特异性结合。合成过程中使用硝酸镧溶液对二氧化钛进行浸渍,经过超声和烧结步骤完成镧氧化物对二氧化钛的负载,最后得到载镧二氧化钛复合材料。通过一系列实验证明本发明制备的载镧二氧化钛对砷氟具有很高的吸附容量与较广的pH适用范围,可有效去除水中共存的砷氟。

标签:
复合材料
北京 - 北京 来源:中冶有色网 2023-03-18
钢管混凝土支架及其施工方法

本发明公开了一种钢管混凝土支架及其施工方法,属于岩土工程领域,能够在具备高强的支护能力的同时,大大提升抗震、让压变形和承受动力荷载的能力。所述钢管混凝土支架包括:支架钢管、置于所述支架钢管内的橡胶混凝土和连接所述支架钢管的连接套管,所述钢管混凝土支架上设有排气孔和注浆孔;其中,所述橡胶混凝土是以混凝土或水泥砂浆为基材,均匀掺入各种非连续的橡胶粉或橡胶颗粒而形成的水泥基复合材料。本发明用于进行支护。

标签:
复合材料
北京 - 北京 来源:中冶有色网 2023-03-18
大尺寸薄壁泡沫夹层结构的制备方法及该结构的应用

本发明涉及一种大尺寸薄壁泡沫夹层结构的制备方法,包括以下步骤:(1)采用预浸料在模具外表面进行铺层,并固化成型内蒙皮单元,所述内蒙皮单元为截面闭合的空腔结构;(2)将多个内蒙皮单元沿空腔轴线方向依次采用边缘搭接并粘接的方式连接在一起,形成内蒙皮;(3)将泡沫板粘接在内蒙皮外表面;(4)将内蒙皮外表面需要预埋加强块位置的泡沫剔除,将加强块粘接在所述位置;(5)在泡沫板外表面采用预浸料进行铺层,再铺设辅助材料,并抽真空、固化,得到整体的外蒙皮;本发明工艺方法制备的大尺寸薄壁泡沫夹层结构复合材料不但具有重量轻、隔热性能优异,刚度好等优点,而且模具投入低,工艺过程简单,操作方便,具有很强的实用性。

标签:
复合材料
北京 - 北京 来源:中冶有色网 2023-03-18
水体净化防渗结构及方法

本发明涉及一种水体净化防渗结构及方法,采用复合材料防渗的结构形式,并增加了磷细菌和硝化细菌,以促进水体中N、P元素的固定,减少水中的有机质的同时,还改善水体水质。同时,通过多层防渗材料的组合作用,在防渗的同时不阻碍气体交换,将土壤中的氧气释放到水体中,增加水体溶解氧含量,提高水体自净能力。本透气防渗结构充分利用各材料性能优势,中和弊端,降低了工程造价,提升了水体的生态效果。

标签:
复合材料
北京 - 北京 来源:中冶有色网 2023-03-18
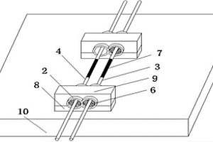
光纤光栅高温应变测试装置及其安装方法

本发明涉及一种应用于结构热试验辐射热环境下的光纤布拉格光栅高温应变测试装置及其安装方法,包括应变传感光纤(3),在应变传感光纤(3)具有布拉格光栅(5),还包括:2个“8”字形石英管(2)、温度参考光纤(4);温度参考光纤(4)与应变传感光纤(3)相同;应变传感光纤(3)和温度参考光纤(4)分别穿过2个“8”字形石英管(2),成平行状;应变传感光纤(3)分别与两个“8”字形石英管(2)利用固定材料(6)固定在一起,温度参考光纤(4)只与一个“8”字形石英管(2)固定在一起,另一端悬空。本发明的效果在于解决光纤光栅高温退化问题,可应用于近千度的热试验环境中,实现复合材料结构件的高温应变测量。

标签:
复合材料
北京 - 北京 来源:中冶有色网 2023-03-18
冷成铝复合用粘合剂及其制备方法

本发明公开了一种冷成铝复合用粘合剂及其制备方法,该粘合剂由主剂和固化剂构成;其中主剂是由对苯二甲酸、癸二酸、新戊二醇、乙二醇合成的高分子量聚酯、双酚A型环氧树脂、硅烷偶联剂组成的乙酸乙酯溶液;固化剂是由异氰酸酯、低分子多元醇、乙酸乙酯合成的含有异氰酸酯预聚物的乙酸乙酯溶液。主剂和固化剂按20:4混合后形成的粘合剂可直接用于冷成铝包装材料的复合。由熟化后的产品制成的PA//AL//PVC复合材料的剥离强度、耐热性及冷冲压成型后的外观、强度等性能均能达到冷成型软包装的要求。

标签:
复合材料
北京 - 北京 来源:中冶有色网 2023-03-18
太阳光谱选择性吸收涂层

本发明涉及光热太阳能技术领域,公开了一种太阳光谱选择性吸收涂层,包括在基板表面从内到外依次设置的红外反射层、吸收层和减反层,所述吸收层包括多层亚层,所述亚层包括多层次亚层,所述次亚层包括微次亚层,所述微次亚层为金属层和陶瓷层的复合层。本发明所提供的太阳光谱选择性吸收涂层通过吸收层中次亚层吸收层为金属层陶瓷层交替连续沉积的精细超薄多层复合材料薄膜,可认为金属组分均匀分布在陶瓷中,次亚层吸收层可认为是金属粒子均匀分布的金属陶瓷复合薄膜。吸收层在调试工艺时主要考虑微次亚层吸收层中金属层组分比和微次亚层周期数即亚层厚度,可以得到国标规定的合格的吸收比和很低的发射比,很容易确定金属的成分和测定参数。

标签:
复合材料
北京 - 北京 来源:中冶有色网 2023-03-18
杆塔接地引下线入地构架与下相横担距离的确定方法

本发明公开了一种杆塔接地引下线入地构架与下相横担距离的确定方法,依次包括以下步骤:接地引下线入地构架与下相横担距离大于或等于导线垂直层间距,并在试验导线与接地引下线之间施加20次或者40次雷电冲击试验电压,查看每次雷电冲击闪络路径是否都是沿接地引下线与试验导线间的空气间隙,如果是则减小一个步长继续按上述方式试验,直到出现否的情况,再增加半个步长试验,如果每次雷电冲击闪络路径都是沿接地引下线与试验导线间的空气间隙,则这个距离就是最小距离,如果否则该距离加半个步长是最小距离。本发明的优点是:最大限度地避免了试验过程中雷电冲击闪络放电对复合材料杆塔塔身或横担部分的烧蚀,试验方法方案简单明了,易于操作执行。

标签:
复合材料
北京 - 北京 来源:中冶有色网 2023-03-18
以化学流变学调控环氧树脂体系粘度和预浸料流动度的制备方法

本发明提供了一种以化学流变学调控环氧树脂体系粘度和预浸料流动度的制备方法。该方法采用室温反应性固化剂和潜伏性固化剂的混合固化剂,通过与环氧树脂组分的初始化学反应,制备较低粘度的预浸料用环氧树脂体系;将树脂体系采用胶膜机制备胶膜,然后经由复合机与增强纤维或织物复合,制备浸渍特性优良的预浸料;在室温下放置以调控预浸料的流动度,得到工艺操作性和贴合性优良的预浸料。与传统的预浸料生产工艺相比,该方法可以保证环氧树脂体系以较低粘度浸渍增强纤维,充分浸润每根单丝,制备的预浸料通过室温放置的后续化学反应,可以降低预浸料的脂流动度,满足复合材料成型的工艺要求。

标签:
复合材料
北京 - 北京 来源:中冶有色网 2023-03-18
膨胀珍珠岩负载纳米TiO2复合光催化材料的制备方法

本发明涉及一种膨胀珍珠岩负载纳米TiO2复合光催化材料的方法。将膨胀珍珠岩加水搅拌制浆,加酸调节pH值后对浆料降温,然后依次加入TiCl4溶液,硫酸铵溶液进行负载反应;负载反应完成后将反应液升至一定温度,然后加入稀氨水溶液调节溶液的pH值并陈化一定时间;最后将反应产物过滤、洗涤、干燥和煅烧,即得膨胀珍珠岩负载纳米TiO2复合光催化材料。这种复合材料在紫外光和可见光下均具有优良的光催化性能,紫外光下30分钟内可对罗丹明B溶液的光催化降解率达到90%以上;日光灯下,24h内对甲醛的降解去除率大于75%。

标签:
复合材料
北京 - 北京 来源:中冶有色网 2023-03-18
复合烟囱
复合烟囱 991     
 0

采用耐热、耐酸腐蚀、强度高、成本低的非金属无机复合材料制造家用煤炉的烟囱。这种复合烟囱使用无碱、无捻、无蜡玻璃纤维布或高硅氧玻璃纤维布作为增强材料,用硅酸钠或/和硅酸钾水溶液作粘合剂,用磷酸铵或氯化铵饱和水溶液或氟硅酸钠作固化剂,用石英粉或辉绿岩粉、花岗岩粉、安山岩粉、耐火粘土砖粉、瓷粉作填充料。

标签:
复合材料
北京 - 北京 来源:中冶有色网 2023-03-18
多晶栅导电层构成的集成微机电系统器件及其制备方法

本发明提供一种“后半导体工艺”集成电路器件及MEMS器件的整体制备方法,用这些制备方法可以实现的结构,以及用这些结构组合成的集成MEMS器件。根据本发明的方法,在完成半导体工艺的半导体基片上生成某些低温工艺(这里指低于400℃的工艺)制作的膜,此膜与半导体基片上固有的多晶栅导电层共同构成复合膜。接下来,在此膜上再次生成某些低温工艺制作的膜,来做为牺牲膜;在牺牲膜上再次生成某些低温工艺制作的单材料或者复合材料的膜,来做为MEMS器件的另外一层结构层;最后此器件可以用干法刻蚀、湿法腐蚀或者干法刻蚀和湿法腐蚀的组合去掉牺牲膜,释放形成最终的MEMS器件。

标签:
复合材料
北京 - 北京 来源:中冶有色网 2023-03-18
上一页 502 503 504 505 506 ... 871 下一页
共871页    到第

中冶有色为您提供最新的北京有色金属材料制备及加工技术理论与应用信息,涵盖发明专利、权利要求、说明书、技术领域、背景技术、实用新型内容及具体实施方式等有色技术内容。打造最具专业性的有色金属技术理论与应用平台!

全国热门有色金属设备推荐
展开更多 +
全国热门有色金属技术推荐
展开更多 +

 

江西省隆恩特环保设备有限公司
宣传

报名参会
更多+

报告下载

有色专家
更多+

中国矿业大学
教授
北京科技大学
教授
洛阳有色矿业集团有限公司
生产技术部经理
赣州江钨钨合金有限公司
副总经理
任灵宝金源矿业股份有限公司
技术发展部经理
赤泥综合利用研究报告2025
推广

热门技术
更多+

推荐企业
更多+

福建省金龙稀土股份有限公司
宣传

发布

在线客服

公众号

电话

顶部
咨询电话:
010-88793500-807