青岛垚鑫智能科技有限公司
宣传

位置:中冶有色 >

有色技术频道 >

分类:
全部
矿山技术
冶金技术
材料制备及加工技术
环境保护技术
分析检测技术
 
全部
功能材料技术
复合材料技术
新能源材料技术
合金材料技术
加工技术
地区:
全部
北京
天津
上海
重庆
河北
山西
辽宁
吉林
黑龙江
江苏
浙江
安徽
福建
江西
山东
河南
湖北
湖南
广东
海南
四川
贵州
云南
陕西
甘肃
青海
内蒙
广西
西藏
宁夏
新疆
其他
其他
展开
 
全部
其他

其他有色金属材料制备及加工技术理论与应用

免费发布技术信息>>
用于树脂系木胶的组合物及方法

一种增充树脂系木胶,特别是缩合聚合物树脂系胶的方法,该方法包括以下步骤:(I)提供含水增充剂组合物,该含水增充剂组合物含有20-50重量%的碱金属硅酸盐和1-25重量%的多元醇,该多元醇优选为糖,如蔗糖;(II)提供含有树脂的溶液;和(III)将含水增充剂与溶液混合在一起以形成胶。被增充的胶适合于制备降低了树脂需要量的耐水的加工的木制板,如胶合板或刨花板。该被增充的胶不会过快地凝固,允许了加工木制复合材料的时间。

标签:
复合材料
其他 - 其他 来源:中冶有色网 2023-03-18
超导线的制造方法及用此方法制造的超导线

本发明是关于含有A-B-C-D系列的氧化物系 列超导体的超导线制造方法,以及用此方法制造的 超导线。A是周期表IIIa族元素,B是IIa族元素,C 是Cu,D含O(氧)。在至少含有上述A与B之一 方与铜合金的细长管状覆盖层内,配置至少含有A 与B的另一方的材料而形成复合体。上述至少含有 A与B的另一方的材料及/或上述管状覆盖层含有 O(氧)。对上述复合材料进行拉线加工以形成线 材。然后,对上述线料进行热处理以形成上述超导 体。

标签:
复合材料
其他 - 其他 来源:中冶有色网 2023-03-18
新的拉挤工艺及其制品

本发明涉及一种新的拉挤工艺,其包括以下顺序步骤:增强材料排布→浸渍树脂胶→预成型→于预成型半成品表面加入可剥离材料→挤压模塑及固化→牵引→切割→成品。本发明在工艺流程中加入了可剥离材料,使得产品一次成型后即可形成均匀的粗糙面,有利于提高与其它材料之间的粘接,由于在应用前无须后处理,产品尺寸稳定,在生产时可严格控制质量,实现规范化和标准化,使用容易,减低工序及生产和工程施工成本。本发明产品主要应用于结构补强领域,主要是各种纤维增强塑料在结构补强领域的应用;输配电绝缘子芯棒及其它相关应用;其他需要用拉挤棒、带、片复合材料作为加强的有关产品。

标签:
复合材料
其他 - 其他 来源:中冶有色网 2023-03-18
复合正极活性物质、制备其的方法、正极以及锂二次电池

提供了复合正极活性物质、制备其的方法、正极以及锂二次电池。复合正极活性物质包括:包括约60mol%或更多的镍的镍类活性物质;和在镍类活性物质的表面上的涂层,涂层包括镧系复合材料。复合正极活性物质包括平均粒径在约1μm至约10μm的范围内的单晶颗粒或为平均粒径在约1μm至约10μm的范围内的单晶颗粒的形式。

标签:
复合材料
其他 - 其他 来源:中冶有色网 2023-03-18
具有补偿表面的滑片
具有补偿表面的滑片 964     
 0

一种具有补偿表面的滑片。本文提出了一种方法和设备。该方法通过在经设计以形成不同于设计形状的经修改外模线的滑片的补偿表面上铺放复合材料来局部补偿复合蒙皮中与固化相关的变形,其中,所述滑片被保持抵靠铺放工具的成形表面,其中,所述成形表面被设计为形成所述设计形状的外模线。

标签:
复合材料
其他 - 其他 来源:中冶有色网 2023-03-18
三点式连杆以及用于三点式连杆的制造方法

本发明涉及一种用于车辆的底盘的三点式连杆(1),其具有两个臂(2)和一个中央支承区域(3)。每个臂(2)具有支承区域(4)。所述三点式连杆(1)包括两个负载导入元件(5)、中央负载导入元件(6)、稳定层(7)、型芯元件(8)和支撑缠绕部(9)。所述稳定层(7)和所述支撑缠绕部(9)由纤维塑料复合材料形成。在每个支承区域(4)上布置有负载导入元件(5)。所述中央负载导入元件(6)布置在所述中央支承区域(3)上。所述型芯元件(8)在部分区域中由所述稳定层(7)包围。所述支撑缠绕部(9)在部分区域中包围所述负载导入元件(5)、所述中央负载导入元件(6)、所述稳定层(7)和所述型芯元件(8)。

标签:
复合材料
其他 - 其他 来源:中冶有色网 2023-03-18
高耐热聚碳酸酯共聚物制剂

描述了热塑性组合物、制备该组合物的方法及包含该组合物的复合材料。热塑性组合物可以包含a)含有i)苯并[c]吡咯酮碳酸酯和ii)低耐热单体的重复单元的高耐热共聚碳酸酯,和b)0.05重量%至0.25重量%的苯并嗪酮UV吸收剂。

标签:
复合材料
其他 - 其他 来源:中冶有色网 2023-03-18
用于生产热固性酚醛树脂的方法和通过该方法可得到的酚醛树脂

本发明涉及用于生产热固性酚醛树脂的方法,包括在导致形成缩聚产物的条件下使可缩聚的酚类化合物与5‑羟甲基糠醛(HMF)反应的步骤,其特征在于,HMF包括至少一种HMF低聚物,并且反应步骤在pH值大于7下进行大于60分钟。本发明还涉及热固性酚醛树脂和酚醛树脂用于生产木质复合材料的用途。

标签:
复合材料
其他 - 其他 来源:中冶有色网 2023-03-18
阴离子可固化组合物
阴离子可固化组合物 746     
 0

本发明提供了一种组合物,包括管芯附着粘合剂、涂层和底部填充材料,其可用于电子封装和复合材料领域。具体地,本发明提供了液体的和很低熔点的环氧树脂‑马来酰亚胺组合物,该组合物在不存在任何其它固化催化剂的情况下,添加阴离子固化催化剂时会共固化。

标签:
复合材料
其他 - 其他 来源:中冶有色网 2023-03-18
二羧酸化合物,用二羧酸化合物处理的无机颗粒及其组合物

本文描述了式(I)的二羧酸化合物:其中:R3包含芳基基团,R2为包括1至6个碳原子的烷亚基基团,n为0或1,R1为H或CH3,并且X为S或NZ,其中Z为H、包括1至4个碳原子的烷基基团或苯基基团。此类化合物可用于对无机颗粒的表面进行改性。然后可以将这些改性的无机颗粒有利地用于可聚合树脂中以增加所得复合材料的折射率,同时实现可聚合组合物的良好流动特性。

标签:
复合材料
其他 - 其他 来源:中冶有色网 2023-03-18
离子交联聚合物或低聚物组合物

一方面,本文描述了组合物,另一方面,本文描述了方法。在一些实施方式中,本文所述的可聚合组合物包括:(i)一种或多种烷氧基化的、烯氧基化的或非烷氧基化的和非烯氧基化的柠檬酸,柠檬酸盐或柠檬酸的酯/酰胺;(ii)多元醇或多元胺,如二醇或二胺;(iii)结合或解离的盐中的至少一种,其包括一价、二价或三价金属阳离子。在某些情况下,可聚合组合物包括另外的单体。在某些情况下,本文所述的组合物包括由本文所述的可聚合组合物形成的聚合物或低聚物。在其他情况下,本文描述了包括金属氧化物交联剂和基于柠檬酸盐的聚合物的混合物的自固化复合材料及其制备方法。

标签:
复合材料
其他 - 其他 来源:中冶有色网 2023-03-18
穿过公共底座负荷的桁条过渡部

本申请涉及一种穿过公共底座负荷的桁条过渡部。穿过公共底座的桁条过渡部的构造消除了需要板配件及其相关紧固件来将具有较大横截面积的第一桁条的相对端连接到具有较小横截面积的第二桁条。复合材料的底座固定到飞机机翼的蒙皮板,底座与蒙皮板的纵向长度对齐并沿着蒙皮板的纵向长度延伸。第一桁条固定到底座,并且第二桁条固定到底座,第一桁条和第二桁条与底座纵向地对齐,在第一桁条和第二桁条之间具有纵向间隔。底座将第一桁条连接到第二桁条,并且仅是底座将第一桁条连接到第二桁条。

标签:
复合材料
其他 - 其他 来源:中冶有色网 2023-03-18
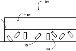
包括渗透性路面组合物的渗透性路面系统和相关方法

提供了包括渗透性路面组合物的渗透性路面系统(100)和相关方法。渗透性路面系统包括渗透性路面组合物的第一层(102),该第一层(102)包括一定量的第一渗透性路面材料(104)和与其一起并入的一定量的固化的碳纤维复合材料(CCFCM)(106),第一层限定第一表面(108);和第二渗透性路面材料(112)的第二层(110),其沉积在渗透性路面组合物的第一层的基本上整个第一表面(108)上并覆盖渗透性路面组合物的第一层的第一表面(108),其中第一层(102)与第二层(110)接合以至少增强渗透性路面系统。

标签:
复合材料
其他 - 其他 来源:中冶有色网 2023-03-18
具有压电纤维的复合构件

提供复合构件和形成复合构件的方法。例如,燃气涡轮发动机的复合构件包括复合材料、多个压电纤维和防冰机构。防冰机构与压电纤维可操作地连通,使得防冰机构由来自压电纤维的一个或多个电信号触发。在示例性实施例中,复合构件为复合翼型件,且防冰机构为一个或多个加热元件。形成复合构件的方法可包括:形成压电层板,该压电层板包括嵌入基质材料中的压电纤维;形成包括嵌入基质材料中的增强纤维的增强层板;层合压电层板和增强层板以形成层板叠层;以及处理层板叠层以形成复合构件。还提供包括形成粘附到复合构件的压电材料件的方法。

标签:
复合材料
其他 - 其他 来源:中冶有色网 2023-03-18
波纹状中空结构和波纹状中空结构的两步骤模制

经由两步骤模制方法制造根据本公开的各个方面的能量吸收结构的方法包括将包含热固性聚合物(例如热固性聚合物复合材料)的第一和第二部分前体模制成小于1的第一固化度(DOC),以使该部分前体处于凝胶化玻璃状态。该方法进一步包括通过在接合区域施加热和压力以使热固性聚合物具有大于第一DOC的第二DOC并在接合区域交联,由此接合该第一和第二部分前体。该能量吸收组件因此具有整体结构。该方法可以进一步包括将该能量吸收结构连接到外壳上。在某些方面,能量吸收结构可以具有定制的刚度和/或定制的压溃引发。

标签:
复合材料
其他 - 其他 来源:中冶有色网 2023-03-18
用于车辆的模块化滚动底盘

本发明涉及一种模块化方法,该模块化方法用以使用复合材料制造滚动底盘而无需定制成形,同时产生适当的重量分布(重心)和扭转和弯曲刚度。

标签:
复合材料
其他 - 其他 来源:中冶有色网 2023-03-18
复合零件和制造过程
复合零件和制造过程 695     
 0

本公开涉及含聚合物的复合材料,且涉及用于由这种材料形成复合零件的异常低压固结方法。更具体来说,例如,本公开涉及某种“PEEK‑PEDEK”共聚物在低压固结方法中的用途,其使用少至1巴的压力(或使用作用于保持在真空下的固结的大气压力)来提供基本上无空隙的复合零件。

标签:
复合材料
其他 - 其他 来源:中冶有色网 2023-03-18
高跟鞋鞋底结构
高跟鞋鞋底结构 1185     
 0

本发明公开了一种用于高跟鞋(60)的鞋底结构(10),至少包括由复合材料、例如碳纤维材料形成的第一骨架鞋底(11)。骨架鞋底(11)具有围绕其周边限定的楦制余量(15),并且楦制余量在结合到高跟鞋(60)中时适于容纳鞋面(61)的边缘。骨架鞋底(11)进一步成形以在其中大致居中地限定一个或多个凹部(16)。当结合到高跟鞋(60)中时,鞋底结构(10)增强的强度、刚性和柔韧性允许使用一系列具有不同鞋跟高度的可互换鞋跟结构(30、40、50)。

标签:
复合材料
其他 - 其他 来源:中冶有色网 2023-03-18
基于热塑性的耐电弧材料用于电气应用

本发明题为“基于热塑性的耐电弧材料”。所公开的概念涉及基于热塑性的材料,例如基于热塑性的复合材料,这些基于热塑性的材料是已知的基于热固性的材料(例如,不饱和聚酯)的合适替代物,作为用于电接触/非接触应用中的电路保护的绝缘体,诸如但不限于壳体、外壳、外罩和封装部件或包覆部件。在某些实施方案中,该基于热塑性的材料容纳微型断路器以及电弧和接地故障断路器。

标签:
复合材料
其他 - 其他 来源:中冶有色网 2023-03-18
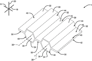
用于飞行器的复合结构及其制造方法

本发明涉及一种用于飞行器的复合结构,该复合结构包括面板以及接合至该蒙皮面板的表面的至少一个桁条,该桁条具有足部和从该足部伸出的腹板以及位于该桁条的端部中的一个端部处的收尾区域。该面板包括多个堆叠的并且共同固化的复合材料层片,并且桁条的收尾区域处的足部的至少一部分插入到面板的两个层片之间,并且该至少一部分与所述两个层片共同粘结、共同固化或二次粘结。本发明的结构在没有对制造过程进行大幅修改的情况下实现了桁条足部与蒙皮面板之间的增强的接合,从而避免了剥离或脱粘的问题。

标签:
复合材料
其他 - 其他 来源:中冶有色网 2023-03-18
冲击吸收构件
冲击吸收构件 1167     
 0

本发明提供了一种冲击吸收构件,其是轻量的,在形状上具有高自由度,并且能够有效吸收震动能。一种冲击吸收构件,其包括底表面部和树脂在底表面部上的直立部,其中,底表面部和直立部中的至少一个包括包含热塑性树脂的碳纤维增强的复合材料,并且另一个可以包含热塑性树脂,并且,其中,以100质量份的碳纤维计,热塑性树脂的存在量为30至1,000质量份,并且碳纤维的平均纤维长度为3至100mm。

标签:
复合材料
其他 - 其他 来源:中冶有色网 2023-03-18
用磷涂覆的锂金属产品、其制备方法及用途

本发明涉及颗粒状的装配有含磷层的锂金属复合材料以及制备这样的用磷涂覆的锂金属产品的方法,其特征在于,使熔化的、微滴状的锂金属在烃溶剂中与含有氧化态为3的磷的磷源反应,本发明还涉及其用于预锂化电极材料和制备电池阳极的用途。

标签:
复合材料
其他 - 其他 来源:中冶有色网 2023-03-18
良好的耐候性、抗紫外线的含富马酸的不饱和聚酯树脂

本发明涉及一种不饱和聚酯树脂,其包含富马酸并且任选地用烯属不饱和部分封端,该不饱和聚酯树脂可用于制备人造石。该不饱和聚酯树脂可以进一步被加工以获得可成型组合物,该可成型组合物可以被固化以最终得到人造石作为复合材料。由此获得的人造石显示出对紫外线和阳光的高抗性以及高耐候性。本发明还涉及一种用于制备人造石的方法以及不饱和聚酯树脂用于制备人造石的用途。

标签:
复合材料
其他 - 其他 来源:中冶有色网 2023-03-18
用于飞行器的推进组件的结构、相关联的系统和推进组件

用于飞行器的推进组件的结构、相关联的系统和推进组件。本发明涉及一种用于飞行器的推进组件的由复合材料制成的结构(16),结构(16)包括被设计成接收电能的至少一个热区(24),结构(16)的特征在于,每个热区(24)包括至少一个电阻性蒙皮(26),所述至少一个电阻性蒙皮包括:内膜(30),内膜是用通过包含碳纳米管而导电的热塑性材料制成的,这样使得每个电阻性蒙皮(26)被设计成用于通过焦耳效应耗散热区(24)接收的至少一部分电能;中间层(28),中间层是用热塑性材料浸渍的缎纹织物制成的;以及外膜(32),外膜是用热塑性材料制成的。本发明还涉及包括这种结构的系统、推进组件。

标签:
复合材料
其他 - 其他 来源:中冶有色网 2023-03-18
用于振动阻尼和/或声音衰减材料的制造的方法

本发明大体上涉及使用片层压方法来生产具有受控多孔架构的片状材料,所述材料可以用作振动阻尼和/或声音衰减材料。与行业中可用的现有材料相比,本文所描述的材料可展现优良的振动阻尼和/或声音衰减性质。本发明的方法涉及其中已产生多个孔隙的一系列聚合物或复合材料膜的连续层压。在此类实施例中,所述孔隙可在连续膜中具有不同大小,且以在最终片状材料中产生多个三维泡孔的方式定位。

标签:
复合材料
其他 - 其他 来源:中冶有色网 2023-03-18
使用具有目标氧化水平的离散碳纳米管的屏蔽配制剂及其配制剂

要求保护离散的个体化碳纳米管,其在管壁的内部和外部具有目标或选择性的氧化水平和/或含量。这种碳纳米管可以几乎没有或没有内管表面氧化,或者在管的内表面和外表面之间的氧化的量和/或类型不同。这些新的离散碳纳米管可用于电磁和射频屏蔽应用,尤其是在相对宽的频率范围内屏蔽基本上恒定的情况下。在弹性体、热塑性和热固性复合材料的配混和配制中可以使用添加剂如增塑剂以改善机械、电和热性能。

标签:
复合材料
其他 - 其他 来源:中冶有色网 2023-03-18
涂布LTO的LRMO阴极和合成

公开了一种形成高能量密度复合阴极材料的方法。所述方法包括:提供富含锂的锰层状氧化物(LRMO);用TiO2前体涂布所述LRMO;以及用LiH对涂布TiO2的LRMO进行球磨以形成涂布LixTiO2的LRMO复合材料,其中x小于或等于1并且大于零。

标签:
复合材料
其他 - 其他 来源:中冶有色网 2023-03-18
用于制造CFK构件的、具有单向增大的强度的纱制品

本发明涉及一种用于制造纤维增强的复合材料的幅材状的半成品、一种用于制造半成品的方法以及一种所属的生产设备。半成品包括由未编织的纤维纱(16)构成的至少一个纱层(12,13,14,15)和至少另一个幅材状的纤维层(21,22)制成的局部强化的平叠结构(11)。至少一个纱层(12,13,14,15)主要或完全由碳纤维、芳纶纤维或者诸如玻璃纤维或玄武岩纤维的矿物纤维形成,并且纱层(12,13)中包含的纤维(17)具有优选定向(VR)。平叠结构仅通过分层形成,其中至少一个纱层和至少一个纤维层不含附加的宏观支撑件。通过由并排布置的单线制成的幅材状的纱片(23,24)形成另外的纤维层(21,22)。其还主要或完全由碳纤维、芳纶纤维或者诸如玻璃纤维或玄武岩纤维的矿物纤维形成并具有单独的纤维取向(FA)。纱制品通过在各种层的纤维之间的局部连接点被局部强化,使得半成品具有高的方向性的强度并且同时具有最大的能打皱性。

标签:
复合材料
其他 - 其他 来源:中冶有色网 2023-03-18
用于涡轮发动机风扇的插入平台及其制造方法

本发明涉及一种插入平台(1),该插入平台用于定位在航空涡轮发动机风扇的两个相邻叶片(2)之间,所述平台包括由复合材料制成的流动截面壁(10),该流动截面壁包括中心部分(16)以及第一和第二缘部(18),该第一和第二缘部沿所述壁的纵向方向延伸,每个缘部沿所述壁的横向方向在预定距离(D)上从中心部分(16)延伸,所述流动截面壁包括由基质致密的纤维加强件,其特征在于,存在于中心部分(16)中的纤维加强件具有三维编织,并且存在于第一和第二缘部(18)中的纤维加强件至少部分地具有二维编织。本发明还涉及一种风扇模块、涡轮发动机以及制造此种平台的方法。

标签:
复合材料
其他 - 其他 来源:中冶有色网 2023-03-18
pH计
pH计 1167     
 0

由复合材料并任选地使用微制造技术制得的伏安传感器能够检测10微升以下的样品体积中的分析物。

标签:
复合材料
其他 - 其他 来源:中冶有色网 2023-03-18
上一页 496 497 498 499 500 ... 863 下一页
共863页    到第

中冶有色为您提供最新的其他有色金属材料制备及加工技术理论与应用信息,涵盖发明专利、权利要求、说明书、技术领域、背景技术、实用新型内容及具体实施方式等有色技术内容。打造最具专业性的有色金属技术理论与应用平台!

全国热门有色金属设备推荐
展开更多 +
全国热门有色金属技术推荐
展开更多 +

 

江西省隆恩特环保设备有限公司
宣传

报名参会
更多+

报告下载

有色专家
更多+

北京科技大学
主任/教授
江西理工大学
教授
西安建筑科技大学
院长/教授
中国铝业集团有限公司
中国铝业股份有限公司党委书记
中铝科学技术研究院有限公司
董事长
赤泥综合利用研究报告2025
推广

热门技术
更多+

推荐企业
更多+

福建省金龙稀土股份有限公司
宣传

发布

在线客服

公众号

电话

顶部
咨询电话:
010-88793500-807