青岛垚鑫智能科技有限公司
宣传

位置:中冶有色 >

有色技术频道 >

分类:
全部
矿山技术
冶金技术
材料制备及加工技术
环境保护技术
分析检测技术
 
全部
废水处理技术
大气治理技术
固/危废处置技术
土壤修复技术
地区:
全部
北京
天津
上海
重庆
河北
山西
辽宁
吉林
黑龙江
江苏
浙江
安徽
福建
江西
山东
河南
湖北
湖南
广东
海南
四川
贵州
云南
陕西
甘肃
青海
内蒙
广西
西藏
宁夏
新疆
其他
其他
展开
 
全部

有色金属环境保护技术理论与应用

免费发布技术信息>>
综合废水净化系统
综合废水净化系统 1081     
 0

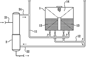
本发明公开了一种综合废水净化系统,包括净化塔、雾化器、臭氧机,净化塔上部侧壁设有废水入口,内部从上到下依次设有缓流层、导流层以及吸附层;缓流层为单层平板结构,位于废水入口下方;单层平板结构上远离废水入口的一端设有多个通孔;导流层由多层斜面导流板组成;导流板表面设有光栅结构;光栅结构表面设有多孔膜;雾化器的喷嘴位于净化塔内,位于导流层下方;吸附层由两层石英砂过滤网组成;两层石英砂过滤网之间设有与臭氧机相连的臭氧入口;净化塔底端设有流体出口。本发明提供的综合废水净化系统可及时准确的处理废水,达到排放要求,保护环境,也为企业造福;装置组成合理,维护容易。

标签:
废水处理
江苏 - 苏州 来源:中冶有色网 2023-03-19
用于废水处理的方法和用于实施该方法的装置

本发明以以下任务为基础:提出一种方法以及一种装置,所述装置可靠地保证以好的能量效率从废水中去除污染物,由此,所述经净化的废水可以作为直接排放物供入或者在特别的情况下可以供给进一步的净化过程。该任务的另一个方面是从农业和市政废水中回收原料或者从沼气装置回收原料。该任务通过一种方法解决,该方法包括在使用阳极的情况下电解地处理所述废水,所述阳极不但包括耐受所述电解的材料而且包括在电解时进入溶液中的、所谓的牺牲材料,这两种材料同时遭受废水。用于实施所述方法的装置具有作为所述阳极的耐受所述电解的部分的由铂、钛、铌、钯、钌或者镀铂的钛组成的形状稳定的阳极笼(4),所述阳极笼装有铝、铁、镁、钙或者这些金属的混合物作为牺牲材料。本发明可以用于废水处理。

标签:
废水处理
其他 - 其他 来源:中冶有色网 2023-03-19
利用稀土铈掺杂钛基二氧化锰电极对印染废水进行处理的方法

本发明公开了一种利用稀土铈掺杂钛基二氧化锰电极对印染废水进行处理的方法。其中所述电极由内层钛基体、锡锑氧化物中间层和稀土铈元素掺杂二氧化锰表面涂层构成;所述处理方法即以稀土铈掺杂钛基二氧化锰电极为阳极,钛板为阴极,电极板间距为2.5~7cm,电解质氯化钠浓度为0.1mol/L,pH为8~10,电流密度为30mA/cm2,电解时间为1~1.5h,当用制备的铈掺杂钛基二氧化锰电极对模拟的印染废水进行处理时,其废水色度去除率达到96%以上,COD去除率达到84%~91%。

标签:
废水处理
上海 - 上海 来源:中冶有色网 2023-03-19
医院废水处理设备
医院废水处理设备 862     
 0

本实用新型公开了医院废水处理设备,包括支撑底板,所述支撑底板的上端安装有废水集中处理箱,所述废水集中处理箱的一侧安装有透明观察窗,所述透明观察窗的一侧安装有显示屏,所述显示屏的一侧安装有参数设置键盘,本实用新型结构科学合理,使用安全方便,设置有废水过滤罐,通过废水过滤罐内设置的斜置滤网,对废水进行初步的过滤作业,滤除废水中的固态杂质,以方便后续对废水进行集中处理,设置有废水集中处理箱,箱内安装有对废水进行净化消毒的各种装置,对废水进行集中的处理,使设备的体积更加的集中,便于管理,解决了传统废水净化设备,占地面积大的问题,便于安装和维护。

标签:
废水处理
陕西 - 西安 来源:中冶有色网 2023-03-19
离子束叠加生物法处理难降解及高氨氮废水的方法

本发明公开了一种离子束叠加生物法处理难降解及高氨氮废水的方法,包括以下步骤:(1)将空气电离产生阳离子空气粒子并通过磁场处理后,溶入废水中,得溶液A;所述电离和磁场处理通过阳离子束装置进行;所述磁场处理为组合频率磁场处理;(2)将步骤(1)所得溶液A置入生化处理废水池中进行微生物处理;所述微生物处理为微生物水解处理或微生物氨氧化过程。本发明所述方法将阳离子空气粒子溶入水体,通过生物电磁波磁叠加作用强化微生物种群作用,使废水池中微生物的处理活性、抗水质波动能力及耐受性提高;同时可促进有机污染分子的断裂,提高水体氧化性;提高氨氮的氨氧化能力,辅助微生物进行净水,实现高效处理难降解废水或高氨氮废水。

标签:
废水处理
广东 - 广州 来源:中冶有色网 2023-03-19
含酚废水的处理与利用工艺

本发明一种含酚废水的处理与利用工艺,其特征在于:它包括以下步骤:((1)、过滤、预处理:对含酚废水进行过滤,除去悬浮物和油得到预处理后的含酚废水液体;(2)、调节pH:在该预处理后的含酚废水中添加浓硫酸,调节pH值为2~3;(3)、萃取:加入络合剂,助溶剂和稀释剂萃取;(4)、吸附:使用活性炭吸附废水回收酚;(5)、反萃取:将废水与碱液同时加入离心萃取机进行反萃取回收利用。本发明具有如下优点:本发明工艺简化,降低处理成本,回收效率高,回收质量好,操作简单,离心萃取停留时间短、存留液量少、萃取效率高、破乳能力强、开停车方便、适用物料处理体系范围广。

标签:
废水处理
广东 - 深圳 来源:中冶有色网 2023-03-19
基于癸酸萃取的脱硫废水浓缩方法和系统

本发明涉及一种基于癸酸萃取的脱硫废水浓缩方法和系统,该方法包括以下步骤:1)将癸酸投入容器中加热至设定温度,该设定温度为31.5‑95℃;2)向加热的癸酸加入预处理的脱硫废水,充分搅拌混合,继续加热并维持在设定温度1‑5min,使癸酸溶液中溶解吸收的水达到饱和形成混合乳液;在混合乳液中,脱硫废水预处理水因水溶解吸收进入癸酸中而被浓缩;3)对混合乳液进行分离,分离出癸酸乳液与脱硫废水浓缩液;将分离的脱硫废水浓缩液进行末端固化处理;4)将分离出的癸酸乳液先降温至32‑40℃,使部分水自癸酸乳液中析出,形成癸酸溶液和水;癸酸溶液返回步骤1)循环使用。本发明无需对脱硫废水进行软化,可降低设备投资。

标签:
废水处理
江苏 - 南京 来源:中冶有色网 2023-03-19
不锈钢酸洗废水污泥中含铬镍铁氧体的回收方法

本发明公开了一种废水处理方法,具体是指一种不锈钢废水的处理方法。本发明通过打浆过程、用浓H2SO4或HCl调节pH值的酸浸过程、细浆过程、用氨水或NaOH溶液调节pH值到4.0~4.5的碱化过程、以及过滤过程,得到的滤泥即为铁氧体半成品。本发明的优点是可以有效回收不锈钢生产废水中的重金属离子,而且有利地保护了环境,回收成本也较低,设备工艺相对不是很复杂,本发明可以广泛应用于不锈钢生产企业。

标签:
废水处理
浙江 - 丽水 来源:中冶有色网 2023-03-19
多晶硅废水零排放方法及系统

本发明公开了一种多晶硅废水零排放方法及系统。该方法包括以下步骤:A.对来自冷却塔和后处理系统的不含氯离子的酸性废水进行中和、沉降、澄清得到澄清废水;B.对澄清废水进行过滤、反渗透后得到产品水;C.产品水送回冷却塔作为补充水;D.对来自生产系统的含氯离子的酸性废水进行中和、沉降、澄清得到澄清回用水;E.澄清回用水送往生产系统循环使用,并在其吸收氯离子饱和后进行蒸发浓缩结晶得到固体氯化钙;蒸发冷凝水送往冷却塔作为补充水;F.将步骤C中得反渗透产生的浓水送往生产系统用于溶解废渣、吸收废气。实现了废水闭环处理、零排放。整个处理系统对周边环境污染小、水资源用量相对于之前大大减少、处理成本也大大降低。

标签:
废水处理
内蒙 - 包头 来源:中冶有色网 2023-03-19
石化废水在线监测控制成套系统

本发明属于石化废水监测技术领域,具体涉及一种石化废水在线监测控制成套系统。本发明的系统,包括控制器,还包括以下的结构:定时模块,耦接控制器;检测模块,包括色度传感器、流量传感器、温度传感器、pH传感器,pH传感器与控制器相连接并且给其输送pH值的信号;该系统还包括存储装置,它存储了反映检测模块所检测到的流量、温度、时间、pH参数,存储装置与控制器相连接。本发明实现对石化废水的高效处理,还能够对废水处理过程进行实施监测,并根据监测结果提高废水处理的性能、可靠性、灵活性和运行效率,增大废水处理负荷。

标签:
废水处理
山东 - 济南 来源:中冶有色网 2023-03-19
印染废水处理循环利用装置及其方法

一种印染废水处理循环利用装置及其方法,涉及一种印染废水处理。提供一种CODCr去除率高、化学药剂消耗少、产生污泥少、处理比较彻底、水回用率高的基于纳米催化电解和膜技术的印染废水处理循环利用装置及其方法。装置设有粗格栅过滤机、调节池、水力筛、脱硫反应池、纳米催化电解机、絮凝反应池、沉淀池、气浮装置、生化池、二沉池、二次纳米催化电解机、过滤器、压滤机、膜系统和循环水池。具体步骤包括脱硫、纳米催化电解、絮凝、生化处理、二次催化电解、过滤和膜分离。

标签:
废水处理
福建 - 厦门 来源:中冶有色网 2023-03-19
设有引水罐的废水排放系统

一种设有引水罐的废水排放系统,属于废水排放系统技术领域。它包括引水罐、水泵及进水管,引水罐、进水管放置在废水收集池上,进水管的上端位于引水罐内,其下端插入废水收集池的底部,引水罐与水泵的进水口相连通。本实用新型中设置有引水罐,一方面可以在抽废水之前,为水泵的进水管进行注水,减少了水泵的启动作业,提高了操作效率;另一方面,可以作为废水的过渡储存及废水中杂物的收集装置,能够防止进水管堵塞,避免对进水管及水泵进行经常性的检修清理;液位控制器与水泵联动设置,使液位控制器与水泵形成联锁反应,可使水泵在设定的水位位置自动启停,以免误将水池内废水抽完,造成引水罐内无存水,下次抽水前需要对引水罐进行补水。

标签:
废水处理
浙江 - 杭州 来源:中冶有色网 2023-03-19
微小型餐厨废水处理装置

本实用新型公开了一种微小型餐厨废水处理装置,属于餐厨废水处理技术领域,包括破碎筛选机构、湿解离心机构、废水处理机构、废渣刮渣机构和叠螺机,所述湿解离心机构位于破碎筛选机构的旁侧且与破碎筛选机构相连通,所述废水处理机构与湿解离心机构相连通,所述废渣刮渣机构位于废水处理机构上,所述废渣刮渣机构与废水处理机构滑动配合,所述叠螺机位于破碎筛选机构的旁侧,所述叠螺机与破碎筛选机构、湿解离心机构和废水处理机构相连通。本实用新型可以实现对餐厨废水的处理。

标签:
废水处理
湖南 - 株洲 来源:中冶有色网 2023-03-19
高盐废水零排放资源化处理设备

本实用新型公开了一种高盐废水零排放资源化处理设备,所述设备包括:蒸发单元,对高盐废水与脱硫废水的混合原水进行多效强制循环蒸发浓缩处理;加药处理单元,对蒸发单元输出的浓水进行加药沉淀处理;过滤单元,对加药沉淀处理之后的废水进行预过滤处理;后处理单元,将预过滤处理之后的废水加工得到资源化产品。本实用新型针对高盐废水处理,提供一种优化的高盐废水零排放资源化处理设备,真正实现高盐废水零排放,实现了废物的再利用,运行成本低,产品经济性好,整体资源化零排放的运行成本在20~50元/吨水,同时投资成本也将降低20~40%。

标签:
废水处理
四川 - 自贡 来源:中冶有色网 2023-03-19
可降解含氯含硝基芳烃类废水的净化装置

本实用新型公开了一种可降解含氯含硝基芳烃类废水的净化装置,包括第一箱体和第二箱体,所述第一箱体位于第二箱体的左侧,所述第一箱体左侧的顶部连通有废水进管,所述第一箱体的内腔从上至下依次固定连接有砂石网、过滤网和活性炭网。本实用新型通过进水管、水泵、第一出水管、软管、隔板、第二出水管、喷头、滑块、滑槽、活动杆、电机、转盘、固定块和降解物质的配合使用,解决了传统的可降解含氯含硝基芳烃类废水的净化装置对废水净化效率低,对废水中的含氯含硝基芳烃降解效率低的问题,该可降解含氯含硝基芳烃类废水的净化装置,具有方便使用优点,提高了可降解含氯含硝基芳烃类废水净化装置的对废水的净化效率。

标签:
废水处理
江苏 - 连云港 来源:中冶有色网 2023-03-19
含铅废水快速处理装置
含铅废水快速处理装置 1213     
 0

本实用新型公开了一种含铅废水快速处理装置,包括装置本体,所述装置本体的一侧设有废水池,所述废水池与所述装置本体紧密连接,所述废水池的一侧设有进水口,所述进水口与所述废水池固定连接,所述废水池的一侧设有过滤池,所述过滤池的一侧设有粗过滤网,所述过滤池通过所述粗过滤网与所述废水池紧密连接,所述过滤池的一侧设有PH调节池,所述PH调节池的一侧设有细过滤网,所述PH调节池通过所述细过滤网与所述过滤池固定连接,所述PH调节池的一侧设有混凝反应池,所述混凝反应池与所述PH调节池固定连接,所以该种含铅废水快速处理装置有着广泛的应用前景。

标签:
废水处理
河北 - 保定 来源:中冶有色网 2023-03-19
一体式废气废水处理设备

本实用新型公开了一体式废气废水处理设备,包括:搅拌机构、喷淋机构;所述喷淋机构固定安装在所述搅拌机构的侧面;所述搅拌机构向废水中输入氧气并不断搅拌,使得废水中的有害气体离开水体;本实用新型通过提供搅拌机构,通过输氧管将氧气输入废水中,并和废水中的有害气体结合,使得有害气体的体积增大,从而有害气体在浮力的作用下脱离废水,实现了方便过滤废水中有害气体的功能,同时工作人员控制搅拌电机工作,搅拌叶充分搅拌氧气和废水,同时带动喷淋管转动,使得水流无死角的喷洒到废气中,实现了搅拌的过程中能够提高废气过滤效率的功能,极大的提高了实用性。

标签:
废水处理
江苏 - 苏州 来源:中冶有色网 2023-03-19
废水监测设备
废水监测设备 813     
 0

本实用新型的目的是提供一种废水监测设备,包括箱体,箱体内部设有控制板、废水暂储球、监测仪及污物收集组件,废水暂储球一侧连接有进水管,另一侧连接有主水管,主水管靠近废水暂储球一端设有第一阀门,主水管远离废水暂储球一端连接有出水管,出水管靠近主水管一端设有第二阀门,监测仪设于废水暂储球下方,监测仪与废水暂储球之间设有连接管,连接管上设有第三阀门,监测仪下方连接有辅水管,辅水管远离监测仪一端与主水管相连接,监测仪内部设有多个酸碱度传感器,控制板分别与监测仪、第一阀门、第二阀门及第三阀门电信号连接。本实用新型的有益效果为:可对废水的PH值进行监测,通过分流设置,延长了监测仪的使用寿命。

标签:
废水处理
天津 - 天津 来源:中冶有色网 2023-03-19
高盐高COD废水处理系统

本实用新型涉及废水处理技术领域,提供了一种高盐高COD废水处理系统。本实用新型提供的系统包括废水干燥器、废盐焚烧炉、熔融盐收集罐、气体保温壳、热交换器、旋风除尘器和尾气处理器,利用废水干燥器将高盐高COD废水干燥,废盐混合物通入废盐焚烧炉中焚烧,焚烧过程中有机物被完全分解,盐类成为熔融态进入熔融盐收集罐中,焚烧产生的高温烟气在热交换器中与冷空气进行热交换,产生的高温空气进入废水干燥器为废水干燥提供热源,低温烟气进入旋风除尘器和尾气处理器中处理,得到洁净气体后外排。本实用新型提供的系统结构简单,能量利用率高,能将有机物完全分解并分离出盐类,实现高盐高COD废水的零排放处理和资源化利用。

标签:
废水处理
福建 - 厦门 来源:中冶有色网 2023-03-19
焦化废水用新型微纳米气浮装置

本实用新型公开了一种焦化废水用新型微纳米气浮装置,包括气浮池、废水进口、废水出口、溶气水泵和微纳米气泡发生器;所述废水进口和废水出口均开设在气浮池上,若干微纳米气泡发生器安装在气浮池中,且微纳米气泡发生器安装在废水进口与废水出口之间;所述微纳米气泡发生器释放的溶气水由溶气水泵用于将压缩空气加压溶解在水源中通过管道泵入微纳米气泡发生器下方;在微纳米气泡发生器产生的微纳米气泡作用下,废水中的轻质和部分密度较小的重质煤焦油被微纳米气泡接触并粘附,在气泡浮力作用下被带到气浮池水面上,再通过浮油刮渣器刮至浮油收集槽,从收集槽排出气浮装置。

标签:
废水处理
广东 - 深圳 来源:中冶有色网 2023-03-19
电镀废水循环处理设备

本实用新型公开了电镀领域中的一种电镀废水循环处理设备,包括电镀设备的废水池,废水池后依次通过管道连接固液过滤装置、废水处理装置、混凝沉淀装置,预处理机构还通过回流管与废水池连通,混凝沉淀装置的纯水出水口与电镀设备的纯水系统连通。本实用新型能适应电镀废水的复杂化成分,可以充分减少废水排放量,节省排污费,本实用新型能够循环使用纯水,提高水的利用率。

标签:
废水处理
重庆 - 重庆 来源:中冶有色网 2023-03-19
印染废水分离设备
印染废水分离设备 831     
 0

本实用新型公开了一种印染废水分离设备,包括废水分离壳体,所述废水分离壳体顶端安装有顶盖,所述顶盖下方设有废水进口,所述废水分离壳体中部开设有处理腔,所述处理腔上端安装有絮凝剂管和活性炭管,所述废水分离壳体底部设有出水部和出泥部;所述处理腔内安装有过滤袋,所述过滤袋与处理腔之间设有液压缸,所述液压缸下端设有压泥板,所述压泥板下方设有出泥部,所述处理腔上端通过支撑板安装有搅拌桨;主要通过搅拌桨对絮凝体搅拌,使之絮凝更加充分,压泥板和过滤袋的配合使水分得到分离,絮凝体得到压缩形成泥块,絮凝剂和活性炭去除废水中的有害物质,泥块可以再利用,水可以回收作其他使用,分离速度快,效率高,更加环保。

标签:
废水处理
浙江 - 绍兴 来源:中冶有色网 2023-03-19
利用可移动格栅耙齿自清洗废水处理池

一种利用可移动格栅耙齿自清洗废水处理池,包括废水池、驱动电机、主动链轮、从动链轮、传动链条和耙齿,废水池的两侧池壁顶部的两端分别转动设有主动链轮和从动链轮,废水池的一侧池壁外主动链轮的下方设有托台,托台的上方固定驱动电机,驱动电机的输出轴与主动链轮的轮轴同轴,主动链轮和从动链轮分别在两端以一条传动链条连接,传动链条的每个链节上连接有槽钢,主动链轮和从动链轮两端的传动链条通过对应链节上的槽钢连接。本实用新型在废水池的顶部水平设置由传动链条带动的耙齿,在废水进入废水池前提前拦截塑料袋、线绳和大块物料随着耙齿带入废渣箱,避免其进入池中再耗费能源将其捞起。

标签:
废水处理
天津 - 天津 来源:中冶有色网 2023-03-19
石油钻井废水处理系统
石油钻井废水处理系统 1049     
 0

本实用新型公开了一种石油钻井废水处理系统,包括储罐、过滤器、进料泵、蒸发装置、浓缩液循环泵,储罐用于对钻井废水进行沉淀,过滤器通过管道与储罐的内腔连通,用于过滤掉钻井废水中的小颗粒杂质,进料泵通过管道与过滤器连接,用于抽取储罐内的钻井废水,蒸发装置通过管道与进料泵连接,用于对钻井废水进行蒸发浓缩,浓缩液循环泵通过管道与蒸发装置连接,用于抽取蒸发装置中的浓缩液,浓缩液循环泵通过管道与储罐连接,用于将浓缩液注入储罐内存储。利用本系统处理石油钻井废水,可以在消耗少量电能的情况下实现钻井废水的蒸发,又避免了目前晒水池的污水直接蒸发引起的大气污染和地下水污染。

标签:
废水处理
重庆 - 重庆 来源:中冶有色网 2023-03-19
屠宰废水的处理系统
屠宰废水的处理系统 1137     
 0

本实用新型涉及屠宰场废水处理技术领域,公开一种屠宰废水的处理系统,包括废水收集管道,还包括沿屠宰废水的流动方向依次经管路连接的格栅池、初沉池、调节池、混凝气浮池、兼氧水解酸化池、好氧氧化池、二沉池;所述格栅池与废水收集管道连接;所述二沉池和兼氧水解酸化池之间还设有第一污泥回流泵,所述污泥回流泵的出口端经管路与兼氧水解酸化池连接,所述污泥回流泵的入口端经管路与二沉池连接。本实用新型的处理系统针对屠宰废水特点设计,能够确保废水处理的效果,满足中小型屠宰场的废水处理需求,而且工艺设计合理,基建投资和运行费用低。

标签:
废水处理
浙江 - 杭州 来源:中冶有色网 2023-03-19
含盐有机物废水的处理系统

本实用新型提供一种含盐有机物废水的处理系统,包括:用于将待处理含盐有机物废水进行雾化处理的雾化装置;用于将雾化处理所得雾化废水进行催化氧化处理并进行盐析出处理的催化氧化装置,催化氧化装置与雾化装置流体连通;用于将催化氧化处理所得雾化废水进行冷却处理的冷却管,冷却管与催化氧化装置流体连通;用于将冷却处理所得废水进行生物氧化处理的生物氧化装置,生物氧化装置与冷却管流体连通。本实用新型解决含盐有机物废水尤其高盐有机物废水处理稳定达标的问题,同时降低废水处理工程中的运行费用、提升运行过程中的稳定性。

标签:
废水处理
上海 - 上海 来源:中冶有色网 2023-03-19
挥发性有机气体及有机废水合并处理系统

一种挥发性有机气体及有机废水合并处理系统,包括一气体蓄热式高温氧化装置与一废水脱气塔,其中该气体蓄热式高温氧化装置用以燃烧挥发废气中有害物质,使一废气自一废气排入管路进入后,经过高温氧化后形成一无毒气体后,再自一气体排出管路向外排出,而该废水脱气塔用以接收一废水与一热气,使该热气与废水于该废水脱气塔内接触后,该废水中的有机成分可被挥发,再自一气体排出管路排至气体蓄热式高温氧化装置内进行燃烧,而废水内的有机成分经挥发后,即可自该液体排出管路排出。

标签:
废水处理
其他 - 其他 来源:中冶有色网 2023-03-19
基于真空蒸发兼热能利用的有机含盐废水处理系统

本实用新型公开一种基于真空蒸发兼热能利用的有机含盐废水处理系统,包括废水储罐、换热器、氧化装置、真空蒸发罐、真空泵、机械蒸汽压缩泵等;高浓度有机含盐废水首先经过氧化装置,有机物经过氧化后降解放热,废水温度升高,经过预热器进一步预热后,进入真空蒸发罐内,进一步被机械蒸汽压缩泵压缩后的蒸汽加热,真空蒸发罐内压力降低,废水迅速蒸发产生蒸汽,蒸汽进入机械蒸汽压缩泵提升品质后用于加热真空蒸发罐内的废水以实现蒸发,蒸汽本身冷凝为水,进入预热器预热氧化后的废水。蒸发后的浓缩废水从真空蒸发罐底部排出,通过强制循环泵循环蒸发,达到一定浓度后进入结晶装置产生盐类固体,母液进一步循环蒸发。

标签:
废水处理
山东 - 济南 来源:中冶有色网 2023-03-19
高醛酚双污染物有机废水的处理系统

本实用新型涉及有机废水处理技术领域,公开了一种高醛酚双污染物有机废水的处理系统,所述高醛酚双污染物有机废水的处理系统包括:酚醛双污染物处理系统,所述酚醛双污染物处理系统用于对有机废水进行初次处理;氧化系统,所述氧化系统用于对初次处理后的有机废水进行二次处理;膜生物厌氧系统,所述膜生物厌氧系统用于对二次处理后的有机废水进行最终处理;所述酚醛双污染物处理系统、氧化系统、膜生物厌氧系统顺次设置。本实用新型适用于高醛酚双污染物有机废水处理装置中,整个装置设计合理,结构紧凑,对于含有高甲醛的废水处理效果好。

标签:
废水处理
上海 - 上海 来源:中冶有色网 2023-03-19
炼化废水深度处理系统
炼化废水深度处理系统 1054     
 0

本实用新型公开了一种炼化废水深度处理系统,包括沿炼化废水进入方向通过水管依次连接的隔油池、均质池、水解池、A/O反应池、曝气池、二沉池、三维电化学装置、纳滤装置及臭氧消毒装置,三维电化学装置包括总电源、支电源、三维反应器和蠕动泵,总电源分别与支电源和蠕动泵电连接,支电源通过电线与三维反应器中的电极板连接,三维反应器上设有进水管和出水管,蠕动泵设置于进水管,二沉池的出水口与三维反应器的进水管连接,三维反应器的出水管与纳滤装置的进水口连接。本实用新型降低了废水处理成本,提高了处理效率,并且实现了电助废渣活化过硫酸盐深度处理废水的效果,提高了废渣及过硫酸盐的利用率,从而提高了废水处理效果。

标签:
废水处理
甘肃 - 兰州 来源:中冶有色网 2023-03-19
上一页 4963 4964 4965 4966 4967 ... 5000 ... 5981 下一页
共5981页    到第

中冶有色为您提供最新的有色金属环境保护技术理论与应用信息,涵盖发明专利、权利要求、说明书、技术领域、背景技术、实用新型内容及具体实施方式等有色技术内容。打造最具专业性的有色金属技术理论与应用平台!

全国热门有色金属设备推荐
展开更多 +
全国热门有色金属技术推荐
展开更多 +

 

江西省隆恩特环保设备有限公司
宣传

报名参会
更多+

2025年10月15日 ~ 17日
2025年10月17日 ~ 19日
2025年10月31日 ~ 11月02日
2025年11月07日 ~ 09日

报告下载

有色专家
更多+

中南大学
中国工程院院士
洛阳有色矿业集团有限公司
生产技术部经理
中国矿业大学(北京)
教授
中国有色金属工业协会
副会长兼秘书长
西安建筑科技大学
院长/教授
赤泥综合利用研究报告2025
推广

热门技术
更多+

推荐企业
更多+

福建省金龙稀土股份有限公司
宣传

发布

在线客服

公众号

电话

顶部
咨询电话:
010-88793500-807