青岛垚鑫智能科技有限公司
宣传

位置:中冶有色 >

有色技术频道 >

分类:
全部
矿山技术
冶金技术
材料制备及加工技术
环境保护技术
分析检测技术
 
全部
功能材料技术
复合材料技术
新能源材料技术
合金材料技术
加工技术
地区:
全部
北京
天津
上海
重庆
河北
山西
辽宁
吉林
黑龙江
江苏
浙江
安徽
福建
江西
山东
河南
湖北
湖南
广东
海南
四川
贵州
云南
陕西
甘肃
青海
内蒙
广西
西藏
宁夏
新疆
其他
其他
展开
 
全部
北京

北京北京有色金属材料制备及加工技术理论与应用

免费发布技术信息>>
变增强体热熔预浸料的制备方法及其制备装置

本发明涉及复合材料技术领域,尤其是涉及一种变增强体热熔预浸料的制备方法及其制备装置;包括制备胶膜,制备搭接纤维布,将胶膜和搭接纤维布的叠放,获得预制的变增强体热熔预浸料,热压辊热压复合,获得变增强体热熔预浸料,冷却后与PE膜复合碾压、收卷备用;本发明还提供了一种变增强体热熔预浸料的制备方法的制备装置,包括输送辊,胶槽,热熔预浸机,冷却系统,碾压辊,收卷系统等;本发明提供的变增强体热熔预浸料的制备方法能够实现直接制备变增强体热熔预浸料,一张预浸布上有不同的增强体材料,一步裁剪出变增强体的预浸布,精确控制增强体的重叠宽度,有效提高工作效率并避免浪费。

标签:
复合材料
北京 - 北京 来源:中冶有色网 2023-03-18
复合固体推进剂体系相关化学反应热力学性质的分析方法

本发明属于复合材料合成分析技术领域,公开了一种复合固体推进剂体系相关化学反应热力学性质的分析方法,通过分析复合固体推进剂中所含有物质的化学式结构,确保所预测的产物结构正确;进行基团划分,通过每种物质所含基团的贡献值求和的方式,求得该特定物质的基础热力学数据;采用Gaussian软件利用量子化学方法对含有该基团物质的其他反应进行计算,得出该反应的热力学性质后对其分析,补全其特有基团的相关贡献值;利用热力学基本公式求得相关反应在不同温度下的热力学性质;通过在同一体系中具有相同基团反应的化学反应热力学数据来间接表示此大分子聚合物反应。本发明能够为各个体系中反应条件的优化和应用提供理论依据。

标签:
复合材料
北京 - 北京 来源:中冶有色网 2023-03-18
基于MXene/丝素蛋白材料的传感器及其制备方法与应用

本发明涉及一种基于MXene/丝素蛋白复合材料传感器及其制备方法,该传感器由MXene/丝素蛋白膜传感层和MXene叉指电极构成,其柔性好、透气性好、可完全降解、绿色环保,并兼具宽广的感应范围、高灵敏度、快速的响应/恢复时间、可靠的透气性、出色的循环稳定性,可以用于超灵敏压力感测和运动定位,该传感器在智能电子皮肤、人体运动检测、临床诊断和人机交互领域具有极大的应用前景。

标签:
复合材料
北京 - 北京 来源:中冶有色网 2023-03-18
高强度矿物基无机喷注充填材料及其制备方法

本发明属于煤矿开采充填技术领域,提供了一种高强度矿物基无机喷注充填材料及其制备方法,制备所述充填材料的原料包括水泥、粉煤灰、微硅粉、减水剂、碳纳米管和表面活性剂,其中通过引入一维材料——碳纳米管,有效抑制了水泥基复合材料裂纹的产生和扩展,极大的增强了材料固化后的抗压强度和冲击韧性,形成的无机喷注填充材料应用于煤矿散碎岩体加固和巷道孔洞填充,可保证矿产作业的安全,应用空间广阔。

标签:
复合材料
北京 - 北京 来源:中冶有色网 2023-03-18
中温快速固化阻燃环氧树脂及其制备方法

本发明是一种中温快速固化阻燃环氧树脂及其制备方法,本发明的环氧树脂不含卤素,树脂中所含磷元素、氮元素、金属氧化物在设定的配比下与酚醛基环氧树脂产生协同阻燃效果,使得材料在燃烧时同时进行凝聚相阻燃及气相阻燃,由其制备的预浸料/复合材料阻燃性能优异,满足DIN5510(S4/ST2/SR2)、UL‑94(V‑0)、EN45545(HL3)和TB/T 3237(A)以及FAR25、CCAR等要求。

标签:
复合材料
北京 - 北京 来源:中冶有色网 2023-03-18
多孔碳基电热复合相变材料的制备方法

本发明属于纳米复合材料和复合相变材料领域,具体涉及一种多孔碳基电热复合相变材料的制备方法。本发明以MOFs@MOFs为模板,采用原位合成的方法在含有催化金属元素(如Co,Fe,Ni)的金属有机骨架上包覆另一种金属有机骨架,通过高温煅烧的方式制备出三维碳纳米管贯穿多孔碳载体,以更好的匹配所要负载的相变芯材。所制备的复合相变材料有效的防止泄露问题,同时可有效改善有机相变材料的电导率能低的缺点,具有高电热转换效率、高循环稳定性和芯材选择范围广的优势,具有广阔的应用前景。

标签:
复合材料
北京 - 北京 来源:中冶有色网 2023-03-18
氧化物改性的柔性复合硫正极材料及制备方法

本发明涉及一种氧化物改性的柔性复合硫正极材料及制备方法,属于锂硫电池领域。该材料包括纳米碳材料、金属氧化物和活性物质硫,其中纳米碳材料作为柔性正极材料的骨架,纳米碳材料、金属氧化物和活性物质硫的质量比为1:(0.01—5):(0.05—10);柔性复合正极材料中的硫均匀分散在金属氧化物改性的纳米碳材料骨架的孔道中。以表面均匀复合氧化物的纳米碳材料作为柔性正极材料的骨架,硫作为活性正极材料,复合形成可用于锂硫电池正极材料的氧化物/纳米碳材料/硫复合材料。本发明制备的复合正极材料具有高导电性、优越柔韧性,并对多硫化物的穿梭效应起到抑制作用,提升了锂硫电池正极的比容量、循环稳定性、倍率性能及库伦效率等电化学性能。

标签:
复合材料
北京 - 北京 来源:中冶有色网 2023-03-18
同时具有含磷和双键基团的笼形低聚硅倍半氧烷及其制备方法和应用

本发明提供了一种同时具有含磷和双键基团的笼形低聚硅倍半氧烷,属于笼形低聚硅倍半氧烷领域。本发明可以根据不同的实际需求,调节笼形低聚硅倍半氧烷中含磷基团和含双键基团比例,也可调节含磷基团的种类和含双键基团的种类,达到控制含磷量和反应基团量的目的;笼形低聚硅倍半氧烷含有的双键基团能与多种基团发生化学反应,可根据不同聚合物的性能要求,调控双键基团和相应的基团反应,最终在聚合物材料中实现多功能化和高性能化;同时利用聚硅氧烷的硅磷协同效应,能够实现低含量下更高的阻燃性能;且本发明提供的同时具有含磷和双键基团的的热稳定性好、残炭量高,在添加量极少的情况下可以实现PC复合材料UL 94 V‑0级。

标签:
复合材料
北京 - 北京 来源:中冶有色网 2023-03-18
木质素纳米微球绿色制备方法

本发明提供一种绿色简便的木质素纳米微球制备方法,通过绿色溶剂乙二醇溶解木质素,然后向所得木质素溶液中匀速滴加不同浓度的酸水,最后通过一步离心操作进行固液分离得到木质素纳米微球。该方法所制备的木质素纳米微球尺寸较小且均一性好,形态规整,分散均匀,在复合材料中有较好的应用前景。本发明以低成本、可降解以及可再生的木质素为原料,有效缓解了资源浪费和环境污染等问题。同时,该木质素基纳米微球的制备方法易于操作,并有效避免了木质素的化学改性和有毒试剂的使用,节约了成本且减少了环境污染。

标签:
复合材料
北京 - 北京 来源:中冶有色网 2023-03-18
溴氧化铋/硅酸银复合光催化材料及应用

本发明公开了一种溴氧化铋/硅酸银复合光催化材料及应用,该复合光催化材料为p型溴氧化铋基体表面负载n型硅酸银的复合结构,通过简单沉淀法制得。该新型光催化材料具有较高的光催化活性及光催化效率。经试验证明,该光催化复合材料对有机物的降解性能显著。在可见光的照射下,可应用于有机废水中降解有机物,例如含苯酚、甲基橙、罗丹明B等有机污染物的有机废水的处理。

标签:
复合材料
北京 - 北京 来源:中冶有色网 2023-03-18
改性的碳纳米材料,其制备方法及应用

本发明涉及一种改性的碳纳米材料,其制备方法及应用,属于材料化学领域。本发明提供一种改性的碳纳米材料,包括碳纳米材料和与其连接的一个或多个‑SR1基团。本发明还提供改性的碳纳米材料的制备方法,包括在微波加热的条件下和引发剂的存在下,使碳纳米材料和巯基化合物HSR1发生反应,得到改性的碳纳米材料。本发明还提供改性的碳纳米材料用于复合材料、超级电容器、贮氢材料、催化剂等能源化工领域的用途。

标签:
复合材料
北京 - 北京 来源:中冶有色网 2023-03-18
复合型滤垫及其制备方法、应用

本发明提供了一种复合型滤垫及其制备方法、应用,复合型滤垫包括聚丙烯SMS无纺布面层,吸水纤维层以及背胶底层组成,聚丙烯SMS无纺布面层与吸水纤维层之间设置有热风导流层,聚丙烯SMS无纺布面层的孔径控制在16μm以下;热风导流层由合成纤维与纤维素构成的复合材料层,制备方法包括:采用聚丙烯颗粒进行纺粘‑熔喷,并采用阴离子表面活性剂亲水改性得到聚丙烯SMS无纺布面层,将聚丙烯SMS无纺布面层、热风导流层、吸水纤维层、背胶底层由上至下依次叠加挤压复合,即得。本发明实施例的复合型滤垫在颗粒脂肪纯化过程方面具有良好的应用,形成的复合型滤垫表面光滑度高,脂肪浪费少,吸油除水效力高,非常利于广泛推广应用。

标签:
复合材料
北京 - 北京 来源:中冶有色网 2023-03-18
金属包覆材料固/液连铸复合成形设备与工艺方法

一种金属包覆材料固/液连铸复合成形设备与工艺方法,属于金属层状复合材料制备技术领域。连铸复合设备由包覆层金属熔化系统和连续铸造复合系统组成。包覆层金属在熔化坩埚中进行熔化后,通过导流管进入复合装置的铸型中在芯材和水冷结晶器的冷却作用下凝固并于芯材复合成一体。采用由冷型段和热型段构成的热冷组合铸型,可精确控制包覆层金属液温度以及包覆层金属与芯材的界面反应,避免生成过厚的界面扩散层和金属间化合物层,提高包覆层金属和界面结合质量。本发明适合于制备包覆层金属致密、厚度均匀、包覆比可调、表面质量与界面冶金结合质量好的高性能金属包覆材料,具有设备简单、流程短、近终形、生产效率高、节能降耗、生产成本低等优点。

标签:
复合材料
北京 - 北京 来源:中冶有色网 2023-03-18
岩心夹持器
岩心夹持器 902     
 0

本发明涉及一种用于油气勘探与开发领域的岩心夹持器。本发明岩心夹持器包括围压釜体、定位堵头、调节堵头、胶筒组件,所述胶筒组件与所述围压釜体之间的空间形成有围压腔,所述围压釜体为碳纤维‑金属‑工程塑料复合材料结构,所述围压釜体包括分别固定在所述围压釜体两端的金属结构螺纹圈、铺设在所述螺纹圈外侧的碳纤维的外壳、与所述外壳的内壁相贴合的工程塑料的内衬,所述内衬两端分别抵接所述定位堵头和所述调节堵头,所述定位堵头和所述调节堵头上均设有压紧螺套,所述压紧螺套固定连接在所述螺纹圈上,并且所述压紧螺套压紧固定所述定位堵头和所述调节堵头。其目的是为了提供一种适用于高温高压环境的复合结构岩心夹持器。

标签:
复合材料
北京 - 北京 来源:中冶有色网 2023-03-18
平板试验件成型模具、平板试验件制作方法及平板试验件

本发明公开了一种平板试验件成型模具、平板试验件制作方法及平板试验件,其中平板试验件成型模具,包括:上模板、下模板及厚度调节垫框;所述上模板设置有注胶口和出胶口;所述厚度调节垫框设置在所述上模板与所述下模板之间,所述厚度调节垫框的形状和厚度与所述平板试验件相匹配;所述上模板、所述下模板及所述厚度调节垫框之间的空间形成模具腔;所述注胶口和所述出胶口与所述模具腔连通。上述模具设计无需导流槽设计,防止包覆性气泡产生,有利于试件质量控制提升,成型方案可靠,成本低、耗材损耗少,方法通用性强,适于复合材料试验件和结构件的批量化生产制造。

标签:
复合材料
北京 - 北京 来源:中冶有色网 2023-03-18
以分层面积作为评估指标的含分层损伤层合板损伤容限表征方法

本发明公开了一种以分层面积作为评估指标的含分层损伤层合板损伤容限表征方法,包括以下步骤:(1)基于含分层损伤复合材料层合板的边界条件和分层损伤参数建立其数学模型;(2)基于里兹法假设层合板变形场的形函数,并结合一阶剪切变形理论进行层合板的屈曲过程和屈曲载荷求解;(3)基于断裂力学方法预测层合板内部分层损伤的扩展过程及其失效载荷;(4)以分层面积作为评估指标,将含不同分层损伤的层合板的屈曲和失效载荷进行线性拟合得到含分层损伤层合板损伤容限的表征关系式。本发明基于理论方法预测含分层损伤层合板的屈曲、分层扩展和失效过程,并采用分层面积作为评估指标来对含分层损伤的层合板损伤容限进行表征,可显著提高计算效率,降低试验成本。

标签:
复合材料
北京 - 北京 来源:中冶有色网 2023-03-18
油气井固井采用的自修复材料及制备方法

本发明公开了一种油气井固井采用的自修复材料及制备方法。所述自修复材料是由包括以下组分的原料制备而得:聚异戊二烯100重量份;前驱体0.5‑100重量份;偶联剂1‑50重量份;水0.5‑100重量份;溶剂100‑1000重量份;催化剂0.1‑0.5重量份。本发明通过溶胶凝胶法在聚异戊二烯表面生成纳米SiO2壳层,并通过引入偶联剂,有效链接聚异戊二烯与纳米SiO2壳层,提高整个核壳结构材料力学性能及耐热性能,从而提高改性自修复纳米复合材料与水泥基体相容性,使之在水泥石基体中表现出更好的综合力学性能及耐热性能。

标签:
复合材料
北京 - 北京 来源:中冶有色网 2023-03-18
磁性共价有机框架物的制备方法及其应用

本发明公开了属于磁性纳米材料技术领域的磁性共价有机框架物的制备方法及其应用。具体通过将共价有机框架物浸渍于Fe2+和Fe3+混合盐溶液中,然后将分离得到的固体置于碱性溶液中共沉淀,最后经酸洗、水洗、纯化、真空活化制得。根据本发明提供的制备方法制得的磁性共价有机框架物,其磁性Fe3O4颗粒在共价有机框架物材料的孔道内生长,并受其限制,该复合材料具备良好的磁分离能力和高效的吸附性能,能有效去除水中有机污染物。

标签:
复合材料
北京 - 北京 来源:中冶有色网 2023-03-18
平面三自由度仿真气浮台及其操作方法

本发明提供一种平面三自由度仿真气浮台及其操作方法,平面三自由度仿真气浮台包括负载支撑单元、螺旋微调单元、高压储气系统和低压供气系统;所述负载支撑单元包括玻璃纤维载荷平面、碳纤维第一底板、碳纤维第二底板、矩形壳体、水平碳纤维管、装配组合件、斜碳纤维管和竖直碳纤维管;所述螺旋微调单元包括平面气浮轴承、球头螺杆和螺母。优点为:本发明提供的平面三自由度仿真气浮台,实现两个平动加一个转动的三自由度运动;体积小,结构紧凑,采用复合材料和三角形对称构型,整体结构轻,负载能力大;本发明采用可更换载荷平面设计,只需将待验证的卫星利用工装固定到气浮台的玻璃纤维载荷平面即可进行仿真实验,提高气浮台的通用性。

标签:
复合材料
北京 - 北京 来源:中冶有色网 2023-03-18
碳纳米管/石墨烯改性金属/氧化物纳米含能复合薄膜及其方法

一种碳纳米管/石墨烯改性金属/氧化物纳米含能复合薄膜及其方法属于纳米含能复合薄膜技术领域。本发明添加碳纳米管/石墨烯在金属/氧化物中形成三维导热网络结构的同时,碳纳米管/石墨烯在薄膜中与氧化物纳米颗粒反应释放的气体,促进层状复合材料微观结构中的有效传质,导致更多金属纳米颗粒被氧化,反应中释放更多的能量。此外,对原料碳纳米管和石墨烯分别表面修饰带正电荷和负电荷的官能团,增加其表面活性并在溶剂中稳定分散。通过超声分散避免了碳纳米管/石墨烯在含能材料表面的团聚,实现均匀分布,便于其在多个空间尺度上进行结构组装。该方法操作简单、易于工业化生产。

标签:
复合材料
北京 - 北京 来源:中冶有色网 2023-03-18
确定空间环境协合效应相关度的方法

本发明公开一种空间环境协合效应相关度的确定方法,该方法包括依照在轨轨道环境,确定出高低温交变环境;选取复合材料,分组经受几种空间环境状态;依照试验方案完成环境效应试验;依据效应等效原理,确定原子氧试验剂量及试验机时;制定热循环试验参数;完成两因素环境矩阵试验,并进行试验后的试验样品性能参数测试;对矩阵表内的测试数据进行交叉比对,分别与单因素试验结果的简单加合比值即相加性系数。本发明通过地面单因素及顺次作用试验数据的理解、处理和外推、探究,能够对在轨空间环境因素同时作用效应进行预估预判,有效提升空间环境试验研究有效性。

标签:
复合材料
北京 - 北京 来源:中冶有色网 2023-03-18
水性环氧上浆剂及其制备方法

本发明公开了一种水性环氧上浆剂及其制备方法,其中,所述水性环氧上浆剂由以下组分组成:100重量份环氧树脂、10‑30重量份超支化乳化剂、1‑5重量份辅助乳化剂、1‑5重量份分散剂和100‑300重量份去离子水。改性环氧乳化剂的超支化结构有大量的空穴,加入到环氧树脂中能够降低体系粘度,有利于相转变过程中降低乳液的粒径,来提高上浆剂对碳纤维表面的润湿。本发明克服了传统乳化环氧过程中由于粘度偏大带来的溶剂问题,所制备的上浆剂粒径在200nm以下,在碳纤维表面能够铺展均匀,使碳纤维同时具有良好的集束性和开纤性。通过该上浆剂上浆的碳纤维制备的环氧复合材料,层间剪切强度能够达到70MPa以上。

标签:
复合材料
北京 - 北京 来源:中冶有色网 2023-03-18
非金属散热器的构造、材质和形式

非金属散热器的构造、材质和形式,其特征在于:第一:非金属散热器的构造及材质1,主要由水腔(1)、外壁(2)和外表面层(外表面层可有可无)构成。一类典型非金属水腔(1)材质的主材构成为:可热熔的高分子与导热助剂的复合材料。外壁(2)主要材质为:胶剂与导热性良好的粉末、颗粒及纤维材料(三者至少一种)构成的复合体。外表面层材料为金属、漆类材料(包括金属漆等)或其他外饰材料。第二:非金属散热器构造及材质2,主要由水腔(1)和外表面层(外表面层可有可无)构成。水腔(1)的主要材料为:PB、PE-RT、交联聚乙烯或玻璃钢类树脂、导热助剂的复合体。外表面层材料为金属、漆类材料(包括金属漆等)或其他外饰材料。并由这两种非金属散热器的构造及材质,可以制作出各种散热器形式。

标签:
复合材料
北京 - 北京 来源:中冶有色网 2023-03-18
风电叶片的根部结构及其制造方法、风电叶片

本发明提出一种风电叶片的根部结构及其制造方法、风电叶片,所述风电叶片的根部结构包括本体、多个螺栓套组件及拼合件。本体由纤维增强复合材料制成。多个螺栓套组件沿根部结构的周向间隔布置。拼合件与所述多个螺栓套组件拼接并内嵌于本体内,所述拼合件包括多个第一拼接体和多个第二拼接体,所述多个第一拼接体和所述多个螺栓套组件一一间隔排列,所述多个第二拼接体一一对应的抵靠在所述多个螺栓套组件朝向风电叶片顶部的一端;各个所述第一拼接体的两侧均形成有凹部,任一所述螺栓套组件和与其抵靠的所述第二拼接体均与相邻的第一拼接体两侧的所述凹部匹配贴合。

标签:
复合材料
北京 - 北京 来源:中冶有色网 2023-03-18
多酸@氧化铝后修饰有机官能团复合催化材料及其制备方法和用途

本发明提供了多酸@氧化铝后修饰有机官能团复合催化材料及其制备方法和用途。本发明制备了离子液体、疏水长链和磺酸基@多酸@氧化铝多功能复合催化材料。上述三种复合材料催化剂所选择的多金属氧酸盐具有高氧化态而使其具有优异的氧化性能。通过有机硅功能分子修饰共价修饰到无机载体表面,有效的促进了催化材料的传质效果,显著提高催化效果。同时避免了有机功能分子的消耗和流失。将复合催化剂分别应用到油品脱硫和苯甲醇氧化为苯甲醛与1,3‑丙二醇串联反应中具有高的转化率与选择性。

标签:
复合材料
北京 - 北京 来源:中冶有色网 2023-03-18
复合硒化锡基热电材料的制备方法

一种新型热电材料——硒化锡(SeSn)基复合材料粉体的合成及其烧结块体的制备方法,属新型半导体热电材料制备技术领域。本发明采用机械合金化结合放电等离子烧结的方法分别制备了石墨烯复合SnSe基热电材料,大幅提高了SnSe基块体材料的热电性能。本发明方法工艺时间短,简便容易实现;机械合金化的方法,可避免长时间熔炼导致Sn元素挥发损耗,有利于成分控制,有效防止最终产品成分偏离设计成分,也有利于成分调控优化SnSe基材料成分优化热电性能;通过复合石墨烯,可以有效地提高SnSe基块体材料的热电性能,对SnSe基热电材料的实际应用具有指导意义。

标签:
复合材料
北京 - 北京 来源:中冶有色网 2023-03-18
单弧面贯通型气体基线聚焦空气耦合传感器

本发明涉及一种单弧面贯通型气体基线聚焦空气耦合传感器,属于声学换能器技术领域,其作用是把激励端产生的电信号转换为压电材料的振动进而产生超声波,同时接收从被测件反射回的声波信号,并将其转换为电信号。本发明采用单弧面贯通型气体基压电复合材料作为激励接收敏感元件,与上电极、下电极、阻抗匹配层、背衬层、阻抗匹配电路、金属外壳、BNC接头等组合成单弧面贯通型气体基线聚焦空气耦合传感器,该传感器具有声阻抗低、能量传输效率高、声能量集中等优点,完全可以满足实验需要。

标签:
复合材料
北京 - 北京 来源:中冶有色网 2023-03-18
合成纤维材料
合成纤维材料 819     
 0

本发明公开了一种合成纤维材料,属于复合材料领域。合成纤维材料包括:纤维材料及防辐射材料,防辐射材料包括吸波材料、非晶合金材料、金属纳米晶体材料中的至少一种。本发明通过将吸波材料、非晶合金材料、金属纳米晶体材料中的至少一种添加到纤维材料中,利用吸波材料吸收电磁波,非晶合金材料、金属纳米晶体材料屏蔽电磁波,从而使合成纤维材料能有效地防电磁辐射,且屏蔽效能更高、使用领域更广、更加安全;此外,合成纤维材料所做成的织物,不仅同样具有较高的防电磁辐射性能,还具有较大的导热系数,触感更加光滑凉爽;基于所添加的吸波材料、非晶合金材料、金属纳米晶体材料密度较大,使得织物具有较好的下垂度,提高了消费者的青睐度。

标签:
复合材料
北京 - 北京 来源:中冶有色网 2023-03-18
锥型立体防鸟装置
锥型立体防鸟装置 1106     
 0

本发明涉及一种锥型立体防鸟装置,包括锥型防鸟装置外罩(1)、金属支杆(2)、防鸟装置U型底座(3)。本发明应用在66千伏及以上线路直线杆塔上,安装方便,防鸟装置上端外罩可用金属镀锌、不锈钢、PVC复合材料或合金等具有一定的强度及耐腐蚀性的材料制成,可延长使用寿命。这种防鸟装置在架空输电线路杆塔上的应用,可以大大提高架空输电线路抵御鸟害的能力,有效降低鸟害故障跳闸率,减少线路运检人员上杆塔拆鸟巢的次数,符合科学、实效、经济、规范的原则,并能保证电网安全稳定运行。

标签:
复合材料
北京 - 北京 来源:中冶有色网 2023-03-18
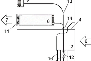
采用冷冻水预冷的电动汽车充电机风冷系统及其控制方法

本发明提供一种采用冷冻水预冷的电动汽车充电机风冷系统及其控制方法;所述系统包括其下部背板留有进风口和其上部前面板留有出风口的机柜;所述进风口的前端依次设置有进风风扇、以及其管道竖直安置于S形风管进风口一端的制冷盘管;所述S形风管的出风口指向所述机柜前上方;所述制冷盘管用导热型连续碳纤维增强聚合物基复合材料CFRP制成;所述出风口的后端依次设置有排风风扇和充电模块;所述充电模块上方设置有控制装置。本发明对于大功率户内充电机,避免了充电间内热气聚集导致的冷却效果不佳;对于户外充电机,解决了机柜外壳防护与功率器件散热的矛盾,使大功率充电机也能成为户外充电机,在户外安装、投运、使用。

标签:
复合材料
北京 - 北京 来源:中冶有色网 2023-03-18
上一页 493 494 495 496 497 ... 500 ... 871 下一页
共871页    到第

中冶有色为您提供最新的北京北京有色金属材料制备及加工技术理论与应用信息,涵盖发明专利、权利要求、说明书、技术领域、背景技术、实用新型内容及具体实施方式等有色技术内容。打造最具专业性的有色金属技术理论与应用平台!

全国热门有色金属设备推荐
展开更多 +
全国热门有色金属技术推荐
展开更多 +

 

江西省隆恩特环保设备有限公司
宣传

报名参会
更多+

报告下载

有色专家
更多+

郑州大学
校长/党委书记
长沙矿冶研究院
总经理
有研资源环境技术研究院(北京)有限公司
副总经理/教授级高工
武汉科技大学
院长 / 教授
中科院过程工程研究所循环经济技术中心
主任
赤泥综合利用研究报告2025
推广

热门技术
更多+

推荐企业
更多+

福建省金龙稀土股份有限公司
宣传

发布

在线客服

公众号

电话

顶部
咨询电话:
010-88793500-807