青岛垚鑫智能科技有限公司
宣传

位置:中冶有色 >

有色技术频道 >

分类:
全部
矿山技术
冶金技术
材料制备及加工技术
环境保护技术
分析检测技术
 
全部
功能材料技术
复合材料技术
新能源材料技术
合金材料技术
加工技术
地区:
全部
北京
天津
上海
重庆
河北
山西
辽宁
吉林
黑龙江
江苏
浙江
安徽
福建
江西
山东
河南
湖北
湖南
广东
海南
四川
贵州
云南
陕西
甘肃
青海
内蒙
广西
西藏
宁夏
新疆
其他
其他
展开
 
全部
广州
韶关
深圳
珠海
汕头
佛山
江门
湛江
茂名
肇庆
惠州
梅州
汕尾
河源
阳江
清远
东莞
中山
潮州
揭阳
云浮

广东深圳有色金属材料制备及加工技术理论与应用

免费发布技术信息>>
负极集流体及其制备方法和锂金属电池

本申请提供一种锂金属电池的负极集流体,包括:开设有多个孔道的集流体基体、填充于所述集流体基体的孔道中的溶锂剂、附着于所述孔道的孔壁上且位于所述孔道的孔壁与所述溶锂剂之间的锁定层。所述溶锂剂为具备溶解锂金属能力的液体或凝胶体。所述锁定层用于将所述溶锂剂束缚在所述集流体基体的孔道中。本申请还提供该种应用该负极集流体的锂金属电池和该负极集流体的制备方法。所述负极集流体将锂离子锁定在集流体基体的孔道中并以液体或凝胶体的形式储存,可减少锂沉积所带来的体积膨胀,同时减少锂枝晶的产生,极大地提高电池的安全性。

标签:
加工技术
广东 - 深圳 来源:中冶有色网 2023-03-18
钛酸锂复合材料、其制备方法和应用

本发明适用于能源技术领域,提供了一种钛酸锂复合材料、其制备方法和应用。该钛酸锂复合材料包括石墨烯和纳米级钛酸锂微粒,该纳米级钛酸锂微粒外表面有碳包覆层,该石墨烯分布在碳包覆层外部,该纳米级钛酸锂微粒化学组成为Li4Ti5-xMxO12,0.001≤x<5,M为过渡金属元素。本发明钛酸锂复合材料,通过纳米级钛酸锂微粒表面的碳包覆层,在钛酸锂晶格中掺杂金属M及钛酸锂复合材料中掺杂石墨烯,大大提高了钛酸锂复合材料的导电性能,使复合材料充放电倍率显著提高。本发明制备方法,操作简单、成本低廉,适于工业化生产。

标签:
加工技术
广东 - 深圳 来源:中冶有色网 2023-03-18
贴青稞纸设备及锂电池生产线

本实用新型适用于机械制造技术领域,提供一种贴青稞纸设备及锂电池生产线,贴青稞纸设备包括基座、上料机构、输送机构、贴纸机构以及折耳机构;上料机构用于将待贴纸的锂电池放置在输送机构上;输送机构包括输送传送带和固定在输送传送带上的放置夹具;贴纸机构用于将青稞纸贴附于锂电池的两端;折耳机构用于将贴附青稞纸后的锂电池两侧的极耳折叠。本方案提供的贴青稞纸设备工作时,上料机构可以将待贴青稞纸的锂电池放置在输送机构上,然后输送机构将锂电池输送到贴纸机构位置处对锂电池自动贴纸,贴纸后输送机构再将锂电池输送到折耳机构位置处进行折耳,贴青稞纸设备可以将贴纸过程自动化完成,且贴纸力度均匀,提高贴纸效率和贴纸效果。

标签:
加工技术
广东 - 深圳 来源:中冶有色网 2023-03-18
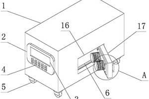
串联锂电池组的检测装置

本实用新型涉及锂电池技术领域,具体为一种串联锂电池组的检测装置,包括检测箱本体,所述检测箱本体的一侧设置有控制面板,所述控制面板的远离检测箱本体的一侧设置有显示屏和控制按键,检测箱本体的底部固定连接有轮子,检测箱本体的内部固定连接有支撑板,所述支撑板的顶部固定连接有连接板。该串联锂电池组的检测装置,通过设置放置台,使得工作员在放置锂电池组的时候将放置台拉出,然后将锂电池组放置于放置台上,然后将放置台推进检测箱本体内,即可完成对锂电池组的放置工作,有效的避免了锂电池因为摔落而掉进检测箱本体的内部,从而对检测箱本体的内部元件和结构造成损坏的现象发生,有效的增强了对锂电池组和该装置的保护效果。

标签:
加工技术
广东 - 深圳 来源:中冶有色网 2023-03-18
新型锂电池储能装置
新型锂电池储能装置 1103     
 0

本实用新型涉及电池储能技术领域,公开了一种新型锂电池储能装置,所述壳体的前表面开设有散热孔,且壳体的上表面固定安装有上盖,所述上盖的内部设置有把手,且上盖的上表面固定安装有拆卸组件,所述壳体的内部设置有锂电池主体,所述锂电池主体的上表面固定安装有提手,所述提手的一侧固定安装有散热板,所述锂电池主体的一侧固定安装有调节组件,本实用新型通过拆卸组件和上盖的相配合使用,在锂电池需要进行拆卸和安装时,只需要转动锁紧螺栓,将第一挡板和第二挡板与壳体进行分离,便可将上盖打开,随后更换锂电池,比较方便、快捷的更换锂电池,保护了锂电池,提高了工作人员的工作效率。

标签:
加工技术
广东 - 深圳 来源:中冶有色网 2023-03-18
混合正极极片及锂离子动力电池

本实用新型提供了一种混合正极极片及锂离子动力电池,该混合正极极片包括第一正极层、第二正极层和正极集流体层,所述第一正极层和第二正极层分别涂覆在正极集流体的阴面和阳面,所述第一正极层为磷酸铁锂正极材料层,所述第二正极层为锰酸锂正极材料层。本实用新型的有益效果是:设备适用性强,通过把磷酸铁锂正极材料层和锰酸锂正极材料层分别涂覆在正极集流体的阴面和阳面形成混合正极极片,无需分别制备磷酸铁锂正极片和锰酸锂正极片,简化了锂离子动力电池卷绕或层叠的结构,直接可以采用现有设备进行卷绕或者层叠,提高设备适用性。

标签:
加工技术
广东 - 深圳 来源:中冶有色网 2023-03-18
大容量磷酸铁锂电池
大容量磷酸铁锂电池 926     
 0

本实用新型公开了一种大容量磷酸铁锂电池,包括磷酸铁锂电池本体,磷酸铁锂电池本体包含顶部,该大容量磷酸铁锂电池还包括支撑柱、卡柱、防护罩和卡槽,支撑柱的底端固定连接磷酸铁锂电池本体顶部的中部,支撑柱的顶端设置卡槽,防护罩包含罩腔,卡柱位于罩腔内,卡柱的顶端与防护罩固定连接,卡柱与卡槽相配合,卡柱的底端与卡槽卡接连接。本实用新型达到可对磷酸铁锂电池本体扩展形成防护结构的使用效果,同时,如图1所示,防护罩形成的罩腔使磷酸铁锂电池本体距离防护罩具有较大的空隙,达到避免影响磷酸铁锂电池正常散热的使用效果,同时,卡柱和防护罩的组合可作为配件存在,方便用户根据需要选择性实施。

标签:
加工技术
广东 - 深圳 来源:中冶有色网 2023-03-18
高温型锰酸锂正极材料及其制备方法

一种高温型锰酸锂正极材料及其制备方法,所述正极材料的单晶颗粒由基体以及包覆在所述基体表面的固态电解质组成,所述基体是掺杂有阴离子和阳离子的尖晶石锰酸锂,其化学式为Li1.05MxMn2-xO4-yQy,其中M代表掺杂阳离子,Q代表掺杂阴离子。所述制备方法为:首先采用固相反应制得掺杂阴离子和阳离子的尖晶石锰酸锂,再采用熔盐法合成进行晶型控制,制得具有八面体单晶特征的粒径在3~5微米的尖晶石锰酸锂,然后用固态电解质包覆晶型控制后的所述尖晶石锰酸锂。该正极材料具有良好的高温和高倍率循环性能,可应用于电动汽车或其它类型锂离子动力电池。

标签:
加工技术
广东 - 深圳 来源:中冶有色网 2023-03-18
具有减震功能的锂电池保护板

本实用新型涉及锂电池保护板技术领域,公开了一种具有减震功能的锂电池保护板,包括锂电池保护板本体、减震板以及调节螺杆,锂电池保护板本体的中间凹设一可容纳锂电池电芯的容置腔,锂电池电芯嵌设于容置腔内设置,减震板分别可上下活动的设置在锂电池本体的上下端壁上,调节螺杆可伸缩的设置在锂电池保护板的端壁上,且减震板和调节螺杆分别与电池仓的内壁抵接设置。本实用新型的技术方案能够有效避免锂电池保护板本体振动造成内部锂电池电芯与导线的连接出现松动,且结构简单,成本低廉,操作简单,实用性强。

标签:
加工技术
广东 - 深圳 来源:中冶有色网 2023-03-18
锂电池极片深度烘烤系统及其涂布线

一种锂电池极片深度烘烤系统及其涂布线,其中,深度烘烤系统包括依次连接的升温部和保温除水部,在所述升温部内设有至少一根加热辊,所述加热辊的长度大于锂电池极片的宽度,所述锂电池极片以宽度方向与所述加热辊的外表面接触,并被所述加热辊加热后进入保温除水部,在所述保温除水部内设有若干个上风嘴和若干个下风嘴,所述上风嘴和下风嘴上下错位排布,被加热后的锂电池极片通过所述上风嘴和下风嘴之间风道被进一步保温除湿后,输出保温除水部;在所述升温部和保温除水部内充满了非氧气体。本发明适合于对双面锂电池极片预烘烤后,可以达到锂电池极片烘烤均匀的,以及提高烘烤效率的特点。

标签:
加工技术
广东 - 深圳 来源:中冶有色网 2023-03-18
锂电池过热保护系统及方法

本发明公开了锂电池过热保护系统,包括控制电路,采集单元包括锂电池主体、锂电池电极、导热层、第一电极、热敏电阻片、第二电极、保护层和绝缘层,导热层与锂电池主体连接,第一电极与导热层连接,绝缘层和热敏电阻片与第一电极连接,第二电极与绝缘层、热敏电阻片连接,保护层与第二电极连接,熔断单元包括基座、悬臂梁和磁感应线圈,悬臂梁的一端与基座上表面连接,悬臂梁的另一端设置有金属块,磁感应线圈位于基座上并与悬臂梁相对设置,金属块与磁感应线圈正对设置,熔断单元包括位于悬臂梁下方的熔断部、第三电极和第四电极。本发明还公开了锂电池过热保护方法,使熔断部完全被打断,不会出现藕断丝连的现象,彻底抑制锂电温度的上升。

标签:
加工技术
广东 - 深圳 来源:中冶有色网 2023-03-18
正极材料、锂离子电池
正极材料、锂离子电池 1006     
 0

本申请提供了正极材料、锂离子电池。其中正极材料包括LiNixCoyA1‑x‑yO2基体、及包覆在LiNixCoyA1‑x‑yO2基体表面的NiO型岩盐相层;其中,A包括锰与铝中的至少一种,NiO型岩盐相层的厚度为3‑100nm。通过设置岩盐相层,由于岩盐相层本身不利于锂离子的传导,阻碍了锂离子的迁移与脱嵌,增加了阻抗,降低了容量。但由于发热功率与阻抗成正比例关系,因此阻抗的增加会提高发热功率。温度升高后锂离子的活化能变大,使得其可以跃迁至更高的能垒,即可使更多的锂离子迁移与脱嵌。另外,通过使NiO型岩盐相层的厚度为3‑100nm,从而增加锂离子迁移与脱嵌的量,最终提高正极材料的放电容量。

标签:
加工技术
广东 - 深圳 来源:中冶有色网 2023-03-18
核壳结构复合材料、其制备方法及在锂离子电池的用途

本发明公开了核壳结构复合材料、其制备方法及在锂离子电池的用途。所述核壳结构复合材料中,内核的主要组成为硬碳材料,外壳为纳米钛酸锂颗粒和碳化后的粘结剂复合而形成的复合包覆层,而且,纳米钛酸锂颗粒由碳化后的粘结剂固定并分散在内核表面。所述方法包括:1)制备硬碳材料作为内核;2)采用纳米钛酸锂颗粒、粘结剂和内核为原料,使纳米钛酸锂经粘结剂的固化作用固定在内核的表面,得到由内核及包覆在内核表面的复合包覆层前驱体构成的产物;3)预烧结,然后烧结处理,得到核壳结构复合材料。本发明的核壳结构复合材料具有高压实、高容量、高首次充放电效率、循环稳定性好的优点,在锂离子电池领域具有广阔的应用前景。

标签:
加工技术
广东 - 深圳 来源:中冶有色网 2023-03-18
提高锂离子电池正极集电极耐蚀性能的方法

本发明公开一种提高锂离子电池正极集电极耐蚀性能的方法,采用真空磁控溅镀法的方法在锂电池用正极集流体铝箔材上沉积氧化物薄膜,所述氧化物薄膜的厚度为3‑10nm;所述提高锂离子电池正极集电极耐蚀性能的方法包括以下步骤:采用真空磁控溅镀法的方法在锂电池用正极集流体铝箔材上沉积3~10nm厚的氧化物膜,得到正极集流体复合箔材;测量所述正极集流体复合箔材的导电率及电阻率等电性能;将所述正极集流体复合箔材作为锂离子电池的正极使用。得到的正极集流体复合箔材,电导率提高、电阻降低,既不影响正极集流体的电子隧道效应和导电性能,又不影响锂离子电池后续的制作工艺,极大提高电池的充放电循环次数。

标签:
加工技术
广东 - 深圳 来源:中冶有色网 2023-03-18
磷酸铁锂制备方法
磷酸铁锂制备方法 792     
 0

本发明提供了一种磷酸铁锂制备方法和制备系统,所述制备系统包括球磨机、利用系统余热对物料进行预热的旋风预热装置、对经预热的物料进行分级研磨同时动态烧结的球磨回转窑和冷却机。所述方法包括:按照Fe∶Li∶P=0.8~1.2∶0.8~1.2∶1的摩尔比将铁盐、锂盐和磷酸盐混合后,加入上述混合物总重量2~5倍的溶剂,在球磨机中球磨2~20小时,经分散进入旋风预热装置中预热和预分解,进入球磨回转窑中边烧结边分级研磨,将符合粒径要求的产品卸料进入冷却机冷却至室温,得到磷酸铁锂成品。本发明的制备方法为连续式全动态烧结法,制得的产品不仅少团聚,而且粒径小、均匀性好,产品质量和批次稳定性极高。

标签:
加工技术
广东 - 深圳 来源:中冶有色网 2023-03-18
钛酸锂包覆硬碳复合材料及其制备方法

本发明公开了一种钛酸锂包覆硬碳复合材料,它包括硬碳,包覆在硬碳表面的钛酸锂层,以及包覆在钛酸锂表面的碳层;其制备方法为以含Ti化合物为原料,加入过氧化物和弱碱,搅拌,随后在搅拌水解过程中引入硬碳,再加入适量去离子水和酒精的混合溶液用于调控纳米球的大小,同时使混合物水解,在此步骤之后引入锂源,然后加入结构导向剂使钛酸锂前驱体聚集成球,得到钛酸锂/硬碳前驱体,将钛酸锂/硬碳前驱体放入烘箱中烘干,然后再放入充满惰性气体的高温炉中退火烧结,制得钛酸锂包覆硬碳复合材料。本发明在硬碳表面包覆一层钛酸锂,有效地将硬碳的高容量和钛酸锂的快充性能相结合,原位合成,一步到位,方便快捷。

标签:
加工技术
广东 - 深圳 来源:中冶有色网 2023-03-18
高倍率充放电锂离子电池及其制备方法

本发明提供了一种高倍率充放电锂离子电池及其制备方法。该锂离子电池 正极活性材料为锰酸锂;负极活性材料选自中间相碳微球、人造石墨、中间相 沥青包覆的天然石墨中的一种或几种混合物;导电剂选自导电石墨、导电炭黑、 纳米Ag、纳米SiO2、纳米Al2O3中的一种或几种混合物。该锂离子电池的制备 方法包括正极极片的制备、负极极片的制备及电池的组装。本发明提供的锂离 子电池具有高倍率充放电性能、循环寿命长、容量高、使用安全、环保、成本 低廉等优点,且制备方法的工艺操作简单易行,适合于大规模生产。

标签:
加工技术
广东 - 深圳 来源:中冶有色网 2023-03-18
全固态聚合物电解质及其制备方法和全固态锂离子电池

本发明涉及锂离子电池技术领域,具体提供一种全固态聚合物电解质及其制备方法和全固态锂离子电池。所述全固态聚合物电解质包含锂盐和聚合物,所述聚合物具有如通式(I)所示的结构。本发明的提供的全固态聚合物电解质与锂盐相容性好,成膜性优异,杨氏模量可达3.9GPa、断裂强度可达140MPa,能有效地抑制负极锂枝晶的生长并抑制粉化,室温下离子电导率为(0.1~3)×10‑5S/cm,作为全固态锂离子电池的电解质时,不存在液态电解液可能出现的安全性问题,能够极大的提高锂离子电池的安全性能。

标签:
加工技术
广东 - 深圳 来源:中冶有色网 2023-03-18
智能手机用锂离子电池注液装置

本实用新型公开了一种智能手机用锂离子电池注液装置,包括架和挡板,所述框架的内部设置有底柜,且底柜的内部设置有隔板,所述底柜的上方安装有凹槽,且凹槽的内部设置有连接弹簧,所述连接弹簧的内部贯穿有连接销,且连接销的上方安装有底板,所述底板的上方安装有锂电池主体,且锂电池主体的上方安装有注射嘴,所述注射嘴的上方安装有连接架,且连接架的内部设置有导管,所述连接架的上方安装有连接管,且连接管的左右两侧均安装有液压油缸。该智能手机用锂离子电池注液装置设置有凹槽,通过凹槽能够有效的限制锂电池主体的位置,避免锂电池主体产生偏移,使得注射嘴能够精准的注射入锂电池主体的内部,避免液体飞溅出,导致的液体浪费。

标签:
加工技术
广东 - 深圳 来源:中冶有色网 2023-03-18
锂电池盖帽用压焊装置
锂电池盖帽用压焊装置 1112     
 0

本实用新型公开了一种锂电池盖帽用压焊装置,包括立杆,所述立杆顶部固定有顶板,所述顶板上固定有气缸,所述气缸输出轴穿过立杆上的圆孔固定有上安装板,所述上安装板底部两端固定有连接杆,所述连接杆底部固定有下安装板,所述下安装板上设有多个焊接头,所述焊接头下方设有多个用于放置锂电池的柱形盒,所述柱形盒下设有用于使插接有柱形盒中的锂电池自动移入压焊头正下方,并使压焊好的锂电池自动移出的移动装置,此锂电池盖帽用压焊装置通过移动装置,改进了现有压焊技术,使锂电池进行盖帽压焊使可以自动多个锂电池的输送,从而减少劳动力,并提高压焊效率。

标签:
加工技术
广东 - 深圳 来源:中冶有色网 2023-03-18
多功能锂电池
多功能锂电池 891     
 0

本实用新型公开了一种多功能锂电池,包括外壳、锂电芯、PCB板、LED灯和开关按键,外壳将锂电芯、PCB板、LED灯和开关按键包裹在其内部,PCB板与锂电芯的正极和负极电性连接,LED灯与PCB板电性连接,开关按键与PCB板电性连接,开关按键的按压部位垂直于PCB板。通过在锂电芯上连接PCB板,在PCB板上连接LED灯以及开关按键,形成一种具有激光灯功能的锂电池,相较于传统的只具有供电功能的锂电池来说,本实用新型的技术方案结构紧凑,集成度高,使用方便,一定程度上提高了电池的使用率,消除了经常丢失激光笔的问题。

标签:
加工技术
广东 - 深圳 来源:中冶有色网 2023-03-18
锂电池封装装置
锂电池封装装置 1074     
 0

本申请适用于锂电池封装领域,提供了一种锂电池封装装置,用于封装待封装锂电池,包括下封头组件、第一驱动组件、上封头组件以及第二驱动组件。第一驱动组件用于驱动下封头组件和待封装锂电池沿第一方向往复运动。第二驱动组件用于驱动上封头组件沿第二方向往复运动。上封头组件与下封头组件用于对待封装锂电池的待封装部位进行加热封装。该锂电池封装装置还包括设置于第二驱动组件与上封头组件之间的缓冲机构,上封头组件设置于缓冲机构朝向下封头组件的一侧,缓冲机构至少朝向第二驱动组件的一侧可受压变形。本申请提供的锂电池封装装置,第二驱动组件与缓冲机构接触时,能够防止第二驱动组件对上封头组件的直接碰撞而导致上封头组件发生变形。

标签:
加工技术
广东 - 深圳 来源:中冶有色网 2023-03-18
易于扩展的锂电池加长延伸装置

本实用新型公开一种易于扩展的锂电池加长延伸装置,包括边框、锂电池和拉伸装置,所述边框为矩形构造,其一端为开口,该边框开口两端的侧壁上设有以标准刻度排布的开孔;所述拉伸装置由边框开口延伸向外;所述锂电池安装于拉伸装置上;普通的基准尺寸锂电池只需配合拉伸装置和边框即可得到各种不同尺寸的锂电池。本实用新型的易于扩展的锂电池加长延伸装置可以使普通的锂电池变得更加通用,结构简单,设计合理。

标签:
加工技术
广东 - 深圳 来源:中冶有色网 2023-03-18
设置有检测装置的锂电池转运卸料机构

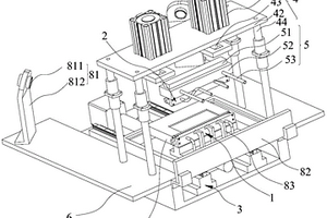
本实用新型公开了一种设置有检测装置的锂电池转运卸料机构,包括磁性吸附装置、驱动装置、以及检测装置;以此结构设计,能够通过定位板与依次并排排布于流水线上的锂电池相配合,之后通过吸附单元的吸附端将与定位板相配合的锂电池吸起,之后在通过驱动装置将其转运,卸料时,在气缸作用下,使得吸附单元的吸附端远离锂电池即可使得锂电池与磁性吸附装置分离,而且还能够通过传感器的设置,有效追踪锂电池与定位板之间是否配合,以此防止锂电池漏取或漏投。本实用新型结构简单,转运卸料方便快捷。

标签:
加工技术
广东 - 深圳 来源:中冶有色网 2023-03-18
高低温机器人锂电池
高低温机器人锂电池 1126     
 0

本实用新型公开了一种高低温机器人锂电池,包括外箱体和导线;所述外箱体上下端面的左右两侧垂直固接有L形折板;所述L形折板的横板竖直穿有第一固定螺栓;所述外箱体左右内端面的上下两侧分别水平固接有导电夹板;所述左右两侧的导电夹板之间水平夹放有锂电池组且导电夹板与锂电池组的接触处为导电铜片。本实用新型的L形折板便于外箱体连接在机器人内部;第一固定螺栓用于将L形折板紧固在机器人上,从而使得外箱体紧固在机器人上;锂电池组用于为机器人提供运行电源;第二固定螺栓便于锂电池组的拆装;导线便于将锂电池组内的电力输导出来;通风口便于机器人在高温环境下工作时锂电池组进行散热;转板用于封闭通风口。

标签:
加工技术
广东 - 深圳 来源:中冶有色网 2023-03-18
锂电池包的组合结构和方法

一种锂电池包的组合结构,包括锂电池组件和印刷电路板;所述锂电池组件包括由两个以上锂电池并联形成的锂电池组、连接片;不同的锂电池组之间通过串联的方式相互连接,所述锂电池的两极通过所述连接片焊接在所述印刷电路板上;所述印刷电路板上设有使所述锂电池形成锂电池包组合的走线。还公开一种锂电池包的组合方法。本发明容易更换电芯、安全系数高。

标签:
加工技术
广东 - 深圳 来源:中冶有色网 2023-03-18
石墨烯磷酸铁锂复合材料及其制备方法

本发明提供了一种石墨烯磷酸铁锂复合材料,包括磷酸铁锂和包覆在磷酸铁锂表面的石墨烯,磷酸铁锂与石墨烯的质量比为1?100 : 1。该石墨烯磷酸铁锂复合材料包括磷酸铁锂和包覆在磷酸铁锂表面的石墨烯,石墨烯的加入,大大提高了磷酸铁锂材料的导电性、高倍率充放电性能和循环稳定性能。同时,石墨烯之间不会团聚。本发明还提供了一种石墨烯磷酸铁锂复合材料的制备方法,包括:将磷酸铁锂前驱体与石墨烯原料加入到溶剂中,在超声条件下分散2?5h,干燥后,得到石墨烯磷酸铁锂前驱体,磷酸铁锂与石墨烯原料的质量比为1?100 : 1;将石墨烯磷酸铁锂前驱体置于还原气氛中,在500℃?800℃下煅烧5?12h,得到石墨烯磷酸铁锂复合材料。该制备方法非常简单。

标签:
加工技术
广东 - 深圳 来源:中冶有色网 2023-03-18
锂离子电池及其制备方法

本发明涉及锂离子电池技术领域,具体涉及一种锂离子电池及其制备方法。所述锂离子电池包括正极和锂合金负极,所述锂合金负极包括第一锂合金层和设置在所述第一锂合金层表面的第二锂合金层,且所述第一锂合金层靠近所述正极;所述第一锂合金层和第二锂合金层均包含锂元素、镁元素和非金属元素,所述非金属元素选自N、F和S中的至少一种;其中,所述第一锂合金层中非金属元素和镁元素的质量比α大于所述第二锂合金层中非金属元素和镁元素的质量比β。本发明通过高低非金属元素/镁元素质量比的协同作用,有效抑制锂合金负极中锂枝晶生成,提高锂合金负极的结构稳定性和安全性能,从而提高了锂离子电池的高能量密度和循环寿命。

标签:
加工技术
广东 - 深圳 来源:中冶有色网 2023-03-18
锂离子电池
锂离子电池 773     
 0

为克服现有高电压钴酸锂电池存在无法兼顾循环性能和存储性能的问题,本发明提供了一种锂离子电池,包括正极、负极和非水电解液,所述正极包括正极材料层,所述正极材料层包括正极活性材料,所述正极活性材料包括掺杂或包覆有铝元素的钴酸锂,所述非水电解液包括非水有机溶剂、锂盐和添加剂,所述添加剂包括第一添加剂和第二添加剂,所述第一添加剂包括环状磺酸酯,所述第二添加剂包括结构式1所示的化合物:结构式1;所述锂离子电池满足以下条件:0.1≤a/c≤5;0.3≤b/c≤20,且0.2≤a≤1,0.1≤b≤5,0.1≤c≤5。本发明提供的锂离子电池具有较好的高温存储性能和高温循环性能,利于延长电池使用寿命。

标签:
加工技术
广东 - 深圳 来源:中冶有色网 2023-03-18
自动感应式锂电池组焊接装置

本发明属于锂电池焊接技术领域,具体涉及一种自动感应式锂电池组焊接装置,包括第一输送带、第二输送带和转输板,所述第一输送带上设有均匀分布的锂电池组,且第一输送带输出端设有倾斜向下的转输板,所述转输板上设有对称分布的导流板,所述转输板延伸端设有固定连接的挡板,所述挡板与导流板之间相互连接固定,所述转输板上设有转输孔,所述转输孔内设有对称分布可且伸缩的定位板,且转输孔下方设有第二输送带,所述第二输送带上设有均匀分布且与锂电池组相匹配的定位盒,所述定位盒内设有用于锂电池组焊接的焊接片;所述挡板上设有用于感应的压力感应器,通过压力感应器的感应,实现了锂电池组的自动化控制,提高了整体的效率。

标签:
加工技术
广东 - 深圳 来源:中冶有色网 2023-03-18
上一页 491 492 493 494 495 ... 500 ... 771 下一页
共771页    到第

中冶有色为您提供最新的广东深圳有色金属材料制备及加工技术理论与应用信息,涵盖发明专利、权利要求、说明书、技术领域、背景技术、实用新型内容及具体实施方式等有色技术内容。打造最具专业性的有色金属技术理论与应用平台!

全国热门有色金属设备推荐
展开更多 +
全国热门有色金属技术推荐
展开更多 +

 

江西省隆恩特环保设备有限公司
宣传

报名参会
更多+

报告下载

有色专家
更多+

江西理工大学
副校长/教授
矿冶科技集团
中国工程院院士
中铝检测科技(郑州)有限公司/国家轻金属质量检验检测中心
正高级工程师
中铝郑州有色金属研究院有限公司
正高级工程师/总经理
清华大学
研究员
赤泥综合利用研究报告2025
推广

热门技术
更多+

推荐企业
更多+

福建省金龙稀土股份有限公司
宣传

发布

在线客服

公众号

电话

顶部
咨询电话:
010-88793500-807