青岛垚鑫智能科技有限公司
宣传

位置:中冶有色 >

有色技术频道 >

分类:
全部
矿山技术
冶金技术
材料制备及加工技术
环境保护技术
分析检测技术
 
全部
废水处理技术
大气治理技术
固/危废处置技术
土壤修复技术
地区:
全部
北京
天津
上海
重庆
河北
山西
辽宁
吉林
黑龙江
江苏
浙江
安徽
福建
江西
山东
河南
湖北
湖南
广东
海南
四川
贵州
云南
陕西
甘肃
青海
内蒙
广西
西藏
宁夏
新疆
其他
其他
展开
 
全部

有色金属环境保护技术理论与应用

免费发布技术信息>>
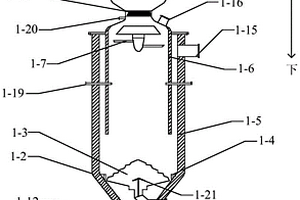
一种中频炉底废气净化熔炼装置

本实用新型公开了一种中频炉底废气净化熔炼装置,包括底板,所述底板底部的两侧均固定连接有支腿,所述支腿的底部固定连接有防滑垫,所述底板顶部的一侧固定连接有炉底本体,所述炉底本体的顶部固定连接有中频炉本体。本实用新型通过设置净化箱、水箱、固定板、悬臂梁、电机、转轴、搅拌叶、抽气泵、抽气管、出气管、排气管、挡尘网、海绵过滤网、活性炭过滤网、灯座、紫外线杀菌灯、固定支架和控制器相互配合,达到了净化效果好的优点,使中频炉底废气净化熔炼装置能够彻底净化废气,保证了空气的质量,降低了对人们身体健康带来的危害,从而提高了中频炉底废气净化熔炼装置的实用性。

标签:
危废
甘肃 - 张掖 来源:中冶有色网 2023-03-19
一种废金属桶喷漆装置
一种废金属桶喷漆装置 1205     
 0

本实用新型涉及一种废金属桶喷漆装置,包括,旋转装置、喷漆装置和顶伸装置,旋转装置包括旋转盘和设置在旋转盘底端的驱动电机,旋转装置上设有废金属桶;喷漆装置包括顶喷漆部、左喷漆部和右喷漆部,旋转装置设置在由顶喷漆部、左喷漆部和右喷漆部组成的空腔内;顶伸装置设置在旋转装置上,包括竖杆和多个顶伸杆,竖杆竖直设置在旋转盘上,多个顶伸杆一端设置在通过气缸设置在竖杆上,一端为自由端;通过旋转盘和喷漆装置的设置,代替人工喷漆,避免人工喷漆对人体造成的危害;顶伸装置的设置,使得废金属桶可稳定的随旋转盘旋转,便于顶喷漆部、左喷漆部和右喷漆部对废金属桶实现喷漆,提高喷漆效率,且提高喷漆的均匀性。

标签:
危废
江苏 - 扬州 来源:中冶有色网 2023-03-19
一种阳极氧化表面处理产生的镍铬废水处理回用系统

本实用新型公开一种阳极氧化表面处理产生的镍铬废水处理回用系统,其包括处理单元和回用单元,所述处理单元包括依次相连的多相催化反应器,第一pH调节池、高级氧化池,第二pH调节池,絮凝池,沉淀池,过滤器及离子交换系统,所述回用单元包括串联的RO系统和DTRO系统,该系统采用电化学、化学、离子吸附以及膜分离等相结合的技术,无需分类即可有效将阳极氧化表面处理产生的含镍封孔废液与含铬染色废水中的镍、铬离子以及有机污染物去除,避免废水外排对周边生态环境造成的危害,并且能够实现水资源的循环回用,降低处理难度和运行成本,充分体现了环保效益和经济效益。

标签:
危废
广东 - 深圳 来源:中冶有色网 2023-03-19
一种氮氧化合物废气处理反应器

本实用新型公开了一种氮氧化合物废气处理反应器,包括反应箱,反应箱正面的底部从下至上依次连通有出液管和注液管,并且反应箱正面的顶部从下至上依次开设有第一开口和第二开口,反应箱的一侧连通有进气管,并且反应箱的另一侧固定连接有电机,电机的转轴通过联轴器固定连接有连接杆,连接杆远离电机的一端贯穿反应箱且延伸至反应箱的内部,连接杆延伸至反应箱内部的一端固定连接有搅拌装置。该氮氧化合物废气处理反应器,提高了氮氧化物废气治理的效率,保证了排放的气体达到排放标准,缩短了运行的成本,降低了经济成本的支出,更好的降低了对环境的危害,防止了废气扩散对周边居民生活与生态环境造成损害。

标签:
危废
广东 - 云浮 来源:中冶有色网 2023-03-19
新型废气治理装置
新型废气治理装置 1126     
 0

新型废气治理装置。现有的废气治理装置在不用时无法对出气管道进行保护,并且在对出气口进行操作时非常的危险。一种新型废气治理装置,其组成包括 : 排风机(1),所述的排风机的右端连接进气口(2),所述的进气口内具有过滤网(3),所述的排风机的左端连接活性炭吸附过滤器(4),所述的活性炭吸附过滤器具有出气管道(5),所述的出气管道包括外壁(6),所述的外壁连接管道盖转轴(7),所述的管道盖转轴连接管道盖(8)。本实用新型用于新型废气治理装置。

标签:
危废
黑龙江 - 牡丹江 来源:中冶有色网 2023-03-19
一种废旧玻璃粉碎机的一级粉碎装置

本实用新型提供了一种废旧玻璃粉碎机的一级粉碎装置,属于机械技术领域。它解决了现有废旧玻璃粉碎机的一级粉碎装置粉碎效果欠佳,且在粉碎时碎屑飞溅,给工作人员带来潜在的危险等技术问题。本一种废旧玻璃粉碎机的一级粉碎装置,包括防护罩和振动器,防护罩上开设有进口,防护罩内固定有撞击板,撞击板相对水平面倾斜设置,撞击板的下端开设有缺口,撞击板位于防护罩内的侧面上固定有若干撞击柱,振动器固定在撞击板的另一侧面上。本实用新型具有将较大的废旧玻璃粉碎且噪声低的优点。

标签:
危废
浙江 - 嘉兴 来源:中冶有色网 2023-03-19
废气热力焚烧炉防爆门

本实用新型提供一种废气热力焚烧炉防爆门,其特征在于:于废气热力焚烧炉的燃烧室壁上开设有通孔,通孔处固设有一个门框,门框上设有一个环形凹槽;门框上铰接有防爆门盖,门盖内面设有环形凸垣,该环形凸垣与门框上的环形凹槽啮合。上述门盖内面为框格结构,框格内填充有耐火混泥土。门盖内面设有一层隔离钢丝板覆盖于耐火混泥土外。上述环形凹槽表面覆有一层耐高温珍丝棉。本实用新型的有益效果:在废气热力焚烧装置燃烧室部位装有门框和门盖组成的防爆门,可以防止在燃烧废气时热压过大而产生危险。压力超过限定值时,防爆门可自动打开降低燃烧室内部压力。

标签:
危废
江苏 - 苏州 来源:中冶有色网 2023-03-19
一种三氟乙酸废液的环保处理方法

本发明属于危险废物处理技术领域,具体涉及一种三氟乙酸的环保处理方法。本方法将三氟乙酸与氢氧化物进行预处理中和后,将反应液加入石灰浆形成氟化钙沉淀,通过压滤分离将滤液送至回转窑高温焚烧,将污泥进行稳定化和固化后填埋处理。本方法能将氟离子完全沉淀处理,采用特定的稳定化和固化填埋方式,保证处理达标;本方法实行过程中不产生外排废气,所有废气经收集处理并采用VOC在线监测仪监测,不合格气体通过循环进入反应器并作为空气搅拌的气源来源,保证含氟废气接近零排放,实现真正环保处理;本方法通过反应细节和参数进行控制,保证处理过程中的安全。

标签:
危废
四川 - 成都 来源:中冶有色网 2023-03-19
一种含氰废渣的处理方法

本发明涉及危险固体废物处理技术,涉及一种含氰废渣的处理方法。向含氰废渣中添加过硫酸盐和亚铁盐进行一级氧化,然后加热进行二级氧化;其中,过硫酸盐的添加摩尔量大于亚铁盐的添加摩尔量。本发明的处理方法仅需两小时可以使去含氰废渣中的含氰物质去除效果可以达到95%以上,对氰化物的去除效果好、去除速率快,除的氰化物产品对环境无毒无害。

标签:
危废
山东 - 青岛 来源:中冶有色网 2023-03-19
一种保险粉废液焚烧残渣生产硫代硫酸钠的方法

本发明公开了一种保险粉废液焚烧残渣生产硫代硫酸钠的方法:1)将纯碱配制成饱和溶液,开启搅拌,向饱和纯碱溶液中加入保险粉废液焚烧残渣,升温至60‑70℃;2)保持搅拌,向步骤1)溶液中滴加液体二氧化硫,控制反应温度60‑70℃,压力0.15‑0.25MPa,反应液pH在5.5‑6.5之间,在120min之内滴加完,再继续搅拌反应30min;3)将步骤2)反应液转移至真空干燥器内,在‑0.09至‑0.095MPa、90‑100℃下进行干燥,当真空干燥器内真空度开始降低时停止干燥,降温至40‑50℃后放料。本发明采用保险粉废液焚烧残渣生产硫代硫酸钠的过程中没有危险废物产生,硫代硫酸钠转化率高于98%。

标签:
危废
山东 - 烟台 来源:中冶有色网 2023-03-19
双层炉体固定床气化炉及有机固废气化方法

本发明公开了双层炉体固定床气化炉及有机固废气化方法。其中,双层炉体固定床气化炉包括渣仓、膜式水冷壁、炉篦、刮刀、下段炉体、上段炉体、布料装置、进料缓冲仓、进料口、进料缓冲仓上阀、进料缓冲仓下阀、渣仓上阀、渣仓下阀、炉底气化剂进气口、煤气出气口、炉顶气化剂进气口、进料缓冲仓充泄压口、渣仓充泄压口、中段气化剂进气口、惰性气体吹扫进气口、气化剂分布调节器。该双层炉体固定床气化炉可应用于生活垃圾、医疗废物、有机危险废物、工业有机固废、生物质、煤等含碳有机固体的气化处理,解决煤气与料层反方向移动的逆流式气化装置焦油含量多、进料口煤气泄漏,煤气与料层同方向移动的顺流式气化装置固相灰渣中含碳量高的问题。

标签:
危废
江苏 - 苏州 来源:中冶有色网 2023-03-19
用于回收含固废物中金属元素的水冷壁式焚烧装置、回收方法和应用

本发明涉及危险废物无害化处理技术领域,公开了一种用于回收含固废物中金属元素的水冷壁式焚烧装置、回收含固废物中金属元素的方法和应用。该水冷壁式焚烧装置包括:密闭连接的上壳体和下壳体、喷嘴以及二次空气喷嘴,该上壳体围绕形成有一燃烧室,包括一拱顶段、一直筒段和一锥底段;所述下壳体内形成有激冷室,所述锥底段设置有冷却单元和与所述冷却单元相连接的下降管,所述下降管的一端通过所述出渣口与所述燃烧室连通,另一端与所述激冷室连通;所述喷嘴设置在所述拱顶段上,所述二次空气喷嘴设置在所述直筒段上。根据本发明,能够提供一种可避免二次污染且金属氧化物的回收率高的用于回收含固废物中金属元素的水冷壁式焚烧装置。

标签:
危废
北京 - 北京 来源:中冶有色网 2023-03-19
废催化剂高温分离制取氧化锌的方法

一种废催化剂高温分离制取氧化锌的方法,包括以下步骤:(1)将氧化锌作为吸附剂或催化剂使用后的废颗粒粉碎成至少80目的粉末;(2)将粉末平铺布设成厚度小于2厘米的平层;(3)将铺成平层的粉末加热至400‑500℃,进行预处理;(4)将预处理后的平层粉末进行高温焙烧分离,焙烧温度至少为850度,停留时间至少45分钟;(5)高温焙烧过程中氧化锌挥发,冷却分离后得到商品氧化锌。本发明采用高温焙烧、气相分离的方法由使用后的废吸附剂或催化剂中得到氧化锌,过程简单,即可回收利用,又不会产生危废。

标签:
危废
山东 - 淄博 来源:中冶有色网 2023-03-19
一种连续监测电解处理废液效果及电解过程产气的成套装置及方法

本发明涉及一种连续监测电解处理废液效果及电解过程产气的成套装置和方法,它包括电解槽,所述电解槽采用密闭可收集电解产气的电解槽;所述电解槽的电源输入端与直流稳压电源相连,所述电解槽的溶液进入口与废液导入装置相连,所述电解槽的电解产气出口通过导气管与气体除湿器相连,所述气体除湿器之后通过导气管依次串联有气体质量流量计、气体累积流量计、泵吸式混合气体分析仪和气体处理器,所述气体处理器上设置后尾气排放口。通过该成套装置能够在对各种废液进行静态、动态处理,并能实时监测处理效果、能耗、实时收集、监测分析该成套装置运行时产生的气体组分及含量,方便分析废液中有害物质去除效果和机理,评估该类装置在运行时的安全性、评估对环境及操作人员的危害。

标签:
危废
湖北 - 荆州 来源:中冶有色网 2023-03-19
一种从废旧电路板中回收锡和铅的方法及其所用的装置

一种从废旧电路板回收锡和铅的装置,退镀槽通过隔膜泵与电解槽连通,电解槽中以钛网作阳极,以锡条作阴极。一种利用上述装置从废旧电路板中回收锡和铅的方法:制成65%甲基磺酸溶液,再加入缓蚀剂、稳定剂、表面活性剂、氧化剂,混合均匀后作为退镀液;将废旧电路板用水清洗,置于退镀液中,在20~60℃下退镀10--20分钟;从退镀液中过滤出以单质形式存在的铅;剩余的清液进入电镀槽;在10~35℃下电解获得金属锡。本发明实施过程中不产生危险的二苯呋喃,没有铅的挥发,也不必产生大量洗涤废水,环保绿色;获得的铅、锡产品纯度较高,经济效益好;电解后的溶液可以再次循环回到退镀槽内用做退镀液,既经济,又避免了环境污染。

标签:
危废
北京 - 北京 来源:中冶有色网 2023-03-19
一种不锈钢厂含铬废酸渣的应用处理方法

一种不锈钢含铬废酸渣的应用处理方法,其具体步骤为:1)将不锈钢生产、钝化、酸洗工艺过程中产生的含铬废酸渣经过80-20(℃的热风烘干或晒干;2)将干燥的含铬废酸渣直接放入封闭式回转窑中加热反应,或者添加(NH4)2SO4后放入封闭式回转窑中加热反应,使其全部转化为铬铁氧化物混合物,尾气通入石灰水中,进行尾气无害化处理;3)将铬铁氧化物混合物直接作为陶瓷色料或玻璃色料应用,或者将铬铁氧化物混合物作为合成陶瓷色料或玻璃色料的原料应用。本发明消除了铬的危害,节约了资源,降低了陶瓷玻璃色料的生产成本,同时减少环境污染,变废为宝。

标签:
危废
湖南 - 长沙 来源:中冶有色网 2023-03-19
一种发动机拆检废油回收车

本发明提供了本发明提出了一种发动机拆检废油回收车,适用于发动机拆装、中转使用。其结构包括折叠挡板、工具箱、零件台以及废油回收装置。所述折叠挡板可通过旋转增加承接面积,零件台采用网眼结构,废油回收装置采用可抽取结构,通过滑道与小车主体连接。其技术优势为可实现发动机装配过程中废油的回收与干湿分离,危废品的回收与管理;零件台可以将发动机相关零件全部放置在装配小车中,节约零件安置空间的同时也有利于大型装配间的现场管理。

标签:
危废
天津 - 天津 来源:中冶有色网 2023-03-19
一种废旧锂离子电池的拆解分离方法

一种废旧锂离子电池的拆解方法,涉及一种废旧锂离子电池的回收处理工艺,特别是废旧锂离子电池的拆解方法。其特殊之处在于:废旧锂离子电池经去除外壳后的电池包或电芯,无需放电,直接带水带电撕裂,然后进行第一次湿法筛分,在回收电解液和磁选除铁后无需干燥,直接湿法脱胶,接着第二次湿法筛分后,再进行第一次带水粉碎、第三次湿法筛分和第二次带水粉碎,最后跳汰分离得到铜粉、铝粉、正负极材料、塑料粉和隔膜纸浆。本发明在废旧锂离子电池拆解过程中,无需放电和干燥,能使各组分分离彻底,解决了现有技术所存的在拆解过程中必须放电、必须干燥,以及拆解存在火灾危险和分离不彻底的技术的难题。

标签:
危废
湖南 - 益阳 来源:中冶有色网 2023-03-19
一种含重金属酸性废水的资源化硫化处理方法

本发明是一种含重金属酸性废水的资源化硫化处理方法,通过用合成的气体硫化氢为硫化剂,避免了传统法所处置酸性废水的高盐化,同时实现了酸性废水中重金属离子的高效去除,减少了危废硫化渣的产生量。在硫化剂的制备过程,实现了副产物硫酸钠的资源化综合利用。本发明方法的运行成本低,对环境无二次污染,可高效硫化冶炼烟气制酸过程中酸性废水,在行业内具有推广意义。

标签:
危废
甘肃 - 金昌 来源:中冶有色网 2023-03-19
一种处理含铜镍的硝酸或硫酸电镀废水的方法

本发明公开了一种处理含铜镍的硝酸或硫酸电镀废水的方法,在含铜镍的硝酸或硫酸电镀废水中加入置换剂,置换剂与铜镍反应生成粗铜镍泥,固液分离后得到粗铜镍泥和含硝酸根或硫酸根的母液一;将粗铜镍泥通过纯水洗涤过滤后,得到铜镍泥;在母液一中加入脱硝剂,进行脱硝处理,脱硝剂与硝酸根或硫酸根反应,得到硝酸、硫酸、硝酸盐、硫酸盐中的一种或几种,并得到含脱硝剂的电镀废水:脱硝剂母液二,将脱硝剂母液二和纯水回用。本发明是一种新型绿色环保工艺,此方法操作简单,生产成本低,经济效益高,且无危废渣,真正实现电镀废水资源化和零排放。

标签:
危废
湖南 - 株洲 来源:中冶有色网 2023-03-19
一种利用废弃暖贴制备聚合无机铁系絮凝剂

本发明涉及一种利用废弃暖贴制备聚合无机铁系絮凝剂,该材料由使用过后的暖贴跟硅酸钠按质量份组成,上述颗粒由粉磨,浸取,反应过程制备而成。本发明制备的聚合无机铁系絮凝剂能用于各类废水处理中。本发明有效利用日常生活废弃物暖贴制备水处理常用材料,减轻环境危害,实现生活废弃物的再资源化,符合国家发展循环经济,节能减排利废的国家政策。

标签:
危废
山东 - 济南 来源:中冶有色网 2023-03-19
一种可再生活性炭废气净化装置

本实用新型提供了一种可再生活性炭废气净化装置,涉及废气处理技术领域,以解决现有技术中存在的现有技术虽然能有效去除废气中的粉尘,但由于废气成分比较复杂,单靠简单的处理装置无法完全清除,还是会给人们的身体健康带来危害的技术问题,该装置包括混溶箱、第一电机、搅拌器、吸嘴、过滤箱、第二电机、活性炭吸附器、细过滤板、粗过滤板及自吸泵,本实用新型通过混溶箱、第一电机、搅拌器、吸嘴、过滤箱、第二电机、活性炭吸附器、粗过滤板、细过滤板及自吸泵可以实现将废气中的复杂成分完全清除,保证人们的身体健康,同时混溶用的溶剂通过过滤板的过滤与活性炭的吸附可以二次利用,节约资源。

标签:
危废
江苏 - 常州 来源:中冶有色网 2023-03-19
一种苯乙烯废气分子筛处理装置

本实用新型公开了一种苯乙烯废气分子筛处理装置,包括短纤维过滤器、催化风机、分子筛吸附器、两级催化净化器和余热回用炉;其特征是所述短纤维过滤器一端连接有废气管,一端分别连接有高浓度废气管和低浓度废气管;所述高浓度废气管连接有催化风机;所述催化风机通过气管与两级催化净化器相连接;所述两级催化净化器通过气管与余热回用炉相连接;所述余热回用炉一端与自来水管相连接,一端与热水回用管相连接;所述余热回用炉通过气管与烟囱相连接。本实用新型构简单,使用方便,通过使用分子筛对苯乙烯进行吸附可以减小对人体的危害,减少运行降低成本。

标签:
危废
浙江 - 杭州 来源:中冶有色网 2023-03-19
一种土木建筑工程施工废料处理装置

本实用新型公开了一种土木建筑工程施工废料处理装置,包括壳体,所述壳体的右侧固定连接有电机箱,所述电机箱内腔的右侧固定连接有第一电机,所述第一电机的输出端固定连接有粉碎机构,所述壳体的顶部连通有进料斗,所述壳体的底部连通有出料斗。本实用新型通过设置传动箱带动风机前后移动吸收壳体内部的粉尘,通过设置水箱使粉尘溶于水中,从而起到了对粉尘的处理,解决了现有的废料处理装置在处理废料的过程中会形成大量的粉尘,不仅会对施工人员的身体造成危害,还会造成污染环境的问题,该土木建筑工程施工废料处理装置,具备能够吸收粉尘的优点,方便了施工人员的使用,提高了废料处理装置的实用性。

标签:
危废
山西 - 大同 来源:中冶有色网 2023-03-19
一种有毒废料粉碎焚烧装置

本实用新型公开了一种有毒废料粉碎焚烧装置,属于环保设备技术领域。一种有毒废料粉碎焚烧装置,包括燃烧室和箱体,所述箱体外壁连接有伺服电机,所述伺服电机输出端穿过箱体连接有转轴,所述转轴外壁连接有连杆,所述连杆远离转轴的一端连接有第一固定块,所述箱体内部连接有集气管,所述集气管内有滑杆,且所述滑杆远离集气管的一端连接有框架,所述固定块滑动连接在框架内部,所述滑杆远离框架的一端连接有活塞;本实用新型通过在燃烧室外壁安装箱体,使箱体收集更多空气,空气中的氧气帮助燃烧室燃烧废料,使燃烧更彻底,更充分,从而产生的有毒气体减少,最后排出的废渣和废气污染性更少,有利于环境治理,减少对人体的危害。

标签:
危废
山东 - 济南 来源:中冶有色网 2023-03-19
一种基于废气过滤消毒再利用装置

本实用新型公开了一种基于废气过滤消毒再利用装置,包括过滤消毒箱、安装在过滤消毒箱一侧中部的进气口、通过法兰盘与进气口固定连接的气体催化罐和安装在过滤消毒箱底部的废水储水罐,所述过滤消毒箱一侧顶部设有进水口,所述进水口一端设有水洒喷头,所述过滤消毒箱内部依次设有活性炭过滤层、活性硅过滤层、初效过滤层、高效过滤层、杀菌灯,所述杀菌灯悬挂在过滤消毒箱的内部,所述过滤消毒箱一侧设有出气口,所述出气口出安装有负离子发生器,所述废水储水罐的一侧设有出水口,本实用新型通过各过滤层能够有效的对废气进行过滤,同时通过杀菌灯能够对废气进行消毒杀菌,从而防止有毒气体对环境以及使用人员的危害,结构紧凑,易于实现。

标签:
危废
浙江 - 绍兴 来源:中冶有色网 2023-03-19
PP/PE塑料颗粒造粒废气喷淋处理系统

本实用新型涉及PP/PE塑料颗粒生产的流水线设备,具体地说,涉及一种PP/PE塑料颗粒造粒废气喷淋处理系统。包括真空罐、真空泵、喷淋塔、储药罐、引风机、活性吸附塔、排烟管和安装在排烟管顶端的烟囱。本实用新型在喷淋塔前设置有真空罐、真空泵,造粒废气先进入真空罐,与真空罐中的碱液发生中和反应,去除废气中的微量Hcl气体,以防止烟气对喷淋塔有所腐蚀;在喷淋塔后设置有活性炭吸附塔,通过多种表面活性剂混合液去除造粒废气中的非甲烷总烃等有机物和臭气,能够从根本上解决造粒废气对环境的污染和危害。

标签:
危废
山东 - 潍坊 来源:中冶有色网 2023-03-19
工业固体废物处理机
工业固体废物处理机 854     
 0

本实用新型属环保机械垃圾处理设备,特别涉及一种对多种工业固定废物和危险废物进行处理的工业固体废物处理机,由主机架(10)、主体外壳(9)、螺旋输送机(30)、水泥秤(12)、水秤(15)、液体药剂秤(14)、药剂储存罐(24)等组成,在主机架(10)的中间层板上固定一个搅拌机(8),搅拌机壳体(8-1)截面为扁圆形,在壳体(8-1)中平行地装两根搅拌轴(8-3),在搅拌轴(8-3)上垂直于搅拌轴(8-3)的圆周上固定装四排,每排有数个搅拌臂(8-4),搅拌臂(8-4)端头固定装有铲片(8-5);工业固体废物处理机能处理多种工业垃圾,节省工业固体废物的堆放占地面积,保护了生态环境。

标签:
危废
辽宁 - 阜新 来源:中冶有色网 2023-03-19
一种活性焦脱硫脱硝废水分盐处理系统

本实用新型公开了一种活性焦脱硫脱硝废水分盐处理系统,包括一级纳滤器、二级纳滤器及反渗透设备;一级纳滤器的进口用于连接活性焦脱硫脱硝废水源,一级纳滤器的产水口连接反渗透设备的进口,一级纳滤器的浓水口连接二级纳滤器的进口,二级纳滤器的产水口连接反渗透设备的进口,反渗透设备的产水口连接二级纳滤器的进口。本实用新型不仅能够消除废水回用带来的设备腐蚀问题,而且能够消除废水后续蒸发结晶产生危险废弃物带来的新的环境污染问题。

标签:
危废
山东 - 济南 来源:中冶有色网 2023-03-19
一种带净化功能的EVA塑料薄膜生产用废气净化装置

本实用新型涉及废气净化装置技术领域,具体为一种带净化功能的EVA塑料薄膜生产用废气净化装置,包括底座,所述底座顶部靠近左侧的位置设有消毒融水箱,所述消毒融水箱右侧设有吸附过滤箱,所述吸附过滤箱右侧设有吸气机构;该带净化功能的EVA塑料薄膜生产用废气净化装置通过设置消毒融水箱、吸附过滤箱并通过吸气机构吸入废气,将塑料薄膜的生产过程中产生的大量有毒、有刺激性气味的废气进行充分净化,避免了给工作人员和周边居民造成极大地危害并保护了当地的生态环境。

标签:
危废
江苏 - 南京 来源:中冶有色网 2023-03-19
上一页 487 488 489 490 491 ... 500 ... 2000 ... 5000 ... 5981 下一页
共5981页    到第

中冶有色为您提供最新的有色金属环境保护技术理论与应用信息,涵盖发明专利、权利要求、说明书、技术领域、背景技术、实用新型内容及具体实施方式等有色技术内容。打造最具专业性的有色金属技术理论与应用平台!

全国热门有色金属设备推荐
展开更多 +
全国热门有色金属技术推荐
展开更多 +

 

江西省隆恩特环保设备有限公司
宣传

报名参会
更多+

2025年10月15日 ~ 17日
2025年10月17日 ~ 19日
2025年10月31日 ~ 11月02日
2025年11月07日 ~ 09日

报告下载

有色专家
更多+

鞍钢集团有限公司
中国工程院院士
中国矿业大学(北京)
院长/教授
紫金矿业信息化研发中心
副总经理
湖南科技大学
所长/教授
北京科技大学
副院长/教授
赤泥综合利用研究报告2025
推广

热门技术
更多+

推荐企业
更多+

福建省金龙稀土股份有限公司
宣传

发布

在线客服

公众号

电话

顶部
咨询电话:
010-88793500-807