青岛垚鑫智能科技有限公司
宣传

位置:北方有色 >

有色技术频道 >

> 加工技术

分类:
全部
矿山技术
冶金技术
材料制备及加工技术
环境保护技术
分析检测技术
 
全部
功能材料技术
复合材料技术
新能源材料技术
合金材料技术
加工技术
地区:
全部
北京
天津
上海
重庆
河北
山西
辽宁
吉林
黑龙江
江苏
浙江
安徽
福建
江西
山东
河南
湖北
湖南
广东
海南
四川
贵州
云南
陕西
甘肃
青海
内蒙
广西
西藏
宁夏
新疆
其他
其他
展开
 
全部
其他

其他有色金属加工技术理论与应用

免费发布技术信息>>
负极活性物质、混合负极活性物质材料、非水电解质二次电池用负极、锂离子二次电池、负极活性物质的制造方法、以及锂离子二次电池的制造方法

一种负极活性物质,其包含负极活性物质颗粒,所述负极活性物质的特征在于,前述负极活性物质颗粒含有硅化合物颗粒,所述硅化合物颗粒包含硅化合物SiOx,其中,0.5≤x≤1.6;前述负极活性物质颗粒的至少一部分含有晶质的Li2SiO3,并且,前述负极活性物质颗粒,其由29Si‑MAS‑NMR波谱所获得的源自Li2SiO3的峰强度A、源自Si的峰强度B、源自Li2Si2O5的峰强度C、及源自SiO2的峰强度D,满足下述式1或式2,A>B>D···(1),A>C>D···(2)。由此,提供一种负极活性物质,其在作为锂离子二次电池的负极活性物质使用时,能够增加电池容量,且能够提升循环特性和初始充放电特性。

标签:
加工技术
其他 - 其他 来源:北方有色网 2023-03-18
锂二次电池用正极活性物质颗粒、锂二次电池用正极以及锂二次电池

本申请涉及锂二次电池用正极活性物质颗粒,其是至少含有Li和Ni的锂二次电池用正极活性物质颗粒,其中,在对多个颗粒求出了上述锂二次电池用正极活性物质颗粒的一颗粒整体的体积磁化率的情况下,就各自的体积磁化率来说0.004~0.04范围内的众数值为0.004以上且小于0.012。

标签:
加工技术
其他 - 其他 来源:北方有色网 2023-03-18
无锂电池用负极集电器、包含该无锂电池用负极集电器的电极组件、以及无锂电池

根据本公开内容的一个实施方式的无锂电池用负极集电器是用于无锂电池的负极集电器,所述负极集电器包含:金属集电基材;导电层,所述导电层形成在所述金属集电基材的至少一个表面上,并包含导电材料;辅助层,所述辅助层形成在所述导电层上并增加锂的电沉积密度。

标签:
加工技术
其他 - 其他 来源:北方有色网 2023-03-18
负极活性物质、混合负极活性物质材料、非水电解质二次电池用负极、锂离子二次电池、负极活性物质的制造方法、及锂离子二次电池的制造方法

本发明提供一种负极活性物质,其包含负极活性物质颗粒,其特征在于,所述负极活性物质颗粒含有包含硅化合物(SiOx:0.5≤x≤1.6)的硅化合物颗粒,所述硅化合物颗粒含有锂,所述负极活性物质颗粒利用TPD‑MS测定的聚亚苯基化合物和多环芳香族成分的合计含有率为1质量ppm以上、4000质量ppm以下。由此,本发明提供一种负极活性物质,其在用作锂离子二次电池的负极活性物质时,可提高循环特性和初期充放电特性。

标签:
加工技术
其他 - 其他 来源:北方有色网 2023-03-18
用于锂电池的复合膜、用于锂电池的正极以及包括所述复合膜的锂电池

用于锂电池的复合膜、用于锂电池的正极以及包括所述复合膜的锂电池。所述复合膜包括共聚物,所述共聚物包括由式1表示的第一重复单元和由式2表示的第二重复单元,其中式1中的Ar1、R1、R2、R3、A、Y和m以及式2中的R4‑R7、a和n与说明书中定义的相同。

标签:
加工技术
其他 - 其他 来源:北方有色网 2023-03-18
用于锂二次电池的电解质添加剂以及各自包含其的用于锂二次电池的电解质和锂二次电池

公开了用于锂二次电池的电解质添加剂、包括其的用于锂二次电池的电解质和包括电解质的锂二次电池,电解质添加剂包括由下化学式1表示的化合物:<式1>在化学式1中,R1至R6如详细说明中所定义。

标签:
加工技术
其他 - 其他 来源:北方有色网 2023-03-18
锂离子二次电池的制造方法、锂离子二次电池和锂离子二次电池用容量恢复剂

一种锂离子二次电池的制造方法,包含以下的(α)和(β)。(α)准备至少包含正极、负极和电解液的锂离子二次电池。(β)向电解液中添加两性离子化合物。负极至少包含负极活性物质和被膜。被膜形成于负极活性物质的表面。被膜包含锂化合物。两性离子化合物在1个分子内包含鏻阳离子或铵阳离子、和羧酸根阴离子。

标签:
加工技术
其他 - 其他 来源:北方有色网 2023-03-18
锂离子电池电极用浆料及其制造方法、锂离子电池用电极及锂离子电池

课题:提供锂离子电池电极用浆料及其制造方法、锂离子电池用电极及锂离子电池。手段:本公开提供锂离子电池电极用浆料,其含有:含有特定量的(甲基)丙烯酰胺衍生的结构单元和选自于由不饱和羧酸、不饱和磺酸及它们的盐组成的组中的一种以上的单体(a)衍生的结构单元的水溶性聚(甲基)丙烯酰胺(A‑1);含有特定量的(甲基)丙烯酰胺衍生的结构单元和具有N,N‑二取代(甲基)丙烯酰胺基的化合物(b)衍生的结构单元的水溶性聚(甲基)丙烯酰胺(A‑2);含有调整为10质量%水溶液时pH为3以上小于8的电极活性物质(B‑1)和调整为10质量%水溶液时pH为8以上的电极活性物质(B‑2)的2种以上的电极活性物质;及水。

标签:
加工技术
其他 - 其他 来源:北方有色网 2023-03-18
锂离子二次电池电极用粘结剂组合物、锂离子二次电池电极和锂离子二次电池

本发明的锂离子二次电池电极用粘结剂组合物包含在聚乙烯醇系树脂水溶液中分散有来自于烯属不饱和单体的聚合物颗粒的乳液。前述聚合物颗粒的平均粒径为50nm以上且小于600nm。或前述聚乙烯醇系树脂的粘均聚合度为400~3000。利用具有使用本发明的粘结剂组合物得到的锂离子二次电池电极的锂离子二次电池,可以稳定地得到高的充放电容量。

标签:
加工技术
其他 - 其他 来源:北方有色网 2023-03-18
锂离子二次电池负极材料用粉末、锂离子二次电池负极和电容器负极、以及锂离子二次电池和电容器

本发明提供一种在放电容量大且循环特性良好、并且可耐受实用水平下的使用的锂离子二次电池中使用的负极材料用粉末。本发明的锂离子二次电池负极材料的特征在于,是在低级氧化硅粉末的表面具有导电性碳皮膜的锂离子二次电池负极材料用粉末,其中,发生了SiC化的Si的含有率为15.1wt%以下,或者在将利用酸溶解法测得的Si含有率设为A1(wt%)、将用碱溶解法测得的Si含有率设为A2(wt%)、使A3=A2-A1时,A3≤15.1,并且为30000Ωcm以下。前述低级氧化硅粉末在利用使用了CuKα线的XRD进行测定的情况下,在2θ=10°~30°处出现的来自SiOx的晕的最大值P1、和在2θ=28.4±0.3°处出现的Si(111)的最强线峰的值P2满足P2/P1<0.01。另外,焦油成分的含有率优选为1ppm以上、4000ppm以下。

标签:
加工技术
其他 - 其他 来源:北方有色网 2023-03-18
用于锂二次电池的负极材料、其制备方法及包含用于锂二次电池的负极材料的锂二次电池

本发明揭示一种用于锂二次电池的负极材料、其制备方法及包含负极材料的锂二次电池,其包括:天然石墨颗粒,具有下列结构,即,由具备凹凸结构表面缺陷的鳞片状天然石墨片状颗粒以大头菜状或随机形状结球及组合的结构,表面及内部设有形成于所述鳞片状天然石墨片状颗粒之间的张开的空隙;及涂层,是形成所述空隙的鳞片状天然石墨片状颗粒表面及所述天然石墨颗粒的表面上形成的涂层,其包含非晶质或准晶碳。

标签:
加工技术
其他 - 其他 来源:北方有色网 2023-03-18
锂离子二次电池负极材料用粉末、使用其的锂离子二次电池负极及电容器负极、以及锂离子二次电池及电容器

一种锂离子二次电池负极材料用粉末,其中在低级氧化硅粉末的表面具有导电性碳皮膜,该氧化硅粉末的粒度分布中,1μm≤D50≤20μm、D50与D10满足1.4≤D50/D10≤2.4。分别优选导电性碳皮膜的厚度为1.5nm以上且7.5nm以下;利用BET法测定的比表面积为0.3m2/g以上且7.0m2/g以下;前述导电性碳皮膜所占的比例为0.5质量%以上10质量%以下。优选利用TPD-MS测定的焦油成分的总计含有率为1质量ppm以上4000质量ppm以下、XRD测定中来自SiOx的晕圈的最大值P1与Si(111)的最强线峰的值P2满足P2/P1<0.01。由此,能够提供放电容量大、且循环特性良好、能够耐于实用水平使用的锂离子二次电池中所用的负极材料用粉末。

标签:
加工技术
其他 - 其他 来源:北方有色网 2023-03-18
用于锂电池的电极复合导电剂、用于锂电池的电极、制造其的方法和包括电极的锂电池

用于锂电池的电极复合导电剂、用于锂电池的电极、制造其的方法和包括电极的锂电池,所述用于锂电池的电极复合导电剂包括碳质导电材料和石墨烯‑硅石复合物,其中所述石墨烯‑硅石复合物包括:包含石墨烯的基体,和其中0<x<2的式SiOx的低价氧化硅、二氧化硅、或其组合,其中所述石墨烯‑硅石复合物的量为20重量份或更少,基于100重量份的所述复合导电剂的总重量。

标签:
加工技术
其他 - 其他 来源:北方有色网 2023-03-18
具有有效性能的锂电池
具有有效性能的锂电池 1023     
 0

一种锂电池,具有阳极、包含能嵌加和去嵌加锂的化合物的阴极、阴极和阳极之间的隔膜及一种电解质溶液,后者含有溶解于非水溶剂中的电解质溶质。该非水溶剂包含混合的溶剂,其中按体积计含有8至15%的碳酸亚乙酯,10至35%的γ-丁内酯、35至65%的至少一种线型碳酸酯,后者选自碳酸二甲酯、碳酸二乙酯、碳酸乙基甲基酯、碳酸甲基丙基酯、碳酸乙基丙基酯和碳酸甲基丁基酯及8至15%的氟苯,及基于100份混合溶剂的体积计,0.5至9体积份碳酸1,2-亚乙烯基酯。还可包含按100份混合溶剂的体积计0.05至5份乙烯基砜、异噁唑或其混合物。

标签:
加工技术
其他 - 其他 来源:北方有色网 2023-03-18
锂离子二次电池用负极材料及其制造方法、锂离子二次电池用负极、及锂离子二次电池

本发明的课题在于提供一种适用于锂离子二次电池负极的负极材料、使用此材料而成的负极及锂离子二次电池、以及此负极材料的制造方法,所述负极材料维持含硅材料例如氧化硅系材料的体积膨胀率较低的优点,并且容量高、循环特性优良。为了解决上述课题,本发明提供一种锂离子二次电池用负极材料,其具有含硅且可吸着、放出锂离子的硅系活性物质颗粒,其特征在于,前述硅系活性物质颗粒以100ppm以上且50000ppm以下的范围含有氮。

标签:
加工技术
其他 - 其他 来源:北方有色网 2023-03-18
能有效阻漏的聚合物电解质和采用该电解质的锂电池

一种能加强阻漏的聚合物电解质及使用该聚合物电解质的锂电池。聚合物电解质包括形成聚合物电解质的组合物的聚合产物,该组合物包括多官能团丙烯酸酯基化合物、选自聚(亚烷基)二醇二(甲基)丙烯酸酯和聚(亚烷基)二醇(甲基)丙烯酸酯至少一种的化合物和包含锂盐和有机溶剂的电解溶液。

标签:
加工技术
其他 - 其他 来源:北方有色网 2023-03-18
由含有AL的钛酸锂构成的锂离子电池用活性物质和锂离子电池

本发明的课题是提供能够制作高速充放电特性优良的锂离子电池的锂离子电池用活性物质和高速充放电特性优良的锂离子电池。本发明的锂离子电池用活性物质是用组成式Li[Li(1-x)/3AlxTi(5-2x)/3]O4(0<x<1)表示的物质,此组成式是用Al取代钛酸锂元素的一部分而得,并且锂离子电池是使用该活性物质作为负极活性物质。

标签:
加工技术
其他 - 其他 来源:北方有色网 2023-03-18
锂离子二次电池用正极、石墨烯-正极活性物质复合体粒子及它们的制造方法以及锂离子二次电池用正极糊料

本发明的目的为通过提高正极活性物质表面的电子传导及离子传导性来得到高容量/高输出的锂离子电池,本发明为锂离子二次电池用正极,其具有含有锂离子二次电池用正极活性物质及石墨烯的合剂层,其中,所述合剂层的通过X射线光电子能谱分析测得的、构成硅氧烷键的硅相对于全部元素的存在比为0.4原子%以上。

标签:
加工技术
其他 - 其他 来源:北方有色网 2023-03-18
锂二次电池用正极添加剂、其制备方法、包含其的锂二次电池用正极及包含其的锂二次电池

本发明涉及锂二次电池用正极添加剂、其制备方法、包含其的锂二次电池用正极及包含其的锂二次电池。本发明一个实施例的锂二次电池用正极添加剂以下述化学式1表示,[化学式1]Li6xCo1‑yMyO4在所述化学式1中,0.9≤x≤1.1、0<y≤0.1,My=BaWb,0≤a≤0.1、0≤b≤0.1,a与b不同时为0。另外,本发明一个实施例的锂二次电池用正极添加剂包括以下述化学式2表示的核以及包含硼(B)及钨(W)中1种以上的涂层。[化学式2]Li6xCoO4在所述化学式2中,0.9≤x≤1.1。

标签:
加工技术
其他 - 其他 来源:北方有色网 2023-03-18
富锂反钙钛矿化合物、包含其的锂二次电池电解质以及包含其的锂二次电池

本发明涉及一种富锂反钙钛矿化合物及其用途,更特别地,涉及一种具有新型结构的富锂反钙钛矿化合物以及使用该富锂反钙钛矿化合物的电解质,在该新型结构中Li3OCl化合物中有掺杂剂替换,其中掺杂剂替代O位点而不是本领域中已知的阴离子Cl位点。该富锂反钙钛矿化合物具有高锂离子传导率和优异的热稳定性,因此能够被用作在高温下工作的锂二次电池用电解质。

标签:
加工技术
其他 - 其他 来源:北方有色网 2023-03-18
锂离子电极用粘合剂、锂离子电池用电极和锂离子电池用电极的制造方法

本发明提供一种粘合剂,该粘合剂能够制作锂离子电池用电极,该锂离子电池用电极具有能够保持电极的形状、并且电极的能量密度不会降低的构成。一种锂离子电极用粘合剂,其为在锂离子电极中使活性物质彼此粘接的粘合剂,其特征在于,上述粘合剂的玻璃化转变温度为60℃以下,溶解度参数为8~13(cal/cm3)1/2,在频率10‑1~101Hz的范围内在20℃测定的储能剪切模量和损耗剪切模量为2.0×103~5.0×107Pa,上述粘合剂是以来自(甲基)丙烯酸烷基酯单体的结构单元作为必要部分的丙烯酸系聚合物,构成上述粘合剂的单体中的上述(甲基)丙烯酸烷基酯单体的比例以单体的总重量为基准计为50重量%以上,含氟单体的比例以单体的总重量为基准计小于3重量%。

标签:
加工技术
其他 - 其他 来源:北方有色网 2023-03-18
锂固体电池、锂固体电池模块及锂固体电池的制造方法

本发明以提供一种抑制了由枝晶引起的短路发生的锂固体电池为课题。本发明提供通过一种锂固体电池来解决上述课题,该锂固体电池的特征在于,具备含有硫化物玻璃且通过水银压入法求出的平均细孔半径为0.0057μm以下的固体电解质层,该硫化物玻璃具有含有Li元素、P元素和S元素的离子传导体。

标签:
加工技术
其他 - 其他 来源:北方有色网 2023-03-18
锂二次电池用粘合剂及其前体溶液、锂二次电池用负极及其制造方法、锂二次电池

本发明提供一种可以实现具有优异的充放电循环特性的锂二次电池的粘合剂,该锂二次电池具备具有负极活性物质层的负极,该负极活性物质层包含硅和硅合金中的至少一种作为负极活性物质并且包含粘合剂,该锂二次电池用粘合剂含有通过将四羧酸或四羧酸的酐与二胺进行酰亚胺化而形成的、具有水解性甲硅烷基的聚酰亚胺树脂。

标签:
加工技术
其他 - 其他 来源:北方有色网 2023-03-18
蛋黄-壳结构的粒子、其制备方法和包含其的锂二次电池

本发明涉及一种具有蛋黄‑壳结构的粒子和其制备方法,所述具有蛋黄‑壳结构的粒子包含:碳壳;和硅(Si)核,所述硅(Si)核被设置在碳壳的内部,其中所述壳的至少一部分与所述核间隔开,并且所述具有蛋黄‑壳结构的粒子具有0.15cm3/g以下的微孔体积。

标签:
加工技术
其他 - 其他 来源:北方有色网 2023-03-18
用于制备低酸的锂硼酸盐及由低酸的锂硼酸盐与氢化锂组成的混合物的方法

本发明涉及由低酸的锂硼酸盐和氢化锂组成的混合物、其制备方法以及其作为电池组电解液的应用。

标签:
加工技术
其他 - 其他 来源:北方有色网 2023-03-18
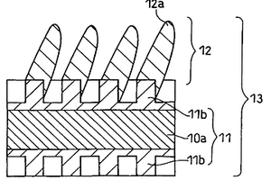
锂离子二次电池用负极及采用了该负极的锂离子二次电池

本发明的锂离子二次电池用负极具有片状的集电体以及附载在该集电体上的活性物质层。所述集电体包括基材部以及比基材部容易塑性变形的表层部。表层部具有凹凸,活性物质层包括含硅的多个柱状粒子,所述柱状粒子附载在表层部上。

标签:
加工技术
其他 - 其他 来源:北方有色网 2023-03-18
锂电池用电解液及其制造方法、以及具备该锂电池用电解液的锂电池

提供了对于锂金属的稳定性优异的电池用电解液及其制造方法、以及具备该电解液的锂电池。锂电池用电解液的特征在于,含有由通式(1)表示的介离子化合物。

标签:
加工技术
其他 - 其他 来源:北方有色网 2023-03-18
锂离子二次电池负极用浆料组合物、锂离子二次电池负极及锂离子二次电池

本发明提供一种可以得到具有优异的循环特性及输出特性的二次电池及具有优异的密合性的电极的锂离子二次电池负极浆料组合物。本发明的锂离子二次电池负极用浆料组合物为含有负极活性物质、水分散性粘合剂及水的锂离子二次电池负极用浆料组合物,其特征在于,负极活性物质的比表面积为3.0~20.0m2/g,水分散性粘合剂由含有含二羧酸基的单体单元及含磺酸基的单体单元的聚合物构成,所述聚合物中的含二羧酸基的单体单元的含有比例为2~10质量%,含磺酸基的单体单元的含有比例为0.1~1.5质量%,所述浆料组合物中的钾离子的含量相对于浆料组合物100质量%为1000ppm以下。

标签:
加工技术
其他 - 其他 来源:北方有色网 2023-03-18
锂离子电池负极活性材料和使用该锂离子电池负极活性材料的锂离子电池负极

本发明涉及锂离子电池负极活性材料和使用该负极活性材料的锂离子电池负极,该负极活性材料包含Si-Sn-Fe-Cu基合金,其中在全部负极活性材料中,Si相所占的面积比率为35%至80%,Si相分散于基质相中,基质相包含在所述Si相周围结晶的Si-Fe化合物相,并且还包含Sn-Cu化合物相,该Sn-Cu化合物相结晶以包围Si相和Si-Fe化合物相,以在全部基质相中所占的面积比率计,Si-Fe化合物相的结晶比率为35%至90%,其中基质相中还包含不可避免地在基质相中结晶的Sn相,以在全部基质相中所占的面积比率计,该Sn相的结晶比率为15%。本发明的负极活性材料能够使活性材料具有较大的初始放电容量并能够增强循环特性。

标签:
加工技术
其他 - 其他 来源:北方有色网 2023-03-18
电池用非水电解液、锂二次电池前体、锂二次电池、及锂二次电池的制造方法

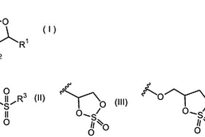
本发明涉及电池用非水电解液、锂二次电池前体、锂二次电池、及锂二次电池的制造方法。电池用非水电解液,其含有包含含氟锂盐的电解质、包含羧酸酯的非水溶剂和包含下述式(I)表示的环状硫酸酯的添加剂。式(I)中R1表示式(II)表示的基团或式(III)表示的基团,R2表示氢原子、碳原子数1~6的烷基、式(II)表示的基团或式(III)表示的基团。式(II)中R3表示卤素原子、碳原子数1~6的烷基、碳原子数1~6的卤代烷基、碳原子数1~6的烷氧基或式(IV)表示的基团。式(II)、式(III)及式(IV)中的波浪线表示键合位置。式(I)表示的环状硫酸酯中包含2个式(II)表示的基团时2个式(II)表示的基团可以相同也可以彼此不同。

标签:
加工技术
其他 - 其他 来源:北方有色网 2023-03-18
上一页 421 422 423 424 425 ... 436 下一页
共436页    到第

北方有色为您提供最新的其他有色金属加工技术理论与应用信息,涵盖发明专利、权利要求、说明书、技术领域、背景技术、实用新型内容及具体实施方式等有色技术内容。打造最具专业性的有色金属技术理论与应用平台!

全国热门有色金属设备推荐
展开更多 +
全国热门有色金属技术推荐
展开更多 +

 

江西省隆恩特环保设备有限公司
宣传

报名参会
更多+

报告下载

有色专家
更多+

中国工程院
院士
北京科技大学
主任/教授
有研资源环境技术研究院(北京)有限公司
副总经理/教授级高工
中铝检测科技(郑州)有限公司/国家轻金属质量检验检测中心
正高级工程师
中南大学、中国工程院
院士
赤泥综合利用研究报告2025
推广

热门技术
更多+

推荐企业
更多+

福建省金龙稀土股份有限公司
宣传

发布

在线客服

公众号

电话

顶部
咨询电话:
010-88793500-807