青岛垚鑫智能科技有限公司
宣传

位置:中冶有色 >

有色技术频道 >

> 加工技术

分类:
全部
矿山技术
冶金技术
材料制备及加工技术
环境保护技术
分析检测技术
 
全部
功能材料技术
复合材料技术
新能源材料技术
合金材料技术
加工技术
地区:
全部
北京
天津
上海
重庆
河北
山西
辽宁
吉林
黑龙江
江苏
浙江
安徽
福建
江西
山东
河南
湖北
湖南
广东
海南
四川
贵州
云南
陕西
甘肃
青海
内蒙
广西
西藏
宁夏
新疆
其他
其他
展开
 
全部
其他

其他其他有色金属加工技术理论与应用

免费发布技术信息>>
锂离子二次电池用粘合剂组合物、锂离子二次电池用浆料组合物、二次电池用电极的制造方法、以及锂离子二次电池

本发明涉及一种锂离子二次电池用粘合剂组合物,其包含交联剂(A)、粒子状粘结剂(B)及水,具有水相及固相,其中,上述交联剂(A)具有与羧酸反应的官能团,上述粒子状粘结剂(B)含有烯属不饱和羧酸基单体单元,相对于上述粘合剂组合物的固体成分质量总量的上述粒子状粘结剂(B)的表面酸量的比例、相对于上述粘合剂组合物的固体成分质量总量的上述水相中的酸量的比例、以及上述表面酸量/上述水相中的酸量,在给定的范围。

标签:
加工技术
其他 - 其他 来源:中冶有色网 2023-03-18
锂二次电池用负极及其制造方法、以及具备锂二次电池用负极的锂二次电池

锂二次电池用负极(100)具备集电体(11)、被所述集电体(11)支持并具有由SiOx所示的化学组成的负极活性物质体(12)、和形成于所述负极活性物质体12之上并具有含有二氧化硅的化学组成的被覆层(14),所述被覆层(14)的厚度大于1nm且在10nm以下,其中0.1≤x≤1.2。

标签:
加工技术
其他 - 其他 来源:中冶有色网 2023-03-18
锂离子二次电池用负极材、锂离子二次电池用负极及锂离子二次电池

锂离子二次电池用负极材包含石墨粒子,所述石墨粒子的拉曼分光测定的R值小于0.27,且在利用CuKα射线得到的X射线衍射图中六方晶结构(101)面的衍射峰(P1)与菱面体结构(101)面的衍射峰(P2)的强度比(P1/P2)小于或等于5.0。

标签:
加工技术
其他 - 其他 来源:中冶有色网 2023-03-18
锂离子二次电池用的负极、锂离子二次电池和锂离子二次电池的制造方法

本发明提供一种能够防止枝晶状的Li金属形成于负极活性物质的表面、很好地抑制电池容量的降低的技术。在此公开的锂离子二次电池用的负极,在箔状的负极集电体的表面形成含有负极活性物质2的负极合剂层。该负极中,负极合剂层包含吸附过渡金属离子、释放预定的阳离子的离子交换粒子(1),该离子交换粒子中存在金(Au)和/或铂(Pt)。由此,能够使多个来自于从离子交换粒子(1)释放的Au(或Pt)的阳离子的金属纳米粒子附着于负极活性物质(2)。由于能够将该金属纳米粒子作为金属核容易地形成层状的Li金属,因此能够防止枝晶状的Li金属的形成,很好地抑制电池容量的降低。

标签:
加工技术
其他 - 其他 来源:中冶有色网 2023-03-18
锂二次电池用负电极、制备该负电极的方法、具有该负电极的锂二次电池以及具有该锂二次电池的车辆

一种锂二次电池用负电极(10)包括:负电极集电体(20);以及被支撑在所述负电极集电体(20)上的负电极活性物质层(30),所述负电极活性物质层(30)包括在所述负电极集电体(20)上形成的碳纳米壁(32)和被支撑在所述碳纳米壁(32)上的负电极活性物质(36)。

标签:
加工技术
其他 - 其他 来源:中冶有色网 2023-03-18
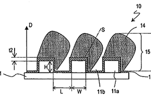
锂二次电池用负极及其制造方法、和具有锂二次电池用负极的锂二次电池

一种锂二次电池用负极(10),具有在表面上具有多个凸部(11a)的 集电体(11)、在集电体(11)上形成的第1活性物质层(12)、和位于 第1活性物质层(12)上并含有多个活性物质粒子(14)的第2活性物质 层(15),多个活性物质粒子(14)各自位于集电体(11)上的对应的凸 部(11a)上,第1活性物质层(12)和多个活性物质粒子(14)分别具有 由SiOx(0<x<1)表示的化学组成。

标签:
加工技术
其他 - 其他 来源:中冶有色网 2023-03-18
锂离子二次电池隔板用基材、锂离子二次电池隔板用基材的制造方法及锂离子二次电池隔板

由本发明提供的锂离子二次电池隔板基材,其特征在于,含有聚对苯二甲酸乙二醇酯纤维而成,聚对苯二甲酸乙二醇酯纤维的平均纤维直径为9.0μm以下,来自聚对苯二甲酸乙二醇酯纤维的比X射线衍射强度为300cps/(g/m2)以上,比X射线衍射强度的变异系数为12.0%以下,制造时的加工性优异,且强度、均匀性、后处理的操作性优异。

标签:
加工技术
其他 - 其他 来源:中冶有色网 2023-03-18
镍复合氢氧化物、镍复合氢氧化物的制造方法、锂离子二次电池用正极活性物质、锂离子二次电池用正极活性物质的制造方法及锂离子二次电池

本发明的目的在于提供作为正极电阻或循环特性优异的锂离子二次电池用正极活性物质的前体的镍复合氢氧化物。以Ni:Co:Mn:M=1‑x1‑y1‑z1:x1:y1:z1(其中,M为选自由Ni、Co、Mn以外的过渡金属元素、第2族元素以及第13族元素组成的组中的至少一种元素,x1为0.15≤x1≤0.25,y1为0.15≤y1≤0.25,z1为0≤z1≤0.1)的原子比包含镍、钴、锰和元素M,从二次粒子的粒子表面朝向粒子内部具有富钴层或富锰层且在二次粒子的中央部与富钴层或富锰层之间具有层状的低密度层,富钴层或富锰层的厚度相对于二次粒子的直径为1%以上10%以下,并且低密度层的厚度相对于二次粒子的直径为1%以上10%以下。

标签:
加工技术
其他 - 其他 来源:中冶有色网 2023-03-18
锂离子电池用封装材料以及使用锂离子电池用封装材料的锂离子电池的制造方法

一种锂离子电池用封装材料,具有基材层、和在所述基材层的一面上依次层叠的第1粘接层、金属箔层、防腐蚀处理层、第2粘接层、以及密封层,并且,在拉伸试验(在23℃、40%RH的环境下,将所述基材层的试样保持24小时后,在23℃、40%RH的环境下,在所述试样的宽度为15mm、标点间距离为50mm、拉伸速度为100mm/分的条件下进行拉伸试验,测定所述试样的拉伸伸长率以及拉伸应力)中,所述试样的MD方向和TD方向中任意一者即第1方向上的拉伸伸长率相对于所述试样的长度为50%以上不足80%,并且,与所述第1方向垂直的第2方向上的拉伸应力为150MPa以上230MPa以下。

标签:
加工技术
其他 - 其他 来源:中冶有色网 2023-03-18
锂二次电池用负极活性材料以及包含其的锂二次电池用负极和锂二次电池

本发明提供一种锂二次电池用负极活性材料,所述负极活性材料包含:第一负极活性材料粒子,所述第一负极活性材料粒子包含人造石墨粒子和碳涂层,所述碳涂层形成在所述人造石墨粒子上;和第二负极活性材料粒子,所述第二负极活性材料粒子包含天然石墨粒子,其中所述第一负极活性材料粒子具有比所述第二负极活性材料粒子的平均粒径(D50)大的平均粒径(D50),并且以70:30至95:5的重量比包含所述第一负极活性材料粒子和所述第二负极活性材料粒子。

标签:
加工技术
其他 - 其他 来源:中冶有色网 2023-03-18
锂二次电池以及锂二次电池用集电箔的制造方法、以及锂二次电池用集电箔

提供一种能够防止活性物质剥离,并且能够防止在电极制造工序中发生集电箔的加工金属粉的锂二次电池的制造方法,具备:电极制造工序,制造正极以及负极;通过隔着隔膜层叠或者回卷所述正极以及负极而形成电极群的工序;以及将所述电极群浸渍到电解液的工序,所述电极制造工序具备:穿孔工序,形成贯通集电箔、并且具有向至少一方的集电箔面侧突出的突出部的多个贯通孔;以及混合剂形成工序,在该被穿孔后的集电箔上形成混合剂层,在所述穿孔工序后不使被穿孔后的所述集电箔上卷而连续进行所述混合剂形成工序。

标签:
加工技术
其他 - 其他 来源:中冶有色网 2023-03-18
通过锂化和脱锂的可调谐铌酸锂谐振器和滤波器

一种表面声波(SAW)装置(100)包括:硅衬底(108);由铌酸锂形成的压电衬底(102);插置在所述硅衬底与所述压电衬底之间的氧化铝层(110);所述压电衬底上的至少一个电极(104、106)。被构造成改变所述压电衬底的充电中心的调谐电路(120)可以包括可调谐电阻器(124)和/或电压源(122)。

标签:
加工技术
其他 - 其他 来源:中冶有色网 2023-03-18
锂离子二次电池用正极用粘合剂、含有该粘合剂的锂离子二次电池用正极、使用了该正极的锂离子二次电池及电气设备

本发明的锂离子二次电池用正极用粘合剂含有乙烯醇与乙烯性不饱和羧酸碱金属中和物的共聚物。

标签:
加工技术
其他 - 其他 来源:中冶有色网 2023-03-18
锂二次电池用正极活性物质前体、锂二次电池用正极活性物质前体的制造方法及锂二次电池用正极活性物质的制造方法

本发明提供一种锂二次电池用正极活性物质前体,其至少含有Ni,BET比表面积S相对于50%累积体积粒度D50之比即S/D50为2×10~20×106m/g,在使用了CuKα射线的粉末X射线衍射测定中,2θ=37.5±1°的范围内的衍射峰的积分强度A相对于2θ=62.8±1°的范围内的衍射峰的积分强度B之比即A/B超过0.80且为1.33以下。

标签:
加工技术
其他 - 其他 来源:中冶有色网 2023-03-18
锂离子电池用带涂层的正电极活性材料颗粒、锂离子电池用正电极、以及锂离子电池用带涂层的正电极活性材料颗粒的制造方法

一种锂离子电池用带涂层的正电极活性材料颗粒包括:正电极活性材料颗粒;以及涂层,其包含聚合物涂层化合物和导电添加剂并且至少部分地覆盖正电极活性材料颗粒的表面,其中,如通过X射线光电子能谱法所确定的涂层对正电极活性材料颗粒的覆盖率为65%至96%。

标签:
加工技术
其他 - 其他 来源:中冶有色网 2023-03-18
锂离子二次电池负极用石墨材料、使用了该石墨材料的锂离子二次电池以及锂离子二次电池用石墨材料的制备方法

一种锂离子二次电池负极用石墨材料。以石墨层扩展与叠层错位之比定义的Lc(112)/Lc(006)在0.08以上0.11以下的范围内。从广角X射线衍射线求出的微晶大小Lc(006)在30nm以上40nm以下,平均粒径在3μm以上20μm以下。

标签:
加工技术
其他 - 其他 来源:中冶有色网 2023-03-18
锂二次电池用负极碳材料及其制造方法、以及锂二次电池用负极和锂二次电池

本发明提供一种锂二次电池用负极碳材料,包括其中在石墨烯层平面中形成孔的石墨类材料。

标签:
加工技术
其他 - 其他 来源:中冶有色网 2023-03-18
锂离子二次电池负极用浆料组合物、锂离子二次电池用负极及其制造方法、以及锂离子二次电池

本发明提供一种锂离子二次电池负极用浆料组合物,其包含负极活性物质、导电材料、水溶性聚合物及粒子状粘合剂,导电材料的量相对于负极活性物质100重量份为0.1重量份~10重量份,水溶性聚合物的1%水溶液粘度为10mPa·s~3,000mPa·s,粒子状粘合剂包含表面酸量为0.01meq/g以上且0.10meq/g以下的粒子状粘合剂A、和表面酸量为0.15meq/g以上且0.5meq/g以下的粒子状粘合剂B。

标签:
加工技术
其他 - 其他 来源:中冶有色网 2023-03-18
锂离子电池电极用粘合剂、锂离子电池负极用糊剂及锂离子电池负极的制备方法

本发明提供一种锂离子电池电极用粘合剂,所述粘合剂包含含有四羧酸残基和二胺残基的聚酰亚胺前体及/或聚酰亚胺,作为四羧酸的残基,含有选自通式(1)及(2)中的四羧酸二酐的残基,作为二胺残基,含有选自通式(3)及(4)中的二胺的残基,且相对于1摩尔二胺残基,酸残基为0.90~0.95摩尔。

标签:
加工技术
其他 - 其他 来源:中冶有色网 2023-03-18
锂离子二次电池多孔膜用浆料及其制造方法、锂离子二次电池用隔板以及锂离子二次电池

本发明提供锂离子二次电池多孔膜用浆料,其包含:非导电性粒子、具有含酸性基团的单体单元的水溶性聚合物、以及粒子状聚合物,所述水溶性聚合物的量相对于所述非导电性粒子100重量份为0.05重量份~2重量份,所述非导电性粒子的BET比表面积为5m2/g~10m2/g。

标签:
加工技术
其他 - 其他 来源:中冶有色网 2023-03-18
锂离子二次电池用负极、锂离子二次电池、锂离子二次电池用负极的制造方法

实施方式所涉及的锂离子二次电池用负极(8)具备集电体(6)和活性物质层(7)。活性物质层(7)配置在集电体(6)上。活性物质层(7)具有多个包含硅的针状体(13)。针状体(13)与集电体(6)熔接。

标签:
加工技术
其他 - 其他 来源:中冶有色网 2023-03-18
用于锂离子二次电池的碳材料、用于锂离子二次电池的负极材料以及锂离子二次电池

本发明公开了用于锂离子二次电池的碳材料,当在以下条件(A)至(E)下通过正电子湮没光谱测量时,其正电子寿命为370皮秒或更长且为480皮秒或更短:(A)正电子辐射源:使用电子加速器由电子-正电子对产生的正电子;(B)γ射线检测器:BaF2闪烁器和光电倍增管;(C)测量温度和气氛:25℃,真空;(D)湮没γ-射线计数:3×106或更大;以及(E)正电子束能量:10keV。

标签:
加工技术
其他 - 其他 来源:中冶有色网 2023-03-18
锂离子电池负极活性材料、锂离子电池负极以及锂离子电池

锂离子电池负极活性材料包含硅、锡及铜锌合金,其中锡实质上为元素状态。

标签:
加工技术
其他 - 其他 来源:中冶有色网 2023-03-18
锂离子二次电池负极用浆料组合物、锂离子二次电池用负极及锂离子二次电池

本发明的目的在于提供可以在抑制伴随充放电的硅类负极活性物质的膨胀及收缩的同时提高电池容量、且涂布性优异的锂离子二次电池负极用浆料组合物。本发明的锂离子二次电池负极用浆料组合物包含:负极活性物质、聚丙烯酸及水,负极活性物质以5~40质量%的比例含有硅类负极活性物质,聚丙烯酸的1质量%水溶液的粘度相对于0.5质量%水溶液的粘度之比为2.0以上。

标签:
加工技术
其他 - 其他 来源:中冶有色网 2023-03-18
复合石墨材料及其制造方法、锂离子二次电池用负极材料、锂离子二次电池用负极和锂离子二次电池

本发明提供一种复合石墨材料及其制造方法、使用该复合石墨材料的锂离子二次电池用负极材料和锂离子二次电池。所述复合石墨材料由如下组分构成:由碳材料和/或低结晶性石墨材料形成的粘合剂A、鳞片状石墨材料B和球状化或近似球状化的石墨材料C,其特征在于,所述鳞片状石墨材料B的至少一部分通过所述粘合剂A突起状地附着在所述石墨材料C上,所述粘合剂A的含量为0.1~20质量%,所述鳞片状石墨材料B的含量在0.05质量%以上、小于30质量%,所述石墨材料C的含量为99.8~50质量%,且所述复合石墨材料不具有破裂面。

标签:
加工技术
其他 - 其他 来源:中冶有色网 2023-03-18
锂离子二次电池用负极材料及其制造方法、锂离子二次电池用负极和锂离子二次电池

本发明的目的在于提供循环特性和安全性优异的锂离子二次电池。本发明是一种锂离子二次电池用负极材料,其包含将含有碳性物质A的第一粒子和含有硅原子的第二粒子使用与所述碳性物质A不同的碳性物质B进行复合化而形成的复合粒子,在观察所述复合粒子的剖面时,从所述复合粒子的外周向内侧直至短轴长度的1/8长度的深度的内侧区域所含的硅原子的含量相对于以长轴的中点为中心、以在所述长轴的中点正交的短轴长度的1/8长度为半径的圆的内部区域所含的硅原子的含量的比率为2以上,其中所述长轴为所述复合粒子的最大长度。

标签:
加工技术
其他 - 其他 来源:中冶有色网 2023-03-18
锂二次电池用正极活性物质前体、锂二次电池用正极活性物质前体的制造方法以及锂二次电池用正极活性物质的制造方法

本发明涉及锂二次电池用正极活性物质前体,其满足要件(1)和(2)。要件(1):在使用了CuKα射线的粉末X射线衍射测定中,存在于衍射角2θ=19.2±1°的范围的峰的积分强度α与存在于2θ=33.5±1°的范围的峰的积分强度β之比即α/β为3.0~5.8。要件(2):由粒度分布测定求出的10%累积体积粒度D10为2μm以下。

标签:
加工技术
其他 - 其他 来源:中冶有色网 2023-03-18
锂二次电池用负极活性材料、其制备方法以及包含其的锂二次电池用负极和锂二次电池

本发明提供一种锂二次电池用负极活性材料,其包含:第一负极活性材料粒子,所述第一负极活性材料粒子包含第一人造石墨粒子和碳涂层,所述碳涂层形成在所述第一人造石墨粒子上并且包含硬碳;和第二负极活性材料粒子,所述第二负极活性材料粒子包含第二人造石墨粒子,其中,所述第一负极活性材料粒子的平均粒径D50与所述第二负极活性材料粒子的平均粒径D50之间的差值为5μm以下,并且在所述碳涂层的差示热重分析中放热峰处的温度在580℃至690℃的范围内。

标签:
加工技术
其他 - 其他 来源:中冶有色网 2023-03-18
负极活性物质及其材料及其制造方法、负极电极、锂离子二次电池及其制造方法

本发明的负极活性物质,其包含负极活性物质颗粒,所述负极活性物质的特征在于:前述负极活性物质颗粒含有由SiOx所构成的硅类材料,并且,0.5≤x≤1.6;在前述硅类材料中,作为化学位移值的-50~-95ppm时所呈现的硅区域的峰值强度值A、与作为化学位移值的-96~-150ppm时所呈现的二氧化硅区域的峰值强度值B,满足A/B≥0.8的关系,并且,所述化学位移值与峰值强度值是由29Si‑固体核磁共振谱图所获得。由此,本发明提供一种负极活性物质,当作为锂离子二次电池的负极活性物质来使用时,可增加电池容量并提高循环特性和初期充放电特性。

标签:
加工技术
其他 - 其他 来源:中冶有色网 2023-03-18
锂离子电池用外包装材料、锂离子电池及锂离子电池的制造方法

本发明的锂离子电池用外包装材料(1),其包括:基材层(10),其通过将多层共挤出膜进行双轴拉伸而成的膜构成,该多层共挤出膜包括具有刚性和耐药品性并配置于外侧的第一热塑性树脂层(11)、具有应力传播性和粘接性的第二热塑性树脂层(12)、和具有韧性的第三热塑性树脂层(13);外侧粘接层(14)及金属箔层(15),其层叠于所述基材层(10)的一个面上;防腐蚀处理层(16),其层叠于所述金属箔层(15)上;内侧粘接层(17),其层叠于所述防腐蚀处理层(16)上;以及密封剂层(18),其层叠于所述内侧粘接层(17)上。

标签:
加工技术
其他 - 其他 来源:中冶有色网 2023-03-18
上一页 418 419 420 421 422 ... 436 下一页
共436页    到第

中冶有色为您提供最新的其他其他有色金属加工技术理论与应用信息,涵盖发明专利、权利要求、说明书、技术领域、背景技术、实用新型内容及具体实施方式等有色技术内容。打造最具专业性的有色金属技术理论与应用平台!

全国热门有色金属设备推荐
展开更多 +
全国热门有色金属技术推荐
展开更多 +

 

江西省隆恩特环保设备有限公司
宣传

报名参会
更多+

报告下载

有色专家
更多+

中南大学
副校长
太原理工大学
院长/教授
长沙矿冶研究院
总经理
湖南有色金属研究院
教授级高工/原总工程师
湖南科技大学
所长/教授
赤泥综合利用研究报告2025
推广

热门技术
更多+

推荐企业
更多+

福建省金龙稀土股份有限公司
宣传

发布

在线客服

公众号

电话

顶部
咨询电话:
010-88793500-807