青岛垚鑫智能科技有限公司
宣传

位置:中冶有色 >

有色技术频道 >

> 加工技术

分类:
全部
矿山技术
冶金技术
材料制备及加工技术
环境保护技术
分析检测技术
 
全部
功能材料技术
复合材料技术
新能源材料技术
合金材料技术
加工技术
地区:
全部
北京
天津
上海
重庆
河北
山西
辽宁
吉林
黑龙江
江苏
浙江
安徽
福建
江西
山东
河南
湖北
湖南
广东
海南
四川
贵州
云南
陕西
甘肃
青海
内蒙
广西
西藏
宁夏
新疆
其他
其他
展开
 
全部
其他

其他其他有色金属加工技术理论与应用

免费发布技术信息>>
锂二次电池正极材料用锂镍锰钴系复合氧化物粉体

一种锂二次电池正极材料用锂过渡金属系化合物粉体,在作为锂二次电池正极材料的使用中,可使低成本化、耐高电压化及高安全化和电池性能的提高两者并存。其特征在于,在水银压入法得到的水银压入曲线中,压力从3.86kPa上升到413MPa时的水银压入量在0.8cm3/g以上、3cm3/g以下。

标签:
加工技术
其他 - 其他 来源:中冶有色网 2023-03-18
锂二次电池用负极及其制造方法以及锂二次电池

本发明提供能够可逆地吸藏和放出锂的锂二次电池用负极(1),其包含集电体(2)和配置在集电体(2)上的负极材料层(3),其中负极材料层(3)含有能够可逆地吸藏和放出锂的薄膜状的负极材料,在负极材料层(3)的表面以及内部之中的至少之一上配置有由锂非吸藏性材料构成的锂非吸藏部(4)。由此提供可以抑制伴随着充放电的变形的锂二次电池用负极。

标签:
加工技术
其他 - 其他 来源:中冶有色网 2023-03-18
从包含锂和至少另一种金属的材料中提取锂的方法

本发明属于从包含锂和至少另一种金属的材料中提取锂的领域。具体地,本发明涉及从包含锂和至少另一种金属的材料中至少提取锂的方法。

标签:
加工技术
其他 - 其他 来源:中冶有色网 2023-03-18
全固态锂离子电池用正极活性物质、电极及全固态锂离子电池

一种全固态锂离子电池用正极活性物质,其是由包含锂金属复合氧化物的晶体的颗粒形成的全固态锂离子电池用正极活性物质,上述颗粒具有归属于空间群R‑3m的六方晶型的层状晶体结构,且至少含有Li和过渡金属,并且,在使用了CuKα射线的粉末X射线衍射测定中,2θ=18.7±1°的范围内的衍射峰处的微晶尺寸L003为以下,所述全固态锂离子电池用正极活性物质的BET比表面积为0.2m2/g以上且2.0m2/g以下。

标签:
加工技术
其他 - 其他 来源:中冶有色网 2023-03-18
用于锂二次电池的负极和包括该负极的锂二次电池以及制备该负极的方法

本发明涉及一种用于二次电池的负极,所述负极包括:负极集电器;形成在所述负极集电器上的负极活性材料层;和锂金属层,其中在所述负极活性材料层和所述锂金属层之间设置有粘合层,且所述锂金属层包括50:50至99:1的重量比的锂和金属氧化物。

标签:
加工技术
其他 - 其他 来源:中冶有色网 2023-03-18
聚合物、含其的用于锂电池的电极、和含该电极的锂电池

本发明涉及聚合物、含其的用于锂电池的电极、和含该电极的锂电池。所述聚合物包括由式1表示的第一重复单元和第二重复单元,所述第二重复单元包括取代或未取代的C2-C30亚烯基,其中,在式1中,基团R、R′、A、A′、Y和Y′定义在说明书中。式1

标签:
加工技术
其他 - 其他 来源:中冶有色网 2023-03-18
用于锂二次电池的非水电解液和含有其的锂二次电池

本发明涉及一种用于锂二次电池的非水电解液以及一种含有所述非水电解液的锂二次电池,所述非水电解液包含具有特定结构的酰胺化合物;可离子化的锂盐;环状硫酸酯化合物;和有机溶剂。本发明的非水电解液具有优异的热稳定性和化学稳定性,优异的高温下充放电性能和优异的高温稳定性,因此可有益地用作锂二次电池的电解液。

标签:
加工技术
其他 - 其他 来源:中冶有色网 2023-03-18
包含β-锂辉石固溶体的铝硅酸锂类型玻璃陶瓷

本发明的主题是一种铝硅酸锂类型的玻璃陶瓷,其包含β-锂辉石固溶体并且在4mm的厚度时具有:-在0.3至2%,特别地0.6至1.7%的范围内的光透射系数,-对于625nm的波长,高于3.0%,特别地高于3.5%的光透射率,-对于950nm的波长,在50至75%范围内的光透射率,-对于1600nm的波长,至少50%的光透射率,和-对于D65光源和在2°的标准观察者的在漫反射中的色坐标L*,a*,b*,使得:15.0≤L*≤40.0,-3.0≤a*≤3.0和-10.0≤b*≤3.0;所述玻璃陶瓷使得它的化学组成包含以下组分,在下面定义的重量范围内改变:SnO20.2-0.6%,特别地0.25-0.5%V2O5?0.015-0.070%,特别地0.015-0.050%Cr2O3?0.01-0.04%或Bi2O3?0.05-3.0%Fe2O3?0.05-< 0.15%As2O3+Sb2O3< 0.1%,特别地< 0.05%。

标签:
加工技术
其他 - 其他 来源:中冶有色网 2023-03-18
可充电锂电池用的电解质以及含该电解质的可充电锂电池

公开了一种用于可充电锂电池的电解质,该电解 质包括非水有机溶剂、锂盐和选自下列式1-6表示的化合物 中的内酰胺基化合物,其中,R为氢基团、C2-C6链烯基团或卤素基团;以及K、T、X、Y和Z相同或不同的代表氢基团或卤素基团。

标签:
加工技术
其他 - 其他 来源:中冶有色网 2023-03-18
用于圆柱形锂可再充电电池的罐和使用该罐的圆柱形锂可再充电电池

本发明提供一种用于圆柱形锂可再充电电池的罐和使用该罐的圆柱形锂可再充电电池。所述电池包括:电极组件,其具有彼此面对的阴极板和阳极板;隔板,其被置于所述阴极板与所述阳极板之间;阴极接线片和阳极接线片,其分别形成于所述阴极板和所述阳极板上;罐,其用于容纳所述电极组件;和盖组件,其用于密封所述罐的上端部分的开口。所述罐具有表面板和下部板,并且在所述下部板上形成有突起,从而在所述阳极接线片被焊接到所述下部板时增大了所述阳极接线片与所述下部板之间的接触电阻。

标签:
加工技术
其他 - 其他 来源:中冶有色网 2023-03-18
电化电池的锂阳极
电化电池的锂阳极 1185     
 0

本发明提供一种用于电化电池的锂负极,其中负 极活性层具有包含金属锂的第一层和这样的多层结构,它包括 单离子导电层和交联聚合物层,并与含有锂金属的第一层接 触,或与中间保护层例如临时保护金属层或含锂第一层表面上 的等离子体CO2处理层接触。本 发明的负极尤其适用于包含含硫正极活性物质例如元素硫的 电化电池中。

标签:
加工技术
其他 - 其他 来源:中冶有色网 2023-03-18
锂二次电池的电解液及含有该电解液的锂二次电池

提供一种锂二次电池的非水电解液。该电解液包 括:锂盐,非水溶剂,以及选自通式(1)~(6)所示的有机化合物, 其中R1~ R12各自独立选自:伯、仲和叔烷 基,烯基,以及芳基;X是氢或卤素;并且n和m分别为0~ 3的数值。

标签:
加工技术
其他 - 其他 来源:中冶有色网 2023-03-18
锂铁磷类复合氧化物碳复合体的制造方法以及含有锂、铁和磷的共沉淀体的制造方法

本发明提供锂铁磷类复合氧化物碳复合体的制造方法,该锂铁磷类复合氧化物碳复合体中的锂铁磷类复合氧化物的Li、Fe和P的组成调整容易,能够得到X射线衍射分析中单相的LiFePO4,能够赋予锂二次电池以优异电池性能。该制造方法包括:第一工序,在含有锂离子和磷酸根离子的溶液(C液)中一边添加含有2价铁离子的溶液(A液),一边添加含有锂离子的溶液(B液),得到含有锂、铁和磷的共沉淀体;第二工序,混合该共沉淀体和导电性碳材料,得到烧制原料混合物;和第三工序,在不活泼性气体氛围中,对该烧制原料混合物进行烧制,得到锂铁磷类复合氧化物碳复合体。本发明还提供含有锂、铁和磷的共沉淀体的制造方法,其与上述第一工序相同。

标签:
加工技术
其他 - 其他 来源:中冶有色网 2023-03-18
用于锂离子二次电池的负极、锂离子二次电池、电力工具、电动车辆、和电力存储系统

本发明提供了一种用于锂离子二次电池的负极、锂离子二次电池、电力工具、电动车辆、以及电力存储系统。该用于锂离子二次电池的负极能够改善循环特性,该电力工具使用所述锂离子二次电池,该电动车辆使用所述锂离子二次电池,并且该电力存储系统使用所述锂离子二次电池。该用于锂离子二次电池的负极包括负极活性物质层,在所述负极活性物质层中分别包含硅(Si)和金属元素作为负极活性物质的第一层和第二层交替层压在负极集电体上,并且满足条件表达式1,表达式1:1.02≤A/B≤50,其中,A表示所述第一层中的负极活性物质中的硅含量比,而B表示所述第二层中的负极活性物质中的硅含量比。

标签:
加工技术
其他 - 其他 来源:中冶有色网 2023-03-18
氮化锂制造装置和氮化锂的制造方法

本发明的氮化锂制造装置(10),其用于通过在氮气环境下加热锂构件(9)使锂构件(9)氮化来制造氮化锂,其中,所述氮化锂制造装置(10)具有:用于进行锂构件(9)的氮化反应的反应槽(1);用于加热锂构件(9)的加热机构(2);用于控制反应槽(1)内的露点的环境控制机构(3);以及用于对反应槽(1)内进行冷却的环境冷却机构(4)。

标签:
加工技术
其他 - 其他 来源:中冶有色网 2023-03-18
用于可再充电锂电池的正极活性物质及其制备方法和包括其的可再充电锂电池

公开了一种用于可再充电锂电池的正极活性物质、制备用于可再充电锂电池的正极活性物质的方法以及包括所述正极活性物质的可再充电锂电池,所述用于可再充电锂电池的正极活性物质包括具有层状晶体结构的镍基锂金属氧化物和选择性地设置在镍基锂金属氧化物的(003)晶面上的包括锂‑金属氧化物的涂层,其中,所述正极活性物质包括至少一种二级粒子,该二级粒子包括两种或更多种初级粒子的聚集体。

标签:
加工技术
其他 - 其他 来源:中冶有色网 2023-03-18
用于锂离子电池的热交联型浆料、电极、隔膜、隔膜/电极积层体以及锂离子电池

本申请提供热交联型锂离子电池用浆料及其制造方法、锂离子电池用电极、锂离子电池用隔膜、锂离子电池用隔膜/电极积层体以及锂离子电池。本申请提供热交联型锂离子电池用浆料,所述热交联型锂离子电池用浆料含有:水溶性聚(甲基)丙烯酰胺(A),相对于结构单元100摩尔%,所述水溶性聚(甲基)丙烯酰胺(A)含有50摩尔%以上的来自于具有N‑无取代或单取代(甲基)丙烯酰胺基的化合物(a)的结构单元;水溶性交联剂(A1),所述水溶性交联剂(A1)含有从由甲醛、乙二醛、六亚甲基四胺、尿素甲醛树脂和羟甲基三聚氰胺树脂组成的组中选择的一种以上;以及水。

标签:
加工技术
其他 - 其他 来源:中冶有色网 2023-03-18
β‑脱锂层状氧化镍电化学活性阴极材料和包含所述材料的电池

本发明涉及电化学活性阴极材料。电化学活性阴极包含β‑脱锂层状氧化镍。所述β‑脱锂层状氧化镍具有X射线衍射图案。β‑脱锂层状氧化镍的X射线衍射图案包括约14.9°2θ‑约16.0°2θ的第一峰;约21.3°2θ‑约22.7°2θ的第二峰;约37.1°2θ‑约37.4°2θ的第三峰;约43.2°2θ‑约44.0°2θ的第四峰;约59.6°2θ‑约60.6°2θ的第五峰;和约65.4°2θ‑约65.9°2θ的第六峰。

标签:
加工技术
其他 - 其他 来源:中冶有色网 2023-03-18
锂二次电池电极、锂二次电池、以及电池系统

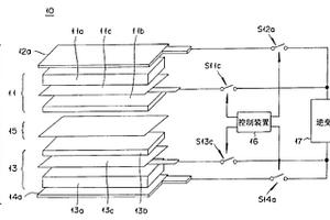
本实用新型提供一种锂二次电池电极,其可以实现高输出化。该锂二次电池电极具有:集电体(12a、14a);活性物质层(11),其形成在集电体的表面上;以及内部集电体(11c),其配置在活性物质层的内部,使锂离子透过。本实用新型还提供了一种锂二次电池和电池系统。

标签:
加工技术
其他 - 其他 来源:中冶有色网 2023-03-18
用于锂金属二次电池组的负极及包含其的锂金属二次电池组

本发明涉及用于锂金属二次电池组的负极及包含其的锂金属二次电池组。本发明提供用于锂金属二次电池组的负极,所述负极包含含有锂的第一电极层和设置在所述第一电极层上并包含无定形碳的第二电极层。所述第二电极层具有的比表面积可以为约1m2/g至约300m2/g。

标签:
加工技术
其他 - 其他 来源:中冶有色网 2023-03-18
用于锂离子二次电池的负极、锂离子二次电池、电动工具、电动车辆、和电力存储系统

本发明提供了一种用于锂离子二次电池的负极、锂离子二次电池、电动工具、电动车辆、以及电力存储系统。该锂离子二次电池具有优异的循环特性。该锂离子二次电池包括正极、负极、和电解液。所述负极具有设置在负极集电体上的负极活性物质层,所述负极活性物质层包括含有硅(Si)作为元素的多个负极活性物质纤维。

标签:
加工技术
其他 - 其他 来源:中冶有色网 2023-03-18
锂离子二次电池用负极及具备该负极的锂离子二次电池

本发明所要解决的问题在于,提供一种锂离子二次电池用负极及具备该锂离子二次电池用负极的锂离子二次电池,其耐久性比以往更提高。为了解决上述问题,本发明是一种锂离子二次电池用负极及具备该锂离子二次电池用负极的锂离子二次电池,所述锂离子二次电池用负极包含负极活性物质,所述负极活性物质化学键合有介电常数比电解液溶剂更大的有机分子。作为优选的有机分子,可以举出:频率10kHz时的相对介电常数为90以上的有机分子、单一分子内或分子间具有极化的分子结构的有机分子、一分子内具有正电荷和负电荷的两性离子化合物、羟基酸、分子量为89~616的有机分子。

标签:
加工技术
其他 - 其他 来源:中冶有色网 2023-03-18
锂离子电池用电极活性物质成型体的制造方法和锂离子电池的制造方法

本发明提供适合能够抑制制造所花费的时间、劳力、设备等的锂离子电池的制造的锂离子电池用电极活性物质成型体的制造方法和使用了上述方法的锂离子电池的制造方法。一种锂离子电池用电极组合物成型体的制造方法,其特征在于,该制造方法包括下述成型工序:将包含锂离子电池用电极活性物质和电解液的组合物成型,得到作为锂离子电池用电极活性物质的非粘结体的锂离子电池用电极活性物质成型体,以上述组合物的重量为基准,上述组合物的电解液含量为0.1~40重量%。

标签:
加工技术
其他 - 其他 来源:中冶有色网 2023-03-18
锂离子蓄电装置的制造方法和锂离子蓄电装置

本发明的课题为提供一种通过安全且简便的预掺杂操作,从而制造高容量的锂离子蓄电装置的方法。本发明的解决方法为:提供一种锂离子蓄电装置的制造方法,所述锂离子蓄电装置通过层叠多层正极和负极而成,且正极所使用的活性物质为基于元素分析的硫的总含量为50质量%以上的硫系活性物质,其特征在于,包含下述工序:在正极和负极上形成贯通其厚度方向的通孔的工序;层叠正极和负极,并在其层叠方向的至少一侧上配置锂离子供给源的工序;在负极或正极上负载来自于所述锂离子供给源的锂的工序。

标签:
加工技术
其他 - 其他 来源:中冶有色网 2023-03-18
具三维结构的锂电池黏着剂及含其的锂电池负极材料

本发明提供具三维结构的锂电池黏着剂及含其的锂电池负极材料,前述黏着剂包含共轭物。前述共轭物包含:甲壳素基团;聚合物基团,其具至少一选自下列群组的官能基:羟基(‑OH)、羧基(‑COOH)、及胺基(‑NH2);具醛基(‑CHO)及/或胺基(‑NH2)的基团。本发明的黏着剂是将共轭物构成的三维网状结构用于锂电池负极材料,克服现有负极材料的缺点。

标签:
加工技术
其他 - 其他 来源:中冶有色网 2023-03-18
复合石墨颗粒及其制造方法、使用其的锂离子二次电池的负极材料和锂离子二次电池

本申请提供一种不但可以高度地实现以往由于 二律相悖难以实现的高初期充放电效率和大放电容量这两种 性能,而且还兼具优良的急速放电特性和循环特性的锂离子二 次电池及其组成材料。具体地,本申请提供如下的一种复合石 墨颗粒及其制造方法、及其使用其的锂离子二次电池的负极材 料和锂离子二次电池,该复合石墨颗粒在X射线衍射的晶面间 距d002小于0.337nm的石墨的至 少一部分表面上,具有结晶性低于该石墨的碳材料,该复合石 墨颗粒的纵横比在3以下,该复合石墨颗粒的0.5~20质量% 为该碳材料,该复合石墨颗粒的拉曼光谱中, 1360cm-1的峰值强度 (I1360)相对于 1580cm-1的峰值强度 (I1580)之比 (I1580/I1360)在0.1以上且小于0.3。

标签:
加工技术
其他 - 其他 来源:中冶有色网 2023-03-18
用于锂电池的电解液及包含它的锂电池

一种用于锂电池的电解液,其包括非水有机溶 剂,锂盐,及添加剂,其中该添加剂包括a)砜基化合物,及b)C3-C30有机过氧化物或偶氮基化合物。所述电解液还包括聚(酯)(甲基)丙烯酸酯或源自至少具有三个羟基(-OH)的(聚酯)多元醇的聚合物,其中所述羟基部分或全部被(甲基)丙烯酸酯所取代,余下的未被(甲基)丙烯酸酯取代的羟基被不具有自由基反应活性的基团所取代。包含本发明的电解液的锂电池,具有显著改善的充电-放电和循环寿命特性,高温恢复容量比,及膨胀抑制性能。

标签:
加工技术
其他 - 其他 来源:中冶有色网 2023-03-18
固体电解质用组合物、固体电解质、锂离子二次电池及锂离子二次电池的制造方法

提供低温下的锂离子传导性以及强度良好的固体电解质用组合物以及固体电解质。此外,提供低温下的充放电性能以及固体电解质层的强度提高的锂离子二次电池以及锂离子二次电池的制造方法。固体电解质的基质具有在高支链聚合物与交联性氧化乙烯多元共聚物化学交联而成的共交联体中保持有非反应性聚亚烷基二醇的微结构。基质中溶解有锂盐。负极活性物质层为在锂离子传导性的固体电解质中分散负极活性物质和导电助剂而成的层。正极活性物质层为在锂离子传导性的固体电解质中分散正极活性物质和导电助剂而成的层。

标签:
加工技术
其他 - 其他 来源:中冶有色网 2023-03-18
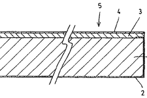
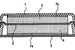
锂二次电池的负极组成材料及锂二次电池

本发明提供锂二次电池的负极组成材料,其通过抑制充/放电期间因金属锂与有机电解液的反应而出现的枝晶生长,来提高电池的循环性能。本发明还提供锂二次电池负极组成材料(5)的衬底,其中金属锂薄膜(3)形成于衬底的顶部,且在金属锂薄膜上形成无机固体电解质膜(4),所述衬底由电绝缘体制得,这种电绝缘体可以是聚乙烯膜(1)。也可以使用在金属基材与所述金属锂薄膜之间的界面上提供电绝缘体层的结构作为衬底。

标签:
加工技术
其他 - 其他 来源:中冶有色网 2023-03-18
耐锂还原层的形成用组合物、成膜方法及锂二次电池

本发明提供耐锂还原层的形成用组合物、成膜方法及锂二次电池。耐锂还原层形成用组合物能够形成具有优良的Li离子传导性以及耐Li还原性的耐锂还原层,耐锂还原层的成膜方法使用了该耐锂还原层形成用组合物,锂二次电池包括该耐锂还原层。本发明的耐锂还原层形成用组合物含有溶剂、以及相对于所述溶剂分别表现出溶解性的锂化合物、镧化合物、锆化合物、和具备金属M的化合物,相对于由通式(I)表示的化合物中的化学计量组成,包含1.05倍以上2.50倍以下的锂化合物、包含0.70倍以上1.00倍以下的镧化合物和锆化合物、以及包含等倍的具备金属M的化合物,其中,Li7-xLa3(Zr2-x,Mx)O12···(I)。

标签:
加工技术
其他 - 其他 来源:中冶有色网 2023-03-18
上一页 409 410 411 412 413 ... 436 下一页
共436页    到第

中冶有色为您提供最新的其他其他有色金属加工技术理论与应用信息,涵盖发明专利、权利要求、说明书、技术领域、背景技术、实用新型内容及具体实施方式等有色技术内容。打造最具专业性的有色金属技术理论与应用平台!

全国热门有色金属设备推荐
展开更多 +
全国热门有色金属技术推荐
展开更多 +

 

江西省隆恩特环保设备有限公司
宣传

报名参会
更多+

报告下载

有色专家
更多+

中南大学
中国工程院院士
郑州大学
校长/党委书记
昆明理工大学
校长
广东省科学院工业分析检测中心
副主任
长沙矿冶院检测技术有限责任公司
总经理
赤泥综合利用研究报告2025
推广

热门技术
更多+

推荐企业
更多+

福建省金龙稀土股份有限公司
宣传

发布

在线客服

公众号

电话

顶部
咨询电话:
010-88793500-807