青岛垚鑫智能科技有限公司
宣传

位置:中冶有色 >

有色技术频道 >

> 固/危废处置技术

分类:
全部
矿山技术
冶金技术
材料制备及加工技术
环境保护技术
分析检测技术
 
全部
废水处理技术
大气治理技术
固/危废处置技术
土壤修复技术
地区:
全部
北京
天津
上海
重庆
河北
山西
辽宁
吉林
黑龙江
江苏
浙江
安徽
福建
江西
山东
河南
湖北
湖南
广东
海南
四川
贵州
云南
陕西
甘肃
青海
内蒙
广西
西藏
宁夏
新疆
其他
其他
展开
 
全部
合肥
芜湖
蚌埠
淮南
马鞍山
淮北
铜陵
安庆
黄山
阜阳
宿州
滁州
六安
宣城
池州
亳州

安徽合肥有色金属固/危废处置技术理论与应用

免费发布技术信息>>
具有均匀布料功能的煤基固废灌注用粉碎装置

本发明涉及煤基固废灌注技术领域,具体的是一种具有均匀布料功能的煤基固废灌注用粉碎装置,本发明包括自下至上依次设置的底座、分流架、粉碎架和导流架,所述分流架内壁的底部固定连接有分流锥,所述分流架内壁的底部且位于所述分流锥的四周呈环形阵列设置有多个下料孔,所述分流锥的底部开设有安装槽,所述安装槽内壁的顶部固定安装有第一电机,通过设置粉碎架对通过导流架所输入到煤基固废进行粉碎,粉碎后的物料会落入到分流架的内部,通过筛选板的转动,使得煤基固废可以依次从不同的下料孔中落入到不同的输料斗中,再通过输料管输送至不同的位置进行布料,使得经过粉碎的煤基固废可以均匀分布到不同的位置进行灌注。

标签:
固废
安徽 - 合肥 来源:中冶有色网 2023-03-19
固废再生硫氧镁复合材料及其制备方法

本发明公开了一种固废再生硫氧镁复合材料及其制备方法,涉及建筑材料技术领域。本发明的固废再生硫氧镁复合材料,包括氧化镁20‑60份,硫酸镁10‑50份,固废再生料10‑40份,增强纤维5‑20份,外加剂0.5‑3份;卤水采用硫酸镁溶液;外加剂包括高分子复合蛋白发泡剂、多种复合酸改性剂;固废再生料为细度400目以下的建筑材料再生料,增强纤维包括玄武岩纤维、玻璃纤维和植物纤维。本发明通过将固废再生料与氧化镁、硫酸镁、增强纤维以及外加剂相结合,并通过预制模具中进行成型,具有良好的动态强度和静态强度以及防火阻燃、潮防霉以及隔热隔音的优点,有利于市场推广和应用,节约了资源,保护了环境。

标签:
固废
安徽 - 合肥 来源:中冶有色网 2023-03-19
可粉碎固体杂质的建筑工程用废水处理装置

本实用新型公开了一种可粉碎固体杂质的建筑工程用废水处理装置,包括罐体和过滤筒,过滤筒的底端固定设有导流罩,导流罩的底端固定设有排污管,排污管通过轴承与罐体的底端转动连接,过滤筒内部的底端固定设有过滤板,罐体一侧的顶部设有驱动组件,罐体顶端的中部通过轴承转动连接有粉碎轴,粉碎轴的表面固定设有若干个安装环,本实用新型的有益效果是:通过设置的驱动组件便于带动过滤筒进行转动,从而使过滤筒内部的污水产生离心力,在过滤筒的的作用下对污水进行过滤;通过设置的粉碎电机能够带动粉碎轴表面的粉碎刀片进行转动对污水中的杂质进行粉碎,并且通过设置的过滤板能够对粉碎的杂质进行过滤,反复对杂质进行粉碎。

标签:
固废
安徽 - 合肥 来源:中冶有色网 2023-03-19
生产固体废弃物粉碎设备

本实用新型公开了一种生产固体废弃物粉碎设备,包括机壳、导流装置、粉碎装置及循环上料装置;所述导流装置设置在粉碎装置的上方;所述机壳的内部分别设置有粉碎装置及循环上料装置,所述循环上料装置用于将粉碎装置粉碎后的物料输送到粉碎装置内,本实用新型,由粉碎装置、循环上料装置及动力组件的配合实现多次多级粉碎,避免传统粉碎设备需要设置多个粉碎装置来实现多级粉碎,本实用新型,结构简单、造价低廉且适于大批量使用。

标签:
固废
安徽 - 合肥 来源:中冶有色网 2023-03-19
工业固体废弃物回收再利用处理系统

本发明涉及一种工业固体废弃物回收再利用处理系统,包括底板、切割架、切割机构、承托立板、承托卡架、调节螺栓和定位机构,所述的底板的外端顶部上安装有切割架,切割机构安装在切割架上,底板的顶部左右两端均安装有一个承托立板,承托立板的内端上设置有方槽,承托卡架的外端通过滑动配合的方式连接在方槽内,承托卡架的内端前后两侧均安装有一个定位机构。本发明可以解决现有保温管进行回收时存在的:保温管的锁定效果差,使得保温管进行切割动作时发生转动,造成岩棉层的切割效果差,从而影响岩棉层的回收,且切割机对保温管进行切割时会损坏钢管;岩棉层的切割不彻底,需要人工利用刀具将其进行完全切割等问题。

标签:
固废
安徽 - 合肥 来源:中冶有色网 2023-03-19
用于固体废弃物自动分类回收系统

本发明提供了用于固体废弃物自动分类回收系统,包括箱体、推动装置、切换装置、复位装置,所述的箱体设置于地底,箱体为一端开口、另一端封闭的矩形筒体结构,且箱体的开口端与地面平齐,并且箱体的开口端匹配设置有箱盖,箱体内还设置有不可回收垃圾桶、可回收垃圾桶,所述的推动装置用于将垃圾推入不可回收垃圾桶/可回收垃圾桶,所述的切换装置用于改变推动装置对垃圾的推动方向,所述的复位装置用于使切换装置恢复至初始状态,所述的复位装置包括复位机构、连动机构,所述的复位机构用于使切换装置恢复至初始状态,所述的连动机构用于为复位机构提供复位动力。

标签:
固废
安徽 - 合肥 来源:中冶有色网 2023-03-19
固体废物资源化装置
固体废物资源化装置 1023     
 0

本实用新型公开了一种固体废物资源化装置,包括处理室,处理室的顶部固定连通有料斗,料斗两侧的内壁均设置有调节机构,调节机构由隔板、滑轨、滑座和螺纹杆组成,处理室的内部设置有粉碎机构,粉碎机构由一个防护箱、两个转轴、两个粉碎辊、两个齿轮和一个电机组成,转轴固定安装在处理室的右侧面。本实用新型通过电机带动转轴和粉碎辊转动能够对颗粒较大的高炉渣进行粉碎,从而使高炉渣施于农田后便于农作物吸收,并且能够避免大颗粒的高炉渣影响农田的耕作,通过转动螺纹杆能够调节隔板的角度,从而能够调整两个隔板之间的距离,进而控制高炉渣粉碎时进料量,从而避免进料过多或过少影响该装置的使用,提高了该装置的实用性。

标签:
固废
安徽 - 合肥 来源:中冶有色网 2023-03-19
用固体废弃物生产的建材系列产品

本发明涉及一种用固体废弃物生产的建材系列产品,由下述重量配比的原料和方法制成的:陶瓷、玻璃10-20份,彩色颜料5-10份,助剂、增强剂5-10份,炉渣、矿渣30-45份,建筑垃圾5-15份,将此配比中的建筑垃圾通过粉碎机进行粉碎,再将各组材料混入搅拌机中进行搅拌,然后放入所需形状的模具中压制,待产品养护48小时后,即可脱模使用。

标签:
固废
安徽 - 合肥 来源:中冶有色网 2023-03-19
用于处理危险固体废物的真空碳化裂解炉

本实用新型公开了一种用于处理危险固体废物的真空碳化裂解炉,本实用新型包括固定座,固定座上设置有加热炉,加热炉连接在裂解炉底端,裂解炉内壁均匀分布有加强筋,加强筋外侧安装有温度检测器,裂解炉顶端连接有排气管,排气管一端通过弯管接头与裂解炉相连,弯管接头边侧对称开设有安装槽口,安装槽口之间放置有滤毒盒,滤毒盒两端焊接有与安装槽口对应的卡块,卡块一端穿设有定位销轴;本实用新型通过设置的加强筋和泄压阀,裂解炉内壁分布加强筋,提高炉体的抗压性能,利用压力检测仪检测裂解炉内部的压力变化,当裂解产生的压力大于规定值时,通过泄压阀平衡其内部压力,操作便捷,安全稳定。

标签:
固废
安徽 - 合肥 来源:中冶有色网 2023-03-19
固体废弃物碾压装置
固体废弃物碾压装置 830     
 0

本实用新型公开了一种固体废弃物碾压装置,碾压机构包括壳体、第一碾压辊、第二碾压辊、减速电机和传动装置;壳体的顶部具有入料口;第一碾压辊和第二碾压辊通过传动装置传动连接;压实机构包括箱体、第一液压缸、第二液压缸、第一压板和第二压板;呈长方体状的箱体固定在壳体底部且与其相连通;箱体沿长度方向的一侧具有纵向的出料口;第一液压缸和第二液压缸的缸体分别固定在箱体沿宽度方向的相对两侧,并且第一液压缸和第二液压缸的伸缩杆分别延伸到箱体内部;第一压板和第二压板分别与第一液压缸和第二液压缸的伸缩杆固定连接。本实用新型兼碾压和压实功能,减少占用空间,便于后续运输及回收处理。

标签:
固废
安徽 - 合肥 来源:中冶有色网 2023-03-19
关于秸秆固体废物的处理装置

本实用新型涉及一种关于秸秆固体废物的处理装置,包括由内外两层钢板构成的壳体、设置在内外两层钢板之间的支撑架以及贯穿到壳体内部空腔的通气孔和导线通孔,通气孔设有阀门,壳体设有封闭门,封闭门将壳体内部空腔与外界隔绝开来,在壳体内部空腔设有保温层,保温箱层远离内层钢板一侧设有挂钩,挂钩上悬挂电阻丝,外部导线穿过导线通孔与电阻丝连接。本实用新型具有适用范围广、产出物丰富及转化率高的特点。

标签:
固废
安徽 - 合肥 来源:中冶有色网 2023-03-19
多相固体废弃物处理方法

本发明提出了一种多相固体废弃物处理方法;包括以下步骤多相预混处理,将污泥、固相餐厨垃圾、秸秆材料按照一定比例混合并破碎搅拌,并在搅拌过程中加入调理剂,静置得到预混料;经压滤脱水:将预混料进行压滤,得到半干泥饼;再经物料干化:将半干泥饼破碎后输送至干化炉内,得到干化泥饼;最后通过热解炭化:将干化泥饼送入造粒机进行造粒,并送入热解炭化系统中进行炭化处理,得到炭化产物;膨润土的加入可以增加污泥造粒后的粘结度,防止炭化后污泥颗粒破碎,采用的少量碳酸氢铵既可起到发泡的作用也可将热解产生的氨气存储在尾气处理系统中以待将产生的硫氮化物固着资源化,也可减少尾气处理系统中的物料消耗。

标签:
固废
安徽 - 合肥 来源:中冶有色网 2023-03-19
农作物有机固体废物的压实装置

本实用新型涉及一种农作物有机固体废物的压实装置,包括底座、挡板、压缩管、压缩板、压缩杆和电机,其特征在于:所述压缩管为截面为正六边形的长管,压缩管一端设有卡槽,卡槽内可以安放挡板,压缩管的另一端设有压缩板,压缩板连接有压缩杆,压缩杆设有齿轮槽;所述电机传动轴设有齿轮,齿轮与压缩杆上的齿轮槽连接。本发明具有结构简单,稳定性高的特点,同时本发明压缩后的秸秆强度较高,不易分散,便于搬运和后期储藏。

标签:
固废
安徽 - 合肥 来源:中冶有色网 2023-03-19
多功能固体废物综合利用处置设备

本申请提供了一种多功能固体废物综合利用处置设备,包括:压缩箱体;压缩组件,可拆卸的安装在压缩箱体上表面;推送组件,可拆卸的安装在压缩箱体的一端;限位组件,可拆卸的安装在压缩箱体内下表面;其中,所述限位组件包括底板,所述底板的内部开设有凹槽,所述凹槽内部安装有缓冲组件;所述推送组件包括气缸组件,所述气缸组件内部贯穿有传动轴,涉及垃圾处理技术领域,其中,本发明中压缩箱体内设有底板,并且底板的内部开设有凹槽,这样上方挡板与凹槽相互插接,这样压缩组件在压缩垃圾时产生的挤压力传递到挡板表端时,在凹槽与上方支撑块的共同作用下可以对挡板起到限位的作用,避免了挡板出现变形偏移的问题发生。

标签:
固废
安徽 - 合肥 来源:中冶有色网 2023-03-19
废纸复合固体脱墨剂
废纸复合固体脱墨剂 1118     
 0

本发明公开了一种废纸复合固体脱墨剂,由以下重量份的原料组成:聚氧乙烯壬基苯醚18‑22份、皂基脂肪酸钠2‑4份、硬脂酸铬0.6‑1.4份、二巯基丙烷磺酸钠0.8‑1.2份、剥离剂2‑3份、高岭土25‑30份、钙基膨润土18‑22份、水13‑15份;该脱墨剂的具体制备方法是将上述所有原料充分混合后,加热至80‑90℃后搅拌13‑15min,再用三乙醇胺调节pH值至10‑11,常温静置20‑24h,最后放入真空冷冻干燥机进行干燥处理,干燥后粉碎成粒径为2‑3mm的固体颗粒即得。本发明固体形式容易储存和运输,且脱墨效果好,无二次污染,具有节能环保等优点。

标签:
固废
安徽 - 合肥 来源:中冶有色网 2023-03-19
固体废物降解设备
固体废物降解设备 972     
 0

本实用新型公开了一种固体废物降解设备,包括箱体、观测件、加热件、气体收集装置、液体收集装置、活动连接组件及固体收集装置;所述加热件均匀分布在箱体的内部,且加热件与外部电源电性连接;所述气体收集装置与箱体的内部连通;所述固体收集装置通过活动连接组件活动安装在箱体内,所述固体收集装置沿箱体的纵向运动;所述观测件的一端固定在固体收集装置的顶部,所述观测件的另一端穿出箱体;所述箱体的侧面上开设有取放口,且取放口上安装有密封门,本实用新型,资源利用率高,且可随时观测降解进程,方便工作人员的工作。

标签:
固废
安徽 - 合肥 来源:中冶有色网 2023-03-19
具有预选机构的固体废弃物处理设备

本实用新型涉及一种具有预选机构的固体废弃物处理设备,包括底座以及预选箱,所述底座上表面两侧均固定连接有支撑板,所述预选箱转动连接在支撑板之间,所述预选箱呈圆柱形结构,所述预选箱内转动连接有筛分机构,所述筛分机构包括六爪筛分旋转板以及单向预选细小固体的筛分网。本实用新型通过筛分网能预选出细小颗粒的固体,且筛分网单向进行筛分,能避免穿过筛分网的固体再次汇入大颗粒固体中,限位筛分板能将大颗粒固定预选筛分出来,完成对大颗粒和小颗粒固定的自动预选筛分,降低劳动强度,且六爪筛分旋转板设置,加快细小颗粒暴露出来的速度,从而能快速的使细小颗粒穿过筛分网,快速的完成粗细不同固定的预选,提升工作效率。

标签:
固废
安徽 - 合肥 来源:中冶有色网 2023-03-19
用于处理含CO2工业废气的改性固体胺吸附剂及其制备方法

本发明公开了一种用于处理含CO2工业废气的改性固体胺吸附剂及其制备方法,包括以下步骤:S1、将多孔载体、纳米纤维溶于过量的第一有机溶剂中,搅拌均匀,得到混合液;S2、将所述混合液置于70‑100℃的烘箱内干燥,得到改性多孔材料;S3、将所述改性多孔材料与聚乙烯亚胺溶于过量的第二有机溶剂中,在50~65℃条件下持续搅拌,经过蒸发、真空干燥即得改性固体胺吸附剂。降低固体胺吸附剂的破碎磨损现象,实现长期连续稳定运行。

标签:
固废
安徽 - 合肥 来源:中冶有色网 2023-03-19
带有筛分机构的建筑固体废弃物处理装置

本实用新型涉及带有筛分机构的建筑固体废弃物处理装置,包括处理箱以及筛选箱,所述处理箱顶端固定连接有供固体进料的进料口,所述进料口底端与筛选箱相通,所述进料口内设置有破碎固体的破碎机,所述筛选箱前后摆动并左右移动式设置在处理箱内,所述筛选箱底端设置有过滤细小颗粒固体的筛网,所述筛选箱内交错转动设置有粉碎固体的粉碎机构。本实用新型通过粉碎机构能对固体进行翻料,使得细小颗粒暴露出来,便于细小颗粒从筛网处掉落,将细小颗粒筛选出来,并且筛选箱在处理箱内处于左右移动的状态,同时筛选箱也处于转动的状态,使得筛选箱一直处于前后摆动并左右平移的状态下,能更加快速的将细小颗粒固体筛选出,提升筛选效率。

标签:
固废
安徽 - 合肥 来源:中冶有色网 2023-03-19
具有多级破碎单元的固体废弃物回收利用设备

本实用新型涉及具有多级破碎单元的固体废弃物回收利用设备,包括处理箱和破碎箱,所述破碎箱固定连接在处理箱顶端一侧,所述破碎箱内两侧转动连接有相互啮合破碎物体的第一破碎机构,所述第一破碎机构下方与破碎箱之间设置有破碎物体的第二破碎机构。本实用新型通过第一破碎机构、第二破碎机构和粉碎机构的设置,能对固体进行多级粉碎式切割处理,并且粉碎机构能输送运输固体,能对固体进行反复的运输切割,极大地提升对固体的粉碎效果,且粉碎后的固体会通过滤料机构下落,便于对粉碎处理后的固体进行收集回收,不仅提升对固体的粉碎效果,而且能满足固体的回收条件,以防造成资源的浪费。

标签:
固废
安徽 - 合肥 来源:中冶有色网 2023-03-19
农作物有机固体废物脱水装置

本实用新型公开了一种农作物有机固体废物脱水装置,包括壳体,壳体两端设有轴承一,两个轴承一中部贯穿一空心轴,空心轴一端设有电机一,另一端设有与空心轴内部连通的进料口二,空心轴中部套设有转筒,转筒内壁设有滤网,转筒两端与空心轴连接处设有轴承二,转筒内部的空心轴上套设有螺旋输送器,该螺旋输送器的表面设有螺旋输送扇叶和进料口一,进料口一通过螺旋输送器内部的空腔与空心轴内部连通,转筒外壁一端设有液体出口,另一端设有固体出口,固体出口和液体出口下方分别设有固体收集槽和液体收集槽,转筒下方设有电机二,电机二通过传动皮带与转筒连接,并驱动转筒转动。

标签:
固废
安徽 - 合肥 来源:中冶有色网 2023-03-19
利用建筑固体废弃物生产的砌筑砂浆

本发明公开了一种利用建筑固体废弃物生产的砌筑砂浆,它是由下述重量份的原料组成的:水泥150-200、建筑固体废弃物900-1200、玻化微珠20-30、石灰石30-40、贝壳粉10-20、七水硫酸镁2-3、可再分散乳胶粉5-10、聚四氟乙烯纤维2-3、三辛酸丁基锡0.8-1、磷酸钙2-3、石墨粉4-6、纳米碳粉1-2、磷酸二氢铝1-2、三乙醇胺油酸皂0.8-1、氮化铝粉2-4,本发明的砌筑砂浆成本低廉,在施工作业时只需按要求量加水搅拌均匀即可使用,材料损耗、浪费少,具有粘结强度高、干缩率低和抗冻耐久性好、导热率低、保温性好、和易性好、环保无毒。

标签:
固废
安徽 - 合肥 来源:中冶有色网 2023-03-19
固体废料再生混凝土的生产设备

本发明公开了一种固体废料再生混凝土的生产设备,属于再生骨料混凝土生产技术领域。一种固体废料再生混凝土的生产设备,包括壳体,壳体的顶部连接有进料口,壳体的底部通过支架连接有固定座,固定座的顶部开设有凹槽,凹槽的底部内壁滑动连接有集料箱,集料箱的顶部开口,且开口正对壳体的底部外壁,壳体的底部外壁开设有均匀分布的筛孔,壳体的内部连接有两个横向对称设置的螺旋推进杆,螺旋推进杆的一端贯穿壳体的内壁向外延伸,且延伸端固定连接有从动齿轮,螺旋推进杆的另一端连接有隔仓板,从动齿轮之间转动连接有主动齿轮;本发明结构简单,出料稳定,原料粉碎效率高,且工作稳定,同时实现了粗骨料和细骨料的预分离功能。

标签:
固废
安徽 - 合肥 来源:中冶有色网 2023-03-19
从食用油厂固体废弃物硅藻土中提取油脂的生产方法

本发明涉及一种从食用油厂固体废弃物硅藻土中提取油脂的生产方法,包括以下步骤:将废硅藻土进行压榨得到压榨毛油和硅藻土饼,将硅藻土饼粉碎成硅藻土颗粒,使用提油后的硅藻土粉末作为粘结剂与硅藻土颗粒进行造粒;将造粒后的硅藻土颗粒放入浸出器,加入正己烷溶剂浸泡;浸泡后,吸取上层混合油进入蒸发器,循环蒸发,使浸出毛油中正己烷溶剂含量小于50ppm;残留在浸出器内的硅藻土颗粒中含有部分正己烷溶剂,由浸出器底部加入直接蒸汽,进行蒸煮,得到硅藻土粉末。本发明使得废硅藻土中的油脂得到充分回收,减少了环境污染,提高了资源利用率,又可获得可观的经济效益,工艺简单,设备投入少,操作容易,安全可靠。

标签:
固废
安徽 - 合肥 来源:中冶有色网 2023-03-19
建筑固体废弃物筛除装置

建筑固体废弃物筛除装置,包括电机和底座,所述底座内部中心固定有所述电机,所述底座顶面十字分布垂直固定有四个支撑架,所述支撑架横向架底侧固定有滑轮,所述支撑架之间连接有顶撑板,所述顶撑板顶面固定有气动杆,所述气动杆贯穿所述顶撑板连接有平磨板,所述平磨板顶面和所述底座顶面之间通过滑轮转向连接有拉绳,所述电机贯穿至所述底座顶面连接有转柱,所述转柱顶部设置有具有分筛功能的磨筛机构,所述平磨板插接于所述磨筛机构内侧。本实用新型通过将建筑固体废弃物放入具有分筛功能的磨筛机构内部,并配合平磨板的下压,在磨筛机构的转动滚压作用下,有效对建筑固体进行粉碎并进行分导筛出,提高了粉碎筛除效率。

标签:
固废
安徽 - 合肥 来源:中冶有色网 2023-03-19
城市固体废物消解环保设备

本发明提供一种城市固体废物消解环保设备,包括环保处理箱、物料分装箱和伺服电机,所述伺服电机的驱动端贯穿处理箱的顶部延伸至其内部并固定连接有传动中心杆,所述传动中心杆远离传动中心杆的一端固定连接有传动曲柄,所述传动曲柄远离传动中心杆的一端转动连接有传动摇杆。该设备可使得消解液和固体废物进行充分的接触,进而提高处理效果。

标签:
固废
安徽 - 合肥 来源:中冶有色网 2023-03-19
综合利用固体废弃物的复合透水地砖

本发明公开了一种综合利用固体废弃物的复合透水地砖,由下列重量份的原料制成:沙漠砂50-53、热塑性酚醛树脂4-5、乌洛托品0.6-0.7、硬脂酸钙0.2-0.22、水适量、标号为42.5的硅酸盐水泥42-45、粉煤灰5-6、水性环氧树脂乳液3-4、三氟化硼1.8-2、回收塑料粉5-6、高炉矿渣粉40-45、浮石8-10、硅烷偶联剂kh5500.8-1、废弃镁炭砖20-30、热电厂煤渣80-88、聚萘甲醛磺酸钠盐0.2-0.3。本发明在表层材料的制备中添加了回收塑料粉,提高了砖体的韧性以及强度,添加浮石增强了砖体的孔隙率,提高了透水系数;本发明产品不仅强度高,而且废物利用,降低了生产成本。

标签:
固废
安徽 - 合肥 来源:中冶有色网 2023-03-19
固体废弃物综合环保预处理回收装置

本发明公开了一种固体废弃物综合环保预处理回收装置,包括装置本体、进料斗、排泄口、集水盘和引流管,所述装置本体的上端安装有进料斗,且进料斗的下端连接有阻挡板,并且阻挡板的端部安装有涡旋弹簧,所述固定柱的下端安装有输气管,且输气管的下端固定安装在气囊球上,所述扇叶的中部贯穿安装有中心杆,且中心杆的内端安装有衔接块,且齿圈位于移动架的边侧内部,所述左挤压板的内端安装有圆盘。该固体废弃物综合环保预处理回收装置,能够提高对固体垃圾的挤压除水效果,方便将海绵和布料等垃圾中的液体挤出,同时能够避免垃圾附着在装置的内部,且可对异味起到一定的阻挡作用。

标签:
固废
安徽 - 合肥 来源:中冶有色网 2023-03-19
固体废弃物可回收处理装置及其处理方法

本发明涉及回收处理技术领域,涉及一种固体废弃物可回收处理装置及其处理方法,该装置的装置本体内设有圆腔,圆腔开口处设有进料斗;圆腔内设有同轴的转杆,转杆由电机驱动转动;转杆径向设有多组搅拌叶,搅拌叶位于圆腔内;圆腔腔底设有多个筛孔,筛孔与下方的第一接料槽对应;任一搅拌叶内均设有安装腔,安装腔内设有铁心,铁心上缠绕有线圈,线圈的两端均轴向穿过转杆后分别与第一触头和第二触头对应连接,第一触头可活动地卡在一导电环内,第二触头可活动地卡在导电块内,导电块位于导电环的环心处,导电环和导电块通过导线分别与外部电源的正负极连接。本发明能有效地将固体废弃物进行大小、磁性筛选后回收。

标签:
固废
安徽 - 合肥 来源:中冶有色网 2023-03-19
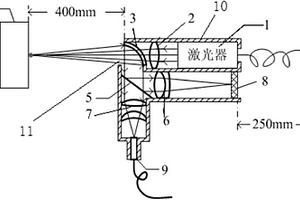
基于激光诱导击穿光谱手持式固体废弃物重金属探测探头

本发明公开了一种基于激光诱导击穿光谱手持式固体废弃物重金属探测探头,包括有壳体,在壳体的右端安装有激光器发射头,在激光器发射头的左侧光路上依次设置有会聚透镜和离轴抛物面镜,在会聚透镜左边的壳体上开有缺口,在缺口的正左边设有待测样品,在离轴抛物面镜的正下方依次设置有平面镜和分离透镜组,在离轴抛物面镜和平面镜上均镀有宽带介质膜,在分离透镜组的正下方壳体上设有光纤端头,在所述的平面镜的右侧依次设置有双胶合透镜和毛玻璃。本发明对距离其400mm以外的待测点进行探测,避免了探头与固体废弃物的直接接触,保护了系统和操作者的安全,集成度高、体积小、重量轻、外形似手枪,方便携带和操作,并且成本低、易于实现。

标签:
固废
安徽 - 合肥 来源:中冶有色网 2023-03-19
上一页 32 33 34 35 36 ... 37 下一页
共37页    到第

中冶有色为您提供最新的安徽合肥有色金属固/危废处置技术理论与应用信息,涵盖发明专利、权利要求、说明书、技术领域、背景技术、实用新型内容及具体实施方式等有色技术内容。打造最具专业性的有色金属技术理论与应用平台!

全国热门有色金属设备推荐
展开更多 +
全国热门有色金属技术推荐
展开更多 +

 

江西省隆恩特环保设备有限公司
宣传

报名参会
更多+

报告下载

有色专家
更多+

北京科技大学
主任/教授
中国瑞林工程技术有限公司
中国工程院院士
北京科技大学
副院长/教授
云南锡业集团(控股)有限责任公司
副总经理
中南大学、中国工程院
院士
赤泥综合利用研究报告2025
推广

热门技术
更多+

推荐企业
更多+

福建省金龙稀土股份有限公司
宣传

发布

在线客服

公众号

电话

顶部
咨询电话:
010-88793500-807