青岛垚鑫智能科技有限公司
宣传

位置:中冶有色 >

有色技术频道 >

> 废水处理技术

分类:
全部
矿山技术
冶金技术
材料制备及加工技术
环境保护技术
分析检测技术
 
全部
废水处理技术
大气治理技术
固/危废处置技术
土壤修复技术
地区:
全部
北京
天津
上海
重庆
河北
山西
辽宁
吉林
黑龙江
江苏
浙江
安徽
福建
江西
山东
河南
湖北
湖南
广东
海南
四川
贵州
云南
陕西
甘肃
青海
内蒙
广西
西藏
宁夏
新疆
其他
其他
展开
 
全部
合肥
芜湖
蚌埠
淮南
马鞍山
淮北
铜陵
安庆
黄山
阜阳
宿州
滁州
六安
宣城
池州
亳州

安徽合肥有色金属废水处理技术理论与应用

免费发布技术信息>>
油漆废水处理剂及其制备方法

本发明涉及一种油漆废水处理剂及其制备方法,本发明的油漆废水处理剂由缓蚀剂、阻垢剂、杀菌剂、絮凝剂和辅助药剂组成,其中缓蚀剂包括羟基乙叉二膦酸、葡萄糖酸钙、烷基环氧羧酸钠、碘化钾、明胶;阻垢剂包括磷酸三钠、单宁、腐植酸钠、磺酸类共聚物、TH‑0100型反渗透阻垢剂;杀菌剂包括高锰酸钾、双十二烷基二甲二苄基氯化锡铵、纳米氧化锌;絮凝剂包括二甲基二烯丙基氯化铵、阳离子聚丙烯酰胺、羧甲基壳聚糖、聚合硫酸铁、硅藻土;辅助药剂包括:聚天冬氨酸和烷基环氧羧酸盐。本发明的油漆废水处理剂对油漆废水以及油漆管道和设备内壁的氧化物都有良好的处理效果。

标签:
废水处理
安徽 - 合肥 来源:中冶有色网 2023-03-19
渔网染色废水处理方法

本发明公开了一种渔网染色废水处理方法,涉及渔网染色废液处理技术领域,包括:(1)预处理;(2)脱色絮凝处理;本发明通过向渔网废水中添加羟丙基甲基纤维素,然后添加一定量的碱液,通过加热与搅拌,使其快速而均匀的分散到渔网废水中,然后再进行冷却,能够使得渔网废液中部分还原性物质通过离子吸附的方式结合到羟丙基甲基纤维素分子上,然后通过将处理后的废液引入过滤池,添加明胶‑硝酸交联复合物,通过超声处理,快速分散,并且同时进行吸附氧化处理作用,进一步的降低了渔网染色废液中的COD值。

标签:
废水处理
安徽 - 合肥 来源:中冶有色网 2023-03-19
含油废水处理设备
含油废水处理设备 1164     
 0

本实用新型公开了一种含油废水处理设备,包括集水池,所述第一处理部内设有与所述集水池连通的第一过滤器,所述第一过滤器后端通过管道连接有第一渗透膜,所述第二处理部内设有与所述第一渗透膜连通的第二过滤器,所述第二过滤器后端通过管道连接有第二渗透膜,所述第三处理部内设有与所述第二渗透膜连通的第三过滤器,所述第三过滤器后端通过管道连接有第三渗透膜,本实用新型结构新颖,通过多组渗透膜对含油废水进行多层次过滤处理,可以有效且快速的对含油废水中的油类大分子以及溶解油进行高效处理,此外在该处理系统内还设有温度和压力调节机构,可以将温度和压力控制在膜的最佳工作范围内,进一步提高了工作效率。

标签:
废水处理
安徽 - 合肥 来源:中冶有色网 2023-03-19
中温沼液废水管式超滤膜系统处理及回用工艺

本发明公开了一种中温沼液废水管式超滤膜处理系统,它包括有沼液罐,沼液罐出口处设有预处理1泵,且预处理1泵出口端设有过滤系统,预处理1过滤系统输出口设有预处理2泵,预处理2泵上设有预处理2过滤系统,经过预处理2过滤系统处理后的沼液进入管式超滤膜缓冲罐,所述的管式超滤膜缓冲罐出口端依次设有供料泵、清洗泵、保安过滤器、循环泵、管式超滤膜系统。本工艺发明是一种能长期安全、高效能使用和方便维护的组合膜生产工艺,使中温沼液废水经过管式超滤膜法组合生产工艺处理后,透过液既可回用,又省去繁琐的后续处理,降低了生产成本为企业带来直接、明显的经济效益,为社会带来明显的环保、经济价值。

标签:
废水处理
安徽 - 合肥 来源:中冶有色网 2023-03-19
高效能生活废水处理系统

本实用新型涉及一种高效能生活废水处理系统,其特征在于:该系统包括管网,栅格井,调节池,潜污泵,水解酸化池,接触氧化池,二沉池几个部分组成;生活污水经管网进入栅格井,然后自流入调节池;调节池中污水再通过潜污泵提升入水解酸化池、接触氧化池和二沉池;二沉池的上清液经消毒后达标排放,二沉池的剩余污泥经污泥浓缩罐重力浓缩后排入化粪池。该系统采用一体化地埋式生活污水处理设备;并采用生物接触氧化池与二沉池相结合对污水进行处理。本实用新型具备以下优点:(1)提高了生活废水处理系统的效率;(2)实现了生活废水处理后水质的无污染零排放;(3)减少了投资的成本,简化了工艺流程,有利于优化管理体系。

标签:
废水处理
安徽 - 合肥 来源:中冶有色网 2023-03-19
药物生产线用废水处理装置

本实用新型公开了一种药物生产线用废水处理装置,包括初级过滤网、拆装边板、混合搅拌腔室、电阻加热板、阻污隔膜和固型边板,所述初级过滤网外侧安装有拆装边板,所述混合搅拌腔室外侧安装有电阻加热板,所述阻污隔膜外侧安装有固型边板,本实用新型结构科学合理,使用安全方便,设置有初级过滤网能够对进入的污水初步进行过滤处理;设置有拆装边板便于初级过滤网的固定安装与活动拆卸;设置有混合搅拌腔室能够将废水与添加料剂之间进行充分搅拌混合;设置有电阻加热板能够对混合搅拌腔室进行加热处理;设置有阻污隔膜能够吸附废水与过滤器之间接触时产生的污物;设置有固型边板使过滤器在过滤废水时更加稳固。

标签:
废水处理
安徽 - 合肥 来源:中冶有色网 2023-03-19
餐饮废水隔油提升处理设备

本实用新型公开了一种餐饮废水隔油提升处理设备,其包括依次连接的杂物分离箱、油水分离箱、污水提升箱。所述油水分离箱的进液处加装了至少一个多孔结构配液挡板,所述挡板呈垂直状态或倾斜状态立于所述油水分离箱内形成进液分配导向系统。所述油水分离箱与所述污水提升箱之间采用溢流堰式的水封装置。本实用新型废水进入油水分离箱时能保证起到均匀分流作用和减少废水的短流、湍流的作用,以免形成流动死区;还能保证在污水提升箱内避免排水过于集中,在水层中形成漩涡,破坏水层的稳定。

标签:
废水处理
安徽 - 合肥 来源:中冶有色网 2023-03-19
防垢型废水蒸发器
防垢型废水蒸发器 717     
 0

本实用新型涉及一种防垢型废水蒸发器,包括蒸发器,所述蒸发器内设有转动机构,所述转动机构包括固定安装于蒸发器内的转动杆,所述蒸发器内固定连接有第一齿轮。该一种防垢型废水蒸发器可以让废水进入蒸发器时带动第一齿轮转动与第二齿轮进行啮合,通过第二齿轮转动,带动转动杆外周壁的刮板对蒸发器内壁的结垢进行清理,转动杆能够对废水进行搅拌,防止废水长时间处于静止状态,可以让蒸汽通过第一气管和第二气管重新从进料管进入,带动第一齿轮转动,从而解决了从而解决了在蒸发时废水长时间处于静止的状态,进而极大的降低了自身的蒸发效率,其次蒸发之后,蒸发器内壁出现结垢现象无法处理,再其次无法对蒸汽能量进行利用的问题。

标签:
废水处理
安徽 - 合肥 来源:中冶有色网 2023-03-19
农药废水处理装置
农药废水处理装置 1144     
 0

本实用新型涉及一种农药废水处理装置,包括包括废水贮槽组件、膜分离组件和活性炭组件,废水贮槽组件包括进水管线、废水贮槽、出水管线以及设置在出水管线上的抽吸泵;膜分离组件包括耐压壳体和设置在耐压壳体内的膜分离单元;活性炭组件包括依次相连的入罐管线、内部设置有活性炭滤网的活性炭吸附罐和出罐管线;进水管线、出水管线、入罐管线均与膜分离组件相连。本实用新型通过无机膜分离后续加活性炭吸附,有效提高了无机膜的污水处理效率,且该装置能够长期有效运行,投资和运行成本低,操作维护安全简单,且其为循环处理系统,能后有效防止二次污染,处理效果好。

标签:
废水处理
安徽 - 合肥 来源:中冶有色网 2023-03-19
重金属废水硫化物沉淀设备

本发明涉及化工废水处理技术领域,且公开了一种重金属废水硫化物沉淀设备,包括反应罐和增压泵,所述反应罐的左侧固定安装有出料口二,所述反应罐的背部中间开设有加料口,所述反应罐的顶部固定安装有出水口,所述吹水口中固定安装有滤膜,所述出料口二的左侧固定安装有活塞筒一,所述活塞筒一的内部活动套接有活塞杆一。通过推动叶轮一和推动叶轮二的设置,使得当废水冲击带动推动叶轮一转动时,一方面其叶片上的滤膜对水中的悬浮颗粒进行捕获,而后与推动叶轮二的叶片相遇,对两者叶片之间的颗粒进行压缩,形成聚集体,而后在重力的作用下下降,减少废水中的颗粒悬浮,降低废水的重金属含量,提高废水的处理质量。

标签:
废水处理
安徽 - 合肥 来源:中冶有色网 2023-03-19
汽车压缩机配件生产废水的处理系统

本实用新型公开了一种汽车压缩机配件生产废水的处理系统,包括有依次连接的第一沉淀过滤池,第二沉淀过滤池,沉淀过滤罐和沉淀罐。本实用新型通过第一沉淀过滤池,第二沉淀过滤池,沉淀过滤罐和沉淀罐对废水进行处理,使废水中的使COD和氨氮含量达到排放标准,且可进行回收利用,降低水源的消耗,减少环境污染。

标签:
废水处理
安徽 - 合肥 来源:中冶有色网 2023-03-19
方便清洗的废水处理器

本实用新型适用于废水处理技术领域,提供了一种方便清洗的废水处理器,包括过滤箱,所述过滤箱内腔的中部横向固定连接有第一过滤板,所述第一过滤板将过滤箱分为上腔体与下腔体,所述上腔体一侧的上部横向连通有进水管,所述过滤箱表面的一侧竖向固定连接有第一伸缩杆。该方便清洗的废水处理器,第一伸缩杆伸缩带动分流盘在竖直方向运动的同时转动,带动高压喷头由上至下对上腔体的内壁进行冲洗,保证冲洗的效果,当冲洗完成后,电动滑轨带动第二伸缩杆进而带动推渣板向集渣箱方向运动,把第一过滤板表面的块状杂质推送至集渣箱内,落入第一排污管内,进行排出,提高了工作效率且无需人工清理,不需要将装置拆开,减少了劳动量。

标签:
废水处理
安徽 - 合肥 来源:中冶有色网 2023-03-19
洗米废水的处理方法
洗米废水的处理方法 964     
 0

本发明公开了一种洗米废水的处理方法,具体步骤是,(1)所述的洗米废水经过多层滤膜过滤后,滤出蛋白质,洗米水排入混合池;(2)排入混合池的洗米水,按每升加入2-3g醋酸,在混合池底部铺设30-40cm厚的米糠或谷壳,洗米水混合池中洗米水停留时间为30-40min;(3)将混合池中的洗米水引入中和池,加入氢氧化钠,至中和池中的洗米水pH为7时停止加氢氧化钠;(4)将中和后的洗米水引入过滤层;(5)经过滤层过滤后的洗米水回收再利用。本发明的过滤层是用稻草或秸秆叠成50-80厘米厚的过滤层,环保,经济。

标签:
废水处理
安徽 - 合肥 来源:中冶有色网 2023-03-19
重金属废水处理药剂
重金属废水处理药剂 788     
 0

本发明公开了一种重金属废水处理药剂,其配方为按以下重量配比得到:聚合硫酸硅铝铁3‑10份、聚丙烯酰胺5‑10份、三聚磷酸铝5‑12份、石油醚7‑12份、碳酸钙5‑15份、硫酸锰3‑9份、褐藻提取物10‑20份、明矾2‑7份、特丁基对苯二酚6‑11份、吡咯烷酮5‑9份、硫化钡10‑25份、乙萘酚5‑9份;本发明相比现有技术具有以下优点:本发明提供的重金属废水处理药剂解决了重金属废水处理难度大,处理成本较高,且实际运行操作比较繁琐的问题,提供一种原料来源广泛且价格便宜,使用方便的同时处理成本低廉的重金属废水处理药剂。

标签:
废水处理
安徽 - 合肥 来源:中冶有色网 2023-03-19
全自动餐饮废水浮油清理装置

本实用新型公开了一种全自动餐饮废水浮油清理装置,其设置有油收集箱、出水管。油收集箱收集来自一个餐饮废水杂物自动分离装置的污水并油水分层,餐饮废水杂物自动分离装置将泔水固液分离成杂物和污水,出水管排出油收集箱内的水。油收集箱内部设置有若干隔板,若干隔板以高度逐次降低规律将油收集箱内部分割成一字并排布局的若干级油收集子箱,且相邻两个油收集子箱的底部相通。位于首位的油收集子箱的上部接收污水。出水管呈U型,出水管的一端伸入位于末尾的油收集子箱的底部,另一端作为全自动餐饮废水浮油清理装置的出水口且翻越出相应的油收集子箱,出水口距离位于末尾的油收集子箱底部的垂直高度等于相应的油收集子箱的初始液面高度。

标签:
废水处理
安徽 - 合肥 来源:中冶有色网 2023-03-19
高浓度含氟废水的回收利用方法

本发明公开了一种高浓度含氟废水的回收利用方法,其特征在于:首先在高浓度含氟废水的原水中加入氯化钙,进行化学沉淀处理,然后固液分离,收集氟化钙固体,回收氟;同时将所得上层清液预处理后引入电渗析装置的淡化室和浓缩室中,进行电渗析处理,实现电渗析的淡水中氟离子的浓度达到10mg/L以下,再将电渗析的浓水作为原水进行处理。本发明的处理工艺简单、可操作性强、出水质量稳定,可广泛用于高浓度含氟废水的回收处理。

标签:
废水处理
安徽 - 合肥 来源:中冶有色网 2023-03-19
PH控制装置及废水处理系统

本发明公开了一种PH控制装置及废水处理系统,涉及废水处理技术领域。该PH控制装置包括调节液容纳器、调节管路、回流管路、酸碱调节组件以及溶液反应池。调节液容纳器与溶液反应池通过调节管路连通,酸碱调节组件包括泵组件、控制组件以及检测组件,泵组件和控制组件均设置于调节管路,且控制组件相对于泵组件靠近于溶液反应池,回流管路的一端和调节液容纳器连通,另一端与调节管路连接,且连接点位于泵组件和控制组件之间,回流管路上设置有回流阀。检测组件设置在溶液反应池,并与控制组件电连接,用于检测溶液反应池内的酸碱度信息并将酸碱度信息传递至控制组件,设计合理,使用方便,能够实现精确控制废水的PH值,避免废水对环境的影响。

标签:
废水处理
安徽 - 合肥 来源:中冶有色网 2023-03-19
养猪场的废水处理装置

本实用新型适用于废水处理领域,提供了一种养猪场的废水处理装置,包括处理箱,所述处理箱的端面设置有进水管和排水管,所述处理箱的内部铰接有第一过滤板,所述第一过滤板相对于水平面倾斜设置,所述处理箱的侧面固定连接有收集箱,且处理箱的侧壁上开设有与收集箱连通的出料口,所述第一过滤板延伸到出料口的内部,还包括:间歇下料机构,所述间歇下料机构安装在处理箱上。本实用新型通过设置电动机、转盘、环形滑槽、连接杆和第一过滤板的配合使用,使废水中的固体杂质间歇滚落到收集箱中,采用间歇下料机构,既减少了废水进入收集箱的水量,又使第一过滤板震动,在废水的冲击下,避免了第一过滤板堵塞,提高了过滤效率。

标签:
废水处理
安徽 - 合肥 来源:中冶有色网 2023-03-19
节能型高浓度有机废水浓缩设备

本实用新型公开了一种节能型高浓度有机废水浓缩设备,包括烘箱、刮板组件、能够吸附所述有机废水的输送带以及实现所述输送带传送并通过烘箱内部的传动组件;所述输送带经过有机废水储存箱吸附所述有机废水,传动组件带动吸附有所述有机废水的输送带经过烘箱内,输送带上吸附的有机废水被加热蒸发浓缩;所述刮板组件设置在烘箱一端,对经过烘箱内的输送带上的浓缩有机液进行刮除收集;本实用新型的节能型高浓度有机废水浓缩设备,通过蒸发,实现有机废水的浓缩,设备简单,成本低,不易堵塞。

标签:
废水处理
安徽 - 合肥 来源:中冶有色网 2023-03-19
研磨废水处理回收的系统及方法

本发明公开了一种研磨废水处理回收的系统及方法,目的在于:提高研磨废水处理的效果,使处理的水质各项指标均达到纯水供水水质要求,所采用的技术方案为:包括依次连接的预沉装置、混凝沉淀装置、过滤装置、反渗透装置和混床,所述的预沉装置包括预沉废水处理池,所述的混凝沉淀装置包括在预沉废水处理池后端依次连接的研磨反应混凝池、研磨斜管沉淀池和集水中和槽,所述的过滤装置包括在研磨集水中和槽后端依次连接的多介质过滤器、盘式超滤器、活性碳过滤器和保安过滤器,反渗透装置包括在保安过滤器后端依次连接的反渗透器和RO水箱,RO水箱连接至混床,混床连接至研磨水箱,研磨水箱连接至用户。

标签:
废水处理
安徽 - 合肥 来源:中冶有色网 2023-03-19
废水回收装置
废水回收装置 964     
 0

本实用新型公开了一种废水回收装置,涉及废水回收技术领域。本实用新型包括回收箱,回收箱内设置有若干隔板,隔板讲回收箱分隔为粗滤舱、拉升舱和吸油舱,粗滤舱与吸油舱之间通过拉升舱连接,粗滤舱内设置有滤网、承料板和旋转臂,旋转臂分别与承料板以及滤网相互配合将废料从滤网转移到承料板上,吸油舱内设置有吸板和伸缩杆,吸油舱外设置有抽吸泵,吸板通过伸缩杆固定在吸油舱顶面,吸板一表面设置有若干吸盘,吸盘与抽吸泵连接。本实用新型通过设置粗滤舱和吸油舱两个舱室完成对废水的过滤以及油污的吸附,能够对掺杂有固体废料以及有机溶剂的废水进行初步处理,达到改善废水水质的效果。

标签:
废水处理
安徽 - 合肥 来源:中冶有色网 2023-03-19
高效型高盐废水蒸发装置

本实用新型涉及一种高效型高盐废水蒸发装置,包括保温箱,所述保温箱的内腔固定连接有顶部贯穿至保温箱外侧的箱体,所述箱体的左右两侧和前后两侧均固定连接有电热丝,所述箱体的左侧连通有进料管,所述箱体的顶部连通有蒸汽管,所述箱体的底部连通有底部贯穿至保温箱外侧的出料管。该高效型高盐废水蒸发装置,使用时,将高盐废水从进料管输送至箱体中,启动电热丝对废水进行加热蒸发,并启动搅拌组件使得废水受热更加均匀,加快蒸发效率,在蒸发完毕后,将两个清理组件装配在搅拌组件上,通过搅拌组件带动清理组件转动,将箱体内壁上粘附的晶体刮落,实现了高效型高盐废水蒸发装置便于清理的目的,实用性更好。

标签:
废水处理
安徽 - 合肥 来源:中冶有色网 2023-03-19
2B酸酸析废水的处理与资源回收工艺

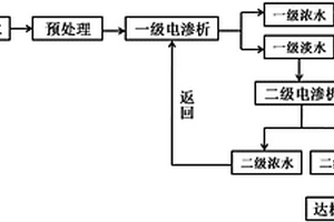
本发明公开了一种2B酸酸析废水的处理与资源回收工艺,其是首先对2B酸精制工序酸析废水的原水进行预处理,去除其中的悬浮物和大颗粒物;然后将预处理后的2B酸酸析废水引入一级电渗析装置的浓缩室和淡化室中,进行一级电渗析处理,直至淡水COD≤3000mg/L;收集一级电渗析后浓缩室液体并回收2B酸,同时将一级电渗析后淡化室液体引入二级电渗析装置的浓缩室和淡化室中,进行二级电渗析处理,直至淡水COD≤60mg/L,即完成处理。本发明处理工艺简单、可操作性强、出水质量稳定,可广泛用于2B酸酸析废水的处理和资源回收。

标签:
废水处理
安徽 - 合肥 来源:中冶有色网 2023-03-19
建筑装饰工程用废水沉淀回收装置

本发明公开了一种建筑装饰工程用废水沉淀回收装置,包括本体、废水入口、曝气泵、除渣机构和排液口,所述废水入口固定设置在本体的顶端,所述本体的底部固定设置有除渣机构,所述除渣机构包括丝杆、电机、滑块、刮渣板和滑杆,所述丝杆通过两端的轴承座转动连接在本体的底端,所述丝杆的一端延伸至本体的外侧且在其延伸端固定设置有第一皮带轮,所述电机的输出轴端部固定设置有第二皮带轮,所述本体的底端两侧分别开设有出渣口,所述排液口固定设置在本体的侧面除渣机构上方的位置,通过在本体的底端固定设置有除渣机构,通过电机带动刮渣板的往复运动即可完成本体内部底端的渣料去除过程,简单方便,增加了设备的连续使用性能,经济实用。

标签:
废水处理
安徽 - 合肥 来源:中冶有色网 2023-03-19
环保智能标准桶清洗用废水回收装置

本实用新型公开了一种环保智能标准桶清洗用废水回收装置,包括清洗装置主体、连接管和废水回收装置主体,所述清洗装置主体通过连接管与废水回收装置主体连接,所述废水回收装置主体的顶端一侧设置有安装板,所述安装板上固定安装有驱动电机,所述驱动电机上设置有传动杆,所述传动杆远离驱动电机的一端插入连接管内并通过密封轴承与连接管的内壁连接,所述传动杆远离驱动电机的一端设置有切割片,所述连接管的管壁上设置有固定刀片。本实用新型通过在连接管内设置有切割片和固定刀片,切割片和固定刀片相互配合可将连接管内的网状物或者团状物切割开,网状物或者团状物将连接管堵塞,有效的提高了清洗装置废水回收的工作效率。

标签:
废水处理
安徽 - 合肥 来源:中冶有色网 2023-03-19
废水杂物分离器
废水杂物分离器 1130     
 0

本实用新型公开了一种废水杂物分离器,包括内部设有网篮格栅的杂物处理箱,杂物处理箱一侧通过废水管连接废水储水箱,废水管内设有第一截止阀;网篮格栅一端通过转动轴连接有回转电机,网篮格栅一侧面开有槽口,网篮格栅中部设有转动轴,转动轴上连接有与槽口相互配合的格栅板,转动轴一端连接有伺服电机。本实用新型通过使用回转电机带动网篮格栅回转,并在网篮格栅上设置槽口和格栅板,通过伺服电机控制格栅板打开和关闭,通过各部分配合工作,使餐饮废水中的杂物分离更彻底,杂物回收车能回收到比较干燥的杂物,不会在杂物污泥处理箱内集大量污泥和浮渣,优化设备工艺流程,提升工艺品质,提高工作效率,结构简单,便与生产。

标签:
废水处理
安徽 - 合肥 来源:中冶有色网 2023-03-19
电镀废水处理设备
电镀废水处理设备 858     
 0

本实用新型提供电镀废水处理设备,涉及废水处理设备领域,包括支撑架,支撑架的左侧安装有陶瓷膜进水口,陶瓷膜进水口的右侧连接有陶瓷膜原水泵,陶瓷膜进水口与陶瓷膜原水泵间通过管道连接有清洗桶系统,清洗桶系统的右侧设置有纳滤进水口,纳滤进水口的右侧连接纳滤膜原水泵,纳滤膜原水泵的右侧连接有纳滤过滤器,纳滤过滤器的另一侧连接有反渗透换热器,纳滤换热器的右侧连接有纳滤膜高压泵和纳滤膜组件。本实用新型中通过陶瓷膜过滤器和纳滤过滤器的设置,能够对电镀废水进行初步处理,反渗透膜组件和纳滤膜组件能够对初步处理后的废水进行二次处理,整个实用新型处理电镀废水成本低,污水的处理效率高,效果好,安全性高。

标签:
废水处理
安徽 - 合肥 来源:中冶有色网 2023-03-19
医药废水处理工艺
医药废水处理工艺 886     
 0

本发明属于废水处理技术领域,具体的说是一种医药废水处理工艺,该工艺采用废水处理装置,废水处理装置包括箱体;还包括驱动单元、搅拌单元、转动盘、储气箱和控制器。该工艺操作简洁、灵活,能够对医药废水进行有效的处理,而且处理后的废水可以有效的进行排放,不会对周边的生态环境造成损害,有利于生态环境的健康可持续发展。

标签:
废水处理
安徽 - 合肥 来源:中冶有色网 2023-03-19
一体化小型废水膜设备
一体化小型废水膜设备 1140     
 0

本实用新型提供一体化小型废水膜设备,涉及废水膜领域,包括设备本体和控制柜,设备本体上设置有控制柜,设备本体上设置有实验膜管口,实验膜管口的一侧通过连通管与超滤膜组件连通。本实用新型中,通过原水泵将水注入到该设备之中,然后通过袋滤器进行初期的预处理,然后通过设置有超滤膜组件和RO膜组件对废水膜进行再次处理,同时,超滤膜组件与高压泵连通,RO膜组件与RO进水泵和RO高压泵连通,能够对废水膜进行辅助处理,整个过程井然有序,能够使得废水膜通过不同的组件处理,最后在通过清水泵、活性炭过滤器和芯滤器进行最后的处理,整个过程条例有序,通过多重步骤使得废水膜处理更加彻底。

标签:
废水处理
安徽 - 合肥 来源:中冶有色网 2023-03-19
有机废水处理回收系统

本实用新型涉及玻璃基板制造中用于去除有机废水污染物使回用水质达到循环软化水的水质指标,从而能够进行回用的设备,尤其是一种有机废水处理回收系统。其特点是:包括依次连通的有机中和池(1)、臭氧接触氧化池(2)、生物活性炭滤池(6)和回用水槽(8),其中在有机中和池(1)内分别安装有pH计和搅拌器,在臭氧接触氧化池(2)安装有与臭氧发生器连通的曝气装置(3),在生物活性炭滤池(6)内设有活性炭填料。经过试验证明,采用本实用新型的有机废水处理回收系统后,可以通过臭氧氧化法结合生物活性炭滤池组合处理的方法,达到将有机废水进行处理,从而符合循环软化水的水质指标,还可以进行回用。

标签:
废水处理
安徽 - 合肥 来源:中冶有色网 2023-03-19
上一页 27 28 29 30 31 ... 38 下一页
共38页    到第

中冶有色为您提供最新的安徽合肥有色金属废水处理技术理论与应用信息,涵盖发明专利、权利要求、说明书、技术领域、背景技术、实用新型内容及具体实施方式等有色技术内容。打造最具专业性的有色金属技术理论与应用平台!

全国热门有色金属设备推荐
展开更多 +
全国热门有色金属技术推荐
展开更多 +

 

江西省隆恩特环保设备有限公司
宣传

报名参会
更多+

报告下载

有色专家
更多+

中国瑞林工程技术有限公司
中国工程院院士
辽宁忠旺集团
教授级高工
长沙矿冶院检测技术有限责任公司
总经理
国家钨与稀土产品质量检验检测中心
主任
长沙有色冶金设计研究院有限公司
正高级工程师/中国铝业首席工程师/全国有色金属行业设计大师/国家注册采矿工程师
赤泥综合利用研究报告2025
推广

热门技术
更多+

推荐企业
更多+

福建省金龙稀土股份有限公司
宣传

发布

在线客服

公众号

电话

顶部
咨询电话:
010-88793500-807