青岛垚鑫智能科技有限公司
宣传

位置:中冶有色 >

有色技术频道 >

> 固/危废处置技术

分类:
全部
矿山技术
冶金技术
材料制备及加工技术
环境保护技术
分析检测技术
 
全部
废水处理技术
大气治理技术
固/危废处置技术
土壤修复技术
地区:
全部
北京
天津
上海
重庆
河北
山西
辽宁
吉林
黑龙江
江苏
浙江
安徽
福建
江西
山东
河南
湖北
湖南
广东
海南
四川
贵州
云南
陕西
甘肃
青海
内蒙
广西
西藏
宁夏
新疆
其他
其他
展开
 
全部
南京
无锡
徐州
常州
苏州
南通
连云港
淮安
盐城
扬州
镇江
泰州
宿迁

江苏南通有色金属固/危废处置技术理论与应用

免费发布技术信息>>
水合肼废液的回收处理装置和回收处理方法

本发明提供一种水合肼废液的回收处理装置和回收处理方法,所述回收处理装置包括与高浓度水合肼废液管道相连的废液储存罐、废液泵、酸化反应釜、酸化出料泵和蒸发浓缩器,蒸发浓缩器的轻相物质出口连接尾水冷凝罐,重相物质出口顺次连接碱化反应釜、真空干燥器,真空干燥器的固相物质出口连接固体回收装置,气相物质出口连接气相冷凝器和水合肼收液罐。本发明能高效回收废液中水合肼组分,分离出无毒害的无机盐组分,最终排出的尾水从危废变为普通污水,可直接进入污水站进行生化处理,节省了所有危废处理费用,回收的高纯度水合肼重新用于生产环节,充分利用资源、节约成本并减少对环境的污染。

标签:
固废
江苏 - 南通 来源:中冶有色网 2023-03-19
氟胞嘧啶氯化废水中回收N,N-二甲基苯胺再循环利用的方法

本发明公开了一种氟胞嘧啶氯化废水中回收N,N‑二甲基苯胺再循环利用的方法,将氟胞嘧啶氯化废水送至废水处理釜中,搅拌降温,滴加氢氧化钙溶液进行中和,调pH值,N,N‑二甲基苯胺盐酸盐与氢氧化钙反应得N,N‑二甲基苯胺,过滤去磷酸盐固体,过滤后的废水送至废水回收釜,加入甲苯,萃取废水中的N,N‑二甲基苯胺,分层,甲苯层浓缩,加入无水硫酸钠干燥,过滤后得N,N‑二甲基苯胺,送至氟胞嘧啶氯化生产工业线中循环利用。其优点在于:本发明回收循环利用氯化废水中的N,N‑二甲基苯胺,可以降低原料成本,减少废水中N,N‑二甲基苯胺对环境和操作人员产生的毒害,减少三废处理成本,提高企业经济效益,符合现代化绿色环保生产理念。

标签:
固废
江苏 - 南通 来源:中冶有色网 2023-03-19
CMC生产中废水母液的处理工艺

本发明涉及一种CMC生产中废水母液的处理工艺,利用一种CMC生产中废水母液的处理装置,包括蒸馏釜A,离心机、烘干机、蒸馏釜B以及污水站,所述蒸馏釜A、离心机、烘干机依次连接,所述蒸馏釜A,离心机、蒸馏釜B以及污水站依次连接,对废水母液进行回收、处理。设计完善,使用方便,充分回收CMC母液中的溶剂以及固体,得到有较高经济价值;且同时有效处理了废液中有害物质,实现零污染排放。

标签:
固废
江苏 - 南通 来源:中冶有色网 2023-03-19
基于工业废物处理用危险品保存转运罐

本实用新型涉及转运罐的技术领域,且公开了基于工业废物处理用危险品保存转运罐,包括壳体,所述壳体的内部固定连接有存储室,所述壳体的外部固定连接有安装板,所述安装板的外部固定连接有缓冲板,所述壳体的外部固定连接有添加阀,所述壳体的外部固定连接有排出阀,所述壳体的内侧活动连接有盖板,所述盖板的外部固定连接有堵垫,所述盖板的表面开设有螺孔;通过添加阀方便在存储室内部添加液态、气态工业废物、同时排出阀便于及时进行液态、气态工业废物排出,同时盖板可以在存储室内部存储固体危险废物快速装卸,从而实现多种状态工业废物存储运输,降低了工业生产危险废物处理成本,提高了转运罐的实用性。

标签:
固废
江苏 - 南通 来源:中冶有色网 2023-03-19
用于建筑废料的环保处理方法

本发明公开了一种用于建筑废料的环保处理方法,属于建筑废料处理领域,一种用于建筑废料的环保处理方法,本方案通过对建筑废料经过处理后,将建筑废料分为筛分出四种大小的骨料,并将其做对应处理,在处理过程中会形成大量的粉尘污染物,本方案通过雾化降尘设备工作时形成降尘气泡,降尘气泡在空中与粉尘接触时,在气泡表面张力的作用下会将粉尘包裹加湿加重,使粉尘快速下落,避免造成大型的粉尘污染,随着包裹的灰尘增加,气泡自身经受不了自身重量发生破裂,破裂的气泡会形成水雾,进一步起到降尘的作用,适用于无人操作的工作环境中,可以实现对固体建筑废料进行有效的处理,有利于城市化建设的健康发展。

标签:
固废
江苏 - 南通 来源:中冶有色网 2023-03-19
含氟氯化锑工业废水的处理剂及处理工艺

本发明公开了一种含氟氯化锑工业废水的处理剂及处理工艺。处理剂由沉淀剂、络合剂、氧化剂、絮凝剂及吸附剂机械混合而成,具体组分如下:氢氧化钠,60g~100g;聚丙烯酸钠,100g~200g;次氯酸盐,80g~160g;氯化铁,200g~400g;活性炭,300g~400g。其中处理工艺如下:步骤A,高浓度废水的预处理,通过盐酸或氢氧化钠将废水的pH值调节至6~8,锑离子发生水解沉淀,高含量的含锑废水变为低含量的含锑废水;步骤B,处理低含量含锑废水,1kg废水中加入处理剂0.5g~1.5g,搅拌处理12h~24h;步骤C,过滤将固体和液体分离。优选条件下,含氟氯化锑工业废水经处理后锑离子浓度降至100μg·L‑1以下。

标签:
固废
江苏 - 南通 来源:中冶有色网 2023-03-19
净化阳离子黄染料废水蓝藻生物炭的制备方法

本发明公开了一种净化阳离子黄染料废水蓝藻生物炭的制备方法,将打捞蓝藻过筛子,烘干,得到块状蓝藻生物质,用粉碎机粉碎,得到粉末蓝藻生物质;将粉末蓝藻生物质与KOH混合,用锡箔纸包裹,置于管式炉热解,得到热解产物;将热解产物用盐酸清洗,过膜,将固体截留在膜表面,然后再用纯净水清洗至中性;再将固体烘干,研磨成粉末,过筛子,即可得到蓝藻生物炭材料。本发明选取打捞的蓝藻生物质为原料,利用KOH为活化剂,通过管式炉炭化制得具有特定功能的蓝藻生物炭材料。一方面使得废弃蓝藻生物质得到安全处置,避免了二次污染,另一方面,蓝藻生物炭对染料阳离子黄具有高吸附性能,为阳离子黄染料废水处理提供理论与关键技术支撑。

标签:
固废
江苏 - 南通 来源:中冶有色网 2023-03-19
有机磷农药废水回用工艺

本发明涉及一种能够将农药废水中的磷除去,并能够实现废水回用的一种有机磷农药废水回用工艺,该方法主要包括步骤如下:未经处理的有机磷农药废水或经化学生化处理的综合废水的二级废水经微滤、超滤除去固体杂质和粘性成分后,连续进入由纳滤膜、反渗透膜所构成的一种或其组合的多级膜分离装置分离浓缩,分离得到浓缩液A和淡液B,浓缩液A进入化学除磷系统进行化学沉淀,沉淀的上清液返回到多级膜分离。优点:一是不仅能够有效地将农药废水中的磷去除,而且采用本工艺所处理的废水能够达标排放的标准;二是不仅避免了环境污染,而且实现了对于农药废水的回用。

标签:
固废
江苏 - 南通 来源:中冶有色网 2023-03-19
使用垃圾焚烧底灰和废弃塑料制备重力储能块的方法

本发明公开了一种使用垃圾焚烧底灰和废弃塑料制备重力储能块的方法,包括以下步骤:(1)将垃圾焚烧底灰制成地聚合物的基材粉末;(2)将废弃塑料制成改性混凝土的细骨料和粗骨料;(3)使用低温等离子体对制成的塑料颗粒和塑料棒进行表面改性;(4)制作地聚合物浆料;(5)制备高性能地聚合物塑料改性混凝土;(6)重力储能块的压制成型。本发明实现了固体废弃物的高附加值资源化利用,为垃圾焚烧底灰和废弃塑料的无害化资源化处置提供了新的思路。

标签:
固废
江苏 - 南通 来源:中冶有色网 2023-03-19
多物态的工业危废焚烧处理工艺

一种多物态的工业危废焚烧处理工艺,涉及工业危废物的净化处理技术领域。将工业危废物经过两次燃烧后,经脱硝处理,再将烟气降温后与Ca(OH)2进行中和反应,反应后的烟气再经消石灰中和吸附,然后经布袋式除尘器除尘后排出,以上各步骤中排出的渣液集中后进行固化处理。按照物理形态的不同,危险废物可以细分为固态危险废物、液态危险废物和半固体危险废物等。本发明选择焚烧,是对焚烧废物的适应性强,技术成熟,运行可靠,且运行操作相对简单,可很好满足各种危险焚烧在进料、出渣、燃烧完全等方面的要求。

标签:
固废
江苏 - 南通 来源:中冶有色网 2023-03-19
钢丝绳污泥和废酸无害化处理方法

本发明公开了一种钢丝绳污泥和废酸无害化处理方法,利用废盐酸浸提钢丝绳污泥中金属离子铁、铅、锌,残渣送至危废处置中心处理;根据原料废酸及污泥中成分变化,进行一定的离子种类调整;通过浸提液pH值调节、以及硫化物沉淀,去除浸提液中铅、锌离子;再通过氢氧化物沉淀,使浸提液中铁离子以氢氧化铁形式沉淀;氢氧化铁通过清洗、脱水后,用电极箔废硫酸溶解,形成硫酸铁溶液;混凝沉淀后的上清液,为高浓度的氯化钙溶液,加入电极箔废硫酸反应生成氯化氢气体、石膏固体,溶液经过滤后纳管排放。本发明解决了钢丝绳生产过程中产生的污泥毒性高、危害大、产量大、难处理以及产生二次污染风险的问题。

标签:
固废
江苏 - 南通 来源:中冶有色网 2023-03-19
三氯吡啶醇钠合成过程产生的废催化剂无害化处理方法

本发明公开了一种三氯吡啶醇钠合成过程产生的废催化剂无害化处理方法,三氯吡啶醇钠合成过程的加成废催化剂加入碱液调节PH,加入活性炭;料液升温反应后,采出溶剂和部分水,回收溶剂氯苯;三氯乙酰氯、丙烯腈和丁酰氯被破坏生成相应的盐;氯化铜、氯化亚铜和碱液反应生成氢氧化铜、氢氧化亚铜,向反应釜内鼓入空气,其中的氢氧化亚铜氧化成氢氧化铜沉淀,过滤出活性炭与氢氧化铜的混合固体;将混合固体置入气氛炉中,混合固体经烘干—失水分解,其中的炭与氧化铜发生反应变成粗铜、盐和少量炭的混合物;混合固体经气氛炉中处理后,含有部分有机物的尾气进入RTO焚烧炉的二燃室分解。本发明实现无害化处理,回收产生贵金属。

标签:
固废
江苏 - 南通 来源:中冶有色网 2023-03-19
印染废水处理工艺
印染废水处理工艺 1002     
 0

本发明公开一种印染废水处理工艺,包括以下步骤:向废水内加入助滤剂,在污水絮凝后进行过滤,将其中的悬浮物过滤掉,余下含有颜色的细小悬浮物及溶解物;向一级过滤后的废水中加入还原性脱色剂,处理直接染料染色废水,使废水中的染料分子形成还原降解产物;将含有还原降解产物的废水通过吸附物,由于吸附作用使废水中的还原降解产物或其他物质吸附在固体表面而去除;将非水溶性有机溶剂倒入吸附后的废水中,一同震荡,当两相分离时,水相中便呈现无色,染料聚积于上层有机相中;往经萃取后的废水中倒入一定量清水将其浓度稀释。本发明具有无需调节废水PH值、效果好、而且成本低的优点。

标签:
固废
江苏 - 南通 来源:中冶有色网 2023-03-19
可移动式换气与废气收集装置

本实用新型涉及一种可移动式换气与废气收集装置,包括一置于固体废物上的封闭式遮雨棚;一与遮雨棚的出气口快速对接的换气组件,包括一换气箱,在换气箱内具有一气体暂存腔,在换气箱内安装有数个将气体暂存腔分隔为多个处理腔的隔板,所述隔板与换气箱之间活动配合,在换气箱内各个处理腔中均注入有液体;一设置于换气箱上的喷淋组件,包括置于各个处理腔上方的喷淋嘴。本实用新型的优点在于:利用遮雨棚来对未覆膜的固体废物及施工设备、人员进行保护,减少雨水的影响,而换气组件的设置,则是能够将遮雨棚内的气体置换出来,从而改善遮雨棚内的气体环境,减少因雨水等原因而对填埋池工作环境的影响。

标签:
固废
江苏 - 南通 来源:中冶有色网 2023-03-19
含铝废盐酸的回收处理方法

本发明公开了含铝废盐酸的回收处理方法,具体步骤如下为(1)将盐酸含量为15~18%,铝离子含量为15~28%的废盐酸溶液经过砂滤除去固体悬浮物;(2)在操作温度为46~48℃和流量控制为100~120L/min的条件下,通过入阴离子交换树脂塔中进行离子交换,(3)将步骤2处理后的流出液收集至沉淀槽中,加入氧化剂进行氧化,(4)在步骤3处理后的氧化液中加入沉淀剂进行沉淀,压滤后得铝污泥。本发明加入氧化剂和沉淀剂,将铝离子沉淀成为铝污泥,铝污泥可以进一步用作其他生产的原材料,相比现有技术中的中和、沉淀方法,不但操作简单、设备简易、显著降低企业综合废水的盐含量,而且实现废物再利用经济效益相当明显。

标签:
固废
江苏 - 南通 来源:中冶有色网 2023-03-19
多相废弃物焚烧系统
多相废弃物焚烧系统 1002     
 0

本实用新型提供一种多相废弃物焚烧系统,包括焚烧窑、二次燃烧室、尾气处理装置、烟囱、自动控制系统;所述尾气处理装置包括洗涤器和袋式除尘器;所述焚烧窑包括窑体,所述窑体包括从上至下依次设置的排烟段、燃烧段和排渣段;所述二次燃烧室包括从左至右均匀设置有多个耐火隔板,多个所述耐火隔板间隔垂直设置在二次燃烧室内部的上下端;本实用新型的多相废弃物焚烧系统能够同时对废气、废液及废固进行处理,处理后满足环境要求的气体及固体排出,处理效率高,可根据实际需要进行处理,使用方便。

标签:
固废
江苏 - 南通 来源:中冶有色网 2023-03-19
不锈钢金属表面废酸中铬铁的回收装置

本实用新型公开了一种不锈钢金属表面废酸中铬铁的回收装置,其特征主要在于:主体包括铬铁回收装置本体、废酸回收反应池、废酸铬铁回收滤网、不锈钢金属固定支架、不锈钢金属支架滑轨,铬铁回收装置本体底端设置有废酸回收反应池,废酸回收反应池内侧底端设置有废酸铬铁回收滤网,废酸铬铁回收滤网顶端设置有不锈钢金属固定支架,废酸回收反应池顶端设置有不锈钢金属支架滑轨,本装置结构简单、操作使用便捷、使用者能够直接回收固体铬铁,避免直接与废酸接触。

标签:
固废
江苏 - 南通 来源:中冶有色网 2023-03-19
喷织废水脱水、脱脂装置

本实用新型公开了一种喷织废水脱水、脱脂装置,包括废液池、风机、高压螺杆泵和隔膜压滤机,所述风机的输出端通过第一管道通入到废液池中,所述废液池中通过第二管道连接到高压螺杆泵的输入端,所述高压螺杆泵的输出端通过第三管道连接到隔膜压滤机,所述隔膜压滤机底部的中间设有出料口,所述隔膜压滤机的底部设有和出料口相对应的收集槽,所述隔膜压滤机底部的右侧设有排水管,被分离出来的油脂可以作为废油出售,也可以经一步加工作为工业原料被回收利用,不会对环境造成二次污染,被压滤之后的“泥饼”成块状,给固体废弃物处置提供了便利,具有很高的实用性,适合广泛推广。

标签:
固废
江苏 - 南通 来源:中冶有色网 2023-03-19
印染废水用脱色絮凝剂及其制备方法

本申请公开了一种印染废水用脱色絮凝剂及其制备方法,印染废水用脱色絮凝剂包括如下重量份数的组分:聚丙烯酰胺10‑12份,硅酸钠15‑20份,二乙烯三胺5‑8份,氯化铵12‑15份,硫酸铝7‑13份,双氰胺10‑15份,盐酸5‑10份,氧化锌5‑8份,乙二醛13‑16份。本发明提供的印染废水用脱色絮凝剂,通过上述重量分数的各组分的特定选择,以及针对本发明提供的印染废水用脱色絮凝剂制备工艺,使得本发明提供的印染废水用脱色絮凝剂可使印染废水总固体去除率在85.4‑95.2%,色度去除率可达91.5‑95.6%,COD去除率可达80.9‑87.8%,显著地提升印染废水用脱色絮凝剂的絮凝及去色能力。

标签:
固废
江苏 - 南通 来源:中冶有色网 2023-03-19
用于废水处理压滤机
用于废水处理压滤机 964     
 0

本实用新型公开了一种用于废水处理压滤机,包括底板,所述底板上端通过立柱连接有支撑板,所述支撑板上端通过螺栓固定连接有废水存储罐和压滤箱,所述废水存储罐右侧下端通过进料泵连接有进料管,所述压滤箱上端连接进料槽。本实用新型通过搅拌装置的设置,防止废水在废水存储罐内沉淀造成进料泵堵塞,通过进料泵的工作将废水从废水存储罐内泵向压滤箱的进料槽内,然后进入压滤箱内的各组压板之间,通过液压缸输出端的伸长使得推板推动压板向压滤箱左侧壁挤压,进而将泥浆中的液体挤压出来,经过过滤板过滤后从出液口流入下方的滤液槽中,进行集中回收处理,防止污染周围环境,同时避免滤液与固体泥块重新混合加大工作量。

标签:
固废
江苏 - 南通 来源:中冶有色网 2023-03-19
利用含铝废盐酸及含铝污泥生产聚合氯化铝和石膏系列产品的方法

本发明提供了一种利用含铝废盐酸、含铝污泥生产聚合氯化铝和石膏系列产品的方法。所述方法先用含铝废盐酸作为溶剂对含铝污泥进行侵提,将其中的铝离子充分侵提至一次侵提液中,分离后的固体为含少量铝离子的二水硫酸钙,进一步用含铝稀酸、不含铝稀盐酸作为溶剂进行二、三次侵提,最后用清水和调整剂调整PH为6.5‑7.5后,过滤出固体烘干脱水制取无水石膏粉,并进而制取轻质石膏板等建材系列产品。一次侵提液与二、三次侵提液中和获取的氢氧化铝在调整剂的配合下进行聚合反应生成液体聚合氯化铝,最终浓缩并进行喷雾干燥生产30%固体聚合氯化铝。本发明既可以实现电极铂行业废盐酸、废含铝污泥的无害化处理,还可以实现资源化利用。

标签:
固废
江苏 - 南通 来源:中冶有色网 2023-03-19
废气处理喷淋塔用离心除雾设备

本发明属于废气处理技术领域,具体的说是一种废气处理喷淋塔用离心除雾设备,包括净化筒,所述净化筒内腔的顶部固定连接有转折通管,所述转折通管的底端固定连接有抽气泵,所述净化筒内腔底部远离抽气泵的一侧固定连接有输气管,所述净化筒的底端固定连接有底板。该装置能够在废气进入净化筒运动的过程中将废气中的固体物质去除,由于直接通过过滤的方法分离固态与气态物质,很容易使过滤网等相关装置发生堵塞问题,该装置通过旋转离心转板的方式将气体中的物质收集到离心转板的内部,并且通过离心装置对竖直转杆进行反复震动,从而将离心转板孔洞内部收集到的物质抖落到离心转板内腔的底部,进而使离心转板保持长久的过滤能力。

标签:
固废
江苏 - 南通 来源:中冶有色网 2023-03-19
可回用甲醛废水的氨基三亚甲基磷酸及其盐的生产工艺

本发明公开了一种可回用甲醛废水的氨基三亚甲基膦酸及其盐的生产工艺,以甲醛废水、亚磷酸、多聚甲醛、氯化铵、液碱为原料,以下各物质的加入量按重量份计,具体包括下述操作步骤:清洗反应釜及相关设备,关闭反应釜底阀;将氨基三亚甲基膦酸生产过程中浓缩、冲蒸阶段含有甲醛的废水200‑300份抽入反应釜;开启固体投料口,加入多聚甲醛100‑200份;开启冷凝器,搅拌,加热升温;本发明提供了一种可回用甲醛废水的氨基三亚甲基膦酸及其盐的生产工艺,生产的氨基三亚甲基膦酸产品活性成分含量在48~52%,其他指标也均符合正常氨基三亚甲基膦酸或其盐生产指标,可以满足电子行业、针织行业,印染行业等对氨基三亚甲基膦酸或其盐的质量要求。

标签:
固废
江苏 - 南通 来源:中冶有色网 2023-03-19
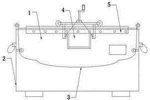
药学研究用废物处理装置

本实用新型适用于药学研究技术领域,提供了一种药学研究用废物处理装置,包括机体,其内部右侧有衔接箱体,且衔接箱体的内部中部安装有竖杆,所述衔接箱体的内部上侧安装有高压喷水板,且竖杆的外侧与衔接箱体的内部外侧均固定安装有刀片,所述衔接箱体的内部下侧安装有过滤网,所述衔接箱体的下端安装有第一盒体;绞龙箱,其固定安装在机体的右端,且绞龙箱的内部转动安装有绞龙本体,所述机体的内部左端上侧安装有搅拌机构;衔接杆,其安装在机体的内部下侧,所述移动板的外侧连接有第二盒体。该药学研究用废物处理装置,方便对药学固体废物进行粉碎,方便对固体废物进行压缩成块,且对药学废物的处理效果好。

标签:
固废
江苏 - 南通 来源:中冶有色网 2023-03-19
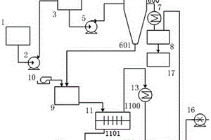
水合肼废液的回收处理装置

本实用新型提供一种水合肼废液的回收处理装置,包括与高浓度水合肼废液管道相连的废液储存罐、废液泵、酸化反应釜、酸化出料泵和蒸发浓缩器,蒸发浓缩器的轻相物质出口连接尾水冷凝罐,重相物质出口顺次连接碱化反应釜、真空干燥器,真空干燥器的固相物质出口连接固体回收装置,气相物质出口连接气相冷凝器和水合肼收液罐。本实用新型能高效回收废液中水合肼组分,分离出无毒害的无机盐组分,最终排出的尾水从危废变为普通污水,可直接进入污水站进行生化处理,节省了所有危废处理费用,回收的高纯度水合肼重新用于生产环节,充分利用资源、节约成本并减少对环境的污染。

标签:
固废
江苏 - 南通 来源:中冶有色网 2023-03-19
全自动废水处理系统
全自动废水处理系统 1194     
 0

本实用新型属于废水处理技术领域,且公开了全自动废水处理系统,包括过滤箱和废水处理箱,所述废水处理箱的前表壁安装有PLC控制器,所述过滤箱的顶端旋合连接有顶盖,所述顶盖的顶端连接有废水进管,且顶盖的内壁交错连接有导液板,所述过滤箱的内部底端固定有过滤板,且过滤箱的内部上端安装有半球形过滤网,本实用新型通过增设半球形过滤网,可对待处理的废水进行一次过滤,初步过滤的废水再经过过滤板进行二次过滤,可有效去除较小的固体杂质,过滤效果好,能够有效避免管道和泵体的堵塞,此外,通过增设交错的导液板,利用导液板先接触废水,可有效降低废水接触半球形过滤网时的冲击力,能够有效避免半球形过滤网的损坏。

标签:
固废
江苏 - 南通 来源:中冶有色网 2023-03-19
含铝废硝酸处理方法
含铝废硝酸处理方法 722     
 0

本发明提供一种所述含铝废硝酸处理方法,包括:在含铝废硝酸中加入氧化钙;废硝酸与氧化钙均匀反应至PH值稳定后,通入氨气,将溶液的PH值调整到5~7;分离固体氢氧化铝;对剩余液体进行蒸发脱水,待结晶出现后,将具有结晶的液体引入蒸发造粒装置,生产硝基复合肥,蒸发出来的水冷却后排放。所述含铝废硝酸处理方法采用含铝废硝酸生产硝基复合肥并副产氢氧化铝的工艺路线,整个处理过程无危险工艺,处置工艺安全,水可达标排放,无二次污染,在对污染无害化处理的同时,将资源得到了合理利用。

标签:
固废
江苏 - 南通 来源:中冶有色网 2023-03-19
危险废物的资源化处置装置

本实用新型提供了一种危险废物的资源化处置装置。该危险废物的资源化处置装置包括还原设备、炉排炉、煅烧设备、烟气净化系统和收集设备。还原设备用于供含氧化锌类危险废物、高热值类危险废物和废活性炭类危险废物配伍后的混合物反应;炉排炉设置于还原设备的下游,以接收还原设备的固体废物,并进行焚烧;煅烧设备设置于还原设备和炉排炉的下游,以接收还原设备的锌气体和炉排炉的烟气,并进行氧化煅烧;烟气净化系统设置于煅烧设备的下游,以接收烟气并净化烟气使其达到排放标准;收集设备设置于煅烧设备的下游,用于收集氧化锌固体颗粒。

标签:
固废
江苏 - 南通 来源:中冶有色网 2023-03-19
废硫酸的处理工艺
废硫酸的处理工艺 934     
 0

本发明公开了一种废硫酸的处理工艺,涉及化工领域。本发明中废硫酸的处理工艺包括:一次过滤、冷却萃取,二次过滤、三次过滤、高温浓缩;先将废硫酸压滤去除固体杂质,得到一次过滤的废硫酸;再将一次过滤的废硫酸冷却萃取去除喹啉,得冷却萃取的废硫酸;随后向冷却萃取的废硫酸中加入氢氧化锌压滤,得到二次过滤的废硫酸;然后向二次过滤的废硫酸中通入氯气过滤,得到三次过滤的废硫酸和滤渣氯化锌吡啶络盐,氯化锌吡啶络盐碱分解得氢氧化锌,再次投入二次过滤中使用;最后将三次过滤的废硫酸高温浓缩,得到处理后的硫酸,尾气利用热碱液喷淋处理。本发明中废硫酸的处理工艺的工艺步骤简单、绿色环保、能耗低,处理后的硫酸浓度高且COD值低。

标签:
固废
江苏 - 南通 来源:中冶有色网 2023-03-19
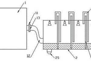
车间废气集中处理装置

本发明公开了一种车间废气集中处理装置,包括吸风机(1)、水塔(2)、固体颗粒过滤装置(3)、净化装置(4)组成。吸风机(1)的一端通过管道与废气排污口相连接。吸风机(1)的另一端通过管道与水塔(2)连接。水塔(2)通过管道与固体颗粒过滤装置(3)相连接。固体颗粒过滤装置(3)通过管道连接有净化装置(4)。净化装置(4)还连接有一个吸风机(1)。本装置设有多级净化装置,可以有效处理废气。本装置设有两个吸风机可以提高废气抽出和排出的效率。本装置构造简单、使用方便且制造成本低廉。

标签:
固废
江苏 - 南通 来源:中冶有色网 2023-03-19
上一页 26 27 28 29 30 ... 34 下一页
共34页    到第

中冶有色为您提供最新的江苏南通有色金属固/危废处置技术理论与应用信息,涵盖发明专利、权利要求、说明书、技术领域、背景技术、实用新型内容及具体实施方式等有色技术内容。打造最具专业性的有色金属技术理论与应用平台!

全国热门有色金属设备推荐
展开更多 +
全国热门有色金属技术推荐
展开更多 +

 

江西省隆恩特环保设备有限公司
宣传

报名参会
更多+

报告下载

有色专家
更多+

湖南有色金属研究院
教授级高工/原总工程师
中国矿业大学
副院长/教授
武汉科技大学
院长 / 教授
中南大学
教授、博士生导师
中国有色金属工业协会
教授级高级工程师
赤泥综合利用研究报告2025
推广

热门技术
更多+

推荐企业
更多+

福建省金龙稀土股份有限公司
宣传

发布

在线客服

公众号

电话

顶部
咨询电话:
010-88793500-807