青岛垚鑫智能科技有限公司
宣传

位置:中冶有色 >

有色技术频道 >

> 固/危废处置技术

分类:
全部
矿山技术
冶金技术
材料制备及加工技术
环境保护技术
分析检测技术
 
全部
废水处理技术
大气治理技术
固/危废处置技术
土壤修复技术
地区:
全部
北京
天津
上海
重庆
河北
山西
辽宁
吉林
黑龙江
江苏
浙江
安徽
福建
江西
山东
河南
湖北
湖南
广东
海南
四川
贵州
云南
陕西
甘肃
青海
内蒙
广西
西藏
宁夏
新疆
其他
其他
展开
 
全部
南京
无锡
徐州
常州
苏州
南通
连云港
淮安
盐城
扬州
镇江
泰州
宿迁

江苏南通有色金属固/危废处置技术理论与应用

免费发布技术信息>>
具有分散结构的环保型印染废水处理装置

本实用新型公开了一种具有分散结构的环保型印染废水处理装置,涉及印染废水处理技术领域,包括装置外壳,所述装置外壳的左侧安置有入料口,所述装置外壳的内部设置有安装架,所述安装架的上表面设置有过滤桶,所述过滤桶的外表面对称设置有两个固定板,两个所述固定板的内部均连接有夹持块,所述夹持块的外表面连接有夹持气缸;驱动电机,其设置在所述装置外壳的上表面,所述驱动电机的输出端连接有安装杆,所述安装杆的外表面设置有分散叶片,所述安装杆的外壁对称设置有四个连接杆。该具有分散结构的环保型印染废水处理装置过滤桶,能够对废水中的杂质进行格挡过滤,从而进行固体和液体分离,降低该环保型印染废水处理装置发生堵塞的情况。

标签:
固废
江苏 - 南通 来源:中冶有色网 2023-03-19
空气净化用废气洗涤塔防堵塞装置

本实用新型提供一种空气净化用废气洗涤塔防堵塞装置,设计空气净化领域,包括有洗涤塔和水洗处理组件,水洗处理组件包括有水洗箱、补水管、出水管、进气管和出气管,补水管、出水管、进气管和出气管均和水洗箱连通设置,出气管连通洗涤塔设置,洗涤塔顶端连通有排气管,洗涤塔内部安装有喷淋洗涤组件,洗涤塔底端连通有排液管,出水管和排液管上安装有阀门,排液管和出水管连通有集液管,集液管连通有废液箱,通过上述方式,通过水洗处理组件进行废气的预处理,废气内携带的固体颗粒杂物被去除,相比于直接通过洗涤塔洗涤处理,可以有效避免洗涤塔内部结垢,导致堵塞。

标签:
固废
江苏 - 南通 来源:中冶有色网 2023-03-19
羊毛洗涤废水中油脂提取装置

本实用新型公开了羊毛洗涤废水中油脂提取装置,具体涉及羊毛油脂回收领域,包括初级提取滤箱,所述初级提取滤箱上方自内向外设置有离心提纯组件,所述初级提取滤箱内自输入端到输出端分别设置有滤水区、静水区和排水区,所述滤水区与静水区之间固定连接有固体杂质滤板,所述静水区和排水区之间固定连接有底部固定连接通水滤板的隔离浮油板。本实用新型通过设置初级提取滤箱,使得进入离心机内的废水提前先经过初级过滤,使得离心机降低液体的处理量,从而加快对洗涤废水的处理,使得有限时间内可以处理提取更多的羊毛脂,从而使得在有限时间内能够处理提取更多的废水,使得产能有所提高。

标签:
固废
江苏 - 南通 来源:中冶有色网 2023-03-19
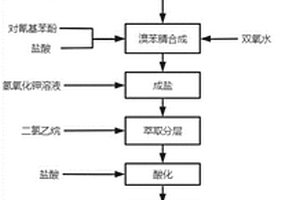
更安全的利用溴化钾废水合成高品质溴苯腈的方法

本发明公开了一种更安全的利用溴化钾废水合成高品质溴苯腈的方法,具体涉及化工生产领域,包括反应、萃取分层、吸附过滤、成盐、脱水结晶、过滤干燥,具体合成工艺为首先在瓶中投入20%溴化钾废水,加入次氯酸钠,调节PH,加入萃取剂,加入吸附剂,去除大分子焦油杂质;其次在溶液中投入98%对氰基苯酚和盐酸后升温,滴加双氧水后保温3小时,取样中控,再降温,加入氢氧化钾水溶液后升温,溶液变成澄清状;接着加入萃取剂萃取,降温后滴加盐酸,析出大量纯白色固体后烘干,将母液脱水结晶后再过滤干燥得到氯化钾,本发明使得处理废水在使用次氯酸钠在酸性条件下,去除废水中影响颜色的杂质,保障了最终产品的颜色为纯白色。

标签:
固废
江苏 - 南通 来源:中冶有色网 2023-03-19
含有KCl的废水的循环利用方法

本发明公开了一种含有KCl的废水的循环利用方法,将麦草畏中间体3,6‑二氯水杨酸合成工艺中产生的含KCl废水过滤、调pH、离子交换、升温浓缩后得到含有碳酸钾的浓缩液;将浓缩、2,5‑二氯苯酚、二甲苯、液钾搅拌升温,回流带水至釜温125‑130℃,投入催化剂再升温至155‑160℃,充二氧化碳至压力6‑6.5MPa,保温反应3hr,降温卸压后,合成液加水,加酸酸化、离心得固体即3,6‑二氯水杨酸。经本发明方法处理后,氯化钾废水得到有效利用,得到的浓缩液又可作为原料直接回用到3,6‑二氯水杨酸的合成,从而实现了氯化钾废水的资源化循环利用,达到清洁生产的目的。本发明方法得到的产物中3,6‑二氯水杨酸的含量大于96%,转化率70‑77%。

标签:
固废
江苏 - 南通 来源:中冶有色网 2023-03-19
废水中苯基胍碳酸盐回收套用方法及其装置

本发明提供了一种废水中苯基胍碳酸盐回收套用方法,采用如下顺序的回收工艺步骤:将离心母液全部收集到水箱内自由沉降,未沉降的液态物料流经含有微孔的滤膜过滤,收集滤膜微孔中固体;将水箱中沉积物料通过箱底的氮气鼓泡,输送到离心机内,再次进行固液分离;将收集到的固体投到加成釜内,通过盐酸酸化,pH控制在4.5‑5.0,然后通过压滤设备压滤掉二胍、尿素等副产物,回收苯基胍盐酸盐,再获得最终产品苯基胍碳酸盐。本发明能将废水中的有效固体通过酸化和置换反应变成苯基胍碳酸盐,有用成分得以充分回收利用。

标签:
固废
江苏 - 南通 来源:中冶有色网 2023-03-19
预防传染源传播的医疗废物分离处理装置

本发明公开了一种预防传染源传播的医疗废物分离处理装置,包括消毒筒,所述消毒筒的内壁固定有隔板,所述隔板中心的顶部开设有孔,且孔内安装有可间歇转动和上下移动的进料管,所述进料管的顶端穿出消毒筒的顶部,且与所述消毒筒的贯穿处滑动且转动连接,所述进料管的底端通过连接杆连接有过滤槽,所述过滤槽的过滤孔开设在侧壁,所述消毒筒的底部连通有排液管,且所述排液管内安装有电磁阀。本发明通过结构之间的配合,达到对废液和固体废物起到固液分离的同时,还可以同时对其进行消毒杀菌的效果,而且还可以使用与消毒的二氧化氯(片剂)发生器气体可以充分溶解在废水中,提高消毒效果,同时装置体积较小,方便临时的搬运和搭建。

标签:
固废
江苏 - 南通 来源:中冶有色网 2023-03-19
中温高浓度高悬浮物有机废水处理的工艺

本发明公开了一种中温高浓度高悬浮物有机废水处理的工艺,其特征在于:将废水调节温度至35-40℃和pH值在5.0-8.0之后进入调节池,然后从调节池内进入中温全混厌氧反应器进行厌氧反应,厌氧反应时,投料量为5kg/m3d,反应温度为50℃~60℃,产出的沼气进行回收利用,液体进行固液分离,分离后的固体经压滤后进行后续处理,固液分离后所得液体进行沉降,沉降后所得液体经过气浮操作以及好氧生物处理,将沉降、气浮和好氧生物处理过程中得到的污泥回收至调节池,废水进行排放或深度处理。优点是:能在中温条件培育出适用于高浓度高悬浮物有机废水处理的菌种,分解效果好。

标签:
固废
江苏 - 南通 来源:中冶有色网 2023-03-19
食用废弃油制备聚甘油脂肪酸的方法

本发明公开了一种食用废弃油制备聚甘油脂肪酸的方法,属于聚甘油酯的制备技术领域。所述方法先对废弃油进行预处理,处理后的废弃油和纯化水水解得到脂肪酸、水蒸气、粗甘油和油脂,所得脂肪酸与水蒸汽经过蒸馏去除水蒸汽,得到脂肪酸产品;所得粗甘油经过分离、离心提纯、精制和聚合反应得到聚甘油,最终将聚甘油和脂肪酸送入酯化反应釜中,加入适量固体碱KOH/Al2O3催化剂,通氮气保护、加热搅拌进行酯化反应得到聚甘油脂肪酸酯产品。本方法不但可以变废为宝,而且反应产物纯度高,性状优良,性能稳定,具有很高的生产和应用价值。

标签:
固废
江苏 - 南通 来源:中冶有色网 2023-03-19
含磷金属污泥及废酸制成磷酸铁的方法

本发明公开了一种含磷金属污泥及废酸制成磷酸铁的方法,包括:预处理:取适量的废盐酸和浓盐酸加入到调节罐内,充分进行搅拌,调节废盐酸和浓盐酸混合液的浓度,然后加入一定量的含磷金属污泥,再加入适量的低浓度废酸反应1‑3h,之后加入一定量的铁粉把三价铁还原成亚铁;中和沉淀处理:调节混合液的PH值,然后再加入适量的某种硫化物沉降剂反应沉降重金属离子,使反应液中的铅锌重金属离子沉淀;固液分离处理;氧化调节处理:将步骤c中得到的氯化亚铁水处理剂中添加适量的氧化剂,反应0.5‑2h,得到磷酸铁沉淀,然后通过压滤分离,得到的固体产物为磷酸铁,液体为无磷氯化亚铁水处理剂。

标签:
固废
江苏 - 南通 来源:中冶有色网 2023-03-19
CMC废水中羟基乙酸钠提取方法

本发明涉及一种CMC废水中羟基乙酸钠提取方法。具体在于以下步骤:提取母液,CMC含盐废水通过MVR蒸发器蒸发,去除80%的无机盐, 剩下的是含盐10?15%,水分在35?50%的有机物,得到母液;母液中35?50%的有机物其中90%是羟基乙酸钠;将母液的PH值用氢氧化钠调节到10,60℃左右趁热过滤,用乙醇溶剂从液体中提取,得到粗品羟基乙酸钠固体;然后再用硫酸酸化并作催化剂,用甲醇进行酯化,得到羟基乙酸甲酯,最后水解转化为纯度达到70%的羟基乙酸溶液。优点是设计完善,使用方便,CMC废液经处理后,盐分被有效地脱除、产生一部分达到工业回用水标准的再生水,剩余的浓缩废液用于进一步的化学处理,得到有较高经济价值的化工产品。

标签:
固废
江苏 - 南通 来源:中冶有色网 2023-03-19
精制棉废液生化处理固液分离装置

本实用新型公开了一种精制棉废液生化处理固液分离装置,包括分离机本体,分离机本体顶部设有向上凸起的锥形封盖,封盖顶部设有进污口;分离机本体内部底部设有一凸台,凸台的底部外径小于分离机本体的内径,凸台的中部从下方至上方直径逐渐减小,凸台的顶部呈半球状;凸台内部中空且表面均匀分布有若干镂孔,凸台表面设有若干层滤纸;分离机本体底部位于凸台的下方设有出液口;分离机本体的下方还设有废液收集池。本技术方案废液从分离机本体顶部进污口进入分离机本体内部,在经过凸台顶部的滤纸过滤出固体,液体从分离机底部流出进入废液收集池,整个过程操作方便且高效的完成固液分离,效果明显。

标签:
固废
江苏 - 南通 来源:中冶有色网 2023-03-19
用于医院废水处理的装置

本实用新型公开了一种用于医院废水处理的装置,涉及废水处理技术领域,具体为一种用于医院废水处理的装置,包括化粪池、格栅井。该用于医院废水处理的装置,通过化粪池、格栅井、调节池、A/O生物一体化处理箱、消毒池、巴氏计量槽的配合使用,将污水预处理、物化处理、生化处理及消毒处理进行有机组合,能够适应处理中小型医院的医疗污水及生活用水,该装置耐冲击负荷能力和固体SS水解能力强,脱氮除磷效率高,占地面积小,运行费用低,处理效果稳定,系统为地埋式废水处理装置,无需占用地表面积,地表可作为绿化或广场用地,无需考虑采暖保温,适应性强,且建设成本低,提高了该用于医院废水处理的装置的实用性。

标签:
固废
江苏 - 南通 来源:中冶有色网 2023-03-19
吡哆醇制备吡哆醛所产生废水的处理方法及专用设备

本发明公开了一种吡哆醇制备吡哆醛所产生废水的处理方法及专用设备,采用氧化剂氧化污水中的可溶性锰盐,制备出不溶性二氧化锰固体,过滤回收二氧化锰固体;回收过二氧化锰后的污水进一步经过电解提高B/C、活性炭脱色、生化处理。本发明采用氧化、电解、辅助脱色再加上生化,组合处理吡哆醛氧化工段废水,不仅能够回收二氧化锰资源,还可以解决成本高,生化不适用的问题,一举多得。简洁高效、低成本。

标签:
固废
江苏 - 南通 来源:中冶有色网 2023-03-19
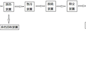
工业废物高温焚烧烟气净化处理工艺

本发明公开了一种工业废物高温焚烧烟气净化处理工艺包括以下步骤:1)将工业废物预处理;2)将废物装入焚烧炉中,控制焚烧炉中的温度,将废物燃烧;3)通过换热装置,降低烟气温度;4)通过急冷装置,再次降低烟气温度;5)通过脱酸装置,除去所述烟气中的酸性气体;6)通过除尘装置,除去所述烟气中的固体烟尘颗粒;7)通过喷淋装置,将所述烟气中的酸性气体及可溶于水的微尘粒子进行冲淋并收集到废液收集池中;8)通过静电除雾装置,除去微尘粒子及喷淋洗涤后的水雾;9)通过吸附装置,除去所述烟气中的有害气体二噁英等;10)通过检测装置,检测结果符合标准即可排出。本发明工艺简单,可操作性强,便于自动化操作,净化烟气效果明显。

标签:
固废
江苏 - 南通 来源:中冶有色网 2023-03-19
船舶废气脱硝装置
船舶废气脱硝装置 1187     
 0

本发明公开了一种船舶废气脱硝装置,包括:输气管、颗粒捕集与自清洁系统、废气驱动尿素溶液喷射器、SK‑4‑90静态混合器、温控催化器与排放管,输气管上依次设有颗粒捕集与自清洁系统、废气驱动尿素溶液喷射器、SK‑4‑90静态混合器,输气管的出口与温控催化器的入口连接,温控催化器的出口与排放管连接。本发明船舶废气脱硝装置能够实现对船舶废气中的固体颗粒进行过滤与自清洁、对尿素溶液雾化效果良好、废气混合物混合与分布均匀,且催化反应始终处于最佳反应温度区间。

标签:
固废
江苏 - 南通 来源:中冶有色网 2023-03-19
快速处理有机废物的方法

本发明公开了一种快速处理有机废物的方法,涉及农业和通过使用液体或固体形式的富硅材料提高天然和合成的富钙物质的效率。方法包括混合料的配制、水的添加、培养和干燥。利用该方法可以制备高效的农业土壤改良剂。同时减少了有机废弃物对栽培植物、土壤和环境的所有负面影响,提高了有机废弃物的利用效率。

标签:
固废
江苏 - 南通 来源:中冶有色网 2023-03-19
可回用甲醛废水的氨基三亚甲基磷酸及其盐的生产工艺

本发明公开了一种可回用甲醛废水的氨基三亚甲基膦酸及其盐的生产工艺,以甲醛废水、亚磷酸、多聚甲醛、氯化铵、液碱为原料,以下各物质的加入量按重量份计,具体包括下述操作步骤:清洗反应釜及相关设备,关闭反应釜底阀;将氨基三亚甲基膦酸生产过程中浓缩、冲蒸阶段含有甲醛的废水220‑280份抽入反应釜;开启固体投料口,加入多聚甲醛120‑150份;开启冷凝器,搅拌,加热升温;本发明提供了一种可回用甲醛废水的氨基三亚甲基膦酸及其盐的生产工艺,生产的氨基三亚甲基膦酸产品活性成分含量在48~52%,其他指标也均符合正常氨基三亚甲基膦酸或其盐生产指标,可以满足电子行业、针织行业,印染行业等对氨基三亚甲基膦酸或其盐的质量要求。

标签:
固废
江苏 - 南通 来源:中冶有色网 2023-03-19
平板膜生物反应器和反渗透的综合膜集成系统的废水处理工艺

本发明公开了一种平板膜生物反应器和反渗透的综合膜集成系统的废水处理工艺,预处理后的纺织废水先进行好氧生化处理或缺氧与好氧相结合的生化处理,然后通入采用平板式聚偏氟乙烯膜组件的膜生物反应器进行处理,膜生物反应器的产水再经过苦咸水反渗透膜进行反渗透处理。纺织废水经本发明处理后,得到的处理水中,总硬度低于0.2ppmas?CaCO3,而且电导率在10~200uS/cm。该产水符合工厂水回收的要求,可以作为工业用水使用。该方法克服了纺织废水中特殊物质、较高溶解性固体浓度、有机物浓度和化学成分波动大等问题,处理水质稳定可靠且膜清洗等操作简单易得。

标签:
固废
江苏 - 南通 来源:中冶有色网 2023-03-19
用于废水处理的电渗析装置

本发明公开了一种用于废水处理的电渗析装置,包括:静置箱,静置箱连通有进水管和出水管;电源,电源的正负极分别穿过静置箱的两侧,并连接有导电板,导电板固定连接在静置箱的内侧壁上,两个导电板分别对应有阴离子膜和阳离子膜,阴离子膜和阳离子膜均位于静置箱内。由于采用了刮片的设置,且刮片可与阴离子膜和阳离子膜贴合,对刮片的移动,使得刮片刮取阴离子膜和阳离子膜上附着的固体悬浮物,有效解决了现有技术中利用电渗析工艺处理废水需要周期性地拆开相应设备并对阴、阳离子膜进行清洗而导致相应设备无法持续处理废水的问题,进而实现了电渗析设备不需要停止工作拆卸阴、阳离子膜,可持续性对废水进行处理。

标签:
固废
江苏 - 南通 来源:中冶有色网 2023-03-19
碳纤维环保加工用废气处理装置

本实用新型公开了一种碳纤维环保加工用废气处理装置,包括抽气机、连接罩、第一输气管、水洗箱、排液管、第二输气管和空气净化器,所述抽气机的下部安装有连接罩,所述抽气机的上部设置有出气口,所述出气口的上部安装有第一输气管,所述第一输气管的右端安置在水洗箱上,所述水洗箱的上部安装有箱盖。本实用新型通过设置的抽气机、连接罩、第一输气管、水洗箱、排液管、第二输气管和空气净化器,利用清洗液清除分离废气中的固定颗粒以及可溶性有害气体,再次经过空气净化器处理废气中的有害物质后排出,有效避免废气污染外界的环境,过滤网过滤掉废液中的固体颗粒后从排液管排放到外界的废水处理装置中处理,有效避免废水污染外界的环境。

标签:
固废
江苏 - 南通 来源:中冶有色网 2023-03-19
肝素钠废水盐水分离高速离心机

本发明涉及一种肝素钠废水盐水分离高速离心机,包括机壳,其创新点在于:所述机壳内置有一由电机驱动的离心筒,所述离心筒壁上均匀分布有若干筛孔;还包括一同轴设置在离心筒外的分离筒,所述分离筒侧壁开有若干分离窗,所述分离窗上安装有微滤膜。使用时,将肝素钠废水注入离心筒内,利用电机驱动离心筒转动,使得肝素钠废水在离心作用下穿过筛孔甩到分离筒壁上,其中含有的固体杂质则留在离心筒内,水在离心力作用下穿过微滤膜,即可对其进行盐水分离,实现盐和水的回收利用,提高资源有效利用率。

标签:
固废
江苏 - 南通 来源:中冶有色网 2023-03-19
嘧菌酯中间体产生的含磷废水的资源化利用方法

本发明提供了一种嘧菌酯中间体产生的含磷废水的资源化利用方法,所述资源化利用方法包括如下步骤:(1)调节含磷废水的pH值为2‑8,得到调节废水;(2)蒸发浓缩步骤(1)所得调节废水,然后进行固液分离,得到氯化钠固体与磷酸二氢钠溶液;(3)煅烧步骤(2)所得磷酸二氢钠溶液,得到六偏磷酸钠产品。本发明提供的资源化利用方法能够实现对嘧菌酯中间体产生的含磷废水的利用,并将其中的磷酸三钠转化为硫酸二氢钠,进而可以得到六偏磷酸钠产品,所述资源化利用方法工艺简单,其能够使含磷废水中磷的回收率在95%以上。

标签:
固废
江苏 - 南通 来源:中冶有色网 2023-03-19
3,5,6-三氯吡啶-2-醇钠废水的处理方法

本发明公开了一种3,5,6-三氯吡啶-2-醇钠废水的处理方法,依次包括采用醇钠生产过程中产生的酸性尾气调节废水pH值到2~5;将废水进入微电解槽,微纳米曝气2-4小时;电解出水加入35%双氧水氧化2-4小时,处理过程中加入活性炭;加固体氢氧化钠调pH至7~9,滤除活性炭及污泥,蒸出废水质量80-85%的水,得到工业盐;母液加入下一批废水,再次进行处理。本发明创造性地将微纳米气泡技术与铁碳微电解技术联用进行曝气微电解,再联合芬顿氧化-絮凝沉降-蒸馏工艺,不但对醇钠废水进行了有效的处理,还解决了醇钠生产过程中尾气的排放问题,同时副产工业盐,经济环保,安全可靠。

标签:
固废
江苏 - 南通 来源:中冶有色网 2023-03-19
去除废水中氰化物的方法

本发明涉及一种去除废水中氰化物的方法,所述方法包括如下步骤:(1)在中性条件下,将电镀污水采用离子交换法进行反应处理,反应后形成具有层状结构的类水滑石化合物固体,称为LDHs脱氰剂;(2)将含氰废水调整为中性条件,再加入步骤(1)的LDHs脱氰剂进行反应,所述?LDHs脱氰剂将含氰废水中的氰化物置换去除;(3)将反应后的LDHs脱氰剂在650℃条件下焙烧,LDHs?脱氰剂即可再生。本发明的优点在于:本发明通过将工业废物电镀污水资源化处理,不但缓解环境污染,而且能获得脱氰剂原位用于废水脱氰,使废物得到充分利用,实现资源化再生利用的目的;本发明的方法操作简单,条件易于控制,简化了处理工艺。

标签:
固废
江苏 - 南通 来源:中冶有色网 2023-03-19
钒氮合金废料的回收利用方法

本发明公开了一种那个钒氮合金废料的回收利用方法,包括以下步骤:收集钒氮合金废料后,焙烧3.5~4.5小时;向钒氮合金废料中缓慢加入浓度为2%的硫酸溶液,将钒溶解;取出溶解后的清液,放入药罐中,添加工业氢氧化钠溶液调节PH值至6.2~6.8;然后充氨,加压搅拌10~11小时,得白色沉淀,甩干机过滤得白色粉末,白色粉末与原料偏钒酸铵混合使用;废液循环使用数次,送至燃气炉上方蒸发锅内蒸发,蒸发后的固体废料回收处理;蒸发锅合成尾气回收集中供给燃气炉。本发明能够提高钒氮合金的利用率,经济环保,降低生产成本。

标签:
固废
江苏 - 南通 来源:中冶有色网 2023-03-19
四甲基氢氧化铵废液的提纯设备

本实用新型公开了一种四甲基氢氧化铵废液的提纯设备,包括冷却结晶釜、入料口和水泵,所述冷却结晶釜内部的中间位置活动连接有搅拌杆,且冷却结晶釜顶端的一侧设置有入料口,压滤机的内部设置有多个第一滤板,所述第一滤板的一侧设置有滤框,且滤框的一侧设置有第二滤板,所述冷却结晶釜外部一侧的底端安装有水泵,且冷却结晶釜外部一侧的顶端安装有控制面板。本实用新型通过在冷却结晶釜内部废水冷却结晶后,水泵会将废液与晶体一同通过导管抽入压滤机内部进行压滤,压滤结束后,废水会通过废水出口排出,则可以将固体四甲基氢氧化铵取出,然后溶于软水中,如此得到提纯产物,过程中不会对四甲基氢氧化铵的活性造成影响,提高了提纯的效率。

标签:
固废
江苏 - 南通 来源:中冶有色网 2023-03-19
胶乳废水的处理系统
胶乳废水的处理系统 1188     
 0

本实用新型涉及一种胶乳废水的处理系统,包括依次连通的废水池、隔油沉淀池、中间水池、铁炭微电解池、催化氧化器、中和混凝池、气浮系统、调节池、水解酸化池、好氧池、沉淀池和排放水池。本实用新型的优点在于:本实用新型胶乳废水的处理系统,先通过隔油沉淀池去除水中的油相,再通过气浮系统去除水中的固体,经过多次处理去除水中的固体杂质,进而使得处理后的废水能够达标处理。

标签:
固废
江苏 - 南通 来源:中冶有色网 2023-03-19
玻璃纤维拉丝产生的浸润剂废剂制作成浸润剂的方法

本发明公开了一种玻璃纤维拉丝产生的浸润剂废剂制作成浸润剂的方法,通过将玻璃纤维拉丝过程中产生的大量的废剂经过过滤固体杂质后,测试回收废剂浸润剂有效成分的含量,然后按照一定配比,在浸润剂废剂中添加偶联剂、成膜剂、润滑剂以及PH调节剂等组分,配制成一定固含量的浸润剂,该浸润剂满足砂轮网片树脂型浸润剂的要求。本发明主要是经过成分分析,对其废液中缺失的成分进行补充,并对废弃的杂质进行净化去除,得到废物再利用的目的。

标签:
固废
江苏 - 南通 来源:中冶有色网 2023-03-19
腹透废液自动处理装置

本发明公开了一种腹透废液自动处理装置,包括方形外壳、投料斗、废液挤出单元、固液分离单元以及消毒液添加单元,废液挤出单元设置于方形外壳的内部上方,固液分离单元设置于方形外壳的内部下方。本发明的,可防止引流袋炸裂,可避免引流袋内部的废液喷射得方形外壳的内部到处都是,以保证其能够正常使用,引流袋可以顺利落入固体收集盒的内部,可代替医护人员对使用后的引流袋进行处理,不仅可以有效降低医护人员的工作强度,还能够有效提高工作效率,同时还能杜绝医护人员被废液中携带的病菌感染的安全隐患,制备的防护层,使得其寿命较长和使用性能较好,尤为重要的是可防止长时间使用因粘有脏污而滋养细菌导致发臭。

标签:
固废
江苏 - 南通 来源:中冶有色网 2023-03-19
上一页 25 26 27 28 29 ... 34 下一页
共34页    到第

中冶有色为您提供最新的江苏南通有色金属固/危废处置技术理论与应用信息,涵盖发明专利、权利要求、说明书、技术领域、背景技术、实用新型内容及具体实施方式等有色技术内容。打造最具专业性的有色金属技术理论与应用平台!

全国热门有色金属设备推荐
展开更多 +
全国热门有色金属技术推荐
展开更多 +

 

江西省隆恩特环保设备有限公司
宣传

报名参会
更多+

报告下载

有色专家
更多+

有研科技集团有限公司
首席科学家
蒙纳士苏州校区
中国工程院外籍院士/校长
北京科技大学
副院长/教授
北京航空航天大学、中国工程院
院士
红河学院
研究员
赤泥综合利用研究报告2025
推广

热门技术
更多+

推荐企业
更多+

福建省金龙稀土股份有限公司
宣传

发布

在线客服

公众号

电话

顶部
咨询电话:
010-88793500-807