青岛垚鑫智能科技有限公司
宣传

位置:中冶有色 >

有色技术频道 >

分类:
全部
矿山技术
冶金技术
材料制备及加工技术
环境保护技术
分析检测技术
 
全部
废水处理技术
大气治理技术
固/危废处置技术
土壤修复技术
地区:
全部
北京
天津
上海
重庆
河北
山西
辽宁
吉林
黑龙江
江苏
浙江
安徽
福建
江西
山东
河南
湖北
湖南
广东
海南
四川
贵州
云南
陕西
甘肃
青海
内蒙
广西
西藏
宁夏
新疆
其他
其他
展开
 
全部
其他

其他有色金属环境保护技术理论与应用

免费发布技术信息>>
回收磷的方法
回收磷的方法 804     
 0

一种从燃烧设备的灰烬中回收磷的方法,所述燃烧设备以可再生资源和/或废料作为固体燃料,所述方法包括将来自以可再生能源和/或废料作为固体燃料的燃烧设备的灰烬与硫酸溶液混合的阶段以提取其中所含的磷;还描述了用于执行所述方法的系统。

标签:
固废
其他 - 其他 来源:中冶有色网 2023-03-19
摩托车空气调节系统
摩托车空气调节系统 1173     
 0

公开了一种摩托车个人冷却系统,它利用了采用固体吸收的废热。该系统包括空气分配模块和环绕摩托车排气管的一个或多个干燥剂室。送风机吹送环境空气穿过热交换器,使空气冷却,将热量传递给热交换器,将热量传递给水,使水沸腾,并将水变成随后被干燥剂吸收的蒸汽。然后,将热源应用于干燥剂,使干燥剂释放蒸汽,该蒸汽移动到热交换器之一并且该水蒸汽冷凝成水。摩托车骑乘者所穿的冷却服具有冷空气入口和排气出口。该冷却服的冷空气入口接收来自送风机的冷却空气,而身体热量从排气出口离开。

标签:
固废
其他 - 其他 来源:中冶有色网 2023-03-19
使用动物和/或植物酶但完全不用石灰和硫化物的去毛方法

本发明涉及一种使用动物和/或本草(植物)酶但完全不用石灰和硫化物的对皮/生皮进行去毛的新方法,所述方法包括:将皮或生皮预先浸泡在水中;将所述皮/生皮的肉面或毛面涂上酶溶液并除去浸泡液;将所述生皮/皮转移至含有酶的水浴中进行去毛,进行或不进行间歇性的摇动,维持液体浴的pH为4.5-10.0;使所述皮/生皮于环境温度下在该浴中保持12-24小时,然后去毛以进行进一步加工。该方法中完全不用石灰和硫化物,这导致在废水中TDS(总溶解固体)、BOD(生物耗氧量)和COD(化学耗氧量)降低,但不影响皮/生皮的胶原或纹理模式。

标签:
固废
其他 - 其他 来源:中冶有色网 2023-03-19
硫酸蒸汽冷凝制取硫酸的方法

将含硫酸蒸汽和过量水蒸汽的气体(例如来自发 电站的废气)冷凝,可使逸出至周围环境中的硫酸小 液滴(即酸雾)量大大减少,在硫酸装置配备气溶胶过 滤器亦为如是;办法是向气体中加入小的成核核心, 加入量为气体中每0.1%H2SO4蒸汽每标准立方米 109-1012个固体颗粒。这些核心例如可来自燃烧 >C2烃或硅氧烷,或来自电弧或电焊的烟气。

标签:
固废
其他 - 其他 来源:中冶有色网 2023-03-19
聚α烯烃和形成聚α烯烃的方法

本发明涉及聚α烯烃(PAO)和形成PAO的方法。在一个实施方案中,本发明涉及形成PAO的方法,该方法包括在反应容器内,在氢气,C8-C12饱和烃,例如C8-C12饱和直链烃,和催化剂体系存在下,聚合C8-C12α-烯烃单体,其中C8-C12饱和直链烃具有与C8-C12α-烯烃单体大致相同的碳原子数。C8-C12饱和直链烃任选地来自于通过本发明方法形成的粗PAO产物。本发明还涉及实施本发明方法的反应系统,涉及基于停留时间控制PAO粘度的方法,和涉及使用固体吸附剂颗粒除去废催化剂的方法。

标签:
固废
其他 - 其他 来源:中冶有色网 2023-03-19
加热粉尘材料的方法
加热粉尘材料的方法 870     
 0

提供加热包含粒状材料的固体材料的方法。在加热粒状材料之前,将粉尘从该粒状材料中除去。将粉尘注入来自加热器的废气。回收经加热的粉尘并且将其与经加热的粒状材料合并。

标签:
固废
其他 - 其他 来源:中冶有色网 2023-03-19
陶瓷蜂窝体的催化涂覆方法

本发明涉及陶瓷蜂窝体的催化涂覆方法,该方法使用在载液中包含固体和/或溶解形式的催化剂成分的涂覆悬浮体。该蜂窝体具有贯穿其中的平行流动通道。该流动通道的壁通常具有开放孔隙结构。为了用涂覆悬浮体涂覆通道壁和特别是孔隙的内表面,提出了将流动通道暂时交替封闭使该涂覆悬浮体强制通过通道壁的开放孔隙结构。然后涂覆被干燥和煅烧。为了封闭流动通道,可以使用热或化学可分解的或者可溶解的组分,其或者在煅烧中或者通过后续的化学处理可以被分解或溶解。该涂覆蜂窝体优选用作车辆废气的净化。

标签:
固废
其他 - 其他 来源:中冶有色网 2023-03-19
直接熔炼设备及方法
直接熔炼设备及方法 946     
 0

本发明涉及由含金属原料,例如矿石、部分还原矿石以及含金属废料生产熔融金属的直接熔炼设备和直接熔炼方法,所述直接熔炼方法包括如下步骤:(a)在预处理单元中预处理含金属原料并且获得温度至少200℃的预处理原料;(b)在压力下将温度至少200℃的经预处理的含金属原料贮存在热原料贮存装置中;(c)在压力下将热原料传送线中的温度至少200℃的经预处理的含金属原料传送至直接熔炼容器的固体输送装置;(d)将经预处理的含金属原料传送至直接熔炼容器内并且在容器内将含金属原料熔炼成熔融金属。

标签:
固废
其他 - 其他 来源:中冶有色网 2023-03-19
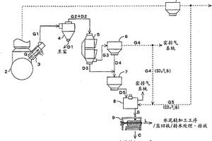
氯旁路灰尘的处理方法及处理装置

本发明防止化学药品费及熟料中的重金属浓度的增加,在确保水泥品质的稳定性的同时,处理氯旁路灰尘。在通过从水泥窑(2)的窑尾到最下段旋风分离器的窑废气流路将燃烧气体的一部分(G)边冷却边进行抽气,并从抽出气体(G1)回收高氯浓度的氯旁路灰尘(D5)的氯旁路设备(1)中,使含有氯旁路灰尘的浆液(S)与SO2气体或/和CO2气体接触而得到固体成分。可以使含有氯旁路灰尘的浆液与氯旁路设备或/和水泥窑的废气接触,通过将固体成分供给水泥精加工工序,可以降低CaO及Ca(OH)2的含有率,稳定凝固时间等物性来制造水泥。

标签:
固废
其他 - 其他 来源:中冶有色网 2023-03-19
粒状过碳酸钠的制备方法

本发明涉及粒状过碳酸钠的制备方法。具体地说,通过流化床堆积造粒的粒状过碳酸钠的制备方法包括用至少一个多料喷嘴在外部混合下喷射过氧化氢水溶液和碳酸钠水溶液至包含过碳酸钠颗粒的流化床中,同时蒸发水,其特征在于所述碳酸钠溶液另外地包含悬浮形式的碳酸钠和/或过碳酸钠,所述溶液在被供至多料喷嘴前通过用于分散固体的分散设备。本方法避免了多料喷嘴的堵塞,并且使来自流化床废气流的待循环的过碳酸钠粉尘进入造粒。

标签:
固废
其他 - 其他 来源:中冶有色网 2023-03-19
消除污染物的有机矿物凝胶及其用于消除表面污染物的应用

本发明涉及用于消除表面污染物,特别是消除金属表面污染物的有机矿物除污凝胶。本发明的有机矿物凝胶包括粘性溶液,该粘性溶液包括矿物粘附剂和有机粘附剂(相互粘附剂)的混合物,所述的有机粘附剂选自水溶性有机聚合物和表面活性剂。使用有机粘附剂特别能够极大地改善凝胶的流动变特性,大大减少矿物用量,这样所产生的固体废物少。本发明还涉及消除金属表面上的污染物的方法,该方法在于将有机矿物凝胶涂覆到待消除污染物的表面上,将这种凝胶维持在所述表面上,主要通过冲洗再将表面上的凝胶除去。

标签:
固废
其他 - 其他 来源:中冶有色网 2023-03-19
含生物质进料的加氢热解

本发明公开预处理城市固体废弃物(MSW)和其它含生物质进料的各种技术,所述进料可具有较差的质量且因此更难以或甚至不可能使用常规方法转化为较高价值液体产物(例如运输燃料)。此类常规方法可另外就单独转化所述进料的生物质部分来说令人满意。含生物质进料的预处理可一般包括在加氢热解步骤之前进行的步骤和任选地其它步骤,用以改变所述进料的一或多个特征,使其更容易地可升级。

标签:
固废
其他 - 其他 来源:中冶有色网 2023-03-19
放气装置的清洗方法
放气装置的清洗方法 1182     
 0

本发明涉及一种对固体液体混合处理液进行过滤液回收时的放气装置的清洗方法。所述放气装置(15)具有:至少一根与曝气鼓风机(B)连接的空气主管(18);与该空气主管(18)的中途合流的液体供给配管;通过从该空气主管(18)上分支的气体供给管(16)而水平连接的分支管路(25);以及与该分支管路(25)正交而水平配置且具有大致铅垂向下开口的多个放气孔的多个放气管(17)。将所述分支管路内的气体流速设定在1m/sec以上、8m/sec以下的范围,并将所述分支管路内的液体供给量设定在0.03L/min/mm2以上、0.2L/min/mm2以下的范围。利用这种构成,为了有效去除气液混合流体所带来的附着在放气管(17)放气孔上将其堵塞的固态污泥,可不停止废水处理而在任意时期对放气管进行清洗。

标签:
固废
其他 - 其他 来源:中冶有色网 2023-03-19
具有填料的纤维
具有填料的纤维 1143     
 0

本发明涉及包括纤维和薄膜在内的制品及其制造方法。按照本发明,所述制品包括用填料浸渍或包封填料的粘结剂。所述粘结剂是聚乙烯醇(PVOH),纤维素微纤丝,或者PVOH和纤维素微纤丝的组合。所述填料是包含灰分和纤维素细粉的脱墨废固体物。

标签:
固废
其他 - 其他 来源:中冶有色网 2023-03-19
对苯二酸的制备方法
对苯二酸的制备方法 731     
 0

对苯二酸是通过如下方法制得,即氧化对二甲苯,在水相中提纯并通过在水相中沉淀提纯产物而回收,然后冷却或蒸发水相母液以得到另外的低纯度沉淀物和第二母液,低纯度沉淀物返回到反应介质中和/或第二母液的水用于溶解粗固体产物和/或处理第二母液以回收水,该水用于洗涤从水溶液中回收的沉淀物。本方法制备出了更高产率的对苯二酸,减少了水的用量并减少了污染废水的处理问题。

标签:
固废
其他 - 其他 来源:中冶有色网 2023-03-19
污水澄清用的过滤装置

过滤装置(1),特别适用于自动的废水净化和水处理,该过滤装置可旋转地布置在一个容器(2)中并被待过滤的液体包围。过滤装置(1)由许多相隔一定距离的滤芯(4)组成,这些滤芯组成分段式的过滤组件(3)并构成一个旋转式过滤器。单个滤芯(4)由滤板组成,通过这些滤板排出滤液,并在其两侧装有过滤器。本发明的目的是,避免在过滤过程中过滤器上附着固体。这个目的是这样实现的:该旋转式过滤器设置一个空腔(14),该空腔一方面通过吸入孔(12)与容器(2)连通,另一方面又通过一块支承盘(6)封闭过滤段,而且该空腔(14)与一个导流元件有效连通。作为导流元件用一个泵叶轮(15)。泵叶轮(15)最好通过该旋转式过滤器进行传动。

标签:
固废
其他 - 其他 来源:中冶有色网 2023-03-19
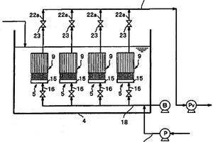
生物过滤器装置和使用该生物过滤器装置的水处理设备

本发明公开了具有生物膜接触和固-液分离功能的废水处理设备,其中具有生物膜接触、斜板沉积和脱膜功能的生物过滤器装置包括:形成有多个斜板(2)的斜板沉降器,每块板相对于水表面以预定向下倾角和预定间距平行地隔开,并且由板(2)形成的间隔用由比表面增大且生物亲和性的材料形成的生物膜介质(3,3A)填充,以使微生物能够在其中以生物膜的形状附着并生长;和脱膜装置,该脱膜装置通过向生物膜介质(3,3A)和斜板(2)施加剪切力,分离在生物膜介质(3,3A)上附着且生长的生物膜和沉积在斜板(2)表面上的固体。

标签:
固废
其他 - 其他 来源:中冶有色网 2023-03-19
谷物加工
谷物加工 862     
 0

本发明提供了一种由源自例如麦芽威士忌和/或啤酒生产的制糖化醪过程的固体废谷物产物生产沼气和/或甲烷的方法。本文还提供了一种由源自例如麦芽威士忌和/或啤酒生产的制糖化醪过程的固体废谷物产物生产沼气和/或甲烷的系统。

标签:
固废
其他 - 其他 来源:中冶有色网 2023-03-19
加工生物质
加工生物质 933     
 0

对生物质原料(例如,植物生物质、动物生物质和城市废物生物质)进行加工以产生有用的产物,诸如燃料。例如,描述了可用于从生物加工生物质材料浆液的液体分离固体的系统。例如,描述了包括多台离心机,例如多台串联离心机的过滤系统。

标签:
固废
其他 - 其他 来源:中冶有色网 2023-03-19
可分散的组合物和制品以及这种组合物和制品的处理方法

本发明揭示了碱水可处理的制品。该制品是由膜或非织造网或膜和网的复合材料制成的,其中膜或非织造网包含可水解降解的聚合物,并且较好地也包含水溶性聚合物。本发明特别揭示了至少一层可水解降解聚合物和至少一层水溶性聚合物的多层微纤维。该制品在制造、贮藏和被哺乳动物使用时具有耐水性,但在升高温度、提高pH的条件下和单次商业洗涤循环过程中浸在水中时具有可分散性。该制品解决了一次性使用的外套普遍存在的固体废物处理问题和多次性使用的外套的重复清洗和再循环使用的问题。本发明制品在其使用后的有关污染可在用于将该制品进行分散的商业洗涤循环中被消毒。

标签:
固废
其他 - 其他 来源:中冶有色网 2023-03-19
由可再生资源制备燃料组合物的方法和相关系统

本发明描述了从可能包括生物质和城市固体废物的给料(12)生产燃料组合物(32)的方法。该方法包括在过渡金属的存在下用微波能量(16)热解给料(12)的步骤,以便减少至少一种热解产物中的氧水平。本发明也描述了综合方法,其中过渡金属可再生。另外,热解产物如生物油可提质成液体燃料组合物(32)。本发明也描述了生产燃料组合物的相关系统(10)。

标签:
固废
其他 - 其他 来源:中冶有色网 2023-03-19
合成气的制备方法和装置

一种通过烃原料的催化蒸汽和/或CO2转化来制备合成气的方法和装置,该方法包括以下步骤:(a)在加热的蒸汽转化单元中,加热烃和蒸汽和/或CO2的反应混合物,所述蒸汽转化单元与含烟道气的管式燃烧转化器废热部分相连接,其中通过与固体转化催化剂接触进行反应混合物的转化;(b)将经部分蒸汽转化的混合物送入管式燃烧转化器,并且进一步将该混合物转化至所需要的组成和温度,其中所述加热的蒸汽转化单元的配管系统具有装载固体转化催化剂的反应部分,所述转化催化剂包括催化剂颗粒和/或催化结构单元,作为流程气管线系统一部分的配管系统与含有烟道气的废热部分相连接。

标签:
固废
其他 - 其他 来源:中冶有色网 2023-03-19
医用烟草油的生产方法
医用烟草油的生产方法 1154     
 0

本发明涉及由植物原料生产油的方法,并且本发明可以用于由烟草领域的高含油废料(即烟草种子)生产脂肪油。可获得的结果包括简化的处理方法和通过使沉降时间最小化导致的从残渣中浸出有毒成分的程度降低以及期望产物损失的最小化。医用烟草油生产中的上述结果通过以下方法实现,该方法包括:将烟草种子清洁、压榨、分离成液体部分和固体部分,使所得液体部分沉降,随后回收油,然后进行适于本发明的油过滤,其中,使所得液体部分沉降12-18小时;在油过滤之前,以油∶炭=100∶2-5的比例添加活性炭对其进行预清洁;将油加热至50-60℃,并暴露于所述温度40-60分钟;然后进行一次过滤。

标签:
固废
其他 - 其他 来源:中冶有色网 2023-03-19
硫氧化物检测装置
硫氧化物检测装置 1035     
 0

本发明涉及硫氧化物检测装置。提供能提高废气中的SOx浓度的检测精度的硫氧化物检测装置。硫氧化物检测装置(1)具备第一固体电解质层(11)、具有第一电极(41)和第二电极(42)的第一电化学电池、和扩散律速层(16),同时具备配置于内燃机的排气通路的元件部(10)、在电极间施加电压的电源(61)、检测与在电极间流动的电流相关的第一电流相关参数的检测器(62)、和控制电源的同时从检测器取得第一电流相关参数的控制部。控制部控制电源使得在电极间施加水和硫氧化物的分解开始电压以上的第一电压,在电极间施加第一电压时基于由检测器检测的第一电流相关参数计算被测气体中的硫氧化物浓度,但在判定为被测气体中的水浓度不稳定的情况下不计算被测气体中的硫氧化物浓度。

标签:
固废
其他 - 其他 来源:中冶有色网 2023-03-19
含有自燃性元素磷物料的处理方法

利用和一种含氧气体例如空气接触的方法处理 含自燃性元素磷的物料(例如处理一种元素磷(P4)含 量高的固体废物)以降低其中元素磷的含量,另外同 时利用一种不易燃的流体覆盖物料(例如,处在一种 水防护层的下面)防止与空气中的氧接触。这样可减 少物料的自燃性并能回收磷的有用成分,例如以稀磷 酸溶液的形态回收。这种处理能把高自燃性的固体 废物流化成一种较易流动的淤渣或泥浆,同时使其成 为基本上比较不易燃的。

标签:
固废
其他 - 其他 来源:中冶有色网 2023-03-19
放射性铯的除去方法、用于除去放射性铯的亲水性树脂组合物、放射性碘和放射性铯的除去方法以及用于除去放射性碘和放射性铯的亲水性树脂组合物

本发明的目的在于,提供一种简单且成本低,且不需要电力等能源,而且能够将所除去的放射性物质取入固体内部并稳定地固定化,根据需要还能够减少放射性废弃物的体积的放射性铯或放射性碘-放射性铯的除去方法、以及其中使用的亲水性树脂组合物,通过使用亲水性树脂组合物实现了该目的,所述亲水性树脂组合物至少包含具有亲水性链段的选自亲水性聚氨酯树脂、亲水性聚脲树脂和亲水性聚氨酯-聚脲树脂中的至少一种亲水性树脂,并且上述亲水性树脂组合物是沸石以相对于100质量份的所述亲水性树脂至少为1~200质量份的比例分散而成的。

标签:
固废
其他 - 其他 来源:中冶有色网 2023-03-19
超高细粉煤灰管磨机应用方法

超高细粉煤灰管磨机应用方法。本发明涉及一种工业粉磨设备的应用方法。1)用调整管磨机转速的方法,改变研磨体在磨内运动的几何轨迹,从而达到强化研磨功能的作用;管磨机采用无蓖孔“T”形块组成环形拦料堤坝;3)管磨机衬板设计为波形面衬板;4)研磨体内只采用柱形研磨体,对研磨体级配;5)管磨机筒体两端焊装纯银或紫铜导线直接接入地下。本发明成功的将粉煤灰粉磨到600m2/kg以上比表面积,这样在水泥里面掺入量可以提高到国家标准规定的40%水平;可使水泥工业每年吸纳利用粉煤灰的能力达到5~6亿吨/年的水平,使水泥工业成为电厂固体废弃物资源化最大用户,使水泥工业每年对空减排CO2达到5亿吨左右的水平。当管磨机降低转速运行时,降低了噪音污染。使得现场在距筒体2.5m以内,人与人之间可以对话。

标签:
固废
其他 - 其他 来源:中冶有色网 2023-03-19
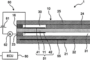
氧传感器运行方法以及用于实施该方法的装置

本发明涉及氧传感器运行方法以及用于实施该方法的装置,氧传感器用于测量在内燃机的排气通道中的废气λ,该氧传感器包含布置在与排气通道连接的测量气体空间中的第一电极以及布置在具有氧气存储器的参考气体通道中的第二电极,第二电极通过传导氧离子的固体电解质与第一电极连接。按本发明,在导入浓的内燃机运行之后预先给出第一持续时间,在该第一持续时间期间将由氧传感器提供的λ信号评价为有效的并且用于内燃机的λ调节,在第一持续时间结束之后倒转在两个电极之间流动的泵电流,从而将氧气从测量气体空间泵入氧气存储器,在第二持续时间结束之后结束该倒转过程,随后再将λ信号评价为有效的并且再用于浓的内燃机运行的λ调节。

标签:
固废
其他 - 其他 来源:中冶有色网 2023-03-19
用于造口用具的可清洗过滤器

本发明涉及用于造口用具的可就地清理的过滤器,其包括用于引导气体至造口袋排放口的路径和包含在所述路径中以阻止固体或半液体废物堵塞该路径的保护元件,其中由液体不可渗透层(3,4)形成的通道或室限定该路径的至少一部分,并且所述室或通道的至少一部分包含开孔可压缩材料制成的保护元件(1,2),该开孔可压缩材料具有恢复能力和至少为60PPI的孔径尺寸,所述保护元件在与通道或室内气流方向相同的方向上延伸,所述通道或室具有提供由袋的内部至路径的通路的开孔,所述路径具有可选择地通过除臭过滤器(7)连接到造口袋排放口(9)的另一开孔(8)。本发明涉及包括如上所述过滤器的造口用具,还涉及清空和清理过滤器的方法。

标签:
固废
其他 - 其他 来源:中冶有色网 2023-03-19
含重金属粉尘的重金属稳定化处理方法

本发明涉及一种重金属稳定化处理方法,向显示P-碱度的含重金属粉尘添加碱性试剂和重金属固定剂,进行混合,上述碱性试剂是Mg类化合物和/或Ca类化合物,作为上述重金属固定剂,并用磷酸类化合物和二硫代氨基甲酸类化合物。按照本发明的重金属稳定化处理方法,能稳定且长期地处理含重金属粉尘,尤其,在根据中华人民共和国HJT300-2007固体废物浸出毒性浸出方法醋酸缓冲溶液法的试验方法中,能稳定地符合生活垃圾填埋场污染控制标准GB16889-2008的标准值,且成本低,并能减轻环境负荷。

标签:
固废
其他 - 其他 来源:中冶有色网 2023-03-19
上一页 26 27 28 29 30 ... 117 下一页
共117页    到第

中冶有色为您提供最新的其他有色金属环境保护技术理论与应用信息,涵盖发明专利、权利要求、说明书、技术领域、背景技术、实用新型内容及具体实施方式等有色技术内容。打造最具专业性的有色金属技术理论与应用平台!

全国热门有色金属设备推荐
展开更多 +
全国热门有色金属技术推荐
展开更多 +

 

江西省隆恩特环保设备有限公司
宣传

报名参会
更多+

报告下载

有色专家
更多+

中国瑞林工程技术有限公司
中国工程院院士
中国有色金属工业协会
副会长兼秘书长
北京科技大学
副院长/教授
北京航空航天大学、中国工程院
院士
长沙有色冶金设计研究院有限公司
正高级工程师/中国铝业首席工程师/全国有色金属行业设计大师/国家注册采矿工程师
赤泥综合利用研究报告2025
推广

热门技术
更多+

推荐企业
更多+

福建省金龙稀土股份有限公司
宣传

发布

在线客服

公众号

电话

顶部
咨询电话:
010-88793500-807