青岛垚鑫智能科技有限公司
宣传

位置:中冶有色 >

有色技术频道 >

> 加工技术

分类:
全部
矿山技术
冶金技术
材料制备及加工技术
环境保护技术
分析检测技术
 
全部
功能材料技术
复合材料技术
新能源材料技术
合金材料技术
加工技术
地区:
全部
北京
天津
上海
重庆
河北
山西
辽宁
吉林
黑龙江
江苏
浙江
安徽
福建
江西
山东
河南
湖北
湖南
广东
海南
四川
贵州
云南
陕西
甘肃
青海
内蒙
广西
西藏
宁夏
新疆
其他
其他
展开
 
全部
南京
无锡
徐州
常州
苏州
南通
连云港
淮安
盐城
扬州
镇江
泰州
宿迁

江苏盐城有色金属加工技术理论与应用

免费发布技术信息>>
高温应用的锂离子电池
高温应用的锂离子电池 1061     
 0

本实用新型属于锂离子电池领域,尤其为一种高温应用的锂离子电池,所述锂离子电池体的外侧壁上还套设有电池外壳,所述锂离子电池体包括电池外壳、正极端子、负极端子和电池芯,所述正极端子和所述负极端子分别固定在所述电池外壳的两端,所述电池芯固定于所述电池外壳的内部,且两端与所述正极端子和所述负极端子通过导线连接,通过在锂离子电池体的外侧壁上设置一个内径大于锂离子电池体外径的电池外壳,使电池外壳的内径与锂离子电池体外径之间留有一定的距离,既能保证电池在纵向的通风散热,又能够利用电池外壳来阻隔外部热辐射,减少外部热量影响,隔膜设有玻璃纤维编织的牵拉丝网,具有更强的抗牵拉能力,不易变形。

标签:
加工技术
江苏 - 盐城 来源:中冶有色网 2023-03-18
大容量磷酸铁锂电池储能系统及其建模方法

本发明公布了一种大容量磷酸铁锂电池储能系统及其建模方法,该电池储能系统是由N个模块化电池储能子系统经并联而成,各储能子系统是由电池系统、功率转换系统组成。所述方法如下:根据已知磷酸铁锂电池单体性能参数,利用串并联电路及电池系统充放电工作特性,确定各电池单体性能参数与大容量电池系统性能参数的数理关系,建立基于电池荷电状态的电池系统模型,再结合功率转换系统模型来构建模块化电池储能子系统模型,最后将储能子系统经并联扩展得大容量磷酸铁锂电池储能系统模型。本发明所建立的储能系统模型能有效地模拟大容量磷酸铁锂电池储能系统的充放电工作特性,所发明的建模方法既可适用于磷酸铁锂电池储能系统,也适用其他类型电池储能系统。

标签:
加工技术
江苏 - 盐城 来源:中冶有色网 2023-03-18
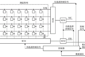
锂电池包温度检测系统及温度检测方法

本发明公开了一种锂电池包温度检测系统及温度检测方法,检测系统包括测温阵列、模拟开关、信号处理转换电路和控制器;所述模拟开关包括行功能选择模拟开关、列功能选择模拟开关、行选通模拟开关和列选通模拟开关;控制器通过行/列选通控制信号控制行选通模拟开关/列选通模拟开关,对测温阵列进行选通管理;控制器通过功能选择控制信号控制行功能选择模拟开关和列功能选择模拟开关,实现储能选通功能和信号处理转换功能的切换。本发明线束少,体积小;选通控制接口逻辑简单,温度巡检测量周期短;既可以封装成独立的测温单元通过少量线束引至远端处理,也可以用PCB板载形式和锂电池组一起封装;易于和锂电池均衡控制等常用电路集成。

标签:
加工技术
江苏 - 盐城 来源:中冶有色网 2023-03-18
基于改进型锂离子电池数学模型的电池参数检测方法

本发明公开了一种基于改进型锂离子电池数学模型的电池参数检测方法,包括如下步骤:S10,获取锂离子电池的迟滞电压系数;S20,根据所述迟滞电压系数构建改进型锂离子电池数学模型;所述改进型锂离子电池数学模型表征所述锂离子电池的电路结构,以及所述电路结构中迟滞电压与所述迟滞电压系数之间的关系;S30,求解所述改进型锂离子电池数学模型,得到所述锂离子电池在工作过程中产生的迟滞电压。采用本方法使所获取的电池参数具有更高的准确性,还可以提高电池参数的获取效率。

标签:
加工技术
江苏 - 盐城 来源:中冶有色网 2023-03-18
锂电池绝缘片的上料机构

本发明涉及一种锂电池绝缘片的上料机构,包括台板、设于台板上的旋转模块以及穿插设置在台板中并与旋转模块相互配合的升降模块,旋转模块包括分别固定在台板顶部和底部的变速箱和第一电机、分别套设固定在第一电机转动轴和变速箱输入轴上的第一带轮和第二带轮、穿插设置在台板中并套设在第一带轮和第二带轮上的第一同步带、以及横向固定在变速箱输出轴上的托盘;本发明实现了锂电池绝缘片的自动上料,无需借助人工手动完成,进而使得锂电池生产装配线能持续加工并使各工序紧密衔接以从根本上提高了锂电池生产装配线的工作效率,而且劳动强度和人工成本均较低。

标签:
加工技术
江苏 - 盐城 来源:中冶有色网 2023-03-18
锂电池串联紧固装置
锂电池串联紧固装置 1162     
 0

本实用新型提供一种锂电池串联紧固装置,具体涉及锂电池组装领域。包括固定板、第一紧固板、第二紧固板、第三紧固板和锂电池,所述固定板表面设有贯穿所述固定板的固定孔,所述固定板平行排列,所述锂电池的两端嵌入所述固定孔内,且所述锂电池组形成串联,最外层的两个所述固定板的外表面分别设有第一紧固板和第二紧固板,其余所述固定板间设有第三紧固板,所述固定板、所述第一紧固板、所述第二紧固板和所述第三紧固板通过螺栓相连接。本实用新型可将电池模块串联进行紧固,提高串联的稳固性,确保电池运行的可靠度。

标签:
加工技术
江苏 - 盐城 来源:中冶有色网 2023-03-18
锂电池生产的封口包装机

本实用新型公开了锂电池生产的封口包装机,包括底板、固定座、立柱、盖板、电机、升降气缸、封压机头、模块、滑轨、固定限位块、顶压板,其特征在于底板置于整个结构的最底部,盖板底部中间有一个升降气缸,升降气缸底部设置一个封压机头,滑轨上下两端分别设置一个顶压板。本实用新型通过底板来支撑整个结构,将锂电池放置在底板上,通过滑轨来灵活控制固定限位块的位置移动,针对不同形状尺寸的锂电池选择最适宜的位置进行固定,同时升降气缸在压力作用下带动封压机头向下冲压,对锂电池进行侧封,形成未注液的软包电池,封口效果好,准确度高,避免了资源浪费,节约成本,本实用新型还具有制造成本低、牢固耐用,且各构件连接灵活的特点。

标签:
加工技术
江苏 - 盐城 来源:中冶有色网 2023-03-18
锂电池负极及其制备方法

本发明提供一种锂电池负极及其制备方法,涉及锂电池领域。一种锂电池负极的制备方法,其包括:用酸溶液调节钛酸锂粉末的水溶液pH值至10‑11,过滤得到滤渣,将滤渣于600‑700℃焙烧制得活性物质,将活性物质负载于集流体。集流体是具有三维多孔结构的铜片,铜片的相对的两个表面均匀地分布多个孔。本发明还提供一种锂电池负极,由上述的锂电池负极的制备方法制得。酸溶液改性钛酸锂可以得到不同pH但结构不变的钛酸锂材料,有利于抑制电池鼓胀。三维多孔结构的铜片的集流体能够为活性物质在充放电的过程中提供较多的缓冲空间,减小充放电过程中的体积应变,从而减少活性物质于电池中所占的质量和空间;进一步抑制电池鼓胀。

标签:
加工技术
江苏 - 盐城 来源:中冶有色网 2023-03-18
离子液体电解液及含有该电解液的二次锂电池

本发明公开了一种二次锂电池用电解液中含有有机溶剂、离子液体和锂盐,其中,所述离子液体包括两种离子液体,第一种离子液体为咪唑类离子液体,第二种为哌啶类离子液体。本发明还提供了使用含该离子液体的电解液的二次锂电池。本发明提供一种具有低粘度、高电导率、高抗氧化电位以及热稳定性的二次锂电池用电解液。

标签:
加工技术
江苏 - 盐城 来源:中冶有色网 2023-03-18
钽酸锂单晶的制备方法

本发明涉及一种钽酸锂单晶的制备方法,它包括以下步骤:(a)将氧化钽和碳酸锂按质量比为86.1~86.3∶13.7~13.9进行混合得第一混合物;(b)将所述第一混合物放入第一坩埚中,置于第一加热炉内,以8~10℃/分钟的速度将加热炉由室温升温至300℃,保温1.5~2小时;以3~5℃/分钟的速度将加热炉由300℃升温至800℃,保温5~10小时;以3~5℃/分钟的速度将加热炉由800℃升温至1400℃;(c)加热使钽酸锂多晶料块融化形成熔融液;再向其内通入氧气,使得惰性气体与氧气的比例为50~60∶1;(d)以1~5mm/小时的速度向上提拉,进行自动生长即可。通过精确控制其原料比例、工艺步骤和升温方式等,能够制得纯度高、成分均匀的近化学计量比钽酸锂晶体。

标签:
加工技术
江苏 - 盐城 来源:中冶有色网 2023-03-18
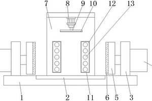
锂电池用散热装置
锂电池用散热装置 940     
 0

本实用新型公开了一种锂电池用散热装置,包括主体机构,主体机构包括底座主体,底座主体的下表面四角处均固定连接有固定支脚,底座主体的上表面中心处开设有凹槽,本实用新型的有益效果是:将锂电池组插接在底座主体上表面的凹槽中,在底座主体固定的过程中,地面与支板接触,支板上移,当底座主体固定好后,每个竖杆均进入其对应的锂电池组的空隙中,接通外部电源,散热风扇启动,散热风扇吹动气流从每个竖杆的通风孔中向上流动,气流通过通风孔进入锂电池组的缝隙中,带走热量,通过设置多个竖杆使锂电池组的每个空隙都能产生气流,带走每个锂电池产生的热量,散热效率高。

标签:
加工技术
江苏 - 盐城 来源:中冶有色网 2023-03-18
石墨烯复合磷酸锰锂材料及其制备方法

一种石墨烯复合磷酸锰锂材料及其制备方法,涉及锂离子电池正极材料领域。一种石墨烯复合磷酸锰锂材料的制备方法,包括:将氢氧化锂溶于混合溶剂中,依次加入硫酸锰溶液、氧化石墨烯溶液得到第一溶液;在超声与搅拌、保温的条件下,分多次向第一溶液中加入磷酸溶液得到混合溶液;对混合溶液进行磁力搅拌后,将混合溶液转移至反应釜中进行第一次水热反应,反应结束后冷却至室温,继续升温进行第二次水热反应,得到固体前驱体;将固体前驱体与葡萄糖混合,在惰性气体的氛围中加热煅烧。该制备方法提高了产物的电性能,工艺流程简单,可批量生产。一种石墨烯复合磷酸锰锂材料,由上述制备方法制备而成,产物电性能高。

标签:
加工技术
江苏 - 盐城 来源:中冶有色网 2023-03-18
防结块的锂离子电池正极材料的制备方法

本发明涉及一种防结块的锂离子电池正极材料的制备方法。本发明属于锂离子电池技术领域。一种防结块的锂离子电池正极材料的制备方法,包括混合和煅烧工艺过程,其特征是:混合料中加有防结块添加剂,然后进行煅烧工艺,得到粒径分布均匀、形貌均一的锂离子电池正极材料。本发明可以有效解决锂电正极材料煅烧后结块难加工等技术难题;具有产品煅烧反应充分,粒径分布均匀,形貌均一,加工性能好,电化学性能和循环稳定性好,制备成本低,工艺简单,操作方便,适用范围广等优点。

标签:
加工技术
江苏 - 盐城 来源:中冶有色网 2023-03-18
电动滑板车的锂电池快拆结构

本实用新型提供一种电动滑板车的锂电池快拆结构,包括电动滑板车主体和锂电池本体,所述电动滑板车主体内部设有第一安装腔和旋钮槽,且旋钮槽位于第一安装腔右侧,所述第一安装腔内部设有闸门机构,所述电动滑板车主体内部设有第二安装腔,且第二安装腔位于第一安装腔后侧,所述第二安装腔内壁顶部转动连接有蜗杆,所述蜗杆前端固定连接有第二旋钮,所述蜗杆表面啮合有蜗轮,所述蜗轮中部固定插接有第二螺纹柱,且第二螺纹柱顶部与第二安装腔内壁转动连接。在使用中实现了便于对电动滑板车的锂电池进行快速拆卸的效果,当需要对锂电池进行更换时,操作起来更加方便,有效提升了电动滑板车锂电池的更换效率,实用性较好。

标签:
加工技术
江苏 - 盐城 来源:中冶有色网 2023-03-18
高容量圆柱型18650锂离子电池及其制备方法

本发明公开了一种高容量圆柱型18650锂离子电池,正极活性物质采用镍钴铝酸锂,导电剂采用SuperP,粘接剂采用聚偏氟烯(PVDF),正极集流体采用铝箔;负极活性物质采用石墨,导电剂采用SuperP、增稠剂采用羧甲基纤维素钠(CMC)和粘接剂采用丁苯橡胶(SBR),负极集流体采用铜箔。本发明所使用的正极材料镍钴铝酸锂具有比容量高、成本低、原料资源丰富、安全性好和环境友好等优点。所使用的负极材料石墨具有比容量高、循环性能好、造价低等特点。由镍钴铝酸锂-石墨制成的高容量圆柱型18650锂离子电池,具有容量达到3100mAh,循环性能优良,0.5C/0.5C循环300周后容量保持率在80%以上。

标签:
加工技术
江苏 - 盐城 来源:中冶有色网 2023-03-18
防护型锂电钻
防护型锂电钻 981     
 0

本申请公开了一种防护型锂电钻,涉及锂电钻技术领域,包括用于手持的握把,握把的一端连接有锂电主机,锂电主机的输出轴端连接有驱动套轴,驱动套轴的外侧可拆卸安装有防护外罩,且驱动套轴的内侧通过螺纹可拆卸连接有钻头。本申请所述锂电钻相较于一般的电钻来说,增加了防护外罩结构,且也方便拆卸,在使用时可包裹在钻头的外围,并将钻头开孔时产生的灰屑阻挡在罩内,使灰尘和屑料无法直接飞溅或冲击至使用者的眼中或皮肤上,尽量避免灰屑对使用者眼部造成损害,也提高了锂电钻的防护效果,在进行钻孔加工时,可透过罩体发现并可加以调整钻头的加工位置。

标签:
加工技术
江苏 - 盐城 来源:中冶有色网 2023-03-18
基于锂硫电池生产用组装设备

本发明公开了一种基于锂硫电池生产用组装设备,其技术方案要点是:包括操作台,所述操作台的两侧分别固定安装有连接杆,所述操作台的顶面设置有固定板,所述连接杆与所述固定板固定安装;定位组件,所述定位组件设置在所述固定板的顶面,用于对锂硫电池壳体注液时进行定位,所述定位组件包括:储存箱,所述储存箱固定安装在所述固定板的底面,通过设置固定条、螺纹杆、第二螺纹孔和软垫相互配合使用下,即可对锂硫电池壳体进行夹持,通过设置出液管、螺纹管、第一螺纹孔、水泵、储存箱和相互配合使用下,即可对锂硫电池壳体进行注液,避免注液时,出液管距离锂硫电池壳体过远导致电解液洒落产生浪费,达到对锂硫电池壳体注液时精准定位的效果。

标签:
加工技术
江苏 - 盐城 来源:中冶有色网 2023-03-18
可快速脱水的锂电池加工用风干设备

本发明公开了一种可快速脱水的锂电池加工用风干设备,包括电动排水阀、挡料机构、隔离罩、排风管道、第三支架、第二马达和托板,所述支板一侧的下端面转动连接有吹气通道,所述隔离罩固定在支板的另一侧,所述进风管道内固定有电热丝和第一风机,所述进风管道的底部与吹风通道相连接,所述第三支架固定在底座上,所述第三支架的顶部固定有电动伸缩杆,所述托板滑动连接在底座上端面的另一侧。该可快速脱水的锂电池加工用风干设备,锂电池到达吹气通道的下方之后,吹气通道向下移动至锂电池的外侧,接着吹气通道一边旋转一边对着锂电池吹风,方便吹落锂电池上的水分,使锂电池能够得到初步风干处理,从而使后续的脱水操作更加快速高效。

标签:
加工技术
江苏 - 盐城 来源:中冶有色网 2023-03-18
锂电池加工用表面喷码装置

本发明公开了一种锂电池加工用表面喷码装置,包括底座、第一滚筒、第二滚筒、清洗机构、风干机构、第二电动伸缩杆、第四电动伸缩杆和第二出风管道,所述第二电动伸缩杆的内端贯穿支板与第二推板相连接,所述第三电动伸缩杆的前端通过螺栓固定有喷码机,所述第四电动伸缩杆位于前侧第二电动伸缩杆的右侧,所述第三电动伸缩杆的右侧设置有第二热风机。该锂电池加工用表面喷码装置,锂电池移动至第一推板之间后,两个第一推板相互靠近,方便对锂电池进行扶正处理,之后锂电池可在第一滚筒和第二滚筒的转动作用下更加顺利的向右移动,同时粘尘套可粘除锂电池后端面的灰尘,方便保证锂电池喷码位置的整洁性。

标签:
加工技术
江苏 - 盐城 来源:中冶有色网 2023-03-18
可降低电损耗的锂电池
可降低电损耗的锂电池 1109     
 0

本发明涉及锂电池技术领域,尤其是一种可降低电损耗的锂电池,包括多个锂电池单体,所述锂电池单体通过活动安装结构并排安装在底板上,所述底板的一侧固定连接有固定板,所述固定板上设有多个电极结构,所述电极结构包括一对间隔设置的导电杆,两个所述导电杆之间连接有导线,导线上设置了电压表,所述导电杆的两端分别连接有第一电极片和第二电极片,所述第一电极片与锂电池单体的电池电极接触,所述底板的上部连接有支撑架,所述支撑架上设有多个风筒,所述风筒内通过安装座固定安装有风机,所述底板上设有多个温度传感器,所述温度传感器、风机通过导线与外部控制器连接。本发明通过对电池降温以及监控达到降低损耗的目的。

标签:
加工技术
江苏 - 盐城 来源:中冶有色网 2023-03-18
不可充电锂电池的复活充电装置

本发明涉及一种不可充电的锂电池的复活充电装置。其特点是:市电经变压器B降压后,经整流二极管D形成脉冲直流电流后,经过R1、R2、W1、W2、W3的调节,分别使U1、U2、U3的电流控制在5-20mA,经过24小时的复活充电后,能有效地减少了不可充电锂电池上的极化剂,使这种不可充锂电池得以复活投入再使用。本发明能使不可充锂电池,经过反复复活使用,相当于2-3节新的电池使用寿命。本发明还具有耗电少,电池不发热、不漏液,无需人看管。因此,使用本发明大大地节约了开支,与此同时减少了环境污染。

标签:
加工技术
江苏 - 盐城 来源:中冶有色网 2023-03-18
改进的锂电池GPS防盗拆系统及其控制方法

本发明提供了一种改进的锂电池GPS防盗拆系统及其控制方法,其中系统结构包括GPS系统、锂电池系统、锂电池保护系统、动力输出模块,GPS系统中负极线与锂电池保护系统连接,锂电池系统向锂电池保护系统传输锂电池状态,锂电池保护系统用于判断GPS系统负极在线状态并向动力输出模块输出输出控制信号,根据控制信号动力输出模块能够控制锂电池对负载和充电器的供电通断。本发明仅通过负极检测线判断GPS是否被盗取,结构简单,当GPS信号全部丢失时,也不会影响锂电池保护系统的正常输出,因此,本发明方案不仅能够保证GPS在线时系统的稳定性,同时保证锂电池保护系统动力输出的稳定性。

标签:
加工技术
江苏 - 盐城 来源:中冶有色网 2023-03-18
锂电池电解液的注液设备

本实用新型公开了一种锂电池电解液的注液设备,包括主体、驱动机构和注液机构,所述主体包括固定台和注液台,所述注液台底端螺纹连有驱动机构,所述固定架内部设置有注液机构,所述注液机构包括注液腔、第一阀门、第二阀门、称重传感器和注液头,所述注液机构内部开设有注液腔,所述注液腔一侧顶端设置有第一阀门,所述注液腔底端内部设置有第二阀门,所述注液腔底端位于固定架底端表面设置有称重传感器。本实用新型在注液腔底端设有称重传感器,可跟对锂电池尺寸的容量进行设定,精确锂电池外壳所需注液的具体数值,在通过注液机构对其精确注液,防止在注液时注液过多或者过少,提高了注液效果,从而提高了注液机的使用寿命和锂电池的生产质量。

标签:
加工技术
江苏 - 盐城 来源:中冶有色网 2023-03-18
锂电池加工用辅助定位夹持装置

本实用新型公开了一种锂电池加工用辅助定位夹持装置,包括底座和支架,所述底座上端开设有定位槽,且底座上端两侧设置有竖板,同时竖板外侧安装有电动气缸,所述支架为L型结构,且支架上端内侧中间安装有液压缸,同时液压缸的输出端连接有压板,所述支架下端开设有两个卡槽,且卡槽内设置有吸盘底座,该锂电池加工用辅助定位夹持装置,设置有定位槽、电动气缸、夹板和橡胶垫,通过定位槽,便于对锂电池放置位置进行定位,使得锂电池加工位置能够与加工装置准确对应,提高加工效果,通过电动气缸带动夹板移动,便于对锂电池两侧进行夹持固定,提高夹持的稳固性,通过橡胶垫,防止因夹持力过大造成壳体损坏,增加生产经济成本。

标签:
加工技术
江苏 - 盐城 来源:中冶有色网 2023-03-18
锂电池上料装置
锂电池上料装置 717     
 0

本实用新型公开了一种锂电池上料装置,涉及到电池上料设备领域。该装置包括底板,所述底板上安装有用于存储锂电池的储料箱,所述储料箱一侧设有推送机构,所述推送机构用于将所述锂电池推送出所述储料箱;其中,所述储料箱内设有若干隔板,所述隔板将所述储料箱分成多个分料槽,所述储料箱内还插设有贯穿所述隔板的防卡条,所述防卡条上设有凸齿、弹性件以及嵌入所述隔板的推板,所述推送机构上安装有拨动杆,所述拨动杆上设有拨动齿,所述拨动齿用于推动所述凸齿以使所述防卡条运动。该装置实现锂电池自动化、高效率上料,避免锂电池下料过程中卡料现象的发生。

标签:
加工技术
江苏 - 盐城 来源:中冶有色网 2023-03-18
具有防爆功能的大容量锂离子电池

本发明公开了一种具有防爆功能的大容量锂离子电池。本发明包括防爆箱,所述防爆箱内开设有放置槽,且防止槽内设有锂离子电池,所述锂离子电池外侧壁固定连接有保护外壳,且锂离子电池上设有出气管,所述保护外壳上设有升降槽,且升降槽内设有升降的升降挡板,所述散热箱内设有散热冷却装置,本发明采用在锂离子电池外设置出气管,通过升降挡板的升降使得锂离子电池通过出气管进行排气和压力释放,有效的放置了锂离子电池的爆炸,同时散热箱内散热风扇通过第三转动齿轮转动,散热风扇的转动是使得风力通过冷却管对锂离子电池进行降温,散热风扇和冷却管的设置,有效的防止了锂离子电池因温度过高导致的爆炸。

标签:
加工技术
江苏 - 盐城 来源:中冶有色网 2023-03-18
便于更换钻头的锂电钻
便于更换钻头的锂电钻 1188     
 0

本实用新型公开了一种便于更换钻头的锂电钻,包括锂电钻本体和钻头,所述锂电钻本体的一端固定连接有侧把手,所述侧把手的内部安装有蓄电池,所述锂电钻本体内设有电机,所述锂电钻本体远离侧把手的一侧设有安装杆,所述安装杆的一端与电机的输出轴固定连接,所述安装杆远离电机的一端开设有安装槽,所述钻头的一端设置在安装槽内,所述安装槽内壁的顶部和底部开设有第一滞留槽,所述钻头与第一滞留槽相对应的部位设有第二滞留槽,所述第一滞留槽内设有电磁铁、复位弹簧以及和电磁铁电性连接的电源,本实用新型的有益效果为:结构简单,对钻头的拆装方便,无需耗费大量时间进行操作,更换难度低,对工作人员的专业要求不高,工作效率高。

标签:
加工技术
江苏 - 盐城 来源:中冶有色网 2023-03-18
锂电池极片涂布开卷机构

本发明公开了一种锂电池极片涂布开卷机构,包括烘干箱,所述烘干箱的内壁固定连接有两个安装杆,每个所述安装杆的外表面均套设有加热丝,所述烘干箱的内壁固定连接有两个隔板,每个所述隔板的上表面均固定连接有安装筒,每个所述安装筒的内壁均固定连接有抽风机,所述烘干箱的内壁固定镶嵌有两组轴承,每组所述轴承的内圈共同固定连接有转动辊,所述烘干箱的正面设有控制面板,所述控制面板的背面与烘干箱的正面固定连接。本发明中,通过设置的安装筒与抽风机的配合,利用抽风机的工作,可以把热空气吹向锂电池极片的表面,能够对锂电池极片的表面进行烘干,提高了对锂电池极片干燥的效果,保证了锂电池极片的质量。

标签:
加工技术
江苏 - 盐城 来源:中冶有色网 2023-03-18
石墨烯包覆的镍锰酸锂材料的制备方法

本发明涉及一种锂离子电池正极材料石墨烯包覆镍锰酸锂的制备方法。本发明属于锂离子电池技术领域。锂离子电池正极材料石墨烯包覆镍锰酸锂的制备方法:(1)制备镍锰酸锂前躯体;(2)配置石墨烯二甲基甲酰胺溶液;(3)将步骤(2)获得的石墨烯二甲基甲酰胺溶液滴加到步骤(1)获得的镍锰酸锂前躯体中超声,挥干获得混有石墨烯薄片的镍锰酸锂前驱体;(4)煅烧步骤(3)获得的混有石墨烯薄片的镍锰酸锂前驱体制备获得锂离子电池正极材料石墨烯包覆的镍锰酸锂。本发明具有成本低,工艺条件简单,包覆率高,纯度高,比容量高,循环稳定性好等优点。

标签:
加工技术
江苏 - 盐城 来源:中冶有色网 2023-03-18
启动电源锂电池系统快速加热装置及其控制方法

本发明提供一种启动电源锂电池系统快速加热装置,包括加热片和加热控制器,加热片固定于启动电源锂电池系统内部的每个电芯侧壁上,所述加热片包括加热片负极和加热片正极,所述加热片正极与加热正极并联铜牌连接,所述加热片负极与加热负极并联铜牌连接,所述加热负极并联铜牌与启动电源锂电池系统的负极电性连接,所述加热正极并联铜牌与启动电源锂电池系统的正极电性连接;所述加热正极并联铜牌与启动电源锂电池系统的正极连接的电路上依次串联有加热磁开关、短路熔断器和保护磁开关;所述启动电源锂电池系统上电性连接有加热控制器,所述加热控制器上设有通讯口和控制开关输出接口。

标签:
加工技术
江苏 - 盐城 来源:中冶有色网 2023-03-18
上一页 26 27 28 29 30 ... 31 下一页
共31页    到第

中冶有色为您提供最新的江苏盐城有色金属加工技术理论与应用信息,涵盖发明专利、权利要求、说明书、技术领域、背景技术、实用新型内容及具体实施方式等有色技术内容。打造最具专业性的有色金属技术理论与应用平台!

全国热门有色金属设备推荐
展开更多 +
全国热门有色金属技术推荐
展开更多 +

 

江西省隆恩特环保设备有限公司
宣传

报名参会
更多+

报告下载

有色专家
更多+

南昌航空大学
副院长/教授
矿冶科技集团有限公司
所长/研究员级高工
中国瑞林工程技术有限公司
中国工程院院士
赣州江钨钨合金有限公司
工程师
矿冶科技集团
中国工程院院士
赤泥综合利用研究报告2025
推广

热门技术
更多+

推荐企业
更多+

福建省金龙稀土股份有限公司
宣传

发布

在线客服

公众号

电话

顶部
咨询电话:
010-88793500-807