青岛垚鑫智能科技有限公司
宣传

位置:中冶有色 >

有色技术频道 >

分类:
全部
矿山技术
冶金技术
材料制备及加工技术
环境保护技术
分析检测技术
 
全部
废水处理技术
大气治理技术
固/危废处置技术
土壤修复技术
地区:
全部
北京
天津
上海
重庆
河北
山西
辽宁
吉林
黑龙江
江苏
浙江
安徽
福建
江西
山东
河南
湖北
湖南
广东
海南
四川
贵州
云南
陕西
甘肃
青海
内蒙
广西
西藏
宁夏
新疆
其他
其他
展开
 
全部
合肥
芜湖
蚌埠
淮南
马鞍山
淮北
铜陵
安庆
黄山
阜阳
宿州
滁州
六安
宣城
池州
亳州

安徽合肥有色金属环境保护技术理论与应用

免费发布技术信息>>
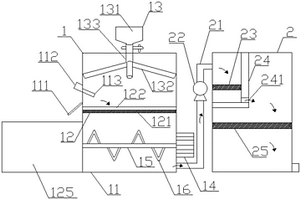
全自动餐饮垃圾固液及油水分离提升排放处理装置

本实用新型属于餐余类垃圾处理领域,具体涉及一种全自动餐饮垃圾固液及油水分离提升排放处理装置。本装置包括用于对餐饮垃圾中的油水和固体物质进行分离除渣单元,用于存储废油、污泥和废渣的废油废渣收集单元,用于存储接收到的油水并使油水静置并分离的油水分离单元,用于将分离出来的较干净的水排出本装置的强排提升单元;本装置还包括分别与除渣单元中的进料传感器和驱动机构,以及集水箱中的液位传感器和提升泵电联接的控制柜。本装置中的各个单元彼此独立工作又密切配合,从而实现了将餐余垃圾中的废渣、废油以及污泥相分离的功能。本实用新型不但可以自动清理杂物,而且分离较为彻底,收集排放较为简单。

标签:
固废
安徽 - 合肥 来源:中冶有色网 2023-03-19
艾蒿多糖提取及纯化方法

本发明涉及一种艾蒿多糖提取及纯化方法,将艾蒿原料用浓度为12%~14%乙醇溶液渗漉法在温度55℃~65℃下提取多糖,将艾蒿提取液用过滤器过滤再经喷雾干燥,得到灰白色粗多糖固体;取1克所述粗多糖固体,加10毫升生理盐水搅拌溶解,向多糖溶液中加进占所述多糖溶液总体积20%的氯仿和4%的正丁醇,振荡20min,在离心机转速为3000r/min条件下离心15min,合并上清液测其体积,继续加相应体积的氯仿和正丁醇,并重复上述步骤;采用Sephadex?G-100葡聚糖凝胶柱脱盐,将糖试剂盒检测到的多糖溶液合并,冻干,得白色粉末,即为成品。本方法工艺简单,可操作性强,要求设备简单,所得多糖收率最高,纯度也最大,还可以对提取艾蒿黄酮后的废渣进行再提取。

标签:
固废
安徽 - 合肥 来源:中冶有色网 2023-03-19
间苯二甲胺的钴配合物及其合成方法

一种新型间苯二甲胺四水合六水合氯化钴,乙酸钴配合物,该配合物的合成方法,由间苯二甲胺与六水合氯化钴,四水合乙酸钴为原料真空脱溶得粉红色固体(配合物(I);真空脱溶得紫红色固体(配合物(II)。本方法工艺简单只使用有机溶剂,且可回收使用无三废排放。该配合物在苯甲醛的Henry反应中显示良好的催化性能,其产率均高达98%。

标签:
固废
安徽 - 合肥 来源:中冶有色网 2023-03-19
邻氨基苄胺镍配合物
邻氨基苄胺镍配合物 1217     
 0

一种新型邻氨基苄胺氯化镍配合物I,该配合物的合成由邻氨基苄胺和与六水合氯化镍以2∶1的比例在无水甲醇溶剂中回流反应72小时,停止反应,将反应液热过滤,滤渣为蓝色固体,将固体用四氢呋喃,N,N-二甲基甲酰胺重结晶,得淡蓝色晶体。本方法工艺简单只使用有机溶剂,且可回收使用无三废排放。该配合物在苯甲醛的Henry反应中显示良好的催化性能,其转化率均大于99%。

标签:
固废
安徽 - 合肥 来源:中冶有色网 2023-03-19
循环流化床复合燃烧装置

本实用新型公开了一种循环流化床复合燃烧装置,包括炉体,所述炉体的左侧连接有给煤机构,所述炉体的左侧连接有旋风分离器,所述旋风分离器的顶端通过管道连接有中心筒,所述中心筒的右侧连接设置有废气处理机构,使用时,通过给煤机构对进入到炉体中的煤进行破碎,进而有利于炉体进行燃烧,使燃烧彻底,避免废渣颗粒较大,炉体产生的高温烟气将在旋风分离器的作用下进行固体与气体进行分离,分离后的固体将通过管道重新进入到炉体中再次燃烧,高温气体将进入到中心筒中,中心筒中的高温气体与省煤器、过热器以及预热器进行高效换热,换热后的气体通过废气处理机构进行处理。

标签:
固废
安徽 - 合肥 来源:中冶有色网 2023-03-19
生物发酵法回收铅蓄电池中铅的方法

本发明属于蓄电池回收技术领域,提供了一种生物发酵法回收铅蓄电池中铅的方法,将废铅蓄电池拆解,保留含铅固体废物;将含铅固体废物用硝酸氧化浸出;向发酵罐中流加柠檬酸发酵培养基和黑曲霉种子液,使得发酵液中的柠檬酸的酸度为80‑140g/L,得柠檬酸发酵液;向浸出液中加入柠檬酸发酵液,柠檬酸发酵液加入量为每升浸出液120‑150g,在常温下搅拌反应2‑3h,然后压滤进行固液分离,获得柠檬铅;向柠檬铅中加入碳酸钠,在50‑54℃的温度下脱硫处理130‑160min,得到碳酸铅;将碳酸铅置于精炼炉中,在350‑380℃条件下分解反应110‑130min,得到氧化铅;将氧化铅置于熔炼炉中使温度为800‑900℃,反应100‑120min得到精铅。本发明解决现有技术中存在的能耗高、回收率低以及造成环境污染等问题。

标签:
固废
安徽 - 合肥 来源:中冶有色网 2023-03-19
陶瓷内墙砖及其制备方法

本发明公开了一种陶瓷内墙砖及其制备方法,涉及墙砖技术领域,包括以下份计的原料:空心陶瓷微珠50~60份、固体废弃物纤维浆料20~40份、废玻璃粉20~30份、填料10~30份、多孔矿物质负载二氧化钛复合材料2~10份、烧结助剂2~8份、乳胶粉2~8份、分散剂2~4份和去离子水50~70份。制备方法包括:(1)、制备固体废弃物纤维浆料;(2)、原料处理;(3)、原料混合;(4)、墙砖压制;(5)、养护。本发明具有较高的保温隔热性能,并且耐水防火,制备方法简单,安全环保。

标签:
固废
安徽 - 合肥 来源:中冶有色网 2023-03-19
间苯二甲胺的钴镍配合物及其合成方法

一种新型间苯二甲胺四水合醋酸镍,六水合氯化钴,六水合氯化镍,乙酸钴配合物,该配合物的合成方法,由间苯二甲胺与四水合醋酸镍,六水合氯化钴,六水合氯化镍,四水合乙酸钴为原料在无水乙醇溶剂中于100℃反应24小时。固液分离后真空脱溶至粘稠状液体加入无水乙醇及正己烷形成饱和溶液后静止、分离,得配合物(I);真空脱溶得墨绿色固体配合物(II);真空脱溶得粉红色固体配合物(III);真空脱溶得紫红色固体配合物(IV)。本方法工艺简单只使用有机溶剂,且可回收使用无三废排放。该配合物在苯甲醛的Henry反应中显示良好的催化性能,其产率均高达98%。

标签:
固废
安徽 - 合肥 来源:中冶有色网 2023-03-19
抗开裂陶瓷砖及其制备方法

本发明公开了一种抗开裂陶瓷砖,按照重量份包括以下原料:锂瓷石100~120份、改性粘土90~100份、包膜珍珠岩30~40份、工业固体废弃物30~40份、白云石2~10份、石英粉20~30份、火山岩2~10份、石墨烯2~8份、纳米二氧化钛2~8份、方解石10~15份、烧滑石8~13份、煅烧高岭土5~10份、氧化锌5~10份,硅酸锆10~20份、发泡剂2~6份。本发明利用了工业固体废弃物,有效地利用了废弃资源,节约资源环保;本发明中添加石墨烯,不仅增韧了陶瓷砖的机械性能,并且也降低了陶瓷砖的重量。

标签:
固废
安徽 - 合肥 来源:中冶有色网 2023-03-19
镍氮配合物
镍氮配合物 1123     
 0

一种新型邻苯二胺氯化镍配合物I,该配合物的合成方法邻苯二胺和与六水合氯化镍采用2∶1的比例在无水四氢呋喃溶剂中于100℃反应72小时,反应完后热过滤,得浅绿色的固体,将固体用四氢呋喃,N,N-二甲基甲酰胺溶解,再用旋转蒸发仪除去溶剂,得浅蓝色晶体。一种新型邻氨基苄胺乙酸镍配合物II,该配合物的合成方法,邻氨基苄胺和四水合乙酸镍采用2∶1的比例进行反应,在无水四氢呋喃溶剂中于100℃反应72小时,反应完后热过滤,得固体,用二氯甲烷和正己烷配成饱和溶液,一天后有蓝色晶体出现。本方法工艺简单只使用有机溶剂,且可回收使用无三废排放。该配合物在苯甲醛的Henry反应中显示良好的催化性能,其转化率均大于99%。

标签:
固废
安徽 - 合肥 来源:中冶有色网 2023-03-19
节能环保的水管防堵塞装置

本发明公开了一种节能环保的水管防堵塞装置,包括废水处理腔,所述废水处理腔包括:下水机构,用于将废水引进废水处理腔;粉碎机构,用于粉碎废水中的固体垃圾;第一网罩和第二网罩,均由刚性材料制成、开口相向且对称设于废水处理腔内壁,第二网罩可相对第一网罩做水平往复运动,当第二网罩向第一网罩靠近直至两者的开口相接触时,第一网罩和第二网罩包围粉碎机构并形成粉碎腔,废水从下水机构中流出落入粉碎腔;控制模块,用于控制下水机构的进水、粉碎机构的启停、第二网罩的水平往复运动以及排水管的排水。本发明可以有效防止下水管和水池堵塞,并且实现废水再利用,节能环保,降低使用成本。

标签:
固废
安徽 - 合肥 来源:中冶有色网 2023-03-19
城市垃圾处理用微生物处理箱

本实用新型公开了一种城市垃圾处理用微生物处理箱,包括底座底端设置有脚垫,底座的内部设置有固定体垃圾降解箱和废液降解箱,固体垃圾降解箱的内部设置有导流板、微型电机和粉碎转筒,废液降解箱的内部设置有微生物培养箱;主体的一侧固定安装有挤压腔。该种城市垃圾处理用微生物处理箱,通过设有挤压腔、横向挤压装置和纵向挤压装置便于对厨余垃圾进行挤压干湿分离;通过设有微生物培养箱辅助固体垃圾降解箱和废液降解箱进行分别对厨余垃圾进行生物净化,通过设有粉碎转筒辅助固体厨余垃圾进行粉碎,从而便于微生物进行快速分解净化;通过设有气体收集箱收集微生物净化厨余垃圾产生的可利用气体,便于二次利用。

标签:
固废
安徽 - 合肥 来源:中冶有色网 2023-03-19
赤泥质轻集料及其制备方法与应用

本发明属于固体废弃物综合利用技术领域,公开了一种赤泥质轻集料及其制备方法与应用。本发明以拜耳法赤泥、粉煤灰、偏高岭土、滑石粉为主要原料,添加碳酸钙和碳酸镁为造孔剂,并配以适宜的烧制工艺,制备出烧结性能好(体积密度≥1.2·cm‑3)、中高力学强度(筒压强度≥5.5MPa)、高吸水率(≥13%)且耐碱腐蚀性能优异的赤泥质轻集料。本发明不仅仅可以解决固体废弃物赤泥处理问题,同时也能够促进轻集料高强混凝土发展,实现了大宗工业固体废弃物的综合利用,保护了环境,具有推广价值。

标签:
固废
安徽 - 合肥 来源:中冶有色网 2023-03-19
生物质生产液体燃料方法

本发明提供了一种生物质生产液体燃料方法,对玉米秸秆进行粉碎,过20‑50目筛,备用;将粉碎后的玉米秸秆粉投入恒温设备预处理,温度为50‑65℃,处理时间为80‑120min;向预处理后的玉米秸秆粉加2‑4倍重量的水浸泡12‑36h;水洗得到固体后,加重量为固体重量0.2‑0.5%的复合酶制剂催化固体10‑15h,生成葡萄糖;加入重量为葡萄糖重量2‑5%的酵母菌悬液进行发酵1‑2天,得到乙醇溶液,经过蒸馏和精馏后得到燃料乙醇;用芳香类化合物萃取液体产物,得到木质素,作为原料利用加氢裂解生产工艺生产汽油。本发明采用复合酶制剂对玉米秸秆废弃物进行预处理生产液体燃料,不产生发酵有害物质,能减少玉米秸秆废弃物中碳水化合物的降解损失,提高燃料得率,实现废物再利用。

标签:
固废
安徽 - 合肥 来源:中冶有色网 2023-03-19
铁尾矿陶粒及其制备方法

本发明涉及铁尾矿资源综合利用领域,主要涉及一种铁尾矿陶粒及其制备方法。本发明包括以下步骤:将原料按既定质量百分比搅拌均匀,加水混合得到混合物料,将混合料放入圆盘造球机,制得铁尾矿陶粒球形料,将得到的陶粒烘干并冷却至室温后,放入工业微波炉中进行微波加热处理,冷却后得到颗粒级配良好的铁尾矿球形陶粒。本发明不仅可以充分利用固体废弃物铁尾矿,而且能够大幅度提高固体废弃物的附加值,实现固体废弃物的资源化循环利用,减少因填埋占用的场地资源,同时为环境保护做出贡献。

标签:
固废
安徽 - 合肥 来源:中冶有色网 2023-03-19
人造板材
人造板材 1205     
 0

本发明提出了一种多层人造板材,该板材至少包括外层和内层,其中外层为由包括色浆的建筑材料构成的彩色层,内层由包括固体废弃物的建筑材料形成,内层与外层皆为经搅拌后,通过模具成形而形成,该板材的外层呈现出上述色浆所显示的颜色,上述内层和外层通过胶结工艺耦合到一起。这种人造板有着不同的颜色,美观明显,不易退色,制造工艺简便;同时由于使用废旧材料,所以十分环保,同时该板材硬度高,质地轻,易于墙面等处的安装和堆砌。

标签:
固废
安徽 - 合肥 来源:中冶有色网 2023-03-19
黑臭水治理方法
黑臭水治理方法 1016     
 0

本发明公开了一种黑臭水治理方法,该方法包括下述步骤:阻断外源固液废物进入受污染黑臭水体,通过人工或机械打捞方式初步清除水体中固体废物;在清除固体废物残体以及隔断外源固液废物后,在黑臭水中投入活化组合物;该活化组合物包括二氧化硅、二氧化钛、活性碳粉和铁粉;再向黑臭水体中投入固化剂;本发明提供的黑臭水治理方法可有效改善水体感官效果,在显著降低水体嗅味物质的同时,提高水体透明度,提升水体溶解氧水平,并改善水体及表层沉积物的局部微环境;相应的制成品将有希望对河流及湖泊局部植物性水体黑臭物质的去除可起到良好的治理效果。

标签:
固废
安徽 - 合肥 来源:中冶有色网 2023-03-19
彩色植草砖模具
彩色植草砖模具 1084     
 0

本发明涉及一种彩色植草砖模具,它是根据用户的需要形状,首先开钢模再用钢模加工制造成塑料用品模具,再将由两层不同颗粒级配比构成的混凝土,面层是由彩色颜料、砂、石、水泥、配比的混凝土,里层是由工业废渣、建筑垃圾等固体废弃物配比的普通混凝土,依次注入模具内(所填充的混凝土厚度可根据需要的尺寸自行填充),经振动机振实并养护一段时间后出模,即生产出带有绚丽色彩的彩色植草砖,其强度高、成本低、节省资然资源变废为宝,对固体废弃物的综合利用,材料来源广泛,美化环境,制作简单、施工方便。

标签:
固废
安徽 - 合肥 来源:中冶有色网 2023-03-19
去除水体中四环素的小麦秸秆改性生物炭的制备方法

本发明涉及一种去除水体中四环素的小麦秸秆改性生物炭的制备方法,属于产品加工废弃物资源化再利用领域。制备操作步骤包括:预处理:小麦秸秆清洗、干燥、破碎;初步炭化:在管式马弗炉中对预处理物进行第一次固体热解;二次炭化:在管式马弗炉中进行第二次固体热解;洗涤处理:用盐酸溶液洗涤、烘干、球磨、过筛;改进在于:在初步炭化和二次炭化之间增设浸渍处理步骤,具体操作是将3~5克初步炭化生物炭、12~20克氢氧化钾和200 mL质量分数为500 mg/L的高锰酸钾溶液充分混合,磁力搅拌,干燥,得到混合物。本发明制得小麦秸秆改性生物炭的比表面积为1524 m2/g、孔体积为0.48 cm3/g;一方面使农林废弃物小麦秸秆变废为宝,另一方面又实现“以废治废”的目的。

标签:
固废
安徽 - 合肥 来源:中冶有色网 2023-03-19
沼渣资源化再利用的方法

本发明公开了一种沼渣资源化再利用的方法,该方法是针对小麦制备酒精过程中产生的废液经沼气发酵后的沼渣进行废料再利用,步骤包括:将沼渣与小麦麸皮混合,获得固体混合物,在固体混合物中接种地衣芽孢杆菌D-1菌株,混匀发酵后烘干,得到蛋白饲料;本发明的有益效果是:该方法产生的废液废渣少,容易处理,能耗低,对环境污染小,制备得到的蛋白饲料富含小肽,适口性好,实现了沼渣废料的资源化利用,适合工业化生产。

标签:
固废
安徽 - 合肥 来源:中冶有色网 2023-03-19
同步回收垃圾渗滤液和酸性矿山排水中重金属的方法

本发明公开了一种同步回收垃圾渗滤液和酸性矿山排水中重金属的方法,其特征是将垃圾渗滤液和酸性矿山排水按一定比例混合,加入稳定运行的厌氧反应器中,利用在厌氧微生物群落中占优势的硫酸盐还原菌将废水中的硫酸盐还原生成S2-,继而进一步与重金属离子结合形成重金属硫化物,将生成的含有重金属硫化物的固体物质分别通过有氧和无氧煅烧的方法进一步回收其中的重金属。本发明的方法在处理难生物降解废水垃圾渗滤液和酸性矿山排水的同时,还对其中所含的重金属进行了有效回收,经济环保,实现了废弃物处理过程中的资源化转化。

标签:
固废
安徽 - 合肥 来源:中冶有色网 2023-03-19
污水处理系统
污水处理系统 1187     
 0

本发明属于污水处理技术领域,具体涉及一种污水处理系统,包括污水收集口、固液分离池、液体处理组、固体处理组,所述的污水收集口与固液分离池连接,所述的固液分离池分别设有液体出口和固体出口,所述的液体出口与所述的液体处理组连接,所述的固体出口与所述的固体处理组连接,这种污水处理系统,能对污水中的固体废物进行单独的处理,确保对固体废物的净化,避免固体废物的未处理造成二次污染。

标签:
固废
安徽 - 合肥 来源:中冶有色网 2023-03-19
提高产氢效率和稳定性的生物制氢方法

本发明通过培养产氢颗粒污泥提高产氢效率和 稳定性的生物制氢方法,特征是向反应器中加入产甲烷絮体污 泥使反应器内挥发性悬浮固体浓度为3-7g/L,控制有机废水 通过反应器的流速使有机废水在反应器中停留5-20小时;调 节反应器内溶液的pH在4.0-4.5,水力负荷从2-5g/(L.d)开 始,每天逐渐增加0.1-0.5g/(L.d),最终达到15-30g/(L.d); 稳定操作至反应器中形成一种以丁酸芽胞杆菌为主,包含球菌 的产氢颗粒污泥;进一步稳定操作至产氢颗粒污泥的体积占反 应器反应区体积的50-70%,反应器稳定地连续产氢。本发明 解决了现有利用有机废水生物制氢方法中的絮体污泥产氢效 率低、不能稳定地连续产氢问题,产氢效率可达到1.22- 1.37molH2/mol葡萄糖,且可以 稳定产氢1年以上。

标签:
固废
安徽 - 合肥 来源:中冶有色网 2023-03-19
农村生活污水处理系统用的防堵弯管

本发明公开了一种农村生活污水处理系统用的防堵弯管,本通过在弯管折弯处设置搅拌装置,搅拌装置在水流经过弯管处时,通过水流带动转动安装在第一固定环上的搅拌轴转动,搅拌轴可在第一固定环上通过上下转动,第一固定环再带动搅拌轴在固定轴上左右转动,因此可以照顾到弯管折弯处的各个角落。搅拌轴一方面避免固体废物沉积在弯管折弯处,另一方面即使固体废物沉积到弯管折弯处,搅拌轴也可带动沉积在弯管折弯处的固体废物,使固体废物随着水流运动从而离开弯管折弯处。本申请实现了及时疏通弯管,防止弯管折弯处堵塞的技术效果。

标签:
固废
安徽 - 合肥 来源:中冶有色网 2023-03-19
墙体建筑材料及其制备方法

本发明提供一种墙体建筑材料及其制备方法,涉及建筑材料领域,墙体建筑材料是由以下重量份的原料制成:废弃陶瓷料55‑70份、岩棉板废料45‑60份、秸秆废渣10‑20份、抗裂纤维10‑15份、碳酸钙粉10‑15份、珍珠岩15‑20份、硅藻土粉12‑16份、消泡剂0.5‑1.5份、砂浆保水剂0.5‑1份、减水剂0.2‑0.5份、矿物棉10‑14份、蛭石30‑40份、5‑10份、分散剂2‑4份;制备方法为(1)按照重量份数称取废弃陶瓷料、岩棉板废料、秸秆废渣、抗裂纤维、碳酸钙粉、珍珠岩、硅藻土粉、消泡剂、砂浆保水剂、减水剂、矿物棉、蛭石装入搅拌机内搅拌,得到固体混合物;(2)往固体混合物中加入水和分散剂,搅拌20‑30min,混合均匀;本发明具有保温隔热效果好、强度高、废物再利用率高、吸音效果好和耐腐蚀性强的优点。

标签:
固废
安徽 - 合肥 来源:中冶有色网 2023-03-19
改性磷酸铁的制备方法及应用

本发明公开了一种改性磷酸铁的制备方法及应用,涉及无机材料制备技术领域,包括以下步骤:将硫酸亚铁、磷酸、ZrO2、WO3加入到反应容器中,然后加入分散剂,搅拌,得分散液;在搅拌条件下,将分散液升温,加入双氧水,调节体系pH,搅拌反应,抽滤,洗涤,得固体沉淀;将固体沉淀干燥、煅烧、冷却后,得Zr2(WO4)(PO4)2改性的磷酸铁。本发明是在磷酸铁的制备原料中加入ZrO2和WO3,从而在磷酸铁的合成阶段对其进行Zr2(WO4)(PO4)2改性,可有效保持磷酸铁活性,将其用于磷酸铁锂的制备,制得磷酸铁锂的电化学性能优异。此外,本发明采用铁源采用钢铁酸洗废液,不仅降低原料成本,又解决钢铁酸洗废液的回收利用问题。

标签:
固废
安徽 - 合肥 来源:中冶有色网 2023-03-19
切割刀片用陶瓷及其制备方法

一种切割刀片用陶瓷,由下列重量份的原料制成:Fe3O41-1.4、Al2O321-26、CaO8-12、MgO3-5、光伏硅切割固体废料64-68、碳化硅20-30、氧化钠1-2、硅砂11-15、三异丙醇胺3-5、十二烷基三甲基氯化铵1-2、3-5%盐酸溶液100-120、去离子水适量、聚丙烯酸1-1.4、聚乙二醇0.7-1.2、乙二醇适量、耐磨助剂3-4;本发明的陶瓷使用了光伏硅切割固体废料,成本低,耐磨性好,导热性好,不易粉化,使用寿命长;通过使用本发明的耐磨助剂,能够增加陶瓷的表面光滑性、耐磨性和耐热性。

标签:
固废
安徽 - 合肥 来源:中冶有色网 2023-03-19
工业污水净化处理系统
工业污水净化处理系统 1204     
 0

本实用新型涉及工业污水处理技术领域,更具体地说是涉及一种工业污水净化处理系统,包括一号过滤罐和二号过滤罐,一号过滤罐包括罐体、过滤口和除臭箱,罐体设有进液管和出口阀,二号过滤罐通过输送管和输送泵与一号过滤罐连接,二号过滤罐包括陶瓷层、实心壁和活性炭层,实心壁设有通口;过滤口拦截和快速分离、收集工业污水中的固体废物;向除臭箱中添加除臭药液,既除去污水的臭味,也除去固体废物的臭味,改善后续工作人员倾倒固体废物时的工作环境;本实用新型快速处理拦截的固体废物,改善工作环境,结构稳定可靠,适合在工业废水处理车间推广使用。

标签:
固废
安徽 - 合肥 来源:中冶有色网 2023-03-19
无机固化剂
无机固化剂 1047     
 0

本发明公开了一种无机固化剂,该无机固化机由下述成分按重量份的组分组成:硫酸钙1-2、氯化钠1-2、氯化钙0.5-3、碳酸氢铵1-2、碳酸钾1-3.5、碳酸钠1-8、纯化水20-55。本发明解决了对建筑固体废弃物、企业废渣固体废弃物、矿业尾砂固体废弃物,起到各种废弃物的无害化处理作用。

标签:
固废
安徽 - 合肥 来源:中冶有色网 2023-03-19
全自动化学发光免疫分析仪的壳体结构

本实用新型公开了一种全自动化学发光免疫分析仪的壳体结构,包括反应管容器门、废液抽屉、固体废物门和缓冲液抽屉,反应管容器门中间部位设置有第一视窗,废液抽屉外表面安装有第二视窗,固体废物门外表面安装有第三视窗,缓冲液抽屉外表面安装有第四视窗。本实用新型通过第一视窗实时观测反应室中的运行状况,在必要情况下可暂停或停止运行设备,以防止发生故障或者故障扩大;通过第二视窗观测废液抽屉中废液的实时液位,以便及时倾倒废液,以免废液溢出;通过第三视窗便于直观看到固体废物的实时数量,以便及时清理,从而防止因废物积压而导致设备运行不畅;通过第四视窗便于观测缓冲液的实时液位,以便及时将缓冲液收集、回收再利用。

标签:
固废
安徽 - 合肥 来源:中冶有色网 2023-03-19
上一页 25 26 27 28 29 ... 75 下一页
共75页    到第

中冶有色为您提供最新的安徽合肥有色金属环境保护技术理论与应用信息,涵盖发明专利、权利要求、说明书、技术领域、背景技术、实用新型内容及具体实施方式等有色技术内容。打造最具专业性的有色金属技术理论与应用平台!

全国热门有色金属设备推荐
展开更多 +
全国热门有色金属技术推荐
展开更多 +

 

江西省隆恩特环保设备有限公司
宣传

报名参会
更多+

报告下载

有色专家
更多+

矿冶科技集团江苏北矿金属循环利用科技有限公司
书记 / 总经理
中南大学
常务副校长
中国矿业大学
副院长/教授
矿冶科技集团
中国工程院院士
武汉科技大学
院长 / 教授
赤泥综合利用研究报告2025
推广

热门技术
更多+

推荐企业
更多+

福建省金龙稀土股份有限公司
宣传

发布

在线客服

公众号

电话

顶部
咨询电话:
010-88793500-807