青岛垚鑫智能科技有限公司
宣传

位置:中冶有色 >

有色技术频道 >

> 复合材料技术

分类:
全部
矿山技术
冶金技术
材料制备及加工技术
环境保护技术
分析检测技术
 
全部
功能材料技术
复合材料技术
新能源材料技术
合金材料技术
加工技术
地区:
全部
北京
天津
上海
重庆
河北
山西
辽宁
吉林
黑龙江
江苏
浙江
安徽
福建
江西
山东
河南
湖北
湖南
广东
海南
四川
贵州
云南
陕西
甘肃
青海
内蒙
广西
西藏
宁夏
新疆
其他
其他
展开
 
全部
沈阳
大连
鞍山
抚顺
本溪
丹东
锦州
营口
阜新
辽阳
盘锦
铁岭
朝阳
葫芦岛

辽宁有色金属复合材料技术理论与应用

免费发布技术信息>>
高层楼窗口防火封闭卷帘

高层楼窗口防火封闭卷帘装置,其特征在于:由窗口、卷帘罩、弹钢卷、卷轴、帘上杆、卷帘布、帘下杆、帘出口、拉绳、固定点、外滑轮、内滑轮、滚轴采用已有技术进行连接,采用碳纤维复合材料进行制作,在发生火灾时能将窗口封闭而达到防火的效果;本发明是专用于居住和办公在高层楼上的人们防火而设计的,适用于高层楼窗口外侧防火使用,同时也适用于高层楼房间带门玻璃的外门和不防火的房门防火使用,同样也适用于工厂、车间为防火相互隔绝时使用;因其碳纤维本身为不怕火烧的碳材料,还具备质轻、抗拉钢性强等诸多优点,同时还具备可与其他材料复合的特性,所以用碳纤维与其他材料合成的复合材料制作的防火装置,能给人们带来安全保障。

标签:
复合材料
辽宁 - 沈阳 来源:中冶有色网 2023-03-18
有机‑无机杂化路线制备镍钨双金属碳化物催化剂的制备方法及其应用

一种有机无机杂化法制备镍钨双金属碳化物催化剂的制备方法及其应用,属于材料制备技术及应用领域。其特征是通过有机无机杂化路线合成了纯相的Ni6W6C和具有不同Ni含量的W2C和Ni6W6C复合材料,他们均呈现出长度约为0.3‑4μm和直径约为300‑900nm的纳米颗粒堆叠聚集形态。镍钨双金属碳化物的BET比表面积范围为17.6m2/g到15.7m2/g。该方法与传统的电弧熔化法和程序升温还原法相比,具有低温、操作简单、节能和产品颗粒小、较少表面碳污染等优点。工业应用前景乐观,制备的双金属碳化物催化剂能用于加氢、氢解、脱氢、脱氧、异构化、甲烷合成气、水煤气变换、析氢反应和催化剂载体等。

标签:
复合材料
辽宁 - 盘锦 来源:中冶有色网 2023-03-18
多孔硅基复合发光材料
多孔硅基复合发光材料 1051     
 0

本发明提供一种多孔硅基复合发光材料,其特征是至少由多孔硅材料和防护材料两种材料复合而成,多孔硅材料通过夹在防护材料中的方式形成多孔硅材料为夹心层的三合板型复合材料,或者通过与防护材料均匀混合的方式形成多孔硅材料均匀分布在防护材料中的均布型复合材料。所发明的多孔硅基复合发光材料在抗碎裂性能和发光稳定性方面较多孔硅材料有了明显的提高。

标签:
复合材料
辽宁 - 大连 来源:中冶有色网 2023-03-18
碳载钒酸锂及其制备和应用

本发明涉及一种碳载钒酸锂及其制备和应用,碳载钒酸锂采用以下步骤合成获得,1)在室温~90℃下,将含锂化合物和含钒化合物在水中反应0.5~10h;2)在步骤1)中制得的水体系中加入碳粉;控制碳粉的加入量与目标产物钒酸锂的质量比为1:(1~20),继续加热;3)将步骤2)中的混合物中的水分全部挥发,得到碳载钒锂复合材料;4)将步骤3)中的碳载钒锂复合材料置于惰性气体气氛下,进行热处理,然后缓慢冷却至室温。所述的钒酸锂材料为纳米颗粒,纳米材料的表面具有明显的富锂效应,其放电比容量可以达到500mAh/g以上(3.7~1.0V),远远超出钒酸锂晶体的理论嵌锂比容量。制备方法能耗低、工艺简单、易于控制,所述的方法制得的产品批次稳定性好。

标签:
复合材料
辽宁 - 大连 来源:中冶有色网 2023-03-18
具有防污性能的聚氨酯复合涂料及其制备方法

本发明公开了一种具有防污性能的聚氨酯复合涂料及其制备方法。该涂料是通过如下方法制备:将石墨氧化物分散到水中,超声,得到石墨氧化物均匀分散液;将二氧化钛加入到步骤石墨氧化物均匀分散液中,搅拌、超声处理、离心、烘干得到石墨氧化物负载的二氧化钛粉末固体产物;将固体产物加入去离子水中,再加入水合肼溶液和浓氨水的混合溶液,搅拌均匀、水浴反应,反应结束后冷却,经水洗、离心、烘干后,得到石墨烯修饰二氧化钛复合材料;将石墨烯修饰的二氧化钛复合材料加入到水性聚氨酯中超声分散即可。本发明的聚氨酯复合涂料,对海洋生物的附着有着较好的抑制作用,可以应用于船舶防污。

标签:
复合材料
辽宁 - 大连 来源:中冶有色网 2023-03-18
用于路、桥吸音隔光墙材料

一种用碳纤维复合材料制造的用于路、桥吸音隔光墙材料,本发明主要包括有碳纤维长丝或短切丝、氢烧镁和化工原料及其它材料所构成,其制造工艺流程是将碳纤维长丝或短切丝与氢烧镁和化工原料及其它材料混合经模具压制、固化而形成板状并布满微型孔隙的吸音隔光板材料,将一块块碳纤维复合材料制成吸音隔光材料板固定联成一体,接缝处采用凹凸对接、用传统的螺丝杆、帽方式镶嵌在铁或木制架上。本发明的优点是将机动车辆发出的马达声音和车辆颠簸金属声音及桥梁震撼声音全部吸收到吸音隔光材料的微孔中。

标签:
复合材料
辽宁 - 大连 来源:中冶有色网 2023-03-18
金属基MFI型沸石分子筛膜的制备方法

本发明公开了一种金属基MFI型沸石分子筛膜复合催化材料的制备方法,首先在不锈钢载体上制备Silicalite-1沸石膜晶种层;然后晶种涂层表面电化学沉积纳米金属;再在晶种涂层上二次生长MFI型沸石分子筛膜;最后经焙烧制得金属基MFI型沸石分子筛膜。本发明电沉积的纳米金属颗粒嵌入晶种层上晶间隙里,二次水热合成的沸石膜连续、致密无裂缺,与载体结合力牢固,提高了涂层的抗机械振荡性能和热传导性能。本发明所提供的方法得到的金属基沸石分子筛膜复合材料可以有效提高涂层材料对物料的传输通量,解决沸石分子筛膜由于缺陷或焙烧造成的不连续问题,加强了沸石分子筛膜与金属基体的结合强度。

标签:
复合材料
辽宁 - 大连 来源:中冶有色网 2023-03-18
磁性高分子复合微球的制备方法

一种磁性高分子复合微球的制备方法,涉及一种无机有机复合材料和功能高分子复合材料的制备方法,制备Fe3O4纳米颗粒:在温度N2保护下,向含Fe3+,Fe2+的化合物溶液中滴加碱性溶液,固液分离,洗涤,真空干燥;制备磁性海藻酸钙凝胶球:在室温下,将Fe3O4纳米颗粒与海藻酸钠凝胶均匀混合后,水洗掉凝胶球表面的Cl-;制备磁性高分子复合微球:将磁性高分子凝胶球加入到壳聚糖的酸溶液中,将凝胶球浸泡在戊二醛中,磁性分离,真空干燥,得到磁性高分子复合微球。本发明具有原料易得、操作方法简单、效率高等优点,制得的微球尺寸均匀,热稳定性和机械稳定性较高,吸附性能较强,可回收重复利用,适用于废水处理等领域。

标签:
复合材料
辽宁 - 沈阳 来源:中冶有色网 2023-03-18
多元气氛可控型喷涂方法与装置

多元气氛可控型喷涂方法与装置,是在本方法专 用装置载台上安装试件,再依次调整喷涂距离,密封舱门,抽 真空,注惰性气体,加热试件,利用电弧、等离子喷枪喷涂; 结束后在装置内保温、降温、再取出,其中真空度(5.5~6.5) ×10-4hpa,基材加温至500℃~ 700℃,喷涂距离80~180毫米,保温温度650℃~750℃,保 温时间25~35分钟,降温至60℃~50℃时取出;电弧喷涂电 压30~33V,电流150~200A,惰性气体压力0.4~0.7MPa, 等离子喷涂功率60~100KW,主气流量40~60L/min,喷涂丝 材直径1.6~2.0mm,粉末粒度200~325目,专用装置箱体有 气体入口、排气口和抽气口,箱体内设有支板和与支板连接的 上下左右可动的载台,载台上设有加热板,箱体外设有电弧和 等离子喷枪,本方法制备出的复合材料体,结合强度大,性能 好,费用低。

标签:
复合材料
辽宁 - 沈阳 来源:中冶有色网 2023-03-18
高温热电偶绝缘管及其制取方法

一种高温热电偶绝缘保护管及其制取方法,系属 于测温器件领域。其主要特征是在可将热电偶置于 其内的C/C复合材料或高强石墨基体上施以热解 氮化硼涂层或直接制成热解氮化硼套管,其制取参数 为:温度1600-2000℃,炉内压力1-3mmHg,通入 气体BCl3,NH3N2,时间2-3小时,涂层厚度 0.3-0.5mm。本发明提供的保护管具有良好的气密 性、耐蚀性、抗热震性、抗有色金属腐蚀性,测温灵敏 度高等优点。

标签:
复合材料
辽宁 - 沈阳 来源:中冶有色网 2023-03-18
导电MOFs柔性室温气体传感器及其制备方法和应用

本发明公开了一种导电MOFs柔性室温气体传感器及其制备方法和应用,属于柔性传感器技术领域。本发明首先制备了甲基乙烯基硅橡胶与炭黑的复合材料,然后在复合材料表面喷涂导电MOFs传感材料,制备得到导电MOFs柔性室温气体传感器,本发明节省在基底表面沉积电子线路的成本,避免复杂的气敏元件制备工艺,具有成本较低,操作简便等优势;本发明制备的柔性室温气体传感器具有较好的重复性与稳定性,可用于氨气监测。

标签:
复合材料
辽宁 - 大连 来源:中冶有色网 2023-03-18
新型光催化剂NiGa<sub>2</sub>O<sub>4</sub>/AQ/MoO<sub>3</sub>及其制备方法和应用

本发明涉及一种新型的光催化剂NiGa2O4/AQ/MoO3及其制备方法和应用,属于光催化剂技术领域。本发明采用水热法制备NiGa2O4/AQ/MoO3,将纳米NiGa2O4/AQ和纳米MoO3加入到无水乙醇中,超声分散后,将所得悬浮液加热煮沸并恒温30min,过滤后将所得滤出物干燥8.0h,将粉末研细,得到NiGa2O4/AQ/MoO3。本发明所制备的NiGa2O4/AQ/MoO3复合材料在亚硝酸盐和亚硫酸盐转化过程中表现出了高效稳定的光催化活性,在亚硝酸盐和亚硫酸盐废水处理中具有广阔的应用前景。

标签:
复合材料
辽宁 - 沈阳 来源:中冶有色网 2023-03-18
催化加氢5-羟甲基糠醛制备2,5-二甲基呋喃的方法

本发明涉及一种催化加氢5‑羟甲基糠醛制备2,5‑二甲基呋喃的方法,即5‑羟甲基糠醛在NiFe与还原氧化石墨烯复合材料催化剂的作用下选择性加氢反应,生成2,5‑二甲基呋喃。NiFe/rGO催化剂使用前无需经过高温预还原处理,在200℃和2MPa氢气压力的条件下反应3h,5‑羟甲基糠醛的转化率可达100%,2,5‑二甲基呋喃的收率和选择性可达97%。无需还原预处理的NiFe/rGO催化剂比Ni/rGO、Fe/rGO催化剂以及NiFe/Al2O3、NiFe/HY、NiFe/SiO2催化剂具有更高的催化活性和选择性,比Pt、Pd等贵金属类催化剂廉价,具有工业应用价值。

标签:
复合材料
辽宁 - 大连 来源:中冶有色网 2023-03-18
用于同时或分别检测锌、铅、镉离子的电化学传感器及其制备方法

本发明涉及一种用于同时或分别检测锌、铅、镉离子的电化学传感器及其制备方法,属于电化学检测领域。该电化学传感器包括电化学工作站、电解池、对电极、参比电极、工作电极,其中工作电极为铋基金属有机框架/生物质石墨烯/Nafion的玻碳电极,有效组分为铋基金属有机框架/生物质石墨烯复合材料,通过将微晶纤维素高温裂解得到绿色环保的生物质石墨烯,然后进行热回流处理,再以甲醇为溶剂加入硝酸铋和均苯三甲酸进行反应,得到铋基金属有机框架上均匀负载生物质石墨烯的复合材料。本发明应用于同时或分别检测锌、镉、铅离子,表现出较好的电检测金属离子的能力、较低的检出限,且合成方法简单,检测速度快,具有一定的实际应用性。

标签:
复合材料
辽宁 - 沈阳 来源:中冶有色网 2023-03-18
超快制备石墨烯或石墨薄膜的方法

本发明涉及石墨烯及石墨薄膜制备领域,具体为一种石墨烯或石墨薄膜的超快制备方法,适于石墨烯及石墨薄膜的高效制备。本发明通过将高温基体在液态碳源中快速冷却(淬火),利用淬火过程中液态碳源的裂解,在基体表面生长石墨烯或石墨薄膜。本发明制备工艺简单,效率高,成本低,可控性好,可批量制备石墨烯和石墨的薄膜、粉体和复杂宏观结构及其与基体的复合材料,为石墨烯及石墨薄膜在电子器件、光电器件、电化学储能、防腐与耐磨涂层、高强高导复合材料、透明导电薄膜、电磁屏蔽、热管理以及热电领域的应用奠定了基础。

标签:
复合材料
辽宁 - 沈阳 来源:中冶有色网 2023-03-18
固态离子凝胶聚合物电解质及其制备方法

本发明公开了一种固态离子凝胶聚合物电解质及其制备方法。所述固态离子凝胶聚合物电解质的制备方法是通过将溶解有锂盐的离子液体与具有三维网络结构的有机/无机杂化材料混合浸润形成的固态的离子凝胶复合材料。该固态的离子凝胶复合材料在用作电解质时可以同时保证聚合物电解质的机械性能以及离子传输能力。本发明的固态离子凝胶聚合物电解质表现出较好的柔性和机械性能,具有较好的安全性能。该电解质与合适的正极进行配合使用时,使正极活性物质发挥出了较高的比容量,具有优异的应用前景。

标签:
复合材料
辽宁 - 盘锦 来源:中冶有色网 2023-03-18
3D菊花状Z型Bi<sub>2</sub>S<sub>3</sub>@CoO异质结复合催化剂及其制备方法和应用

本发明涉及3D菊花状Z型Bi2S3@CoO异质结复合催化剂及其制备方法和应用。将CoO和Bi(NO3)3加入到二次蒸馏水中,持续搅拌后,逐滴加入Na2S水溶液,搅拌反应后,离心取固体物,用二次蒸馏水反复洗涤至中性,干燥后,将产物放入管式炉中,于250℃下煅烧2h,得目标产物。本发明的Bi2S3@CoO对四环素的降解率可达90%,对金霉素降解率可达70%以上。本发明具有简便、高效、成本低、制备的复合材料具有带隙窄、比表面积大、催化活性高的特点,且有良好的可见光吸收性能和良好的稳定性,光电效率高,光电催化降解有机物效果好,能够应用于光电催化降解有机物以及传感器等领域。

标签:
复合材料
辽宁 - 沈阳 来源:中冶有色网 2023-03-18
适用于热压罐成型工艺的常温固化耐高温辅助工装材料体系的制造方法

本发明属于复合材料制造技术领域,提供一种适用于热压罐成型工艺的常温固化耐高温辅助工装材料体系的制造方法。该辅助工装材料体系的主体为梯度固化双组份环氧树脂体系,根据封装体系排布,材料从下至上依次为复合材料坯料层、玻璃布、无孔隔离膜、辅助工装坯料、四氟布、有孔隔离膜、透气毡以真空袋,封装后抽真空,在负压的状态下常温放置8h,完成辅助工装的制造。本发明的通过选取常温固化耐高温树脂体系作为主材、手工糊制工艺制造玻璃钢材质的辅助工装,可以同时实现辅助工装对坯料型面的良好匹配性以及辅助工装制造的简易性。

标签:
复合材料
辽宁 - 沈阳 来源:中冶有色网 2023-03-18
起模器及应用
起模器及应用 920     
 0

本发明公开一种起模器,用于将复合材料制件从成型模具中脱离,包括脱模背板和螺栓,所述脱模背板靠近底部的边缘处沿长度方向依次设有数个通孔,所述螺栓穿过通孔与成型模具上的螺纹孔作用,将脱模背板安装在成形模具上。该起模器结构简单,便于广泛应用,利用该起模器对复合材料制件进行脱模,可有效保证制件质量,延长成型模使用寿命,不仅提高脱模效率,还降低制造和使用成本。

标签:
复合材料
辽宁 - 沈阳 来源:中冶有色网 2023-03-18
酪氨酸酶电化学生物传感器及其应用

本发明公开了一种酪氨酸酶电化学生物传感器及其应用,首先将酪氨酸酶固定在有序介孔碳的孔道中,再与四氧化三钴和壳聚糖混合生成GMC-Co3O4-Tyr-Chi复合材料固定在玻碳电极表面制得酪氨酸酶电化学生物传感器。本发明的优点是:1.对酚类化合物灵敏度高;2.选择性好;3.具有长期稳定性;4.本发明的生物传感器制备价格低廉,样品前处理简单,检测快速,设备便携适合现场检测。

标签:
复合材料
辽宁 - 大连 来源:中冶有色网 2023-03-18
复合磁性杂化材料Fe3O4/MOFs及其制备方法和应用

本发明涉及复合磁性杂化材料Fe3O4/MOFs及其制备方法和应用。于三氯化铁、无水乙酸钠和乙二醇的混合溶液中,加入丙烯酸钠,溶剂热法合成表面富羧基的磁性Fe3O4微球;将表面富羧基的磁性Fe3O4微球加入到MOFs材料的前体溶液中,溶剂热法合成MOFs包覆磁性Fe3O4微球的复合材料。本发明通过向合成磁性Fe3O4微球的原料中直接加丙烯酸钠而使得到的磁性Fe3O4微球富羧基化,不使用有机表面活性剂就可以让其表面更易生长MOFs,原料均简单易得,合成条件温和,合成方法简便。

标签:
复合材料
辽宁 - 沈阳 来源:中冶有色网 2023-03-18
3d‑4f配位聚合物、复合物及其钙钛矿衍生物和复合物制备法

3d‑4f配位聚合物、复合物及其钙钛矿衍生物和复合物制备法, 3d‑4f配位聚合物[DyCo(Pydc)3(H2O)3]·9H2O作为前驱体,并通过前驱体的热分解制备钙钛矿DyCoO3,以及具有氧化亚镍(NiO@[DyCo(Pydc)3(H2O)3]·9H2O和NiO@DyCoO3)的两种类型复合材料的制备采用简单的水热合成法和随后的退火工艺。本发明的具体优点如下:第一,制备方法简单方便。第二,在1‑18 GHz的频率范围内进行50wt%的样品‑石蜡复合材料的微波吸收性能研究。3d‑4f配位聚合物[DyCo(Pydc)3(H2O)3]·9H2O最佳反射损耗值在频率18GHz,厚度7mm处达到‑13.7 dB,同时,频带宽度可达4.2 GHz(从9.8‑14 GHz)。样品优异的吸波性能是由介电损耗,阻抗匹配和几何效应所做出的贡献。

标签:
复合材料
辽宁 - 沈阳 来源:中冶有色网 2023-03-18
钠离子电池金属硫化物/石墨烯的制备方法

本发明公开了一种钠离子电池金属硫化物/石墨烯的制备方法,将氧化石墨加入到离子液体中,超声分散,得到GO分散液,将金属源加入到GO分散液中,搅拌混合,加入硫源,进行离子热反应,将得到的材料洗涤干燥后,在管式炉中惰性气氛保护下煅烧,得到金属硫化物/石墨烯复合材料。本发明提供的方法简单,以离子液体作为溶剂和结构导向剂,制备出具有高导电性和良好结构稳定性的金属硫化物/石墨烯复合材料,并将其应用到钠离子电池中,获得了较高的容量,对于钠离子电池电极材料的设计制备具有重要的意义。

标签:
复合材料
辽宁 - 盘锦 来源:中冶有色网 2023-03-18
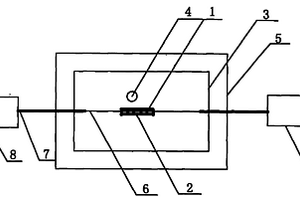
自动多叶准直器外壳
自动多叶准直器外壳 769     
 0

本发明公开一种自动多叶准直器外壳,壳体由内碳纤维复合材料层(1)、外碳纤维复合材料层(2),及在两者之间设置的玻璃纤维材料层(3)构成。本发明不但可以在不增加重量,甚至减轻重量的前提下,大幅的提高外壳的机械性能和强度,同时由于碳纤维的导电性,可以很好的起到电磁屏蔽的作用。

标签:
复合材料
辽宁 - 大连 来源:中冶有色网 2023-03-18
MgO陶瓷基复合相变蓄热材料及其自固化成型制备工艺

MgO陶瓷基复合相变蓄热材料及其自固化成型制备工艺,为解决现有制备工艺导致该蓄热材料无机盐含量低、烧成过程熔融盐流失和蒸发严重、复合材料致密度和机械强度差、工艺复杂等问题而设计的。制备方法为:氧化镁过200目筛,取筛下部分;碳酸钠过325准筛,取筛下部分;硼酸镁晶须过400目筛取筛下部分;然后原料按重量百分比混合:氧化镁30-60%,碳酸钠15-40%,硼酸镁晶须1-10%,磷酸二氢铵5-20%,去离子水15-25%。混合后充分搅拌均匀,并使浆料中气泡排出。然后在浆料固化之前将其通过浇注的方式注入蜡质模具或树脂模具中。浆料在常温空气中自固化成型,脱模后制成MgO陶瓷基复合相变蓄热材料坯体。坯体经200-700℃焙烧,制得具有高温、耐腐蚀、蓄热密度高、制备工艺合理可靠的MgO陶瓷基复合相变蓄热材料。

标签:
复合材料
辽宁 - 沈阳 来源:中冶有色网 2023-03-18
老化飞机结构损伤修复后水分入侵的光纤光栅监测方法

老化飞机结构损伤修复后水分入侵的光纤光栅监测方法,属于结构健康监测领域。该方法是在老化飞机结构和复合材料修复层间埋入长周期光栅湿度传感器,通过监测光纤光栅波长和光谱能量变化,实现对水分入侵监测。本发明的特点在于:光纤光栅传感器与复合材料具有很好的相容性,不会影响其力学性能。与基于FBG光栅的湿度传感器相比,长周期光栅传感器的测量精度更高,对涂层材料的厚度与均匀性要求更宽松,通过对涂层材料的优化设计与选择,更适合于作为水分入侵的健康监测。它能够对飞机结构腐蚀早发现,早修复。

标签:
复合材料
辽宁 - 沈阳 来源:中冶有色网 2023-03-18
连续金属玻璃纤维及其制备方法

本发明提供了一种连续金属玻璃纤维及其制备方法,该连续金属玻璃纤维的合金成分属于钯基、铂基、金基、钙基、镁基、铜基、铝基、钛基、铁基、钴基、镍基、锆基、铪基、钇基、镧系稀土基中的一种,其横截面直径为2~50ΜM,长度大于100M,非晶相的体积含量不低于90%。本发明将过冷的金属玻璃合金熔体通过多孔拉丝漏板,以极快的速度拉制成一定直径的金属玻璃纤维。本发明所涉及的金属玻璃纤维具有优异的综合力学性能。本发明连续金属玻璃纤维可以通过类似于氧化物玻璃纤维的应用方式,将其制造成绳、布、网、毡、短切纱等初级产品;或者以此为基础作为纤维增强体与树脂、陶瓷、金属、水泥、石膏、沥青等进行复合,制造成性能丰富多变的各类复合材料。

标签:
复合材料
辽宁 - 沈阳 来源:中冶有色网 2023-03-18
耐CMAS腐蚀性能优的环境障涂层及其制备方法

本发明涉及极端环境用陶瓷涂层领域,具体为一种耐CMAS腐蚀性能优的环境障涂层及其制备方法。该涂层包含六稀土主元双硅酸盐面层和Si过渡层的复合涂层,以优选粒度分布的硅粉以及六稀土主元双硅酸盐球形粉体为原料,利用大气等离子喷涂技术在SiCf/SiC陶瓷基复合材料或烧结SiC基体上依次沉积Si过渡层和六稀土主元双硅酸盐面层,制备态涂层经高温热处理后,最终得到成分精准可控、结晶度高、致密度高、结合强度好和耐腐蚀性能优的环境障涂层。该涂层具有优异的高温稳定性,并能有效阻止高温条件下氧、水蒸气和CMAS对SiCf/SiC等基体材料的侵蚀,在硅基陶瓷及复合材料用环境障涂层领域具有重要的应用价值。

标签:
复合材料
辽宁 - 沈阳 来源:中冶有色网 2023-03-18
海洋工程用铜钢固液复合双金属材料及其制备方法

本发明提供了一种海洋工程用铜钢固液复合双金属材料及其制备方法,所述双金属复合材料中基板为钢板,铜合金板附着在钢板表面;铜合金与钢的板坯厚度之比为1:(5.6~11.2),制备方法,包括钢板预处理、预热、固液复合、复合板坯加热、热轧、矫直、热处理;应用本发明生产的铜钢双金属复合材料,使该种材料具有192~208HV的截面维氏硬度,截面硬度差≤16HV,Z向抗拉强度Rm≥440MPa,伸长率A≥25%,复合界面剪切强度240~260MPa,弯曲检验均合格,同时具有良好的耐海水腐蚀性能。

标签:
复合材料
辽宁 - 鞍山 来源:中冶有色网 2023-03-18
CFRP三维细观切削仿真质量缩放系数的快速选取方法

本发明CFRP三维细观切削仿真质量缩放系数的选取方法属于复合材料切削仿真领域,涉及一种基于有限元仿真的CFRP三维细观切削仿真质量缩放系数的选取方法。该方法首先建立复合材料细观几何模型并划分网格,分别赋予各网格部件相应的材料属性并定义材料方向。在装配模块中,导入各网格部件,通过平移、旋转等操作与约束设置各部件间的相对位置。采用动态显式分析步,设置接触与边界条件;最后,提交分析。该方法适用于不同的切削速度,利用该方法,能够实现不同切削速度下CFRP三维细观切削中质量缩放系数的高效选取,在保证计算精度的前提下提高计算效率,有利于CFRP三维细观切削模型的发展完善以及CFRP切削机理研究。

标签:
复合材料
辽宁 - 大连 来源:中冶有色网 2023-03-18
上一页 24 25 26 27 28 ... 126 下一页
共126页    到第

中冶有色为您提供最新的辽宁有色金属复合材料技术理论与应用信息,涵盖发明专利、权利要求、说明书、技术领域、背景技术、实用新型内容及具体实施方式等有色技术内容。打造最具专业性的有色金属技术理论与应用平台!

全国热门有色金属设备推荐
展开更多 +
全国热门有色金属技术推荐
展开更多 +

 

江西省隆恩特环保设备有限公司
宣传

报名参会
更多+

报告下载

有色专家
更多+

中国瑞林工程技术有限公司
中国工程院院士
辽宁忠旺集团
教授级高工
重庆理工大学
教授
广东省科学院工业分析检测中心
副主任
北京科技大学、中国科学院
院士
赤泥综合利用研究报告2025
推广

热门技术
更多+

推荐企业
更多+

福建省金龙稀土股份有限公司
宣传

发布

在线客服

公众号

电话

顶部
咨询电话:
010-88793500-807