青岛垚鑫智能科技有限公司
宣传

位置:中冶有色 >

有色技术频道 >

分类:
全部
矿山技术
冶金技术
材料制备及加工技术
环境保护技术
分析检测技术
 
全部
废水处理技术
大气治理技术
固/危废处置技术
土壤修复技术
地区:
全部
北京
天津
上海
重庆
河北
山西
辽宁
吉林
黑龙江
江苏
浙江
安徽
福建
江西
山东
河南
湖北
湖南
广东
海南
四川
贵州
云南
陕西
甘肃
青海
内蒙
广西
西藏
宁夏
新疆
其他
其他
展开
 
全部
合肥
芜湖
蚌埠
淮南
马鞍山
淮北
铜陵
安庆
黄山
阜阳
宿州
滁州
六安
宣城
池州
亳州

安徽合肥有色金属环境保护技术理论与应用

免费发布技术信息>>
脱水污泥干发酵处理装置及方法

本发明属于固体废弃物处理技术领域,具体涉及一种脱水污泥干发酵处理装置及方法,所述的处理装置包括发酵仓、料仓和出料管,发酵仓的外壳上设有旋转驱动装置用于带动发酵仓交替正反转,料仓布置在所述发酵仓的进料口一侧,且在料仓底部的出料口与发酵仓的进料口之间设有进料管,所述的进料管内设有螺旋推进机用于将料仓中的物料推入发酵仓中;出料管布置在所述发酵仓的出料口一侧,且在出料管内设有螺旋排渣机,所述螺旋排渣机的出料口连通至泥渣斗;所述出料管上还设有依次管道连接的缓冲罐、冷凝器、水封槽和引风机;本发明提供的处理装置实现污泥进一步的稳定化、减量化和资源化,该处理装置高效、稳定且二次污染小。

标签:
固废
安徽 - 合肥 来源:中冶有色网 2023-03-19
沸腾炉焙烧工艺
沸腾炉焙烧工艺 859     
 0

本发明公开了一种沸腾炉焙烧工艺,将沸腾焙烧改为弱氧焙烧,产生的矿渣呈棕黑色,其主要成分为Fe3O4(含铁量60%以上),主要是化工生产中矿渣资源再利用方法,解决了矿渣因含铁量低造成资源再利用价值不高的难题,大大提高了生产效益,又避免了因无法出售导致的固体废弃物囤积,无法处理的问题。

标签:
固废
安徽 - 合肥 来源:中冶有色网 2023-03-19
氮肥的制备方法及由该方法直接获得的产品

本发明涉及一种化学肥料的制备方法及由该方法直接获得的产品,尤其是一种氮肥的制备方法及由该方法直接获得的产品,将天然硅酸盐、碱金属的氢氧化物或碳酸盐、玄明粉混合,高温熔融,其中天然硅酸盐占混合物重量的60—85%,玄明粉占3—10%,碱金属的氢氧化物或碳酸盐占10—30%,冷却后形成的块状固体与水混合,加热后形成溶液,将溶液与味精工业废液混合,形成胶状物,经过滤机过滤,所得滤渣干燥后,即为氮肥。

标签:
固废
安徽 - 合肥 来源:中冶有色网 2023-03-19
红没药烯酯香料的生产装置

本实用新型公开了一种红没药烯酯香料的生产装置,采用烟酰胺和P2S5为起始物料,经取代反应后得到了硫代烟酰胺,再与2‑氯乙酰乙酸乙酯进行成环反应得到了2‑吡啶基‑4‑甲基噻唑‑5‑甲酸乙酯,经皂化、酸化后得到了2‑吡啶基‑4‑甲基噻唑‑5‑甲酸,然后在固体酸催化剂的作用下与没药醇缩合,经工业层析分离提纯合成2‑吡啶基‑4‑甲基噻唑‑5‑甲酸红没药烯酯香料,该生产装置工艺流程相对简短,采用自动反冲洗过滤固体酸催化剂具有容易与液相反应体系分离、不腐蚀设备、后处理简单的优点,克服了现有液体酸对设备腐蚀和含酸废水污染环境的问题。

标签:
固废
安徽 - 合肥 来源:中冶有色网 2023-03-19
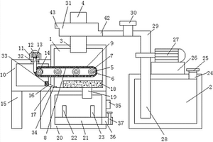
垃圾检测分流分拣流水线

本实用新型涉及一种固体废物处理技术领域,尤其是涉及一种垃圾检测分流分拣流水线,该流水线包括电动皮带传送机、照相检测设备、输送带式金检机及多个人工分拣台,所述电动皮带传送机由多组直线皮带机、转角皮带机及斜坡输送机组成,所述斜坡输送机一端位于两组直线皮带机之间,另一端连接所述人工分拣台;所述照相检测设备位于所述电动皮带传送机的上方,输送带式金检机位于所述电动皮带传送机的进料端,二者的信号输出端和所述斜坡输送机的电机控制端均与一计算机连接。本实用新型可以处理绝大部分小型固体工业垃圾,照相检测设备、输送带式金检机使得流水线可以同时分拣多种工业垃圾并自动分类。

标签:
固废
安徽 - 合肥 来源:中冶有色网 2023-03-19
可实现自清洁的建筑施工用垃圾分类装置

本实用新型公开了一种可实现自清洁的建筑施工用垃圾分类装置,具体涉及建筑垃圾技术领域,包括分类箱,所述分类箱的内部设置有第一处理室,所述第一处理室的一侧设置有第二处理室,所述第一处理室和第二处理室的前侧设置有出料板,所述出料板的前侧设置有把手,所述第二处理室的内腔中部设置有斜面。本实用新型设置了滑板、毛刷以及丝杠,丝杠与滑板之间螺纹连接,带动着滑板在丝杠上往复滑动,带动着毛刷在筛网他的底部上刮动,去除筛网内的固体颗粒,保证筛网的正常使用,设置了套座、限位杆以及活动杆,套座挤压着弹簧,出料板打开,便于取出收集室内的建筑固体颗粒以及可回收废弃物,同时出料板可自动复位关闭。

标签:
固废
安徽 - 合肥 来源:中冶有色网 2023-03-19
联产设备
联产设备 801     
 0

本实用新型提供了一种联产设备,包括第一反应釜、第二反应釜、分离机、蒸发器、干燥机和压滤机;所述第一反应釜通过管道与第二反应釜顶部设置的第三进料口相连;所述第二反应釜的第二出料口通过管道与分离机顶部的第四进料口相连,所述分离机侧壁上设有液体出料口,底部设有固体出料口;所述分离机通过液体出料口与蒸发器相连,所述蒸发器顶部通过管道与液体回收罐相连,所述蒸发器底部通过管道与压滤机相连;所述分离机通过固体出料口与干燥机相连。本实用新型的联产设备采用两个反应釜,整个生产装置设置有将分散、过滤和干燥的一体压滤机,可将生产2-丙烯酰氨基-2-甲基丙磺酸的残留废料利用起来,节约了资源,降低了生产成本。

标签:
固废
安徽 - 合肥 来源:中冶有色网 2023-03-19
带有过滤作用的加药箱
带有过滤作用的加药箱 1095     
 0

本实用新型公开了一种带有过滤作用的加药箱,包括箱体,箱体的底部对应漏斗状尖端连通有排液管,箱体对应漏斗状的位置安装有过滤网,过滤网对应箱体侧壁设置有与箱体侧壁磁性吸附的磁片,过滤网的上侧边缘均匀固接有多个呈条状的滤齿。通过过滤网对固体粉剂中掺杂的塑料袋,废须条状物进行过滤,防止溶解后的药水中混入有塑料袋等杂质,该部分杂质一般是存在于固体粉剂中。其中滤齿可以有效阻隔线条状的布带和棉线,但是每隔一段时间需要进行清理,而磁片可以固定过滤网,防止过滤网发生位置偏移,用于应对急促的水流,可以保持自身相对的稳定。

标签:
固废
安徽 - 合肥 来源:中冶有色网 2023-03-19
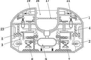
医用垃圾用环保型固液分离处理装置

本发明提供一种医用垃圾用环保型固液分离处理装置,所述齿轮杆的顶部固定安装有转盘,所述转盘的上表面通过扭矩弹簧安装有拨动杆,且转盘的顶部贴合有异齿柱,所述异齿柱的外表面固定安装有与拨动杆相对应的凸柱,所述异齿柱贯穿于收集箱的左右两侧,且相邻异齿柱之间固定安装有挡板。在顶杆向上移动的过程中,带动齿板架同时向内侧移动,齿板架与齿轮杆啮合后带动转盘旋转,在转盘旋转时表面拨动杆接触到异齿柱外侧的凸柱时,异齿柱与转盘的齿槽之间啮合,来带动挡板进行翻转,挡板带动表面的垃圾在收集箱中翻转,便于固体垃圾中的残留污水倾倒,从而达到固体垃圾与废水分离的目的,方便进行后续的垃圾处理工序。

标签:
固废
安徽 - 合肥 来源:中冶有色网 2023-03-19
利用碳酸镁合成镁铝插层材料的制备方法

本发明公开了一种利用碳酸镁合成镁铝插层材料的制备方法,包括以下步骤:S1、取用镁源和铝源,加入至碱性溶液中配成混合浆料。S2、将混合浆料进行水热反应;S3、对步骤S2得到的反应产物进行抽滤,得到固体,并对固体进行洗涤、干燥后,得到镁铝插层材料。本发明方法具有操作步骤简单,所制备的镁铝插层材料产物具有粒径分布小、副产物少、纯度高等特点。根据本发明所制得镁铝插层材料具有原料来源途径广、变废为宝、成本低,合成过程操作简单、环境友好、符合绿色化学的观念。

标签:
固废
安徽 - 合肥 来源:中冶有色网 2023-03-19
制备苯磺隆的方法
制备苯磺隆的方法 959     
 0

本发明公开了一种制备苯磺隆的方法,该方法包括以下步骤:将邻甲氧羰基苯磺酰胺与氯甲酸乙酯在溶剂中反应,过滤,干燥得到邻甲氧羰基苯磺酰胺甲酸乙酯固体;将所述邻甲氧羰基苯磺酰胺甲酸乙酯固体溶解在溶剂中,再滴加2-甲氨基-4-甲氧基-6-甲基均三嗪溶液,搅拌加热,反应得到苯磺隆,纯度≥95%。本发明采用氯甲酸乙酯为酰胺剂,通过冰浴控制反应温度,并控制滴加氯甲酸乙酯的速度,使其在溶剂中与邻甲氧羰基苯磺酰胺发生反应,得到邻甲氧羰基苯磺酰胺甲酸乙酯,再进一步与均三嗪反应得到苯磺隆。本发明采用氯甲酸乙酯作为原料,较光气、三光气和草酰氯相比,具有操作简单、生产安全性高、成本低和三废产生量小的优点。

标签:
固废
安徽 - 合肥 来源:中冶有色网 2023-03-19
建筑保温材料
建筑保温材料 974     
 0

本发明涉及一种建筑保温材料,由以下重量份数的原料制成:固体混合物100份和氯化镁溶液100~150份;固体混合物包括氧化镁粉20~65份、基料15~60份、添加剂8~13份、发泡复合剂7~12份;基料由碱酚醛废砂、赤泥、碳化硅、玄武岩纤维组成;发泡复合剂由蛋白发泡剂、月桂酰肌氨酸钠、三乙磷酸铝、阿拉伯树胶粉组成;添加剂由聚羧酸高效减水剂、酒石酸钾钠组成。该建筑保温材料在制备时发泡速度快,发泡后发泡效果均匀,发泡效果可靠;添加剂由聚羧酸高效减水剂、酒石酸钾钠组成,通过特殊工艺制成的发泡保温砖,具有高抗压强度、高折弯强度的特点,而且保温效果好。

标签:
固废
安徽 - 合肥 来源:中冶有色网 2023-03-19
工业污水深度处理工艺
工业污水深度处理工艺 1155     
 0

本发明提供工业污水深度处理工艺,涉及污水处理领域,包括以下处理步骤:在工业污水收集池中将工业污水调节pH为中性,通过过滤网将工业污水进行固液分离;液体通入臭氧反应池,维持臭氧反应池里的压力,反应1.5‑2.5h;液体输送至杀菌吸附罐,处理15‑35min,杀菌吸附罐内分散设有杀菌剂和纳米级活性炭;固体高温烘干,送入超音速气流粉碎机粉碎;将处理完成的固体和反应完成的液体输送至微生物反应池,在35‑38℃条件下,反应24‑36h,进行深度处理;深度处理完成通过生物膜将健康水过滤出来,留在微生物反应池中的废渣排放处理。本发明污水经过臭氧的强氧化作用,处理后的水经过微生物反应池深度处理达到排放标准,经过生物膜过滤,过滤后的水更加纯净,可以回收利用。

标签:
固废
安徽 - 合肥 来源:中冶有色网 2023-03-19
绿色木霉突变株的发酵方法及应用

本发明公开了一种绿色木霉突变株的发酵方法及应用,所述方法包括:菌株的活化;活化后菌株的孢子悬浮液培养;固体发酵培养基料准备;固体发酵得到绿色木霉突变株的发酵产物,该发酵产物可用于制备防治土传病的药剂。本发明通过筛选出几丁质和微晶羧甲基纤维素作为诱导物进行促进该真菌对几丁质酶和纤维素酶的合成并依该菌的嗜甘蔗糖的特性,以禾本科作物秸秆、畜禽屠宰血为氮源为基料进行发酵,达到既对作物抗病又促进生长,还可实现充分对农牧业宰杀废弃物进行综合利用,减少环境污染,促进经济、社会、生态三个效益协同发展。

标签:
固废
安徽 - 合肥 来源:中冶有色网 2023-03-19
新型建筑保温材料
新型建筑保温材料 1082     
 0

本发明涉及一种新型建筑保温材料,由以下重量份数的原料制成:固体混合物100份和氯化镁溶液100~150份;固体混合物包括氧化镁粉20~70份、基料15~60份、添加剂8~10份、发泡复合剂7~10份、2‑氨基‑N‑(3‑甲氧基‑4‑(噁唑‑5‑基)苯基)‑2‑(2‑甲基环己基)乙酰胺3~5份;基料由碱酚醛废砂、赤泥、碳化硅、玄武岩纤维组成;发泡复合剂由蛋白发泡剂、月桂酰肌氨酸钠、三乙磷酸铝、阿拉伯树胶粉组成;添加剂由聚羧酸高效减水剂、酒石酸钾钠组成。该新型建筑保温材料在制备时发泡速度快,发泡后发泡效果均匀,发泡效果可靠;添加剂由聚羧酸高效减水剂、酒石酸钾钠组成,通过特殊工艺制成的发泡保温砖,具有高抗压强度、高折弯强度的特点,而且保温效果好。

标签:
固废
安徽 - 合肥 来源:中冶有色网 2023-03-19
基于混合菌种固态发酵的淡水鱼内脏再资源化方法

一种基于混合菌种固态发酵的淡水鱼内脏再资源化方法,包括下列步骤:(1)菌种活化、(2)制备液体种子培养基、(3)制备混合菌种种子液、(4)提取鱼内脏鱼油、(5)制备固体发酵培养基、(6)分段固体发酵、(7)干燥。本发明将黑曲霉、酿酒酵母、米曲霉等应用于淡水鱼内脏的发酵,具有高产量,高效利用,简单易操作,投资低,耗能低,污染少等优点,不仅快速消化淡水鱼消费和生产过程中产生的内脏副产物,缓解环境污染和资源浪费问题,还能变废为宝,发酵产物经热风干燥后易储存、运输,应用范围广泛。

标签:
固废
安徽 - 合肥 来源:中冶有色网 2023-03-19
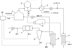
干法水泥窑协同处理生活垃圾的方法

本发明公开了一种干法水泥窑协同处理生活垃圾的方法,涉及固体废弃物处理及水泥生产技术领域,包括以下步骤:将生活垃圾于富氧环境下焚烧;将焚烧产生的垃圾残渣中的金属类物质去除后转入水泥生料库;焚烧产生的高温烟气经余热锅炉产出蒸汽后进入烟气管道,向烟气管道中喷入氧化钙粉末,得含尘烟气,将其经脱盐水预热器、富氧空气预热器降温,再经旋风收尘器、布袋收尘器气固分离,得除尘烟气,收集的固体进入水泥生料库;将除尘烟气与氧气混合,输送到篦冷机的冷却风机进口处用于水泥熟料急冷,再以二次风的方式被吸入水泥回转窑。本发明能够有效清除烟气中的氯化氢,降低二噁英含量,保证水泥生产线的稳定,整个工艺处理成本低。

标签:
固废
安徽 - 合肥 来源:中冶有色网 2023-03-19
浮渣资源化再利用的方法

本发明公开了一种浮渣资源化再利用的方法,该方法是针对小麦制备酒精过程中,产生的酒精糟液经分离沉淀后得到的浮渣进行废料再利用,步骤包括:将浮渣与小麦麸皮混合,获得固体混合物,在固体混合物中接种地衣芽孢杆菌D-1菌株,混匀发酵后烘干,得到蛋白饲料;本发明的有益效果是:该方法以酒精制备过程中产生的浮渣为原料,将其制成蛋白饲料,不仅消除了因浮渣丢弃造成的环境污染和营养浪费,而且创造了经济效益;该方法选择高效耐水分的饲用微生物地衣芽孢杆菌D-1菌株进行浮渣发酵,不仅去除了浮渣的异味,且生产出的蛋白饲料品质高,对实现浮渣无害化处理和资源化利用具有重要意义。

标签:
固废
安徽 - 合肥 来源:中冶有色网 2023-03-19
便于纺织印染工业排放物综合治理的装置

本发明公开了一种便于纺织印染工业排放物综合治理的装置,包括过滤室和水箱,所述过滤室的表面开设有第一进水口,第一进水口的内壁固定连接有第一进水管,第一进水管的一端贯穿并延伸至过滤室的内部,过滤室的内壁固定连接有第一轴承,第一轴承的内圈固定连接有转轴。该便于纺织印染工业排放物综合治理的装置,当需要将污水过滤处理时,启动电机,电机带动蜗杆转动,蜗杆带动蜗轮转动,蜗轮带动转轴转动,转轴带动传输辊轴转动,传输辊轴带动传输链转动,第一过滤网过滤排放物,达到了将固体污染物和液态污水分离的效果从而有效的解决了由于在处理这些污水时,固体污染和废水污染工序复杂,治理比较困难的问题。

标签:
固废
安徽 - 合肥 来源:中冶有色网 2023-03-19
新的絮凝剂产品的制作方法

本发明公开了一种新的絮凝剂产品的制作方法方法,涉及絮凝剂废水处理技术领域。本发明主要由以下组分组成:硫酸亚铁3‑7重量份,氧化铝3‑7重量份,氯酸钠0.5‑2重量份,硫酸5‑9重量份,改性磁粉15‑25重量份。本发明通过将絮凝剂直接以固体的形式在相对较为潮湿的环境下发生反应,生成固体形式絮凝剂,生产的过程中不需要由液体干燥成固体这一步,从而较大程度上降低了成本,且絮凝效果与市场上销售的此类产品基本相同,此产品打破了以往常规研制絮凝剂需要以液体的方式,开启了一种全新的模式,且价格更加低廉,具备更好的前景。

标签:
固废
安徽 - 合肥 来源:中冶有色网 2023-03-19
农村微动力污水处理系统

本发明公开了一种农村微动力污水处理系统,包括污水处理箱,污水处理箱的顶部连通有入料管,所述入料管的顶部一侧设置有进料管,所述进料管与入料管之间设置有固废过滤机构,所述进料管的一侧设置有过滤驱动机构一,所述污水处理箱的一侧设置有过滤驱动机构二;所述固废过滤机构包括连通在进料管底部的滤箱,所述滤箱的顶部一侧与入料管之间连通有横筒,所述滤箱的两侧内壁之间转动安装有两个从动辊和一个刷洗筒,所述从动辊的外侧转动套设有滤带。本发明通过对污水进行固废过滤,提升了污水处理的效率和设备的使用寿命,且为保证固废过滤的效果提供了两套动力,可靠性更强,满足了人们在生产生活中的使用需求。

标签:
固废
安徽 - 合肥 来源:中冶有色网 2023-03-19
低成本环保微波吸收体的制备方法

本发明公开了一种低成本环保微波吸收体的制备方法,通过结合锰锌系铁氧体磁芯和吸波等两类固废配方元素的差异化特点,设计了富锌吸波料填充富锰磁芯料晶界的结构,并利用高能机械合金化结合分段热处理,对低损耗的磁芯固废晶粒界面进行扩散掺杂,增强吸收体的电磁损耗和吸波性能。同时,本发明的设计利用细晶吸波料在磁芯料大晶粒界面的生长和扩散,有效解决了固废基微波吸收体的空气隙通病,提升了其有效微波吸收性能,同时也增强了吸收体的力学性能。本发明完全采用铁氧体固废作为原料,制备成本极低,适合实用环保微波吸收产品的应用。

标签:
固废
安徽 - 合肥 来源:中冶有色网 2023-03-19
有机危废无害化处置装置及方法

本发明涉及一种有机危废无害化处置装置,包括粉碎装置用于粉碎医疗固废,反应釜用于将粉碎后的医疗固废进行水热碳化反应和热解反应,储液箱存储用于水热碳化反应的金属盐溶液,气体净化装置进行反应废气的气体净化;反应釜将粉碎后的医疗固废依次进行水热碳化反应和热解反应后生成炭材料,并将炭材料用于气体净化装置内进行反应废气的净化;本发明利用微波水热碳化和热解的方式对医疗固废进行处理,实现了医疗固废的彻底的消毒杀菌;并且将消解、水热碳化、热解集成在同一个设备中,实现全过程与外界无接触,保证处理过程安全的同时,极大程度地简化了处理过程。

标签:
固废
安徽 - 合肥 来源:中冶有色网 2023-03-19
带溢流装置的自动隔渣除油设备

本实用新型公开了一种带溢流装置的自动隔渣除油设备,包括隔油设备,所述隔油设备的上方安装有固液分离器,所述固液分离器的前方设置有进水口,且固液分离器内在进水口的下方区域安装有平板滤网,所述平板滤网的左侧安装有溢流装置,且平板滤网的下方安装有半筒滤网,所述半筒滤网的左端面与封头通过焊枪焊接固定,该设备自带带溢流装置,其可自动进行出渣隔油操作,其除渣效果更好,同时相比以往在解决固体残渣时所采用的手动除渣和加装小型除渣装置这两种方式,其解决了人工清理操作困难和小型除渣装置无法处理大流量场合的情况,其清理效果更好,应用范围更广,同时可以很好的解决顺时流量太大,而过滤装置不能快速分离废水而导致废水流入除渣桶中的问题。

标签:
固废
安徽 - 合肥 来源:中冶有色网 2023-03-19
AT型催化氧化污水处理装置

本实用新型公开了一种AT型催化氧化污水处理装置,包括:呈内外套装结构设置的内筒体和外筒体,所述内筒体的底部与所述外筒体的内腔连通;在所述外筒体的内腔设有环绕在所述内筒体外周的导流壁,所述导流壁与内筒体之间的间距小于导流壁与外筒体之间的间距;所述外筒体的上部设有出水口,内筒体的内腔底部设有与进水管连通的布水管、以及与进气管连通的布气管。本实用新型具有结构新颖、运行稳定、使用方便、成本低、效率高等优点,可用于石油、石化、印染、化工、生物制药、农药、食品加工、制革、造纸、畜禽养殖、屠宰等高浓度有机废水的处理和生活污水、中水回用、固体废物填埋场渗沥液等污水处理。

标签:
固废
安徽 - 合肥 来源:中冶有色网 2023-03-19
装饰膜加工用空气净化装置

本实用新型涉及一种装饰膜加工用空气净化装置,包括依次设置的进气管、气体处理机构和排气管,包括所述气体处理机构包括气体处理腔,所述气体处理腔与所述进气管的末端连接,其内部设置有吸附机构,所述吸附机构包括若干水平设置于气体处理腔的旋转板,所述旋转板通过水平设置于气体处理腔侧壁的旋转轴固定;所述旋转板的上下表面均设置有可拆卸的吸附板,所述吸附板为固体吸附剂制作而成。本实用新型通过在气体处理腔内设置可以旋转的旋转板,可以实时调节旋转板的旋转角度,使气体处理腔内形成多种曲折气体运动路线,延长废气在气体处理腔内的时间,保证废气被充分吸附去除。

标签:
固废
安徽 - 合肥 来源:中冶有色网 2023-03-19
用淤泥生产的平石
用淤泥生产的平石 771     
 0

本实用新型涉及一种用淤泥生产的平石,其是在传统的平石基础上改为由两层不同颗粒配比组成,它包括平石体,面层是由彩色颜料、助剂、增强剂以及以沙、石、水泥制成的普通混凝土构成,结构层则由50%淤泥、10%的固化剂以及40%的建筑垃圾、工业废渣等固体废弃物作填写弃物,面层和结构层两层紧密粘合连接,其内颗粒均呈网状结构分布,吸水性、渗水性强,注入一次成型的设备,将其制作成平石。

标签:
固废
安徽 - 合肥 来源:中冶有色网 2023-03-19
新型地面砖
新型地面砖 1123     
 0

本实用新型涉及一种新型地面砖,其是在传统的新型地面砖基础上改为由两层不同颗粒配比组成,它包括新型地面砖体,面层是由彩色颜料、助剂、增强剂以及以沙、石、水泥制成的普通混凝土构成,结构层则由50%淤泥、10%的固化剂以及40%的建筑垃圾、工业废渣等固体废弃物作填写弃物,面层和结构层两层紧密粘合连接,其内颗粒均呈网状结构分布,吸水性、渗水性强,注入一次成型的设备,将其制作成平石。

标签:
固废
安徽 - 合肥 来源:中冶有色网 2023-03-19
溶气气浮接触室
溶气气浮接触室 995     
 0

本实用新型公开了溶气气浮接触室,包括接触室、进水管、出水管和刮渣机构,所述接触室的两侧分别设置进水管和出水管,所述出水管的底端靠近所述接触室的底部,所述出水管的顶端穿过所述接触室设置水泵,所述进水管的下方设置微气泡出口。通过在接触室底端安装横向的搅拌杆,这样进水管进入的废水和絮凝剂可以通过搅拌与微气泡相对逆向流动产生的共聚作用,提高了气体包裹固体废渣的凝聚力,而且横向设置的搅拌杆通过接触室外的第一电机驱动,不用担心第一电机进水损坏,节约了防水成本;接触室顶端的刮渣机构可以通过液压泵控制伸缩杆进行位置调节,刮渣机构下降后即使接触室水位较低,也能实现刮渣。本实用新型具有刮渣效果好的特点。

标签:
固废
安徽 - 合肥 来源:中冶有色网 2023-03-19
含油污泥脱水碳化处理的系统

本实用新型涉及固体废物处理技术领域,提供了一种含油污泥脱水碳化处理的系统。本实用新型提供的系统包括调质分离装置、间接式干燥机、间接式加热炉、气液分离装置、油水分离装置、焚烧装置、高温燃烧装置和烟气净化装置,进一步的,当碳化物为危险废弃物时,将高温燃烧装置替换为无害化处理装置,无害化处理装置包括气化炉、高温气流床和激冷排渣装置。利用本实用新型的系统可实现含油污泥的彻底无害化处理,经济效益好,易于产业化推广及应用,且系统运行成本低,设备投资小,可处理高含水率、高污染性的含油污泥。

标签:
固废
安徽 - 合肥 来源:中冶有色网 2023-03-19
上一页 22 23 24 25 26 ... 75 下一页
共75页    到第

中冶有色为您提供最新的安徽合肥有色金属环境保护技术理论与应用信息,涵盖发明专利、权利要求、说明书、技术领域、背景技术、实用新型内容及具体实施方式等有色技术内容。打造最具专业性的有色金属技术理论与应用平台!

全国热门有色金属设备推荐
展开更多 +
全国热门有色金属技术推荐
展开更多 +

 

江西省隆恩特环保设备有限公司
宣传

报名参会
更多+

报告下载

有色专家
更多+

矿冶科技集团有限公司
中国工程院院士
北京科技大学
主任/教授
矿冶科技集团有限公司工程公司
副总经理
赣州江钨钨合金有限公司
工程师
江西理工大学
副处长/教授
赤泥综合利用研究报告2025
推广

热门技术
更多+

推荐企业
更多+

福建省金龙稀土股份有限公司
宣传

发布

在线客服

公众号

电话

顶部
咨询电话:
010-88793500-807