青岛垚鑫智能科技有限公司
宣传

位置:中冶有色 >

有色技术频道 >

> 加工技术

分类:
全部
矿山技术
冶金技术
材料制备及加工技术
环境保护技术
分析检测技术
 
全部
功能材料技术
复合材料技术
新能源材料技术
合金材料技术
加工技术
地区:
全部
北京
天津
上海
重庆
河北
山西
辽宁
吉林
黑龙江
江苏
浙江
安徽
福建
江西
山东
河南
湖北
湖南
广东
海南
四川
贵州
云南
陕西
甘肃
青海
内蒙
广西
西藏
宁夏
新疆
其他
其他
展开
 
全部
其他

其他有色金属加工技术理论与应用

免费发布技术信息>>
着成黑色的LAS-微晶玻璃

介绍一种由LAS(锂铝硅酸盐)体系与着色性组分组成的、着成 黑色的、含高温石英混晶的微晶玻璃,所述微晶玻璃在厚度为4mm时, 在波长小于630nm时具有小于1%的透过率,含有1.5至5重量%TiO2、 0.01至0.3重量%Fe2O3以及0.003至0.7重量%V2O5作为着色性组分以 及具有大于70重量%的晶相份额,以及残余玻璃相间隙的尺寸为至少 50nm,特别是50至100nm。通过调整残余玻璃间隙的尺寸,即使在很 少地使用着色性成分,特别是很少地使用昂贵的V2O5时,也可以实现 所需要的低透过率。

标签:
加工技术
其他 - 其他 来源:中冶有色网 2023-03-19
低温电化学电池
低温电化学电池 1020     
 0

本发明提供了具有提供良好低温电子性能的电化学电池。本发明的电化学电池包括在低至约-60摄氏度的温度下在较大放电速率下提供有用比容量的锂电池。本发明还提供了制备电化学电池的方法,包括在低温运行之前的一个室温预放电步骤,该步骤可提高具有低氟化碳质正极活性材料的电池的低温性能。

标签:
加工技术
其他 - 其他 来源:中冶有色网 2023-03-19
用于碱性电池的锌粉
用于碱性电池的锌粉 777     
 0

一种用于碱性电池的粉末,其组成为:或(1),1—95ppm Al;0.001—2%Bi、0.005—2%In以及0.003—2%Pb中的一种;任选0.003—2%Ca;或(2),1—95ppm A;0.001—2%Bi;0.005—2%In;任选0.003—2%Pb;或(3),1—95ppm Al;0.001—2%Bi和0.005—2%In中的一种;0.003—2%Pb,任选0.003—2%Ca;或(4),1—1000ppm Li;0.001—2%Bi和0.005—2%In中的至少一种,任选0.003—2%Ca;或(5),1—1000ppm Li;0.003—2%Pb,0.003—2%Ca,任选0.005—2%In;或(6)1—1000ppm Li;0.001—2%Bi,0.003—2%Pb,任选0.005—2%In和0.003—2%Ca中的至少一种元素;或(7),1—95ppm Al;1—1000ppm Li;0.001—2%Bi、0.005—2%In和0.003—2%Pb中的至少一种,任选0.003-2%Ca;其余的是锌以及上述金属中存在的不可避免的杂质,但除非这些粉末含钙,否则排除混合组成(1)和(3)中铝含量为50ppm的含铟粉末。

标签:
加工技术
其他 - 其他 来源:中冶有色网 2023-03-19
含二元碱金属组分的烃类转化催化剂

公开了一种新颖的烃类转化催化剂、它的制备方 法及其应用。催化剂由铂族组分、IV A族组分和二 元碱金属组分载于载体物质上构成。按复合物的重 量计二元碱金属组分含有大约0.05到大约2%(重 量)的锂以及大约0.05到大约3%(重量)的钾。作 为烃类脱氢催化剂此催化剂特别有效。

标签:
加工技术
其他 - 其他 来源:中冶有色网 2023-03-19
二次电化学电池用活性材料的制备方法

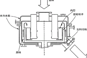
本发明提供了加工金属磷酸盐颗粒或混合金属磷酸盐颗粒的方法,特别是加工锂化金属磷酸盐和混合金属磷酸盐的方法。例如,使用图1和图2所示的机械融合系统进行所述加工。通常,将粉料放置在旋转容器中,施加离心力并将其紧紧地压到容器壁上。随后,当所述材料落入到具有不同曲率的容器壁和转子内芯之间时(图2),对所述材料施加强压和剪力。所述材料的颗粒被这种力聚集到一起,从而相互粘附。在图2所示的机械融合系统中,粉料通过旋转壁上的槽传送。粉料通过装有转子的循环叶片送至转子上方。随后,材料返回转子,并在此经受转子内芯的强压和剪力。此三维循环和有效压缩/剪切粉料的循环在高速下重复进行,使粉料形成复合电活性材料(粉)。

标签:
加工技术
其他 - 其他 来源:中冶有色网 2023-03-19
具有高温性能和防过充电性能的电解质和使用该电解质的二次电池

本发明提供一种具有改进的高温性能和防过充电性能、尤其是在高电压/高电流条件下具有改进的防过充电性能,同时使电池性能的劣化程度减到最小的二次电池电解质;上述性能通过向锂二次电池的电解质中添加3-5重量%的环己基苯(CHB)和0.2-1.5重量%的2-氟联苯(2-FBP)作为防过充电添加剂来实现。

标签:
加工技术
其他 - 其他 来源:中冶有色网 2023-03-19
具有双吸收回路的吸收循环系统

吸收循环系统采用附加吸收回路与传统吸收回路的组合。用于所述附加吸收回路中的吸收剂可包含离子化合物,或具有较低结晶度的任何吸收剂。此类吸收剂与水的混合物在低于现有技术中传统溴化锂水吸收剂溶液的最低可行操作温度的温度下,保持为液体。

标签:
加工技术
其他 - 其他 来源:中冶有色网 2023-03-19
电极合剂、电极以及非水电解质二次电池

本发明提供电极合剂、电极和非水电解质二次电池?电极合剂含有式(1)表示的锂复合金属氧化物、导电剂和水分散性高分子系粘合剂。Liz(Ni1-x-yMnxMy)O2?(1),其中,x为0.30以上且小于1,y为0以上且小于1,x+y为0.30以上且小于1,z为0.5以上且1.5以下,M表示选自Co、Al、Ti、Mg和Fe中的1种以上。

标签:
加工技术
其他 - 其他 来源:中冶有色网 2023-03-19
任选具有镧的铈和/或铽磷酸盐、由所述磷酸盐获得的无机发光材料及其制造方法

本发明涉及稀土元素(Ln)磷酸盐,其中Ln或者为选自铈和铽中的至少一种稀土元素,或者为镧与上述两种稀土金属中的至少一种的组合,该稀土元素(Ln)磷酸盐具有磷镧镨矿型或独居石型的晶体结构,其具有最多300ppm的锂含量。通过在低于2的恒定pH下沉淀稀土元素氯化物,然后将其煅烧和再分散于热水中来获得该磷酸盐。本发明还涉及通过在至少1000℃的温度下煅烧所述磷酸盐获得的无机发光材料。

标签:
加工技术
其他 - 其他 来源:中冶有色网 2023-03-19
用于保护可充电元件的装置及方法

用于充电器(5)和诸如可充电锂离子电池的可充电元件(1)的保护电路,包括一个与可充电元件两端并联的具有阈值启动电压的旁路稳压器(2),一个串联在充电器和可充电元件之间的受温度控制的电阻器(3),例如,一个正温度系数器件,温控电阻与旁路稳压器热学和电学地连接在一起,其中,当电流到达预先决定的一个小于会因为稳压器的欧姆热造成稳压器故障的水平时,第一可变电阻器限制流经旁路稳压器的电流。

标签:
加工技术
其他 - 其他 来源:中冶有色网 2023-03-19
带有离子基团的交联聚合物膜

本发明涉及制备带有离子基团的交联聚合物膜的方法。本发明方法包括挤出包含至少一种预聚物的材料、挤出后使所述聚合物材料聚合并使挤出的材料进行化学反应以接枝上离子基团。所述预聚物包含各自含有至少一个芳族基团(GA)及至少一个官能团(GF)的重复单元。另外,所述预聚物带有至少一个在高于挤出温度的温度下可进行热聚合或进行光化学聚合的基团(GP),并且带有至少一个可接枝离子基团的反应基团(GR)。该膜可作为燃料电池或电渗析的隔膜,作为锂电池、超级电容器或电致变色装置中的电解质,或作为离子交换膜。

标签:
加工技术
其他 - 其他 来源:中冶有色网 2023-03-19
金属材料用表面处理剂、表面处理方法及表面处理的金属材料

本发明提供金属材料用表面处理剂、表面处理方法及表面处理的金属材料,所述金属材料用表面处理剂是在水中混合具有0℃以上的玻璃化转变温度的阴离子性水分散性树脂(A)、以及选自由硅酸碱金属盐及碱性锆化合物构成的组中的至少一种金属化合物(B),该硅酸碱金属盐中,M2O部分与SiO2部分的质量比M2O/SiO2为1/1000~6/10,M为选自由锂、钠和钾构成的组中的至少一种。根据本发明,提供用于对金属材料赋予优良的耐腐蚀性、耐化学品性、耐热变色性及耐候性的不含铬的金属材料用表面处理剂等。通过混合硅烷偶联剂、钒化合物、钛化合物、有机膦酸或多元醇的磷酸酯、无机酸或其盐、金属氟化物、或氧化物可以进一步提高性能。

标签:
加工技术
其他 - 其他 来源:中冶有色网 2023-03-19
生理上平衡的离子化酸性溶液及用于伤口愈合的方法

本发明披露了一种生理上平衡的酸性溶液。该酸性溶液通常是通过化学反应或通过电解含有用以形成生理上平衡溶液的无机盐混合物的溶液制备而成的。本发明还涉及该溶液的使用方法,包括一种专用绷带,可将其与该溶液、或可选地与其它局部涂敷的材料结合使用。使用无机盐和可选的矿物质的混合物,其目的在于模拟等渗状态的电解质浓度和体液的混合物。该溶液通常包含一种锂、钠、钾、钙和其它阳离子的卤化盐。通常该卤化物是氟化物、氯化物、溴化物或碘化物,而最常用的是氯化物。本发明的典型电解溶液,其pH是在大约2至5的范围内,氧化还原电位是在大约+600mV至+1200mV的范围内,而次卤酸浓度是在大约10ppm至200ppm的范围内。该溶液具有杀菌、杀真菌以及杀孢子的性能。本发明的组合物是无毒的且具有抗菌性能,并且适用于任何需要抗微生物性能的场合。

标签:
加工技术
其他 - 其他 来源:中冶有色网 2023-03-19
界面过程的刺激和强化
界面过程的刺激和强化 1003     
 0

这项发明提供通过刺激和强化界面过程(SIIP)控制电能储存装置的系统和方法。信号发生器可以在充放电过程中提供横跨电池接线端或其它反应器的低电压正弦交流信号。举例来说,电池/反应容器可以是锂离子电池和镍氢电池设计、燃料电池、锌-氧电池或其它有充电电池特征的装置。该信号发生器的输出(即,电压、波型和频率)可基于电池参数(例如,内阻、输出功率,温度)进行控制。电池的内阻可以降低,放电时间可以增加。弹性波也可以提供给电池/反应容器,刺激界面过程。该信号发生器可以是与电池一起封装并且可以由电池供电的集成电路。

标签:
加工技术
其他 - 其他 来源:中冶有色网 2023-03-19
二次电池用正极板、其制造方法及具有该正极板的二次电池

一种二次电池用正极板,其具备集电体和正极活性物质层,所述正极活性物质层包含涂布水性糊并进行干燥而得到的多层涂膜,该多层涂膜形成于该集电体的表面,所述水性糊是将导电剂、水溶性增粘剂、粘结剂、作为正极活性物质的具有橄榄石结构的磷酸铁锂材料以及作为分散介质的水进行混炼分散而得到的。

标签:
加工技术
其他 - 其他 来源:中冶有色网 2023-03-19
将碱土金属氯化物转化成钨酸盐与钼酸盐的制程及其应用

本发明是有关一种用以将碱土金属氯化物转化成选自此金属的钨酸盐和钼酸盐中的至少一盐类的制程,其包括碱土金属氯化物与钨或钼的至少一前驱物的反应,所述的前驱物是选自氧化钨、氧化钼、钨酸盐和钼酸盐中。此反应在由氯化钾或由氯化锂/氯化钾混合物所构成的溶剂中实施,其反应温度至少等于溶剂的熔点。应用:碱土金属钨酸盐和钼酸盐的合成;自以氯化物形式存在的介质中萃取出碱土金属;在再处理熔融态氯化物介质中的核废料的情况中,自盐通量回收碱土核分裂产物等。

标签:
加工技术
其他 - 其他 来源:中冶有色网 2023-03-19
二次电池用负极及其制造方法、以及二次电池

提供一种适合于锂离子二次电池等的,高容量且充放电循环特性 优异、不可逆容量的发生少的二次电池用负极。设置在负极集电体上 的负极活性物质层中的硅具有局部有序性的程度低的非晶结构。在设 因横波光学声子产生的散射而出现在偏移位置480cm-1附近上的散射 峰的强度为TO、因纵波声学声子引起的散射而出现在偏移位置 300cm-1附近的散射峰的强度为LA、因纵波光学声子产生的散射而出 现在偏移位置400cm-1附近的散射峰的强度为LO时,该非晶结构的 初次充放电后的拉曼光谱满足以下的关系:0.25≤LA/TO和/或 0.45≤LO/TO。

标签:
加工技术
其他 - 其他 来源:中冶有色网 2023-03-19
烧成用夹具
烧成用夹具 700     
 0

一种烧成用夹具,具备:SiC质或Si-SiC质的基材、以及将基材的表面覆盖的涂层。涂层具备:第一层,其以Al2O3-SiO2质为主成分,且设置于基材表面;以及第二层,其在涂层的表层暴露出来。在用于电子器件材料的情况下,第二层以选自Y2O3、HfO2、CeO2、NiO、WC、Ni、Mo中的至少1种为主成分;在用于锂电池的活性物质材料的情况下,第二层以选自Y2O3、HfO2、CeO2、NiO中的至少1种为主成分。

标签:
加工技术
其他 - 其他 来源:中冶有色网 2023-03-19
制备考布曲钙的方法
制备考布曲钙的方法 1071     
 0

本发明提供一种生产考布曲钙的方法,该方法包括:将氯化锂和4,4‑二甲基‑3,5,8‑三双环[5,1,0]辛烷与由下式1表示的1,4,7,10‑四氮杂环十二烷反应,以得到由下式2表示的考布曲钙中间体;将由式2表示的考布曲钙中间体与氯乙酸反应,以得到由下式3表示的布醇;将由式3表示的布醇与钙离子反应,以得到下式4表示的考布曲钙。

标签:
加工技术
其他 - 其他 来源:中冶有色网 2023-03-19
成核剂组合物、烯烃系树脂组合物、其成型品及烯烃系树脂组合物的制造方法

本发明提供可得到对烯烃系树脂赋予优异结晶性,且具有优异力学特性及透明性的成型品的成核剂组合物、烯烃系树脂组合物、其成型品及烯烃系树脂组合物的制造方法。本发明的成核剂组合物含有成核剂与助剂,该成核剂含有下述通式(1)(通式(1)中,R1~R4表示碳原子数1~6的烷基,R5表示氢原子或碳原子数1~3的烷基,n表示1或2,n为1时,M表示锂或二羟基铝,n为2时,M表示羟基铝)所示的芳香族磷酸酯金属盐,助剂为选自由水及多元醇化合物组成的组中的至少一种,相对于成核剂100质量份,助剂的含量为1~10000质量份。

标签:
加工技术
其他 - 其他 来源:中冶有色网 2023-03-19
精密仪器用润滑脂组合物和使用该润滑脂组合物的钟表

本发明提供一种精密仪器用润滑脂组合物,其能够在钟表的滑移机构上形成牢固的润滑被膜,防止滑移机构的劣化和转矩的降低的能力的持续性优异。上述精密仪器用润滑脂组合物包含基础油、增稠剂和耐磨损剂,上述基础油是碳原子数为30以上的石蜡系烃油(A-1)等,上述增稠剂为锂皂或双脲化合物,上述耐磨损剂为下述通式(b-1)表示的中性磷酸酯(B-1)等,上述耐磨损剂在上述精密仪器用润滑脂组合物100质量%中以0.1质量%~20质量%的量含有。

标签:
加工技术
其他 - 其他 来源:中冶有色网 2023-03-19
非水电解质二次电池和二次电池模块

二次电池模块具有:至少1个非水电解质二次电池;以及弹性体,其与所述非水电解质二次电池一起排列,且在所述排列方向上承受来自所述非水电解质二次电池的载荷。所述非水电解质二次电池具备:将正极、负极和配置于所述正极与所述负极之间的分隔件层叠而成的电极体;以及收纳所述电极体的壳体,所述弹性体的压缩弹性模量为5MPa~120MPa,所述正极具备:正极集电体,其含有Ti作为主要成分,且厚度为1μm~8μm;以及正极活性物质层,其配置于所述正极集电体上,且含有Ni相对于除Li之外的金属元素的总量的比例为70摩尔%~100摩尔%的含锂镍复合氧化物。

标签:
加工技术
其他 - 其他 来源:中冶有色网 2023-03-19
制备混合氧化物的方法以及混合氧化物

本发明涉及一种制备锂离子电池组用阴极活性材料的方法,所述方法包括以下步骤:(a)用至少一种芳族二羧酸、三羧酸或四羧酸或上述至少两种的组合处理根据通式Li1+xTM1‑xO2的混合氧化物,其中TM是Mn和Ni以及任选地至少一种多种选自Ba、Al、Co、Ti、Zr、W、Fe、Cr、K、Mo、Nb、Ta、Mg和V的金属的组合,并且x为0‑0.2,(b)使所述前体经受温度为500‑800℃的热处理。

标签:
加工技术
其他 - 其他 来源:中冶有色网 2023-03-19
生物体电极组成物、生物体电极、及生物体电极的制造方法

本发明涉及生物体电极组成物、生物体电极、及生物体电极的制造方法。本发明的课题为提供能够形成导电性及生物相容性优异,轻量且能以低成本制造,无论被水沾湿或干燥,导电性均不会大幅降低,柔软且伸缩性及粘着性优异的生物体电极用的生物体接触层的生物体电极组成物。本发明提供一种生物体电极组成物,含有(A)聚硅氧;该(A)聚硅氧键结于离子性聚合物且具有含有下列通式(T1)表示的T单元的结构(笼型结构除外);(R0SiO3/2)(T1)式中,R0为与前述离子性聚合物的连接基团;且前述离子性聚合物为含有具有选自氟磺酸、氟磺酰亚胺及N‑羰基氟磺酰胺中任一者的铵盐、锂盐、钠盐、钾盐、银盐的结构的重复单元的聚合物。

标签:
加工技术
其他 - 其他 来源:中冶有色网 2023-03-19
石墨烯化合物及其制造方法、电解质、蓄电装置

一种石墨烯化合物及其制造方法、电解质、蓄电装置。本发明提供一种具有绝缘性且对锂离子具有亲和性的石墨烯化合物。本发明的目的之一是增加石墨烯化合物所具有的取代基的分子量。另外,提供一种具有包含醚键或酯键的链状基团的石墨烯化合物。另外,提供一种具有包含一个或多个支链的取代基的石墨烯化合物。另外,提供一种具有包含酯键和酰胺键中的至少一个的取代基的石墨烯化合物。

标签:
加工技术
其他 - 其他 来源:中冶有色网 2023-03-19
制造电池组电极的方法和装置

本发明公开了制造电池组电极的方法和装置。描述了一种用于锂离子电池组电池的参比电极,其为由铝或铝合金制成的多孔超薄膜的形式。铝层是导电的,并且用作参比电极的集流体。合金元素可包括但不限于铜、锌、银、金、钛、铬、稀土金属等中的一种或多种,以实现电、机械和化学性质的目标值。还公开了一种电化学电池组电池,其具有阳极、阴极和参比电极,其中参比电极插入在阳极和阴极之间,其中参比电极是布置在集流体上的电极层,并且其中集流体由铝合金制成。

标签:
加工技术
其他 - 其他 来源:中冶有色网 2023-03-19
硫化物的处理方法
硫化物的处理方法 884     
 0

本发明提供一种适合从含镍和/或钴且含铜的硫化物中获得镍和/或钴的硫化物的处理方法。本发明的硫化物的处理方法是含镍和/或钴且含铜的硫化物的处理方法,其中,包含:粉碎工序,通过对硫化物实施粉碎处理以获得粒径为800μm以下的粉碎硫化物;以及浸出工序,在硫化剂共存的条件下用酸对粉碎硫化物实施浸出处理以获得浸出液。例如,处理对象的硫化物是通过向将废锂离子电池还原加热熔融而获得的熔体中添加硫化剂并硫化而生成的。

标签:
加工技术
其他 - 其他 来源:中冶有色网 2023-03-19
具有改进的液体污渍抗拒性的涂料组合物

本发明提供一种新型涂料组合物,基于所述涂料组合物的总干重按干重计,其包含i)20%至45%的乳液共聚物,所述乳液共聚物是单体混合物的共聚产物,基于所述乳液共聚物的总干重按干重计,所述单体混合物包含30%至80%的丙烯酸乙酯;20%至70%的乙烯基单体;和1%至4%的含有烯属不饱和羧酸的单体;ii)0.5%至5%的石蜡;iii)30%至55%的颜料;以及iv)0.003%至0.5%的氢氧化锂。

标签:
加工技术
其他 - 其他 来源:中冶有色网 2023-03-19
电化学电池
电化学电池 1023     
 0

本发明涉及电化学电池(2),其具有电池壳体(4)和至少一个容纳在所述电池壳体(4)中的电池单元(6),所述电池单元(6)具有阴极层(8),其中所述阴极层(8)具有纯二氧化镍锂作为活性材料,并且其中设置加压装置(14),借助于该加压装置(14)可至少暂时地向所述阴极层(8)施加增加的压力。

标签:
加工技术
其他 - 其他 来源:中冶有色网 2023-03-19
负极材料和固体电池
负极材料和固体电池 995     
 0

本发明涉及负极材料和固体电池。目的在于提供即使暴露于含氧气体气氛也难以失活的负极材料及使用了其的固体电池。负极材料,是利用锂金属的析出‑溶解反应作为负极反应的固体电池用的负极材料,其特征在于,所述负极材料是由Li单相和Li‑M合金相构成的复合合金,所述Li‑M合金相中所含的M为选自Al、In和Zn中的至少一种的金属,所述复合合金中的所述M的含有比例为0.90质量%以上且21.00质量%以下。

标签:
加工技术
其他 - 其他 来源:中冶有色网 2023-03-19
上一页 21 22 23 24 25 ... 436 下一页
共436页    到第

中冶有色为您提供最新的其他有色金属加工技术理论与应用信息,涵盖发明专利、权利要求、说明书、技术领域、背景技术、实用新型内容及具体实施方式等有色技术内容。打造最具专业性的有色金属技术理论与应用平台!

全国热门有色金属设备推荐
展开更多 +
全国热门有色金属技术推荐
展开更多 +

 

江西省隆恩特环保设备有限公司
宣传

报名参会
更多+

报告下载

有色专家
更多+

江西理工大学
教授
任灵宝金源矿业股份有限公司
技术发展部经理
中国矿业大学(北京)
教授
中南大学
教授、博士生导师
国家钨与稀土产品质量检验检测中心
主任
赤泥综合利用研究报告2025
推广

热门技术
更多+

推荐企业
更多+

福建省金龙稀土股份有限公司
宣传

发布

在线客服

公众号

电话

顶部
咨询电话:
010-88793500-807