青岛垚鑫智能科技有限公司
宣传

位置:中冶有色 >

有色技术频道 >

> 加工技术

分类:
全部
矿山技术
冶金技术
材料制备及加工技术
环境保护技术
分析检测技术
 
全部
功能材料技术
复合材料技术
新能源材料技术
合金材料技术
加工技术
地区:
全部
北京
天津
上海
重庆
河北
山西
辽宁
吉林
黑龙江
江苏
浙江
安徽
福建
江西
山东
河南
湖北
湖南
广东
海南
四川
贵州
云南
陕西
甘肃
青海
内蒙
广西
西藏
宁夏
新疆
其他
其他
展开
 
全部
南京
无锡
徐州
常州
苏州
南通
连云港
淮安
盐城
扬州
镇江
泰州
宿迁

江苏徐州有色金属加工技术理论与应用

免费发布技术信息>>
便于接线的锂电池箱
便于接线的锂电池箱 726     
 0

本实用新型公开了一种便于接线的锂电池箱,包括电池箱、限制环,所述电池箱的一端内部掏空设置有固定通孔,所述电池箱的另一端内部掏空设置有接线通孔,所述电池箱的另一端外表面设置有连接柱,所述连接柱的上端外表面设置有连接框,所述连接框的前端内部掏空设置有滑槽,所述连接框的内侧表面设置有固定板,所述固定板的前后两端均设置有滑块,所述连接框的内部贯穿设置有固定螺栓,所述限制环的一端外表面设置有固定套,所述固定套的内侧表面设置有弹簧,所述弹簧的内侧贯穿设置有固定杆,所述固定杆的外侧表面设置有挡环,所述固定杆的一端外表面设置有拉块。本实用新型所述的一种便于接线的锂电池箱,可以方便外接导线,且接线牢固,可方便将箱盖打开,方便进行检修。

标签:
加工技术
江苏 - 徐州 来源:中冶有色网 2023-03-18
锂电池浆料除铁过滤装置

本实用新型公开了一种锂电池浆料除铁过滤装置,包括壳体、铁磁吸附装置和杂质过滤装置,所述壳体为圆筒型,铁磁吸附装置和杂质过滤装置分别从壳体的两端插入,所述铁磁吸附装置包括入料盖和磁棒,入料盖中心开设入料口,磁棒固定在入料盖下端;所述杂质过滤装置包括出料盖和带滤孔的滤芯,滤芯的下端与出料盖上端固定连接,出料盖的中心设有出料口。能对浆料中的含铁的小颗粒杂质进行清除,同时可过滤浆料中的大颗粒杂质,提高浆料的纯净度,进而提高锂离子电池组的一致性。

标签:
加工技术
江苏 - 徐州 来源:中冶有色网 2023-03-18
新型锂电池极片定位智能焊接装置

本发明属于锂电池技术领域,具体涉及一种新型锂电池极片定位智能焊接装置,包括底板,底板上安装有圆柱台,圆柱台上表面开设有圆槽;圆柱台上表面围绕圆槽安装有若干竖直板,竖直板表面固定安装有电池定位杆;圆柱台上安装有极片定位机构,圆柱台上表面开设有环形槽并通过环形槽安装有焊接机构。本发明保证了电池组的重心平稳,提高了电池组在使用和运输过程中的稳定性;避免了相邻电池之间出现空隙。本发明每次焊接过程中,夹持调节机构带动电池上升和下降的距离恒定,且电池的起始高度一致,故能够保证焊接后各个电池的端部平齐,便于电池极片的安装。

标签:
加工技术
江苏 - 徐州 来源:中冶有色网 2023-03-18
锂电池用散热保护装置

本发明公开了一种锂电池用散热保护装置,它涉及锂电池用具技术领域;散热壳的内侧壁上设置有集热板,集热板上设置有数个横向与纵向的散热孔槽,且横向与纵向的散热孔槽相贯通,所述集热板的内侧壁上设置有散热膜体,所述散热壳的外侧设置有加强防护壳,所述加强防护壳的外侧壁上设置有加强筋;本发明能实现快速散热与加强防护,其使用方便,操作简便,且提高了安全性。

标签:
加工技术
江苏 - 徐州 来源:中冶有色网 2023-03-18
快速筛选磷酸铁锂电池自放电的方法

本发明公开了一种快速筛选磷酸铁锂电池自放电的方法,在磷酸铁锂电池分容工步充电完成时,延长搁置时间,记录搁置时各时间点电池的电压;在放电完成时,延长搁置时间,记录搁置时各时间点电池的电压;选取特定时间点对应的电压值作为筛选自放电的依据。有益效果是选择在生产过程中延长工艺时间来进行自放电分选,且数据测试记录均在测试柜上直接完成,因此工艺时间较短,数据的精度和可比性更好。

标签:
加工技术
江苏 - 徐州 来源:中冶有色网 2023-03-18
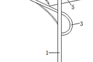
用于锂电池托盘的扭簧复位卡爪式叠放装置

本实用新型公开了一种用于锂电池托盘的扭簧复位卡爪式叠放装置,包括主传送带(1)、步进电机(2)、可移动横梁(4)、扭簧复位卡爪(5)和丝杠导杆(6);所述的步进电机(2)通过联轴器(3)带动丝杠导杆(6)转动,丝杠导杆(6)上端连接并带动可移动横梁(4)上下移动;所述可移动横梁(4)内侧通过连接块(7)连接扭簧复位卡爪(5);扭簧复位卡爪(5)包括复位卡爪(5-1)和扭簧(5-2),扭簧(5-2)设置在复位卡爪(5-1)内部并与连接块(7)接触以提供旋转扭力;本实用新型其依靠扭簧复位卡爪的扭簧牵拉作用,可用于连续动作、设备状态稳定、安全环保要求较高的锂电池自动化线。

标签:
加工技术
江苏 - 徐州 来源:中冶有色网 2023-03-18
锂电池充放电针床自动清刷装置

本发明涉及锂电池充放电设备技术领域,尤其涉及一种锂电池充放电针床自动清刷装置。所述锂电池充放电针床自动清刷装置包括支撑臂,所述支撑臂上对称安装有双向液压缸,所述双向液压缸的两个伸缩端均固定安装有支撑板;清洁机构,用于对针床上的充电针头刷动清洁的若干个清洁机构均匀安装于支撑板开设的安装孔内,且清洁机构包括清洁筒和清洁刷,清洁筒转动安装于安装孔内,且清洁筒内安装有多组清洁刷,支撑板底端安装有驱动若干个清洁筒转动清洁的驱动组件;收集机构,用于收集针头清刷杂质的收集机构固定安装于支撑板上,并通过导气组件与外部气源连通。本发明提供的锂电池充放电针床自动清刷装置具有针头清洁高效省力,杂质收集便捷的优点。

标签:
加工技术
江苏 - 徐州 来源:中冶有色网 2023-03-18
锂离子电池用钴基金属氧化物复合电极的制备方法

本发明涉及一种锂离子电池用钴基金属氧化物复合电极的制备方法,所述电极材料是以钴基金属有机框架化合物为前驱体,然后经两步高温热处理制备而成;所述电极材料具有分等级孔、氮掺杂、超小颗粒尺寸等多种结构优势。本发明采用的制备方法简单有效,所制备的复合电极材料表现出优异的储锂性能,材料内部分等级的孔结构及碳纳米管的存在能很好的保持电极的结构稳定性,并为锂离子传输提供更多通道,从而保证采用该材料制备的锂离子电池在高电流密度下仍具有优异的循环稳定性。

标签:
加工技术
江苏 - 徐州 来源:中冶有色网 2023-03-18
测量锂电池极片波浪边波峰的方法

本发明公开了一种测量锂电池极片波浪边波峰的方法,其具体步骤为:A、将锂电池极片水平放置;B、平行光与水平面呈角度θ照射到锂电池极片的波浪边上,波浪边的阴影会处于锂电池极片的上表面;C、测量阴影距离波浪边在水平面投影的最大垂直距离L;D、通过公式计算得出波浪边波峰的高度H,具体公式为:H=L*tanθ。采用测量阴影的方式计算得出波浪边的波峰,不仅能便于工作人员测量,而且得出的波浪边波峰高度值更精确。

标签:
加工技术
江苏 - 徐州 来源:中冶有色网 2023-03-18
锂电池减震压平设备
锂电池减震压平设备 1102     
 0

一种锂电池减震压平设备,包括底板,底板的上侧对称固定连接支撑板,两个支撑板均竖直设置,两个支撑板的顶端共同固定连接顶板,顶板的上侧对称固定连接立板,两个立板顶端共同固定连接横板,两个立板相对的两侧之间水平滑动配合连接滑动板,两个立板相对的两侧之间还设有动力装置。本发明的有益效果是:本发明所提供的一种锂电池减震压平设备,升降电机转动螺杆带动滑动板下侧的滑杆推动平板向下移动使压块向下压向工作板,在压块快接近工作板时平板下侧的两个缓冲装置的升缩杆先压在方板的上侧的两个定位孔内,升缩杆受到压力向桶体内缩回,然后压块对工作板的零件进行压平。

标签:
加工技术
江苏 - 徐州 来源:中冶有色网 2023-03-18
SnS<sub>2</sub>/HNTs复合锂离子电池负极材料的制备方法

本发明公开了一种SnS2/HNTs复合锂离子电池负极材料的制备方法,以六水合硝酸钴、乙酰丙酮钼、五水二氯化锡等为主要原材料,并引入生物质复合炭材料,通过物理复配、化学合成制备出高比容量及高倍率性能的锂电池负极材料。本发明制备的新型负极材料相比于传统的电极材料,由于引入了生物质活性炭多孔材料和磷元素,其可有效促进电池内部电解液的流通,形成良好的导电网络,提高电化学反应速率,改善电池的电化学性能,同时提高锂离子电池本身的理论容量。

标签:
加工技术
江苏 - 徐州 来源:中冶有色网 2023-03-18
丙三醇低共熔溶剂萃取回收废旧三元锂电池正极金属材料的方法

本发明公开了一种丙三醇低共熔溶剂萃取回收废旧三元锂电池正极金属材料的方法,包括以下几个步骤:(1)将废旧三元锂电池完全放电之后进行拆解,分离出正极材料箔片;(2)将丙三醇与不同种类氢键受体于室温下混合后在加热条件下搅拌、超声制得低共熔溶剂;(3)将步骤(1)得到的正极材料箔片加入步骤(2)得到的低共熔溶剂中,于加热条件下搅拌、萃取,对电极材料进行回收。本发明采用丙三醇低共熔溶剂对废弃锂离子电池正极金属材料进行浸取回收,工艺简单,回收效率高,具有较好的推广利用价值。

标签:
加工技术
江苏 - 徐州 来源:中冶有色网 2023-03-18
动力锂电池组装用工装

本发明提供一种动力锂电池组装用工装,涉及电池组装设备技术领域,包括工装底座,工装底座顶面上的两端分别垂直设置有左支撑板和右支撑板,左支撑板和右支撑板之间活动设置有卡板装置,左支撑板和右支撑板的内侧壁上均设置有卡板槽,卡板装置包括后卡板,后卡板的左右两端分别固定设置有左卡板和右卡板,左卡板和右卡板的外侧壁上均设置有滑块装置,且滑块装置分别滑动设置在左支撑板和右支撑板的内侧壁上的卡板槽内,左卡板和右卡板之间活动设置有前卡板,且后卡板、右卡板、前卡板和左卡板首尾依次相连围成矩形框架结构。本发明具有能根据锂电池需要组装的规格进行调节夹紧,且方便对组装后的锂电池进行检查等优点。

标签:
加工技术
江苏 - 徐州 来源:中冶有色网 2023-03-18
锂电池负极材料生产用制胶装置

本实用新型公开了一种锂电池负极材料生产用制胶装置,涉及锂电池技术领域。本实用新型包括壳体,所述壳体下表面中部固定连接有电机一,电机一旋转轴贯穿壳体底部并延伸至内腔,电机一旋转轴固定连接有转轴,转轴贯穿并固定连接有转板,转轴固定连接有底座,底座固定连接有螺旋管,转板两端均转动连接有旋转柱,壳体一侧上部固定连接有固定架,固定架贯穿有电机二旋转轴,电机二旋转轴固定连接有转盘,转盘固定连接有主动件,主动件滑动连接有从动件,壳体一侧上部贯穿并滑动连接有筛网,筛网靠近从动件一端上表面固定连接有齿条。本实用新型通过螺旋管和旋转柱转动以及筛网晃动,避免CMC溶解时出现团结、结块、降低CMC溶解量等问题。

标签:
加工技术
江苏 - 徐州 来源:中冶有色网 2023-03-18
锂电池封装保护装置
锂电池封装保护装置 1039     
 0

本发明涉及锂电池技术领域,提供了一种锂电池封装保护装置,包括封装壳体,所述封装壳体顶部连接有顶盖,所述封装壳体相邻的侧壁分别设置有第一防护部和第二防护部,所述封装壳体底部设置有缓冲部,所述缓冲部包括齿轮、转动管和第二弹簧,所述齿轮固定套设在转动管外侧,所述第二弹簧活动套设在转动管外侧,所述转动管安装在封装壳体底部,所述第一防护部内设置有与齿轮啮合连接的齿条杆,所述第二防护部与齿条杆的端部铰接,所述第一防护部被撞击时,齿条杆用于克服第二弹簧的弹力带动齿轮旋转,防止封装壳体因撞击后在第二防护部或从第一防护部的方向受到二次伤害,具备防撞效果好的特点。

标签:
加工技术
江苏 - 徐州 来源:中冶有色网 2023-03-18
锂电池循环充放电再利用系统

本发明公开了一种锂电池循环充放电再利用系统,包括触摸屏、主机、系统直流电源、远程控制继电器、电压电流传感器、发热电阻、稳压模块、整流电路模块和电芯充放电板,触摸屏电性连接主机,主机分别电性连接远程控制继电器和电压电流传感器,且远程控制继电器通过电压电流传感器与电芯充放电板电性连接,远程控制继电器分别电性连接发热电阻和稳压模块,远程控制继电器通过稳压模块与整流电路模块电性连接,整流电路模块与系统直流电源电性连接,本发明结构设计合理,在本着以快速、安全、节能的目的,解决了锂电池芯的大规模检测中检测周期长,检测过程需要保证安全,不环保节能的缺点。

标签:
加工技术
江苏 - 徐州 来源:中冶有色网 2023-03-18
锂电池加工用打磨装置

本实用新型公开了一种锂电池加工用打磨装置,涉及到锂电池加工技术领域,包括底箱,所述底箱的右侧固定连接有电机箱,所述电机箱的右侧内壁固定连接有伺服电机,所述伺服电机的输出端固定连接有转轴,所述转轴的左端依次贯穿电机箱的左侧壁和底箱的右侧壁开设的轴孔并位于底箱的内部,所述转轴的左端固定连接有主动齿轮,所述主动齿轮的上方啮合连接有从动齿轮,所述从动齿轮的中部固定连接有丝杆,所述丝杆的外部套接有两个滑动座。本实用新型通过伺服电机、转轴、主动齿轮、从动齿轮、丝杆、滑动座、滑动杆和压块的配合设置,能够对将产品夹紧,解决了现有锂电池加工用打磨装置在对产品打磨时,夹紧效果不好的问题。

标签:
加工技术
江苏 - 徐州 来源:中冶有色网 2023-03-18
锂离子电池负极材料分级工序中带除铁功能的拱形沉降斗

本实用新型用于锂离子电池负极材料的分级工序中,具体涉及一种锂离子电池负极材料分级工序中带除铁功能的拱形沉降斗,包括拱形沉降斗、磁性筛板和出料口;拱形沉降斗由两块侧板、拱形前板和后板构成;拱形前板为拱形;拱形前板上端用异形铰链与所述两块侧板上端连接,下端连接头通过螺栓与出料口连接,拱形前板下端可以向外打开;拱形前板、侧板和后板带有磁性,垂直方向分布有齿;磁性筛板有两个,磁性筛板上端用后板上的挂钩固定,下端用两个侧板上的支撑杆支撑,磁性筛板倾斜分布于拱形沉降斗内。本实用新型能够实现在锂离子电池负极材料分级的同时有效除去粉体中的铁颗粒,结构简单,节能高效。

标签:
加工技术
江苏 - 徐州 来源:中冶有色网 2023-03-18
用于锂电池托盘的重力复位卡爪式叠放装置

本实用新型公开了一种用于锂电池托盘的重力复位卡爪式叠放装置,包括主传送带(1)、步进电机(2)、可移动横梁(4)、重力复位卡爪(5)和丝杠导杆(6);所述的步进电机(2)通过联轴器(3)带动丝杠导杆(6)转动,丝杠导杆(6)上端连接并带动可移动横梁(4)上下移动;所述可移动横梁(4)内侧通过连接块(7)连接重力复位卡爪(5);所述的重力复位卡爪(5)在可移动横梁(4)带动下进行移动或旋转;本实用新型其依靠卡爪自身重力,可用于连续动作、设备状态稳定、安全环保要求较高的锂电池自动化线。

标签:
加工技术
江苏 - 徐州 来源:中冶有色网 2023-03-18
碳包覆单质锡材料的制备方法及其在锂离子电池上的应用

本发明公开碳包覆单质锡材料的制备方法及其在锂离子电池上的应用,包括1)将一定量的锡源溶解在去离子水中,充分搅拌溶解,然后加入高吸水性聚丙烯酸钠,超声并不断搅拌,得膨胀混合物;2)将膨胀混合物进行冷冻干燥,干燥后转移至刚玉坩埚中,再转移至管式炉中,在气体氛围下,按照一定的升温速率升温并于300‑1100℃反应温度下烧结3‑12h,然后将烧结样品经去离子水洗涤,干燥即得到碳包覆单质锡材料。本发明所用的原料廉价易得,制备步骤简单,操作可控度强,且所得产品中球型锡均匀的分布在薄膜碳中,颗粒尺寸均一,较易于大规模工业生产;形貌均一,具有较大的比表面积,可以广泛应用在太阳能电池、锂离子电池等新能源领域。

标签:
加工技术
江苏 - 徐州 来源:中冶有色网 2023-03-18
光催化强化废旧锂离子电池正极活性物质浸出的方法

本发明公开了一种光催化强化废旧锂离子电池正极活性物质浸出的方法及应用,通过浸出剂和光催化剂对废旧锂离子电池正极活性物质进行浸出,所述浸出剂为有机酸或无机酸的水溶液。该方法解决了传统还原剂的添加导致成本升高,后续处理难度增加等问题,有价金属的浸出率高,能耗低、光催化剂可循环使用、不产生二次污染,是一种高效、安全的环境友好型浸出方法。

标签:
加工技术
江苏 - 徐州 来源:中冶有色网 2023-03-18
大型锂电池组散热装置

本实用新型涉及锂电池组散热设备技术领域,且公开了一种大型锂电池组散热装置,包括箱体和安装箱,所述安装箱内开设有多个放置槽,所述箱体内设置有隔板,位于隔板上侧的所述箱体设置有冷却腔,且隔板上环绕设置有多个微型电动喷头,位于所述隔板下侧的所述箱体的一侧侧壁上开设有多个Z型孔,位于Z型孔相对一侧的所述箱体的侧壁上开设有排气孔,且排气孔内固定连接有排气装置,所述安装箱的侧壁上固定连接有多个导热板,且导热板的一端贯穿安装箱的侧壁设置,所述箱体的下端设置有挡板,且挡板上开设有通水孔。该种大型锂电池组散热装置,它可以使得降温效果的保持时间更长。

标签:
加工技术
江苏 - 徐州 来源:中冶有色网 2023-03-18
锂电池自动清洗机防卡装置

一种锂电池自动清洗机防卡装置,在侧导向板(1)的上部安装有防卡装置,所述的防卡装置包括固定立柱(3)、锁紧螺母(4)、弹簧(5)、中间固定架(6)、直线轴承(7)、上端压板(8)和位移传感器(9),所述的固定立柱设置为左右对称的两件,且均通过连接件(10)垂直于侧导向板固定设置,在固定立柱上均套设有直线轴承,直线轴承与固定立柱底端的连接件接触,中间固定架穿过设置在链条输送滚筒上方的上端压板并与上端压板固定设置,在直线轴承的上方均设置有弹簧,所述的弹簧的上端设置有锁紧螺母,在连接件上均安装有位移传感器。本实用新型结构简单,能够解决锂电池在清洗过程中出现的憋卡现象,提高锂电池生产效率和合格率。

标签:
加工技术
江苏 - 徐州 来源:中冶有色网 2023-03-18
锂电池除尘装置
锂电池除尘装置 945     
 0

本实用新型公开了一种锂电池除尘装置,包括装置主体和伺服电机,所述装置主体的外表面连接有伺服电机,且伺服电机输出端连接有传输带,所述传输带的表面连接有第一夹具,且第一夹具的底端背面抵接有第二夹具,所述第二夹具的底端背面连接有扭力弹簧,所述装置主体的内壁连接有第一连接块。本实用新型通过设置第一夹具、第二夹具和扭力弹簧,能无需工作人员手动打开第二夹具和第一夹具再对电池进行固定,提高了工作人员的码放效率,且该装置通过设置,引导板和第一卡槽,能自动对第一连接板的位置进行纠偏,使第一连接板始终能对锂电池的正负两极进行擦拭。

标签:
加工技术
江苏 - 徐州 来源:中冶有色网 2023-03-18
锂硫电池硫正极的单原子催化剂材料的制备方法

一种锂硫电池正极单原子催化剂材料的制备方法,包括以下步骤:将碳源溶于有机溶剂,再加入有机酸,搅拌形成混合溶液;取混合溶液加入到介孔模板剂中,浸渍过夜,低温老化后再高温老化,烘干得到样品Ⅰ;将样品Ⅰ进行烧结处理,自然冷却得到样品Ⅱ;将金属源和有机配体混合后加入到纯甲醇中,搅拌后再加入氮源,搅拌成均匀溶液;将样品Ⅱ加入到均匀溶液中,依次经过蒸发、烧结、刻蚀、洗涤、抽滤、干燥即得单原子催化剂材料。该方法制备工艺绿色简单、成本低、反应时间短,所得到的单原子催化剂材料能充分与硫复合,所得到的复合材料不仅能增强电极的电导率,还能通过物理限域的方式固定硫,将其作为锂硫电池正极材料时表现出优异的电化学性能。

标签:
加工技术
江苏 - 徐州 来源:中冶有色网 2023-03-18
锂电池用复合隔膜的制备方法

本发明公开了一种锂电池用复合隔膜的制备方法,包括如下步骤:按3:2的质量比配制丙酮与二甲基甲酰胺的混合溶剂,称取聚偏氟乙烯粉末溶于上述溶剂,加热搅拌至充分溶解,配质量分数为1‑9%的溶液,经超声波处理30‑40min后,用注射器取2ml的溶液,固定在放置架上,剪取聚乙烯隔膜,平铺在静电喷涂的接收装置上,注射器与高压电源的输出端相连,溶液在高压静电的作用下喷涂到接收装置上;接收距离为15cm,控制喷涂时间2‑6min,得到复合隔膜。本发明制备方法简单、易于重复,制备的良品率高;制备得到的隔膜孔隙率从46%提高到73%,纵向热收缩率由2.6%减小到1.3%,电池的首次放电容量提高了4.2%,经过50次充放电循环测试,电池的循环稳定性良好,可以应用到锂离子电池中。

标签:
加工技术
江苏 - 徐州 来源:中冶有色网 2023-03-18
锂电池极耳折弯装置
锂电池极耳折弯装置 800     
 0

本发明公布一种锂电池极耳折弯装置,属于锂电池生产加工技术领域。包括极耳折弯机构和电池输送机构;极耳折弯机构包括竖向布置的转轴Ⅰ,转轴Ⅰ上安装有一对转盘,转盘的外周边上连接有转轴Ⅱ,转轴Ⅱ外安装有用于弯折极耳的压筒;电池输送机构包括滑轨和滑动安装在滑轨上的滑座;滑座的滑动方向与所述转盘的旋转轨迹相切;滑座的一侧固定有用于对电池定位的夹具,滑座靠近转盘的一端具有抵在电池极耳弯折侧的定位条。本发明自动化程度高,提升了电池极耳弯折效率高;电池极耳进入相切点之前,压筒已经与电池极耳接触,形成一个预折弯,以此来降低电池极耳在相切点处受到的剪切力,防止电池极耳根部拉伤或开裂,提升产品良品率。

标签:
加工技术
江苏 - 徐州 来源:中冶有色网 2023-03-18
太阳能锂电池路灯
太阳能锂电池路灯 729     
 0

本实用新型公开了一种太阳能锂电池路灯,包括灯杆,灯杆的底部设置有法兰底座,灯杆的侧壁设置有灯臂,灯臂远离灯杆的一端设置有LED灯头,灯杆的顶部通过螺栓设置有连接管,连接管远离灯杆的一端设置有固定片,固定片的顶部设置有固定支架,固定支架的底部右侧设置有锂电池,固定支架的顶部设置有太阳能电池板,本实用新型能够使太阳能路灯装配简单方便,各部件连接方式简单,部件连接处简化,不需要使用大型工具即可完成装配,大大节约了劳动时间,降低了劳动成本,有利于员工批量作业,而且可以根据当地的实际情况,适当调整太阳能电池板的朝向,提高发电效率。

标签:
加工技术
江苏 - 徐州 来源:中冶有色网 2023-03-18
负极材料及其制备方法和具有负极材料的锂电池

本发明公开了一种负极材料及其制备方法和具有负极材料的锂电池,包括:碳基材料,所述碳基材料至少包括一种碳基材料单元,所述碳基材料单元交错设置,且所述碳基材料表面均匀负载金属氧化物镀层;其中,所述碳基材料成分至少包括碳、氮、氧三种元素;其中,所述金属氧化物镀层至少为三氧化二铁、四氧化三钴、氧化镍、二氧化锡中的一种。该负极材料能有效抑制电池循环过程中锂枝晶生长问题以及减缓循环过程中带来的体积膨胀问题,能够提升锂金属电池的可逆比容量和循环稳定性。

标签:
加工技术
江苏 - 徐州 来源:中冶有色网 2023-03-18
锂离子电池荷电状态SOC的估算方法

本发明公开一种锂离子电池荷电状态的估算方法,包括以下步骤:S1、建立锂离子电池的等效电路模型,采集开路电压数据与荷电状态数据,基于所述等效电路模型,获取不同状态下的电池模型参数;S2、基于基尔霍夫定律,通过所述等效电路模型和所述电池模型参数,得到模型状态空间方程;S3、基于所述模型状态空间方程,通过鲁棒自适应有限差分卡尔曼滤波法对锂离子电池荷电状态进行估算。本发明能够避免对Jacobian矩阵的计算,实时调整过程噪声协方差,并对观测值进行重构,提高算法估算荷电状态的精度,收敛速度以及对非高斯分布测量噪声的鲁棒性。

标签:
加工技术
江苏 - 徐州 来源:中冶有色网 2023-03-18
上一页 21 22 23 24 25 ... 38 下一页
共38页    到第

中冶有色为您提供最新的江苏徐州有色金属加工技术理论与应用信息,涵盖发明专利、权利要求、说明书、技术领域、背景技术、实用新型内容及具体实施方式等有色技术内容。打造最具专业性的有色金属技术理论与应用平台!

全国热门有色金属设备推荐
展开更多 +
全国热门有色金属技术推荐
展开更多 +

 

江西省隆恩特环保设备有限公司
宣传

报名参会
更多+

报告下载

有色专家
更多+

武汉理工大学
副主任/研究员
广东省科学院资源利用与稀土开发研究所
教授
江西理工大学
副校长/教授
江西铜业集团有限公司
党委书记、董事长
江西省科学院应用化学研究所
副主任/副研究员
赤泥综合利用研究报告2025
推广

热门技术
更多+

推荐企业
更多+

福建省金龙稀土股份有限公司
宣传

发布

在线客服

公众号

电话

顶部
咨询电话:
010-88793500-807