青岛垚鑫智能科技有限公司
宣传

位置:中冶有色 >

有色技术频道 >

> 加工技术

分类:
全部
矿山技术
冶金技术
材料制备及加工技术
环境保护技术
分析检测技术
 
全部
功能材料技术
复合材料技术
新能源材料技术
合金材料技术
加工技术
地区:
全部
北京
天津
上海
重庆
河北
山西
辽宁
吉林
黑龙江
江苏
浙江
安徽
福建
江西
山东
河南
湖北
湖南
广东
海南
四川
贵州
云南
陕西
甘肃
青海
内蒙
广西
西藏
宁夏
新疆
其他
其他
展开
 
全部
南京
无锡
徐州
常州
苏州
南通
连云港
淮安
盐城
扬州
镇江
泰州
宿迁

江苏徐州有色金属加工技术理论与应用

免费发布技术信息>>
锂电池箱内部监测报警装置

本实用新型公开了一种锂电池箱内部监测报警装置,包括监测报警组件和若干个温度采集组件,所述监测报警组件与所述温度采集组件信号连接,所述温度采集组件包括安装底座,所述安装底座背面设有粘胶安装层,所述安装底座上连接有固定套,所述固定套内设有温度传感器,且所述温度传感器与所述安装底座之间设有接触弹簧,所述固定套内部还设有热传导块,且所述热传导块位于所述温度传感器右侧并与所述温度传感器贴合接触,所述热传导块右侧设有限位套,所述限位套卡接在所述固定套上,本实用新型结构设计合理,不仅能够快速地进行安装,同时还能准确地对锂电池箱内的温度进行监测报警,具有安装便捷、监测准确的特点。

标签:
加工技术
江苏 - 徐州 来源:中冶有色网 2023-03-18
锂电池隔膜卷绕器
锂电池隔膜卷绕器 1176     
 0

本实用新型公开了一种锂电池隔膜卷绕器,包括壳体、辊压系统、卷绕系统、裁剪系统、驱动系统,所述壳体中部设有辊压系统,所述辊压系统包括辊子一和辊子二,所述辊压系统两侧、壳体内部两端设有卷绕系统,所述卷绕系统包括入口滚轴和出口滚轴,所述辊子一与辊子二的间隔所在平面与出口滚轴上限位环边缘交线处设有裁剪系统;所述裁剪系统包括压板、滚珠丝杆、刀片、刀座和液压缸。本实用新型锂电池隔膜卷绕器操作方便,解决了现有技术中存在的易产生褶皱与偏移且需要对隔膜进行人工裁剪的问题。

标签:
加工技术
江苏 - 徐州 来源:中冶有色网 2023-03-18
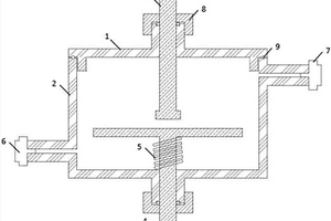
新型三叔丁氧基氢化铝锂生产装置

本实用新型公开了一种新型三叔丁氧基氢化铝锂生产装置,属于精细化工生产机械领域;包括:第一化学反应釜(1)、过滤机(2)、第二化学反应釜(3)、离心分离机(4)、烘干机(5);第一化学反应釜(1)上设有原料氢化铝钠、氯化锂、乙醚进口(6),第一化学反应釜(1)和过滤机(2)间设有第一料浆泵和管道(7),过滤机(2)设有固态物出口(8),过滤机(2)和第二化学反应釜(3)间设有第二料浆泵和管道(9),第二化学反应釜(3)上设有原料叔丁醇进口(10),第二化学反应釜(3)和离心分离机(4)设有第三料浆泵和管道(11),离心分离机(4)上设有液体出口(12),离心分离机(4)和烘干机(5)间设有第一输送机(13),烘干机(5)上设有成品出口(14)。

标签:
加工技术
江苏 - 徐州 来源:中冶有色网 2023-03-18
电动车锂电池家用充电防爆装置

本发明提供一种电动车锂电池家用充电防爆装置,涉及防爆装置技术领域,包括防爆箱、电源和防爆结构,所述电源位于防爆箱的内部,所述电源的上端电性连接有两个线缆,所述防爆箱的端口转动连接有箱盖,所述防爆箱的内壁四周均设有用以防护电源的防爆结构,所述防爆结构包括固定架、用以遮挡电源的防护板、用以支撑的调节块、用以缓冲的滑块以及用以为滑块滑动提供阻力的摩擦垫。本发明,解决了传统防爆装置只是起到简单的笼罩作用,主要以防爆装置自身的强度来承担爆炸冲击力,承载爆炸冲击力的能力相对有限,对于爆炸后持续燃烧的锂电池来说,爆炸产生的碎屑也容易迸溅到装置内壁,也会在一定程度上对内壁造成影响的问题。

标签:
加工技术
江苏 - 徐州 来源:中冶有色网 2023-03-18
锂电池的制备方法
锂电池的制备方法 1009     
 0

本发明公开了一种锂电池的制备方法,其特征在于,包括如下步骤:将纳米Fe2O3/CoS‑AC负极材料与聚偏氟乙烯混合,滴入N‑甲基吡咯烷酮,搅拌混合均匀成浆,将浆料均匀涂覆于铜箔上,真空干燥,冲成直径为圆形负极极片,真空85℃干燥24h,在充满氩气的手套箱中组装成电池,电池以锂片作为对电极,隔膜使用Celgard2400聚丙烯隔膜,本发明制备的新型负极材料相比于传统的电极材料,由于引入了铁锰钴氧化物,能够在充放电时作为有效缓冲介质削弱体积变化的负面效应,提高负极材料实际比容量和倍率性能。

标签:
加工技术
江苏 - 徐州 来源:中冶有色网 2023-03-18
锂电池加热测试装置
锂电池加热测试装置 1110     
 0

本发明公开了一种锂电池加热测试装置,它涉及锂电池用具技术领域;支撑架的底部安装有支撑脚,支撑架的内上端安装有聚热板,聚热板的底部安装有加热棒,温控器安装在支撑架的侧壁上,温度传感器安装在聚热板的侧壁上,温度传感器通过导线与温控器的输入端电性连接,所述温控器的输出端与加热棒电性连接,所述支撑架的内边缘处安装有限位架,限位架内设置有防护罩;本发明便于实现快速支撑与防护,且能实现快速加热测试,其使用方便,操作简便,能节省时间。

标签:
加工技术
江苏 - 徐州 来源:中冶有色网 2023-03-18
锂离子负极材料及其制备方法

本发明涉及一种锂离子负极材料及其制备方法,含有下列重量份的原料:负极材料:PPP-700及粒度≤0.5μm碳纳米结构90~95%、导电剂:石墨?2~10%、增稠剂:羧甲基纤维素钠2~5%、粘合剂:丁苯橡胶1.5~5%、溶剂:水,其重量是负极材料、导电剂、增稠剂和粘合剂总重量的70~100%,一种锂离子负极材料及其制备方法成本低、电池成品率高、制作工艺简单、放电倍率高、循环性能好,具有很好的推广前景。

标签:
加工技术
江苏 - 徐州 来源:中冶有色网 2023-03-18
新能源锂电池生产金属盖帽冲压加工设备

本发明涉及锂电池生产加工技术领域,特别涉及一种新能源锂电池生产金属盖帽冲压加工设备,包括加工台、捋平辊、立板与卷绕轴。本发明所设计的拨料机构推动冲压出的盖帽随着铝带余料向右移动,使得冲压出的盖帽从下料孔落至收料盒内,从而避免了人工将盖帽从加工台上取下,增加人工劳动强度的问题,使得操作人员的安全得到保障,同时拨料机构简单,便于操作使用,在下模具的两侧设置有对铝带进行张紧的张紧轴,从而下模具的左右两侧均留有一定余量的铝带,避免在铝带冲压过程中由于将下模具上的铝带拉动的较紧,导致冲压头在冲压时出现直接将盖帽冲压变形或断裂的问题,从而提高了盖帽的生产质量与生产效率。

标签:
加工技术
江苏 - 徐州 来源:中冶有色网 2023-03-18
锂电池生产用浆料混合搅拌设备

本发明公开了一种锂电池生产用浆料混合搅拌设备,具体涉及锂电池生产技术,包括箱体,所述箱体顶端固定设有电机,所述电机输出轴延伸入箱体内部,所述箱体内部固定设有竖杆,所述竖杆底端通过轴承与箱体内部底端连接,所述竖杆顶端与电机输出轴底端固定连接,所述箱体内部固定设有杆筒,所述杆筒套设在竖杆外端,所述杆筒上设有多个搅拌片,所述箱体一侧设有斜管,所述斜管内部顶端固定设有湿度传感器,所述湿度传感器设在箱体一侧,所述斜管内部顶端固定设有温度传感器,所述温度传感器设在湿度传感器一侧。本发明对浆料的温度和湿度进行实时监控和检测,缩短工艺生产所需要的时间,使得生产成本降低。

标签:
加工技术
江苏 - 徐州 来源:中冶有色网 2023-03-18
锂电池用叠片机
锂电池用叠片机 1032     
 0

本发明涉及新能源锂电池技术领域,且公开了一种锂电池用叠片机,包括底座,所述底座的两侧分别设有一个侧板,所述侧板上滑动连接有折弯机构和吸盘机构,所述侧板的下端设有分隔座,底座上安装有驱动分隔座上下移动的下折叠伸缩杆,所述分隔座的表面滑动连接有纵向滑动座。本发明通过折弯驱动机构和折弯机构的配合使得位于两组主辊轴之间的隔离膜一次折弯成多个Z字型凹陷,再通过吸盘机构将所有阴极片和阳极片一次交错放置在Z字型凹陷处,利用折弯驱动机构驱动折弯辊而改变隔离膜的形状实现对极片的和隔离膜的折叠功能,摒弃传统多次叠压极片和隔离膜的方式,避免极片被多次挤压而造成损坏的情况。

标签:
加工技术
江苏 - 徐州 来源:中冶有色网 2023-03-18
锂电池总成的拆装结构
锂电池总成的拆装结构 1077     
 0

本发明涉及一种锂电池总成的拆装结构,包括沿水平方向依次设置的正极安装板1、连接柱5以及负极安装板2,其中连接柱5在竖直方向设置有一对,且连接柱5的两端分别与正极安装板1和负极安装板2可拆卸连接,同时在正极安装板1与负极安装板2相对的一侧分别阵列开设有若干的正极插孔11和负极插孔21,每组正极插孔11与负极插孔21之间均可以用于固定一电池单体4,并且在正极安装板1中沿竖直方向开设有正极导电槽12,正极导电槽12内安装有正极导电条13,在负极安装板2中沿竖直方向开设有负极导电槽22,负极导电槽22内安装有负极导电条23,电池单体4的两极分别与正极导电条13和负极导电条23接触,从而形成完整的锂电池总成。

标签:
加工技术
江苏 - 徐州 来源:中冶有色网 2023-03-18
受热均匀的锂电池烘干设备

本实用新型公开了一种受热均匀的锂电池烘干设备,包括烘干箱、加热箱以及置物架,烘干箱的内壁上相对称的固定连接有多组滑台,每两组相对应的滑台上均滑动连接有一组置物架,烘干箱相对应的两侧上均固定连接有第一热通道,烘干箱底部固定连接在第二热通道上,第二热通道一端与加热箱连通,加热箱内固定安装有加热装置。本实用新型具有受热均匀、烘干效果优异、可加快烘干效率的优点,其主要用于锂电池烘干。

标签:
加工技术
江苏 - 徐州 来源:中冶有色网 2023-03-18
低压锂电池储能控制系统

本发明公开了一种低压锂电池储能控制系统,包括底板,底板的上表面固定连接有第一防护罩,第一防护罩内设有路灯杆,路灯杆的底端与底板的上表面固定连接,路灯杆的顶端穿过第一防护罩并向上延伸,路灯杆的顶端固定嵌设有第一旋转电机,第一旋转电机的输出端固定连接有第一支撑板,第一支撑板的上表面铰接有第二支撑板,第二支撑板的上表面固定连接有太阳能电池板,第一支撑板的上表面固定连接有第二旋转电机,的第二旋转电机的输出端固定连接有第一斜齿轮,第一支撑板的上表面开设有圆形通孔。本发明提高了太阳电池板吸收光能的效率,保障了锂电池储电充足,也保障了路灯晚上的正常使用,也提高了太阳能路灯的稳定性。

标签:
加工技术
江苏 - 徐州 来源:中冶有色网 2023-03-18
用于软包装锂电池的热封机

本发明涉及锂离子电池制造技术领域,且公开了一种用于软包装锂电池的热封机,包括机体,所述机体的内部一侧设有输送台,所述机体的内部另一侧底端放置有工作台,且工作台与下托板的底端固定连接,所述下托板的顶端固定连接有下加热源,所述下加热源的顶端固定连接有下铜板。本发明通过在上加热源和上铜板右侧的上托板下方设置右滚轮,当在气缸带动上托板向右移动时,由于其内部设置有右限位环和储气件,并在储气件的两侧设置有连通右滚轮内外的第一气管和第二气管,使得在右滚轮滚动时活塞的移动实现对第一气管和第二气管的启闭,从而使两个右滚轮产生向内吸气操作,并对位于两个右滚轮间的铝塑膜侧边进行滚平和吸附操作。

标签:
加工技术
江苏 - 徐州 来源:中冶有色网 2023-03-18
多用途圆柱形锂电池盖帽封装机

一种多用途圆柱形锂电池盖帽封装机,工作台上固定有推料汽缸,推料汽缸的活塞杆上固定有推板,导槽的结构为在方形体上成型方形通槽,推板插套在方形通槽中,方形体固定在工作台上,料道固定在工作台上,料道的出料口对着方形通槽;振动上料盘的出料口通接料道,料道上安装有红外感应器,工作台上固定有支架,冲压汽缸固定在支架上,上压模固定在冲压汽缸的活塞杆上,上压模上固定有电加热器,下模固定在工作台上,上压模与下模同轴线相对布置;上下件汽缸固定在支架上,上下件板由板体和圆筒固定在一起组成,板体固定在上下件汽缸的活塞杆上,下模置于圆筒中,气动吹嘴固定在支架上,气动吹嘴对着下模。它能提高圆柱形锂电池压盖生产工序的生产效率,避免手指被压伤的工伤事故。

标签:
加工技术
江苏 - 徐州 来源:中冶有色网 2023-03-18
锂电池用外壳
锂电池用外壳 1042     
 0

本发明公开了一种锂电池用外壳,它涉及锂电池用具技术领域;外壳体的内侧壁上设置有数个加强杆,数个加强杆的内侧设置有内壳体,所述内壳体的内侧壁上设置有抗压层,所述抗压层的内侧壁上设置有防腐层与绝缘层;本发明能提高强度,且操作简便,使用方便,提高安全性。

标签:
加工技术
江苏 - 徐州 来源:中冶有色网 2023-03-18
散热性好的锂电一体化路灯

本发明公开了一种散热性好的锂电一体化路灯,包括基壳,基壳的一侧侧壁嵌入有灯泡,基壳远离灯泡的一侧侧壁嵌入有锂电池座,基壳的一侧设置有散热机构,散热机构包括固定板,固定板靠近基壳的一侧侧壁开设有第一凹槽,第一凹槽的两侧侧壁之间焊接导热板,导热板的一侧侧壁焊接有多个对称设置的散热翅片,散热翅片远离导热板的一端延伸至第一凹槽的外部,固定板的一侧侧壁开设有对称设置的第二凹槽,第二凹槽的一侧侧壁开设有第一通孔,第一通孔内部设置有固定机构。本发明能够对路灯进行散热,大大提高了路灯的散热效果,从而提高了路灯的使用寿命,而且能够快速将路灯与散热机构进行安装和拆卸,便于工作人员进行维修操作。

标签:
加工技术
江苏 - 徐州 来源:中冶有色网 2023-03-18
锂电池保护板焊锡装置

本实用新型公开了一种锂电池保护板焊锡装置,涉及焊锡装置技术领域,包括焊锡加工台,所述焊锡加工台的上端外表面对称设置有两组U型架板,两组所述U型架板之间设置有废渣槽,所述废渣槽的上端外表面设置有防护架,所述焊锡加工台位于支撑柱的上端外表面,所述支撑柱的下端外表面设置有支撑底板,所述支撑底板的下端外表面设置有自锁万向轮,所述支撑底板的上端外表面设置有调节气缸。本实用新型的一种锂电池保护板焊锡装置,设置的防晃压板与缓冲橡胶头,用于压住待加工的保护板,设置的调节气缸与活动杆,可以带动防晃压板进行上升与下降,两组平衡杆可以避免冲压板在上下移动时候发生位置偏移与角度倾斜。

标签:
加工技术
江苏 - 徐州 来源:中冶有色网 2023-03-18
可机洗的锂电池加热服
可机洗的锂电池加热服 1176     
 0

本实用新型公开了一种可机洗的锂电池加热服,对加热系统进行密封处理,防水性能好,加热片的基料选择阻燃布,控制板上设有过流和短路保护电路;选用耐疲劳性好,不怕折的碳纤维,选用具有阻燃、防水功能、高强度、揉搓不变形特点的阻燃布;选用高强度的电源导线,36芯,硅胶外套,质地柔软,无论怎样揉搓,不会折损,辅以凯芙拉纤维,抗拉拽,能承受75KG拉力。本实用新型的锂电池加热服的安全性更高,适用于机洗。

标签:
加工技术
江苏 - 徐州 来源:中冶有色网 2023-03-18
磷酸铁锂粉碎前用除磁器

本实用新型涉及磷酸铁锂技术领域,具体地说,涉及一种磷酸铁锂粉碎前用除磁器,包括壳体,壳体端部设有第一电机,第一电机的输出端连接除磁装置的第一转轴,壳体下端设有筒体,筒体内部设置清洁装置,清洁装置的第二电机的输出端连接于第二转轴的一端,第二转轴的另一端贯穿螺母座和筒体的侧壁,第二转轴的一端与凸轮底端相连,凸轮的顶端通过销轴与曲杆一端铰接,曲杆的另一端与滑杆相连,滑杆端部固定连接横杆,横杆被清洁套贯穿,滑杆杆体上设置支撑装置,本实用新型,通过除磁装置将物料中的磁性物吸附在除磁棒表面,通过清洁装置内部的刮片和刷子将除磁棒表面的磁性物去掉,无需将除磁棒拆卸即可进行清洁,提高除磁效率,省时省力。

标签:
加工技术
江苏 - 徐州 来源:中冶有色网 2023-03-18
可进行光催化反应的锂空气电池模具

本实用新型属于化学电源技术领域,公开了一种可进行光催化反应的锂空气电池模具,可进行光催化反应的锂空气电池模具包括正极透明壳体和负极透明壳体,正极透明壳体和负极透明壳体的中部通过外螺母分别竖直安装有正极集流体和负极集流体;负极集流体的下端套装有弹簧,正极透明壳体下端通过螺纹和O型圈活动安装有负极透明壳体;负极透明壳体的前端安装有进气阀,负极透明壳体的后端安装有出气阀。该可进行光催化反应的锂空气电池模具有利于外部光源透过壳体,在正极上进行光催化电化学反应。对于锂空气电池的深入研究提供便利,本模具结构简单,便于制造。

标签:
加工技术
江苏 - 徐州 来源:中冶有色网 2023-03-18
用于锂电池电路板的散热安装机构

本实用新型涉及锂电池控制基板技术领域,尤其是一种用于锂电池电路板的散热安装机构,包括主基板。本实用新型的一种用于锂电池电路板的散热安装机构通过在主基板外侧面上套有中空结构侧向固定框,利用侧向固定框底部对角位置设置内螺纹固定安装管来对主基板进行安装固定,在侧向固定框底部对角位置设置外部输液管,通过内螺纹连接头来螺纹连接外部输液管和外部排液管,在内螺纹连接头内部设置有内部挤压杆,在外部输液管内部弹性连接有通过内部挤压杆控制的密封活塞,使其在分离状态下自动闭合外部导液口,从而方便装卸,通过在侧向固定框上端焊接固定有用于导离主基板上方热量的外部导热片,大大提升电路板的安全性和散热性能。

标签:
加工技术
江苏 - 徐州 来源:中冶有色网 2023-03-18
多功能锂电池充电器
多功能锂电池充电器 710     
 0

本实用新型公开了一种多功能锂电池充电器,包括充电器本体、散热机构和连接固定机构,所述充电器本体固定安装在散热机构顶部的中点处,所述连接固定机构的数量为两个且分别固定连接在散热机构的左右两侧,所述散热机构包括散热壳,所述散热壳的顶部对称安装有散热电机,所述散热电机的输出轴上固定连接有散热转轴,所述散热转轴的底端贯穿散热壳且延伸至其内部固定连接有散热扇片。该多功能锂电池充电器,结构设计合理,使用方便,不仅可在充电时对充电器进行固定,防止误碰而导致插头脱落等情况的发生,而且可对锂电池进行有效散热,同时可在光线较差的环境下进行照明,便于操作,可满足多方位的使用需求。

标签:
加工技术
江苏 - 徐州 来源:中冶有色网 2023-03-18
特种锂电池充放电用防水防护设备

本实用新型涉及锂电池技术领域,且公开了一种特种锂电池充放电用防水防护设备,包括箱体,所述箱体的内部活动连接有电池本体,所述箱体的顶部通过合页活动连接有活动盖,所述活动盖的顶部螺纹连接有固定螺栓,所述电池本体左右两侧的顶部均固定连接有限位块,所述箱体的左右两端均螺纹连接有限位螺栓,所述电池本体的右侧固定连接有充放电连接件。该特种锂电池充放电用防水防护设备,通过设置防护罩并扭动防护罩,使充放电过程中和充放电完毕后,充放电接头都能得到有效的保护,从而实现防护效果好的目的,避免了外部水渍进入到防雨套内部而影响充放电接头的使用,同时方便固定和携带,易于使用,适用于各种情况。

标签:
加工技术
江苏 - 徐州 来源:中冶有色网 2023-03-18
锂电池回收利用废料收集装置

本实用新型涉及收集装置技术领域,且公开了一种锂电池回收利用废料收集装置,包括落地板,所述落地板的顶部固定安装有外壳箱,所述外壳箱的顶部插接有一端贯穿并延伸到外壳箱内部的内筒,所述内筒的底部固定安装有垫板。该锂电池回收利用废料收集装置,通过设置侧板、限位杆、卡块、盖罩、投递孔和投料孔,使用者通过投递孔和投料孔将废弃电池投入内筒内,在回收人员收取内筒内的电池时,手提盖罩,盖罩带动内筒脱离外壳箱,挡板下滑盖住投料孔,取出后转动盖罩脱离内筒,使用者将内筒内的废电池倒出来,如此,设备方便取出电池,密封严密,即使内筒被腐蚀穿孔,锂电池漏液也不会进入环境内,而是盛在外壳箱内。

标签:
加工技术
江苏 - 徐州 来源:中冶有色网 2023-03-18
铝镁锂合金材料生产用原材料输送装置

本发明公开了一种铝镁锂合金材料生产用原材料输送装置,包括输送底板,输送底板的顶部的左侧前后两端均固定安装有平移机构,两组平移机构的顶部的左侧固定安装有固定底板,固定底板的顶部的中间位置处固定安装有左传送机构,输送底板的顶部的左侧且位于平移机构的右侧位置固定安装有第一气缸,第一气缸的左侧输出端与固定底板的右侧侧壁相固定,输送底板的顶部的右侧固定安装有右传送机构。该铝镁锂合金材料生产用原材料输送装置通过第一气缸带动固定底板向右侧移动至适当位置从而带动左传送机构同步移动,启动第二气缸带动张力调节机构向下移动从而调节传送带的张力至适当位置,便于调节该输送装置的输送半径。

标签:
加工技术
江苏 - 徐州 来源:中冶有色网 2023-03-18
用于锂电池生产设备的高温采样探头

本发明公开了一种用于锂电池生产设备的高温采样探头,具体涉及锂电池生产技术领域,包括第一箱体,所述第一箱体顶端固定设有进料管,所述进料管一端延伸入第一箱体内部,所述第一箱体内部固定设有横柱,所述横柱一侧延伸出第一箱体外端,所述横柱内部固定设有存储箱,所述存储箱一侧延伸出横柱外端,所述横柱内部固定设有软管,所述软管一端穿过横柱顶端,所述软管另一端穿过存储箱另一侧壁延伸入存储箱内部,所述存储箱一侧固定设有采样探头,所述采样探头设在第一箱体一侧,所述横柱与第一箱体之间固定设有密封橡胶圈。本发明采样探头冷却效果好,使采样的结果更加准确,减少采样误差,操作方式简单,减轻工作人员工作量。

标签:
加工技术
江苏 - 徐州 来源:中冶有色网 2023-03-18
新型锂电池组装盒
新型锂电池组装盒 767     
 0

本实用新型公开了一种新型锂电池组装盒,包括盒体以及密封盖,盒体内部固定设有组装框,组装框内壁上设有若干对插槽,插槽内插设有绝缘隔离板,且相邻绝缘隔离板之间设有固定框,固定框四侧内壁上均通过固定弹簧连接有固定板块,固定框内壁与固定板块之间还连接有定位伸缩杆,定位伸缩杆包括外定位管以及内定位杆,外定位管套接在内定位杆上,外定位管一端安装在固定框内壁上,外定位管另一端安装有限位环,内定位杆一端安装在固定板块上,内定位杆另一端安装有限位盘,本实用新型结构设计合理,本实用新型具有良好的减震效果,避免了安装过程中以及后续碰撞过程中所造成的损坏,同时还具有良好的散热效果,为锂电池提供了良好的运行环境。

标签:
加工技术
江苏 - 徐州 来源:中冶有色网 2023-03-18
便捷、高效的锂离子浆料输送装置

本实用新型公开了一种便捷、高效的锂离子浆料输送装置,包括进料口和液压杆,所述进料口的下方固定连接有第一浆料罐,且第一浆料罐的内部粘合有密封垫,所述液压杆的下方活动连接有底板,且液压杆位于第一浆料罐的下方,所述第一浆料罐的右侧固定连接有管道,且管道的上方设置有第一隔膜泵,所述第一隔膜泵的右侧设置有氮气输入口,且氮气输入口的右侧设置有密封开关。该便捷、高效的锂离子浆料输送装置,与现有的普通输送装置相比,在使用的过程中能够减少隔膜泵的负载,并且能够防止大颗粒进入浆料中,同时可以对浆料进行搅拌,一方面防止浆料形成沉淀,另一方面可以便于消除浆料中的气泡,避免极片的缺陷,能很好的满足人们的使用需求。

标签:
加工技术
江苏 - 徐州 来源:中冶有色网 2023-03-18
锂电池生产用电解液注入设备

本实用新型公开了一种锂电池生产用电解液注入设备,涉及锂电池注液设备技术领域,包括底座,所述底座的右侧固定连接有立柱,所述立柱的内部开设有滑槽,所述立柱的外部固定连接有伺服电机,所述伺服电机的输出轴固定连接有螺纹杆,所述螺纹杆的外部螺纹连接有升降台,所述升降台的两侧在滑槽中滑动连接,所述升降台的左侧固定连接有支撑臂,所述支撑臂的左侧固定连接有固定台,所述固定台的内部固定连接有注入装置,所述立柱的顶部固定连接有挡板。通过在注入装置内部设置有刮板和疏通杆,通过伺服电机控制升降台反复多次上下运动,可以快速清理干净残留的电解液,通过设置有密封块,保证了清理过程不会有电解液进入装置。

标签:
加工技术
江苏 - 徐州 来源:中冶有色网 2023-03-18
上一页 20 21 22 23 24 ... 38 下一页
共38页    到第

中冶有色为您提供最新的江苏徐州有色金属加工技术理论与应用信息,涵盖发明专利、权利要求、说明书、技术领域、背景技术、实用新型内容及具体实施方式等有色技术内容。打造最具专业性的有色金属技术理论与应用平台!

全国热门有色金属设备推荐
展开更多 +
全国热门有色金属技术推荐
展开更多 +

 

江西省隆恩特环保设备有限公司
宣传

报名参会
更多+

报告下载

有色专家
更多+

南方科技大学
外籍院士
武汉理工大学
外籍院士/教授
中国瑞林工程技术有限公司
中国工程院院士
矿冶科技集团
中国工程院院士
重庆大学
副院长/教授
赤泥综合利用研究报告2025
推广

热门技术
更多+

推荐企业
更多+

福建省金龙稀土股份有限公司
宣传

发布

在线客服

公众号

电话

顶部
咨询电话:
010-88793500-807