青岛垚鑫智能科技有限公司
宣传

位置:中冶有色 >

有色技术频道 >

> 固/危废处置技术

分类:
全部
矿山技术
冶金技术
材料制备及加工技术
环境保护技术
分析检测技术
 
全部
废水处理技术
大气治理技术
固/危废处置技术
土壤修复技术
地区:
全部
北京
天津
上海
重庆
河北
山西
辽宁
吉林
黑龙江
江苏
浙江
安徽
福建
江西
山东
河南
湖北
湖南
广东
海南
四川
贵州
云南
陕西
甘肃
青海
内蒙
广西
西藏
宁夏
新疆
其他
其他
展开
 
全部
济南
青岛
淄博
枣庄
东营
烟台
潍坊
济宁
泰安
威海
日照
滨州
德州
聊城
临沂
菏泽

山东有色金属固/危废处置技术理论与应用

免费发布技术信息>>
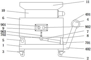
半固体危险废物处置装置

本实用新型涉及危险废物处置技术领域,具体为一种半固体危险废物处置装置,包括主体和加料装置,主体的表面固定连接有进料口,进料口的纵截面呈矩形框形,加料装置设置在主体的表面上,加料装置包括滑道,滑道与主体的表面固定连接,滑道的横截面呈长条形,滑道的内表面滑动连接有滑块,滑块的横截面呈矩形,滑块的表面固定连接有加料框,加料框的纵截面呈矩形框形,加料框与进料口的表面滑动连接。本实用新型,通过设置加料装置,有效地将废物处置装置进行加料,提高了废物处置装置的实用性,便于设备的正常使用,降低使用者的工作负担,提高设备的易用性。

标签:
固废
山东 - 烟台 来源:中冶有色网 2023-03-19
固体废物筛选分离处理装置

本发明公开了一种固体废物筛选分离处理装置,属于工业废物处理技术领域,包括底部支撑装置、投放装置、磁吸装置、压合装置、传送装置、分选装置、驱动装置、冷却机和送料装置,所述的分选装置包括有用于对不同种类的固体废物进行筛选的分离板,且分离板上开设有多个尺寸一致的通孔,所述分选装置还包括用于将不同种类的废物进行清理的转动板,本发明能够准确的区分金属废物和塑料废物,且能一次性完成分离和压料工作,实现了对废物自动化处理。

标签:
固废
山东 - 东营 来源:中冶有色网 2023-03-19
以黄金尾渣及固体废弃物为原料的渗水砖及其制备方法

本发明提供了一种以黄金尾渣及固体废弃物为原料的渗水砖及其制备方法。该技术方案以黄金冶炼尾渣为主要原料,经分拣后烘干,再与粉煤灰、硅藻土、污泥、粘土、高岭土等成分按配方量混合并搅拌均匀,而后,在压机中将混合料压制成为砖坯,砖坯经烘干后高温烧成,待冷却后分拣入库。本发明充分利用黄金尾渣结构坚硬、疏松多孔的特点,辅以大颗粒的固体废弃物和矿物粉末,在保证孔隙率的基础上提升了产品的结构强度。本发明所制备的渗水砖,其孔隙率较高,透水性良好,且具有较高的机械强度和抗冲击能力,不仅提高了产品性能,而且实现了废物利用,极具市场价值。

标签:
固废
山东 - 淄博 来源:中冶有色网 2023-03-19
工业固体废物专用双轴回转式破碎线及破碎方法

本发明公开了一种工业固体废物专用双轴回转式破碎线及破碎方法,包括破碎系统、液压系统和PLC主控系统,破碎方法包括:上料、进料、破碎及出料;本发明的工业固体废物专用双轴回转式破碎线,改进以前破碎机的缺点;延长破碎机刀口使用寿命;有效保护电机;破碎场所避免火灾发生和危废的二次污染;破碎机作业时无粉尘产生;转速低,噪音低。

标签:
固废
山东 - 青岛 来源:中冶有色网 2023-03-19
固体废弃物渗滤液采集及实验模拟系统

本发明提供了固体废弃物渗滤液采集及实验模拟系统,包括模拟实验箱,在所述模拟实验箱的底面和侧壁面上铺设有防渗漏层;在所述模拟实验箱的底面上设置有排水口,与所述排水口连通设置有排水管道,在所述排水管道上设置有阀门,与所述排水管的出水端连通设置有采样罐,用于对外排部分的渗滤液进行采样。通过在所述模拟试验箱的上方设置喷淋装置,可用于模拟自然降雨,从而实现对自然固体废弃物堆积现场的模拟。本发明在所述模拟实验箱内设置有至少一个渗滤液采集器,可用于对渗滤液进行采样,所述渗滤液采集器沿不同高度设置,可实现对固体废弃物不同深度处的渗滤液进行采样。

标签:
固废
山东 - 济南 来源:中冶有色网 2023-03-19
硝基甲烷生产中固体废渣的处理装置和工艺

提供了一种硝基甲烷生产中固体废渣的处理装置,它包括依次连接溶解釜(1)、压滤机(2)、酸解反应器(3)、冷冻结晶器(4)、第一离心机(5)、提升机(6)、蒸发结晶器(7)、第二离心机(8)和干燥器(9);第一离心机(5)和第二离心机(8)的底部连接至分相罐(10),分相罐(10)底部连接至溶解釜(1),上部连接硝基甲烷精馏段,其中酸解反应器(3)用于使固体废渣中的有机肟酸盐在其中发生酸解反应,形成硝基甲烷和含盐溶液。本发明装置用于处理硝基甲烷生产中的固体废渣,可以消除固体废渣中的有机肟酸盐及其引起的有机物,得到混合盐,并可实现溶解用水的回收和循环利用。

标签:
固废
山东 - 德州 来源:中冶有色网 2023-03-19
建筑固体废弃物回收分类利用处理方法

一种建筑固体废弃物回收分类利用处理方法,步骤1:建筑固体废弃物收集装置收集建筑固体废弃物,分类筛选回收、粉碎处理。步骤2:金属和非金属筛选装置筛选金属垃圾和非金属垃圾,再利用人工进行木材垃圾和固块混凝土筛选;木材垃圾再利用木材破碎机破碎作为其他建筑辅材,将筛选出的固块混凝土再利用粉碎机进行粉碎处理得到铺路基料。步骤3:将铺路基料先利用不同粒径固块混凝土筛选装置进行分级筛选,筛选出A粒径固块混凝土和B粒径固块混凝土,备用。步骤4:制备铺路基料。步骤5:铺路,反复压实;验收。本发明得到的铺路基料的组分简单,利用建筑固体废弃物进行回收粉碎再利用,处理效率高,处理成本低,综合利用率高,值得推广。

标签:
固废
山东 - 青岛 来源:中冶有色网 2023-03-19
危险废弃物焚烧处置过程中膏状固体物料的处理方法及处理装置

本发明提供了一种危险废弃物焚烧处置过程中膏状固体物料的处理方法及处理装置,属于危险废弃物焚烧处置技术领域。所述处理方法包括如下步骤:1)将膏状物料进行封装、蒸汽水浴加热至流动态;2)将流动态物料经过滤后转入温度为50~80℃的焚烧废液釜进行搅拌处理;3)取样分析,根据物料性质,对物料依次进行固硫、固氯和pH调节;4)将调节pH后的物料过滤,将滤液转入焚烧炉中进行焚烧处理;5)将焚烧废液釜中过滤后的残余固渣和进行封装用装置进行破碎后转入焚烧炉中进行焚烧处理。本发明提供的处理方法能够有效处置危险废弃物焚烧处置过程中的膏状固体物料,解决难以处理的精馏残渣问题,从而物降低料存贮成本和作业风险。

标签:
固废
山东 - 滨州 来源:中冶有色网 2023-03-19
碳酸二甲酯生产中固体废料综合利用方法

本发明公开了碳酸二甲酯生产中固体废料综合利用方法。在固体废料中加入溶剂,按体积比1∶1.5搅拌混合均匀后,进行压滤分离,得到有机相溶液和含结晶水的碳酸钠固相物;再在温度低于70摄氏度的条件下对有机相溶液进行常压蒸馏,使溶剂得到回收;同时得到以废渣重量计约40%有机相溶液;对所得有机物进行真空蒸馏,得到以有机相计约5%碳酸二甲酯,大于85%1,2-丙二醇和1%的冰碳;对固相物进行焙烧,使结晶水挥发得按固体废渣重量计工业用碳酸钠50%。本方法克服了现有方法会造成环境污染,影响锅炉安全运行,废料中的碳酸钠、丙二醇、碳酸二甲酯也被一同烧掉,不能回收,造成浪费的缺点。具有节约能源,变废为宝的优点。

标签:
固废
山东 - 泰安 来源:中冶有色网 2023-03-19
固体废物中烷基汞的检测方法

本发明提供了一种固体废物中烷基汞的检测方法,包括以下步骤:用氢氧化钾‑甲醇溶液提取固体废物中的烷基汞,制备提取液;建立工作曲线;向提取液中加入乙酸‑乙酸钠缓冲溶液和四丙基硼化钠溶液,基于工作曲线对提取液检测烷基汞的含量;制备空白对照组溶液,检测烷基汞的含量;根据检测结果计算固体废物中烷基汞的含量。采用本发明技术方案检测时间短,杂质干扰小,检出限低,检测准确度高,试剂毒性少,且从固体废物中制备提取液的前处理过程简单,能够同时测出甲基汞和乙基汞两种成分。

标签:
固废
山东 - 济南 来源:中冶有色网 2023-03-19
以固体废锆为原料水热法制备氧化锆粉体的方法

本发明属于化工材料制备技术领域,具体涉及一种以固体废锆为原料水热法制备氧化锆粉体的方法。该方法是将固体废锆通过碱化反应得到碱化料,将碱化料先进行转型,再与硫酸反应得到碱式硫酸锆,碱式硫酸锆进一步与硫酸反应得到硫酸锆,将制得的硫酸锆制备硫酸锆溶液,再通过水热反应得到氧化锆粉体。本发明通过两步酸化反应,使得硫酸锆的纯度更高,有利于下一步的水热反应,进一步提高了氧化锆粉体中氧化锆的含量。本发明中氧化锆粉体粒径小、纯度高、分散性好、结晶度高,水热合成条件温和、工艺简单,不仅避免了固体废锆的处置难题,而且实现了固体废锆的资源化利用。

标签:
固废
山东 - 淄博 来源:中冶有色网 2023-03-19
固体危废裂解方法
固体危废裂解方法 978     
 0

本发明提供一种固体危废裂解方法,涉及裂解技术领域,该方法通过设有底座、驱动结构、驱动电机、排烟管、清洁结构的固体危废裂解设备来实现固体危废的裂解。本发明成功解决了如下技术问题:一个是,现有装置在裂解过程中容易导致物料大多集中在筒体的底部从而导致物料受热不够均匀现象;再者是,现有装置在裂解过程中物料残渣容易残留在筒体内部;再者是,在抽气过程中,硬物容易导致过滤网变形,且裂解后的漂浮残渣容易将过滤网堵塞。

标签:
固废
山东 - 青岛 来源:中冶有色网 2023-03-19
利用熔融还原工艺处理固体废弃物的方法及系统

本申请提供了一种利用熔融还原工艺处理固体废弃物的方法及系统。方法包括含铁固体废弃物混合配料制得含铁物料;含铁物料进行预热预氧化处理;预热预氧化处理后的含铁物料以压缩空气为载气喷入氧化还原炉;含碳固体废弃物以回收煤气为载气喷入氧化还原炉,含碳固体废弃物与含铁物料反应,生成铁水、一氧化碳及炉渣;高温氧气喷入氧化还原炉,高温氧气与上升气流中的可燃成分进行二次燃烧反应,二次燃烧反应产生的煤气及未参与二次燃烧反应的煤气能够回收利用。本申请公开的方法无需添加传统燃料及石灰、白云石等熔剂,采用压缩空气及回收煤气为载气输送物料,采用高温氧气为助燃剂,实现了固体废弃物资源化、规模化地综合利用。

标签:
固废
山东 - 潍坊 来源:中冶有色网 2023-03-19
球形或柱形固体危废裂解箱运载装置

本实用新型涉及一种球形或柱形固体危废裂解箱运载装置,包括变距轨道和在轨道上运行的用于运输固体危废裂解箱的行走车架,所述行走车架的两侧通过变距万向轴连接有行走轮,行走车架中部设置有中心支架,所述中心支架上设置有丝杠和驱动丝杠的驱动装置,行走轮内侧的行走车架上对称设置有一对夹紧装置,所述夹紧装置靠近中心支架的一侧连接有夹紧支架,所述夹紧支架上设置有与丝杠配合的丝套;采用这种结构的装置,夹紧装置可以将球形或柱形的固体危废裂解箱夹紧通过行走支架的运动将其从裂解装置外运输到裂解装置内,变距轨道与裂解装置内的轨道适配,方便行走支架的运动,整个装置实现了间断式裂解物料的自动化进出料,提高了效率,节省了成本。

标签:
固废
山东 - 济南 来源:中冶有色网 2023-03-19
可资源回收利用的固体废物回收处理装置

本实用新型公开了一种可资源回收利用的固体废物回收处理装置,其结构包括回收处理机和间隔落料装置,本实用新型通过设置了间歇落料装置,在驱动组件内部转块与驱动杆传动配合下,连接板可沿导杆实现移动板的左右往复移动活动,当移动板左侧开设的通口随移动与导料壳开口相对时,则可实现落料活动,当移动板左移复位时,通口内部设置的阻挡板,可实现废料的阻挡,如此往复,就可实现废料间歇掉落,从而达到了破碎固体废物间歇落料,保证吸附回收充分的优点。

标签:
固废
山东 - 济南 来源:中冶有色网 2023-03-19
喷射式有机废水中固体颗粒处理设备

本实用新型涉及一种喷射式有机废水中固体颗粒处理设备,属于废水处理技术领域,包括喂料口、絮凝室、罐体,絮凝室为直筒状,絮凝室设有絮凝剂喷射装置,罐体设有搅拌装置,搅拌装置包括安装在罐体底部的搅拌电机以及位于罐体内的搅拌圆盘,搅拌圆盘上表面垂直固定有4个条形立杆。本实用新型采用絮凝剂喷射的方法增加固体颗粒的聚集沉淀程度,也能减少絮凝剂的使用,均料板能够将增加有机废水表面积,减小流速,使絮凝剂能更好的与有机废水混合。有机废水经过絮凝室喷射后,进入罐体,相对于现有的搅拌装置,本实用新型搅拌装置位于罐体底部,罐体底部沉积的颗粒和絮凝剂在搅拌装置作用下更好的充分混合,使絮凝剂进一步发挥作用絮凝效果好。

标签:
固废
山东 - 济宁 来源:中冶有色网 2023-03-19
固体废物处理用运输装置

本实用新型公开了一种固体废物处理用运输装置,包括底板、存储箱、电动推杆、电控箱和粉碎机构,所述底板底部的四个角固定安装有万向轮,所述万向轮的后侧设有刹车杆,所述底板的一侧设有推动杆,所述底板的顶部通过第一转动座转动安装有存储箱,所述底板顶部的一侧和存储箱底部的中央之间固定安装有电动推杆,所述电动推杆通过导线与电控箱电性连接,所述存储箱底部一侧的两端固定安装有支架。本实用新型设置了电动推杆,打开第一半开门和第二半开门,然后通过电动推杆可以推动存储箱进行旋转移动,然后存储箱内部的固体废物可以滑出,无需人工把存储箱内部的固体废物排出,节省人力物力,而且提高排料效率。

标签:
固废
山东 - 济南 来源:中冶有色网 2023-03-19
畜牧养殖固体废弃物好氧发酵装置

本实用新型属于畜牧养殖固体废弃物处理装置技术领域,具体涉及一种畜牧养殖固体废弃物好氧发酵装置。包括发酵室、发酵装置、除臭装置、控制系统和供配电系统。发酵装置由多组并列的发酵单元构成,每组发酵单元均可相互独立的完成固体废弃物好氧堆肥无害化处理过程。搅拌桨转轴上设有径向拨片,从而增加堆肥物料径向流动,并能与空气充分接触,强化好氧发酵均匀性与彻底性。发酵室为密闭的箱体式结构,内部设有除臭装置。发酵室内的臭气在负压风机的作用下收集进入到离子除臭器,处理后达标后排放。使用过程安全无污染,环境友好。具有结构简单、效率高、使用维护方便的特点。

标签:
固废
山东 - 德州 来源:中冶有色网 2023-03-19
燃固体废弃物的流化床锅炉

本实用新型公开了一种燃固体废弃物的流化床锅炉,它属于流化床锅炉领域,其解决了现有技术中缺少一种固体废弃物燃尽率高,有害污染物易控制,余热利用率高的燃固体废弃物的流化床锅炉的问题。它主要包括水冷燃烧室和过热器,水冷燃烧室上方设有汽包及连通管,过热器下方设有省煤器、给水集箱、空气预热器和烟气出口接管;所述水冷燃烧室包括点火及布风装置、进料系统和分离回输装置,点火及布风装置底部连接有空气进口接管,空气进口接管上设有空气预热器,分离回输装置与过热器连接;所述汽包及连通管分别连接过热器和蒸汽出口集箱组成;所述给水集箱与顶部的省煤器连接。本实用新型主要用于固体废弃物的无害化和资源化处理。

标签:
固废
山东 - 临沂 来源:中冶有色网 2023-03-19
烷基化废酸和固体简易分离装置

一种烷基化废酸和固体简易分离装置,由固液分离器、分离板、分离槽和螺旋输送器组成,固液分离器为带有圆锥形底部的密闭式圆筒,固液分离器的底部设有烷基化废酸出口,中部侧面设有固体出口;分离板倾斜固定于固液分离器内,分离板上均布圆孔;分离槽为带有圆锥形底部的密闭式圆筒,分别设有固体进口和固体出口,其固体进口与固液分离器的固体出口相通;螺旋输送器设置于分离槽的下面,其进口与分离槽的固体出口连接,出口出料。本实用新型的优点是:该装置可以在密闭条件下,不使用其他能耗,依靠重力,实现烷基化废酸和固体的分离;设备简单、操作简便、易于实施,分离成本低、尾气排放少,有利于改善操作条件和节约生产成本。

标签:
固废
山东 - 东营 来源:中冶有色网 2023-03-19
含硅工业固体废弃物制备碱式硅酸镍催化剂的方法

一种含硅工业固体废弃物制备碱式硅酸镍催化剂的方法,属于固体废弃物资源化利用技术领域。本发明采用经过预处理的含硅工业固体废弃物为硅源,该硅基前驱体和镍基前驱体同时加入,一步水热合成三维碱式硅酸镍,克服了分步合成法步骤繁琐的缺点。本发明采用含硅工业固体废弃物为硅源,通过一步水热法制备硅酸镍材料,工艺简单,操作简便,制备周期短,无需特殊反应容器;所用的原料成本较低,实现了废弃物的高值化利用,适合批量化生产。本发明得到的碱式硅酸镍催化剂具有高比表面积、高机械强度、高活性、高稳定性、热稳定性好和成本低廉的优点,还原后适用于高温催化反应。

标签:
固废
山东 - 青岛 来源:中冶有色网 2023-03-19
多功能的固体废物综合利用设备

本发明提供一种多功能的固体废物综合利用设备,涉及固体废物领域。该多功能的固体废物综合利用设备,包括第一箱体,所述第一箱体的内部固定连接有滑杆,所述滑杆的下表面滑动连接有转动机构,所述第一箱体的右侧面固定连接有第二箱体,所述第二箱体的内底壁设置有振动机构。通过在第二箱体的内部设置振动机构与过筛机构,当一次过筛好的金属物质传送到过筛机构的表面进行再次过筛,利用振动机构,金属物质可弹动吸附在第二磁块的表面,方便对金属物质进行统一收集不易分散,通过在第一箱体的内部设置转动机构,方便在粉碎过筛出的粉末内进行转动,使第一磁块可对粉末中较小的金属物质进行吸附,使其可防止金属物质造成浪费。

标签:
固废
山东 - 济南 来源:中冶有色网 2023-03-19
固体废弃物无害化处理的垃圾焚烧炉

本实用新型公开了一种固体废弃物无害化处理的垃圾焚烧炉,涉及无害化处理技术领域,包括焚烧设备、降温设备和空气净化设备,所述空气净化设备的底部固定连接在焚烧设备的顶部,所述降温设备的一端固定连接在焚烧设备的内部,所述降温设备位于焚烧设备的侧面。本实用新型通过送风机通过通风管道向焚烧设备内注入新鲜空气,方便为焚烧作业提供充足的氧气,保证了焚烧的高效性还可以延长焚烧的持续时间,让固体废弃物得到充分的燃烧,不定形焚烧物依附在固体废弃物的表面可以扩大燃烧面积,避免新投放进来的垃圾会覆盖住正在燃烧的垃圾,空气净化设备可以防止废气排放到大气之后对环境造成污染。

标签:
固废
山东 - 济南 来源:中冶有色网 2023-03-19
利用固体废弃物制备泡沫微晶玻璃的方法

本发明公开了一种泡沫微晶玻璃的制备方法,该种泡沫微晶玻璃的制备利用了赤泥、粉煤灰和废玻璃三种固体废弃物为主要原料,此之外,在原料中还掺入了外加剂,其原料的质量百分比为:赤泥15~40%、粉煤灰20~35%、废玻璃20~30%、发泡剂4~12%、稳泡剂1~6%、助溶剂17~25%,赤泥、粉煤灰和废玻璃的掺入量占重质量的65%以上,所制备的泡沫微晶玻璃具有较优的保温、防火的性能和较优的机械性能,其密度为0.64~0.95g/cm3、导热系数为0.086~0.295w/m·k。本发明的目的是为了大量高效利用废弃物,不仅降低了泡沫微晶玻璃的生产成本,而且降低固体废弃物对环境的污染破坏,具有较好的经济和社会效益。

标签:
固废
山东 - 济南 来源:中冶有色网 2023-03-19
高效固体废物破碎装置

本实用新型涉及固体废物治理技术领域,具体地说就是一种高效固体废物破碎装置。一种高效固体废物破碎装置,包括破碎装置主体,所述的破碎装置主体包括压缩腔和破碎腔,所述的压缩腔和所述的破碎腔内部贯通连接,所述的破碎腔内设有破碎辊,所述的压缩腔内设有压缩块,所述的压缩块与所述的压缩腔活动连接,所述的压缩块一侧宽度大于所述的压缩块另一侧宽度,所述的破碎装置主体上连接有进料口和下料口。通过设置压缩腔和破碎腔,对固体废物进行高效的压缩和破碎处理,连续操作,节省时间。

标签:
固废
山东 - 淄博 来源:中冶有色网 2023-03-19
渔业固体废物污损生物处置装置

本实用新型涉及渔业固体废物清洁技术领域,且公开了一种渔业固体废物污损生物处置装置,包括L形板,L形板的外壁开设有圆孔,且圆孔的孔壁固定连接有连接筒,连接筒的内壁固定连接有密封轴承,密封轴承的内壁固定连接有金属管,金属管的外壁固定套接有转动筒,转动筒的内壁开设有空腔,空腔的腔壁开设有两个进水孔和多个出水孔,转动筒的外壁固定套接有钢丝毛刷套,转动筒的侧壁开设有固定通孔,且固定通孔的孔壁固定连接有压力阀。本实用新型能够实现自动对渔业网衣上固体废物污损生物进行处置,省时省力,不仅能够提高网衣上固体废物污损生物处置的效率和便捷性,还降低了工作人员的劳动强度。

标签:
固废
山东 - 威海 来源:中冶有色网 2023-03-19
工业固体废弃物综合处理装置

本实用新型公开了一种工业固体废弃物综合处理装置,包括粉碎箱、箱盖、挡板和回收箱,粉碎箱的下方固定连接有万向轮,箱盖通过螺母与粉碎箱活动连接,挡板的侧面固定连接有拉环,回收箱的侧面固定连接有滑块。该工业固体废弃物综合处理装置设置有粉碎箱、滤板、废料出口和回收箱,且由于定板倾斜的固定在粉碎箱内部侧壁上,所以滤板同样倾斜的放置在粉碎箱内,被粉碎完成的工业固体废物掉落到滤板上,其中小于滤孔的掉落到粉碎箱底部,而大于滤孔的会停留在滤板,在重力的牵引下通过废料出口掉落到回收箱内,然后通过滑轨与滑块将回收箱取下,将其内的工业固体废物进行回收处理,能够有效提高工业固体废弃物的回收利用效率。

标签:
固废
山东 - 济南 来源:中冶有色网 2023-03-19
固体废物中杀菌剂的检测方法

本发明公开了一种固体废物中杀菌剂的检测方法,所述的杀菌剂为多菌灵、敌草隆和百菌清,所述的检测方法包括如下步骤:S1:杀菌剂标准曲线的绘制;S2:对固体废物进行前处理;S3:待测液中杀菌剂浓度的检测。本发明的固体废物采用提取液提取可以减少干扰物(如部分脂类、色素)的提取量,提取后加入净化剂能够消除油脂色素,破乳,减少基质效应,去除假阳性结果,提高结果的准确性。离心后的液体浓缩,达到富集样品,提高灵敏度,降低检出限。

标签:
固废
山东 - 济南 来源:中冶有色网 2023-03-19
固体、液体有机废弃物处理设备

本实用新型公开了一种固体、液体有机废弃物处理设备,包括处理仓以及过滤斗,所述处理仓内设置有震动分离结构,所述过滤斗插装于震动分离结构上,所述过滤斗内设置有过滤网袋,所述处理仓的下部设置有控温加热结构,本实用新型涉及有机废弃物处理技术领域,在处理仓内设置有震动分离结构,将餐厨垃圾废弃物投入到处理仓内,通过震动分离结构将废弃物中的固体杂物与液体分离开,处理仓的下部设置有控温加热结构,可以利用控温加热结构对处理仓下部的液体油污进行加热,避免油污结垢,提高液体废弃物的流动性,从而便于将液体废弃物导出,结构简单,可靠性高。

标签:
固废
山东 - 青岛 来源:中冶有色网 2023-03-19
固体危废专用裂解箱
固体危废专用裂解箱 704     
 0

本实用新型属于危险固体废物无害化处理领域,具体涉及一种固体危废专用裂解箱,包括箱体和箱盖,箱体和箱盖活动连接所述的箱体底部至箱体至少1/3‑1/2高度处为无孔箱体,箱体其余部位和/或箱盖上设有通气孔,箱体和/或箱盖外部包覆有可裂解塑封膜。采用本实用新型可以有效避免固体危废在收集、储存、运输过程中废液的泄露、气味的扩散以及病菌的传播。并且当固体危废被送入裂解器进行裂解时,避免了二次拆包以及二次污染。

标签:
固废
山东 - 济南 来源:中冶有色网 2023-03-19
上一页 223 224 225 226 227 ... 234 下一页
共234页    到第

中冶有色为您提供最新的山东有色金属固/危废处置技术理论与应用信息,涵盖发明专利、权利要求、说明书、技术领域、背景技术、实用新型内容及具体实施方式等有色技术内容。打造最具专业性的有色金属技术理论与应用平台!

全国热门有色金属设备推荐
展开更多 +
全国热门有色金属技术推荐
展开更多 +

 

江西省隆恩特环保设备有限公司
宣传

报名参会
更多+

报告下载

有色专家
更多+

矿冶科技集团
中国工程院院士
重庆理工大学
教授
北京航空航天大学、中国工程院
院士
长沙有色冶金设计研究院有限公司
正高级工程师/中国铝业首席工程师/全国有色金属行业设计大师/国家注册采矿工程师
中铝科学技术研究院有限公司
董事长
赤泥综合利用研究报告2025
推广

热门技术
更多+

推荐企业
更多+

福建省金龙稀土股份有限公司
宣传

发布

在线客服

公众号

电话

顶部
咨询电话:
010-88793500-807