青岛垚鑫智能科技有限公司
宣传

位置:北方有色 >

有色技术频道 >

分类:
全部
矿山技术
冶金技术
材料制备及加工技术
环境保护技术
分析检测技术
 
全部
功能材料技术
复合材料技术
新能源材料技术
合金材料技术
加工技术
地区:
全部
北京
天津
上海
重庆
河北
山西
辽宁
吉林
黑龙江
江苏
浙江
安徽
福建
江西
山东
河南
湖北
湖南
广东
海南
四川
贵州
云南
陕西
甘肃
青海
内蒙
广西
西藏
宁夏
新疆
其他
其他
展开
 
全部
南京
无锡
徐州
常州
苏州
南通
连云港
淮安
盐城
扬州
镇江
泰州
宿迁

江苏徐州有色金属材料制备及加工技术理论与应用

免费发布技术信息>>
锂电池外壳压合装置
锂电池外壳压合装置 1156     
 0

本实用新型公开了一种锂电池外壳压合装置,包括底座,所述底座的顶部四角分别固定连接有支撑柱,四个所述支撑柱的顶部固定连接有顶板,所述顶板的底部正中设置有液压推杆,所述液压推杆的底部固定连接有压合块,所述压合块的底部贴合设置有压合底板,所述底座的上表面右端中部壁体开设有矩形卡槽,所述矩形卡槽的内腔插设有承托板。该锂电池外壳压合装置,通过设置的电动推杆、顶出块、承托板、限位侧板、拉槽的相互配合可以方便对压合后的治具推出取下,操作方便,提高了工作效率,增加了便捷性,通过设置橡胶层可在对治具进行夹紧时对其起到缓冲保护的作用,避免了刚性接触对治具造成磨损。

标签:
加工技术
江苏 - 徐州 来源:北方有色网 2023-03-18
车载锂电池安全型阻燃保护外壳

本实用新型涉及锂电池保护技术领域,且公开了一种车载锂电池安全型阻燃保护外壳,包括保护外壳,所述保护外壳的内壁并位于靠近顶部的位置开设有连接卡槽,连接卡槽的内部卡接固定有密封挡板。设置排气管、排气开口、活动开口、密封块、密封垫和辅助排气开口,将排气管位于保护外壳外侧的一端与真空泵进行连通,真空泵向左进行吸气,保护外壳内部的气体由排气开口向左移动推密封块,密封块向左移动至活动开口的最左端,空气由辅助排气开口流至左侧的排气开口内并被真空泵吸离排气管,保护外壳内部气体吸完后,真空泵停止工作,密封块在空气的推动下向右移动,通过密封块与密封垫之间的配合对排气开口进行封堵,使保护外壳内部处于真空状态,从而达到阻燃的目的。

标签:
加工技术
江苏 - 徐州 来源:北方有色网 2023-03-18
便于拆卸的锂电池模块组

本实用新型公开了一种便于拆卸的锂电池模块组,包括:壳体、活动盖、两对结构相同的连接杆、旋钮、旋转柱、轴承、一对结构相同的主动伞齿轮、一对结构相同的从动伞齿轮、支座、一对结构相同的弹性件、推动板以及电磁铁,所述活动盖位于壳体上方,两对所述连接杆底端分别安装于壳体左右两侧,且与其活动连接,两对所述连接杆顶端分别安装于活动盖左右两侧,且与其活动连接,所述旋钮安装于壳体前端,且位于其右侧,一对所述弹性件嵌装于支座内,所述推动板位于壳体内部,且安装于弹性件上,本实用新型涉及锂电池加工辅助设备技术领域,该装置设计合理,使用方法简单便于操作,方便拆卸与安装。

标签:
加工技术
江苏 - 徐州 来源:北方有色网 2023-03-18
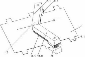
锂电池极片去粉尘装置

一种锂电池极片去粉尘装置,锂电池极片去粉尘装置,包括极片(1)以及设置在极片(1)上下侧的上毛刷(2)、下毛刷(3),其特征在于,所述的上毛刷(2)、下毛刷(3)在极片上下侧的位置相适配,上毛刷(2)、下毛刷(3)的形状相同,均由毛刷杆Ⅰ(2.1)、毛刷杆Ⅱ(2.2)、极耳保护装置(2.3)以及设置在毛刷杆Ⅰ(2.1)、毛刷杆Ⅱ(2.2)内侧的刷毛(2.4)构成,所述的毛刷杆Ⅰ(2.1)、毛刷杆Ⅱ(2.2)之间的夹角为120‑150°,极耳保护装置(2.3)设置在毛刷杆Ⅰ(2.1)、毛刷杆Ⅱ(2.2)的外端部的左右两侧,本实用新型结构简单,既能够有效去除极片上的粉尘,又能保护极耳不被褶皱。

标签:
加工技术
江苏 - 徐州 来源:北方有色网 2023-03-18
锂电池保护板省电电路

本实用新型公开了一种锂电池保护板省电电路,包括信号合成和电源开关两级电路,信号合成电路由电阻R1、电阻R2、三极管Q1、三极管Q2、三极管Q3、二极管D1、二极管D2和二极管D3组成,电源开关电路由电阻R3、三极管Q4和PMOS管Q5组成;当充电回路或放电回路接通后,省电电路启动,给电源模块供电;单片机开始工作,给本省电电路送出锁定信号,保护板工作。当充电电路或放电电路断开后,单片机给本省电电路送出解锁信号,本省电电路关闭,保护板停止工作,锂电池组零电流输出。最终达到减少电能的损失的目的,方便用户使用。

标签:
加工技术
江苏 - 徐州 来源:北方有色网 2023-03-18
带真空室的静态磷酸铁锂气氛保护自动烧结窑炉

本实用新型涉及一种自动烧结窑炉,具体涉及一种带真空室的静态磷酸铁锂气氛保护自动烧结窑炉,属于磷酸铁锂制造技术领域。所述的烧结窑炉包括有炉体,炉体上有主推油缸,通过螺丝固定在机架上,所述的主推油缸的油缸推头伸入至密闭的进料室,进料室通过法兰与真空室连接;所述的真空室主体为圆形,真空室内部设有置物台,真空室两端各有一个圆形法兰式外凸门,真空室上方分别固定安装有氮气缓冲罐和真空缓冲罐,所述的氮气缓冲罐和真空缓冲罐分别利用中空的管道连接到真空室内部。该结构的烧结窑炉能有效去除物料内部吸附氧,降低能耗和劳动强度,提高产能和产品质量。

标签:
加工技术
江苏 - 徐州 来源:北方有色网 2023-03-18
回收废旧锂离子电池用低温环保炭化装置

本发明提供一种回收废旧锂离子电池用低温环保炭化装置,涉及固废回收领域。该回收废旧锂离子电池用低温环保炭化装置,包括基座,所述基座的上表面固定连接有加热炉体,所述加热炉体的一侧固定连接有进料密封箱,所述加热炉体的内部且靠近进料密封箱的一端固定连接有炉管内螺旋,所述炉管内螺旋远离进料密封箱的一端设置有螺旋挡圈,所述加热炉体的内部且位于炉管内螺旋的一侧设置有旋转焙烧主体。通过合理的结构设计,使得装置热能利用率更高,且控温更加精准,进出料口采用物料堆积密封方式,可有效控制设备内部含氧量,减少铜铝的氧化度,进而极大的提高有价值物质的回收率,对无用的有机物质进行炭化处理,减少了有害物质的产生。

标签:
加工技术
江苏 - 徐州 来源:北方有色网 2023-03-18
锂电池生产用原料多层过滤设备

本实用新型公开了一种锂电池生产用原料多层过滤设备,包括过滤设备本体,过滤设备本体的内部固定安装有两个过滤架,其中一个过滤架的内部固定安装有第一过滤网,另外一个过滤架的内部固定安装有第二过滤网,过滤设备本体内部的底端固定安装有电机,电机的输出轴传动连接有转动柱,转动柱的一端部活动套设有两个挡板,本实用新型一种锂电池生产用原料多层过滤设备,通过设置了转动柱、连接柱、延展柱、钢球、活动架和安装板,电机的输出轴与转动柱的底端传动连接,可以有效的对堵塞在第一过滤网和第二过滤网表面的原料进行摩擦,原料将在摩擦中与孔径相分离,避免了原料长时间堵塞在孔径的表面而降低过滤的质量。

标签:
加工技术
江苏 - 徐州 来源:北方有色网 2023-03-18
基于极片表面三维形貌的锂离子电池性能表征方法

本申请提供一种基于极片表面三维形貌的锂离子电池性能表征方法,包括以下步骤:在电池极片上选取采样区域;对采样区域进行拍摄,得到三维图像;通过三维图像得到表面数据;确定极片的基准偏斜面,获取基准偏斜面的基准面数据;将表面数据与基准面数据作差,得到差值数据;获取差值数据的计算参数,计算参数用于表征极片表面的粗糙程度;选取多个采样区域,判断多次得到的计算参数是否落在设定区间内,落在设定区间内表征电池性能较好,落在设定区间外表征电池性能较差。本申请提供的一种基于极片表面三维形貌的锂离子电池性能表征方法根据电池衰退前后极片表面的形貌变化判断电池的性能,为电池寿命衰减研究提供新的思路。

标签:
加工技术
江苏 - 徐州 来源:北方有色网 2023-03-18
锂电池生产用石墨干燥设备

本发明公开了一种锂电池生产用石墨干燥设备,具体涉及锂电池生产技术领域,包括箱体,所述箱体顶端固定设有电机,所述电机输出轴底端延伸入箱体内部,所述箱体内部设有竖杆,所述竖杆底端通过轴承与箱体内部底端连接,所述电机输出轴底端与竖杆顶端固定连接,所述竖杆外端固定设有多个搅拌片,所述箱体顶端镶嵌有两个热风机,所述箱体内部对称设有两个干燥灯,竖杆设在两个干燥灯之间,两个所述干燥灯顶端均固定设有两个支撑柱,四个所述支撑柱顶端均与箱体内部顶端固定连接,两个所述干燥灯底端均固定设有第二滤网,两个所述第二滤网均设在搅拌片顶部。本发明干燥石墨的效果好,石墨中的水分蒸发快,降低加工成本。

标签:
加工技术
江苏 - 徐州 来源:北方有色网 2023-03-18
用于锂电池储能设备充放电测试的装置

本实用新型公开一种用于锂电池储能设备充放电测试的装置,涉及锂电池充放电检测技术领域。本实用新型包括PC端和检测电路;PC端将控制指令传递到检测电路;检测电路将采集的电路信息反馈到PC端;PC端依靠人机交互界面完成数据的显示和输入;检测电路包括控制模块,控制模块连接双向DC‑DC变换器,双向DC‑DC变换器包括MOSFET驱动电路,MOSFET驱动电路连接主功率电路,主功率电路连接电压电流采集电路,MOSFET驱动电路和电压电流采集电路与控制模块连接,此外检测电路包含有一辅助电源,为控制电路以及MOSFET驱动电路供电。该电路简洁可靠,体积小,重量轻,易于实现,能用于大规模的电池检测。

标签:
加工技术
江苏 - 徐州 来源:北方有色网 2023-03-18
用于锂电池托盘的拉簧复位卡爪式叠放装置

本实用新型公开了一种用于锂电池托盘的拉簧复位卡爪式叠放装置,包括主传送带(1)、步进电机(2)、可移动横梁(4)、拉簧复位卡爪(5)和丝杠导杆(6);所述的步进电机(2)通过联轴器(3)带动丝杠导杆(6)转动,丝杠导杆(6)上端连接并带动可移动横梁(4)上下移动;所述可移动横梁(4)内侧通过连接块(7)连接拉簧复位卡爪(5);拉簧复位卡爪(5)包括复位卡爪(5-1)和拉簧(5-2),所述的拉簧(5-2)一端连接复位卡爪(5-1)底部、另一端连接至连接块(7)下部以提供预紧力;本实用新型其依靠拉簧复位卡爪的拉簧牵拉作用,可用于连续动作、设备状态稳定、安全环保要求较高的锂电池自动化线。

标签:
加工技术
江苏 - 徐州 来源:北方有色网 2023-03-18
锂电池壳烘干装置
锂电池壳烘干装置 745     
 0

本实用新型公开了一种锂电池壳烘干装置,涉及锂电池材料烘干技术领域。本实用新型包括箱体,所述箱体的一侧开设有保温腔,箱体内部底壁的中部固定连接有旋转底座,旋转底座的顶部转动连接有转轴,转轴上固定连接有若干转盘,箱体顶部的中间贯穿有旋转电机,旋转电机的活动轴与转轴固定连接,箱体的顶部一侧固定连接有单向阀,单向阀通过管道与保温腔固定连接,箱体内部一侧滑动连接有干燥剂支架,箱体的两侧内壁上均固定连接有发热管。本实用新型通过旋转电机、转盘、发热管等配合使锂电池外表水分充分蒸发,受热蒸发的水分穿过透气孔,被干燥剂支架上的干燥剂吸附干燥,使装置干燥效果有了很大的提高。

标签:
加工技术
江苏 - 徐州 来源:北方有色网 2023-03-18
磷酸铁锂生产用多级振动筛

本实用新型涉及磷酸铁锂生产技术领域,具体地说,涉及一种磷酸铁锂生产用多级振动筛,包括振动筛主体,振动筛主体上端开设进料口,振动筛主体一侧开设第一出料口和第二出料口,振动筛主体内部设置若干筛板,筛板之间设置防堵装置,防堵装置设有电机,电机的输出端与穿过振动筛主体侧壁的转轴相连,转轴一端连接凸轮,凸轮外侧设置矩形框,矩形框长度与凸轮长度相匹配,矩形框顶端设有第一锤体,第一锤体套接于第一固定杆上,矩形框底端设有第二锤体,第二锤体套接与第二固定杆上,第一固定杆和第二固定杆均固定连接于振动筛主体内壁上,本实用新型,通过第一锤体和第二锤体间歇性的捶打筛板,将堵在筛板孔内的磷酸铁锂锤下,提高筛选的效率。

标签:
加工技术
江苏 - 徐州 来源:北方有色网 2023-03-18
磷酸铁锂烧结过程用上下料装置

本实用新型涉及一种上下料装置,具体地说,涉及一种磷酸铁锂烧结过程用上下料装置。其包括烧结炉和设置于烧结炉一侧的上料装置,拉力弹簧上料装置包括间歇机构,拉力弹簧间歇机构的一侧设有转动机构。本实用新型设计将磷酸铁锂原料放入承载桶内部后,驱动装置带动转动盘和间歇杆转动,间歇杆带动间歇盘间歇转动,间歇盘通过齿轮组带动拨块和转动架间歇转动,当间歇盘转动一次,承载桶移动至烧结炉上方,此时卡块和滑杆完成卡接,同时拨块转动使挡块移动,挡块通过主动杆、转动齿轮、带动杆和卡块带动滑杆和封闭盘接除对承载桶的封闭,磷酸铁锂原料完成自动落到烧结炉上,不需要人工操作,避免人员伤亡。

标签:
加工技术
江苏 - 徐州 来源:北方有色网 2023-03-18
基于磷酸铁锂电池的荷电状态估算方法

本发明公开了一种基于磷酸铁锂电池的荷电状态估算方法,包括以下步骤:建立锂离子电池的二阶RC等效电路模型;获取电池模型状态空间方程;双卡尔曼滤波更新欧姆内阻;使用梯度下降法更新融合算法中的滑模观测器增益;使用融合双卡尔曼滤波算法的滑模观测器算法进行状态变量最优估计值的更新,加入独立的补偿增益环节提高算法的收敛速度。本发明通过在滑模观测器算法中融合双卡尔曼滤波算法,能够降低算法对于模型的依赖程度,提高算法鲁棒性。

标签:
加工技术
江苏 - 徐州 来源:北方有色网 2023-03-18
锂硫电池正极复合材料及其制备方法

本发明公开了一种锂硫电池正极复合材料,该正极复合材料包含单质硫和碳包覆氮化铌纳米线,其中碳包覆氮化铌纳米线为载体材料,单质硫含量为65%~75%。本发明还公开了该正极复合材料的制备方法,包括以下步骤:(1)利用铌粉制备铌酸钠纳米线;(2)将铌酸钠纳米线质子化,得到铌酸纳米线;(3)将铌酸纳米线和碳材料混合,制备碳包覆铌酸纳米线;(4)在氨气下将碳包覆铌酸纳米线进行热处理,得到碳包覆氮化铌纳米线;(5)利用高温固态熔融法制得以碳包覆氮化铌纳米线为载体材料的锂硫电池正极复合材料。该正极复合材料能够吸附固定多硫化物,抑制其穿梭效应,加快多硫化物氧化还原过程,防止中间产物的堆积,提高了电极寿命及电池的容量保持率。

标签:
加工技术
江苏 - 徐州 来源:北方有色网 2023-03-18
锂离子电池负极材料高熵氧化物的制备方法

本发明公开了一种锂离子电池负极材料高熵氧化物的制备方法,包括以下步骤:S1:称量摩尔比为0.5:1:1:0.5:1的Fe2O3、ZnO、NiO、Cr2O3和MnO2的五种原料,搅拌均匀;S2:装入球磨罐后再加入辅助剂,进行球磨;S3:对球磨后所得的混合粉末进行干燥,而后通入空气或者纯氧气进行高温热处理,得到所需的(FeNiCrMnZn)3O4高熵氧化物电极材料,其中干燥温度为40‑90℃,时间为6‑24 h,热处理温度为850‑1050℃,保温时间为7‑50 h,升温速率为0.1‑10℃/min。本发明制备方法所得锂离子电池负极材料(FeNiCrMnZn)3O4高熵氧化物为纯相,颗粒形貌较为均匀,材料性能更加稳定,具有很高的比容量以及很好的循环稳定性,有显著的经济价值,制备方法流程短,操作简单,适用性广,适宜于工业化生产。

标签:
加工技术
江苏 - 徐州 来源:北方有色网 2023-03-18
带真空室的静态磷酸铁锂气氛保护自动烧结窑炉

本发明涉及一种自动烧结窑炉,具体涉及一种带真空室的静态磷酸铁锂气氛保护自动烧结窑炉,属于磷酸铁锂制造技术领域。所述的烧结窑炉包括有炉体,炉体上有主推油缸,通过螺丝固定在机架上,所述的主推油缸的油缸推头伸入至密闭的进料室,进料室通过法兰与真空室连接;所述的真空室主体为圆形,真空室内部设有置物台,真空室两端各有一个圆形法兰式外凸门,真空室上方分别固定安装有氮气缓冲罐和真空缓冲罐,所述的氮气缓冲罐和真空缓冲罐分别利用中空的管道连接到真空室内部。该结构的烧结窑炉能有效去除物料内部吸附氧,降低能耗和劳动强度,提高产能和产品质量。

标签:
加工技术
江苏 - 徐州 来源:北方有色网 2023-03-18
汽车锂电池箱自动探测灭火装置

汽车锂电池箱自动探测灭火装置,由灭火剂储存容器、容器阀、集流管、灭火剂、压力信号传感器、灭火剂输送及火灾探测管、装置外壳组成,其特征是灭火剂储存在灭火剂储存容器中,容器阀安装在储存容器上,集流管连接在容器阀上,灭火剂输送及火灾探测管连接在集流管上,灭火剂输送及火灾探测管敷设在锂离子电池上方电池箱内壁上,压力信号传感器安装在灭火剂输送及火灾探测管上,装置安装调试完成后,打开容器阀开关,并保持系统压力,使装置处于运行状态,当发生火灾时,灭火剂输送及火灾探测管受到高温灼烧而破裂,灭火剂喷出灭火,压力信号传感器检测到系统压力变化并将该信号传到主机处,联动切断电源并显示发生火灾,提示人员进行处理。

标签:
加工技术
江苏 - 徐州 来源:北方有色网 2023-03-18
太阳能锂电池智能语音森林防火系统

本实用新型公开了一种太阳能锂电池智能语音森林防火系统,包括立柱,所述立柱的顶端固定连接有太阳能电池板,所述太阳能电池板的底部表面固定连接有锂电池一体机,所述立柱的顶端一侧固定连接有监控摄像头,所述立柱的顶端另一侧固定连接有信号接收发射天线,所述立柱的前端外壁固定连接有设备箱,所述设备箱的两侧外部均固定连接有警示灯,所述立柱的底部表面固定连接有固定底座,所述固定底座的底部两侧均开设有方槽,所述方槽的顶部内壁开设有滑槽,所述方槽的内部设置有活动底座;通过设计的活动底座,活动底座通过顶部滑轨沿滑槽横向展开,活动底座扩展了固定底座的接地面积,森林防火系统其设备安装更加稳定、安全。

标签:
加工技术
江苏 - 徐州 来源:北方有色网 2023-03-18
合成锂离子动力电池高容量负极材料的方法

一种合成锂离子动力电池高容量负极材料的方法,以正硅酸乙酯、环氧树脂、乙醇、氯化镁为原料,将正硅酸乙酯均匀溶解于乙醇溶液中,然后将氯化镁溶液按一定比例加入,高速搅拌并同时滴加氨水,最后加入环氧树脂并完全溶解,在一定温度下干燥处理,在真空条件下经过高温碳化还原得到理想的硅碳负极材料。该产物包覆均匀,并具有良好的导电性,环氧树脂裂解碳可以在真空条件下还原氯化镁水解所生成的氧化镁,还原后的纳米镁粒子进而可以将正硅酸乙酯分解生成SiO2还原为纳米硅,被镁还原后纳米硅均匀分布于环氧树脂裂解碳中,极大程度的提高了硅碳复合材料的电化学性能。具有纳米硅粒度超细,还原充分、工艺条件简单、电化学性能优良等优点。

标签:
加工技术
江苏 - 徐州 来源:北方有色网 2023-03-18
复合型锂离子电池负极材料

本发明公开了一种复合型锂离子电池负极材料,以氧化锌,氯化铁,炭黑等原料通过微波处理,偶联处理,磁力搅拌等合成复合型碳包覆纳米级Zn‑Fe3O4的锂离子电池负极。

标签:
加工技术
江苏 - 徐州 来源:北方有色网 2023-03-18
太阳能锂电池环境监测系统

本实用新型公开了一种太阳能锂电池环境监测系统,包括竖杆和固定机构,所述竖杆的顶端固定连接有太阳能电池板,所述太阳能电池板的底部固定连接有锂电池一体机,所述竖杆的顶端两侧均开设有收纳槽,所述收纳槽的内部设置有横档,所述一侧横档的外端固定连接有风向传感器,所述另一侧横档的外端固定连接有风速传感器,所述横档的顶端固定连接有百叶盒,所述横档的内端与收纳槽的内壁固定连接有铰链,所述横档的内端表面开设有圆槽,所述固定机构包括定位柱,所述定位柱安装在圆槽的内部;通过设计的收纳槽、横档和定位柱,横档收纳在竖杆的收纳槽内部,横档通过铰链展开并通过定位柱与竖杆水平固定,便于环境监测系统各元件安装固定。

标签:
加工技术
江苏 - 徐州 来源:北方有色网 2023-03-18
用于锂电池加工用的固定夹持装置

本实用新型属于锂电池技术领域,尤其为一种用于锂电池加工用的固定夹持装置,包括底板,所述底板的表面设置有挡板,所述挡板的内部设置有工作板,所述工作板的表面设置有夹持箱,所述夹持箱的内部设置有夹持装置,所述夹持箱的顶部设置有箱盖。通过设置的电机工作,使电机通过转动轴带动双向螺纹杆进行转动,然后使双向螺纹杆带动夹持机构进行运动,从而省去了人力进行操作,大大提升了工作的效率,而当电动装置不能使用时,将第二手柄一端的一字凸块插入到一字槽的内部,然后转动第一固定块,使第一固定块带动双向螺纹杆进行转动,从而使双向螺纹杆带动夹持装置,这样多样的进行使用,大大增加了使用的便利性,减少不必要的麻烦。

标签:
加工技术
江苏 - 徐州 来源:北方有色网 2023-03-18
具有分层结构的锂电池存放装置

本实用新型公开了一种具有分层结构的锂电池存放装置,包括存放箱,存放箱的内腔底部设置有底板,底板的顶部固定连接有若干块第一隔板,每相邻两块第一隔板之间均形成有第一隔间,底板的上方设置有分层板,分层板的顶部固定连接有若干块第二隔板,每相邻两块第二隔板之间均形成有第二隔间,存放箱的顶部设置有箱盖,箱盖的顶部固定连接有把手,其底部两侧均固定连接有侧块,侧块上开设有若干个螺纹孔,每个螺纹孔内均螺纹连接有螺栓,存放箱的底部固定连接有若干根第一弹簧,第一弹簧的底端固定连接有定位板。本实用新型具有分层结构设计,可充分利用内部空间,并且稳定性高,锂电池不易发生晃动和碰撞等特点。

标签:
加工技术
江苏 - 徐州 来源:北方有色网 2023-03-18
锂电池加工用电极烘烤装置

本实用新型公开了一种锂电池加工用电极烘烤装置,涉及锂电池加工技术领域,包括外壳,所述外壳的左侧安装有电机,所述外壳的左侧内壁固定连接有卡槽,所述卡槽的内部滑动连接有滑动支架,所述滑动支架设置为“日”字形,所述滑动支架的内部转动连接有传动齿轮,所述电机的输出端传动连接有驱动齿轮。本实用新型在使用时,电极位于转动网筒的内部,然后启动电机,电机通过驱动齿轮带动传动齿轮转动,传动齿轮通过传动轴带动转动网筒转动,从而使得电极不断翻动,电极烘干更加均匀,提高产品质量,烘干完成后,打开侧板,拉动把手即可将转动网筒拉出外壳,打开盖板即可方便取出电极,使用起来更加方便,提高生产效率。

标签:
加工技术
江苏 - 徐州 来源:北方有色网 2023-03-18
高效的锂电池烘干设备
高效的锂电池烘干设备 1126     
 0

本实用新型公开了一种高效的锂电池烘干设备,包括箱体,所述箱体的表面设有箱门,且箱体的底部四角位置固定连接的有支撑柱,所述箱体的内壁固定连接的有连接块,所述连接块的内侧表面固定连接的有紫外线灯,所述箱体的内壁固定连接的有伸缩杆,且伸缩杆的表面设有弹簧,所述伸缩杆的内侧表面固定连接的有放置盒。本实用新型中,通过伺服电机和震动电机,解决了现有的锂电池烘干设备不能够使产品的表面均匀受热,使设备的工作时间变长,影响加工效率问题,通过启动电热丝和伺服电机,伺服电机带动扇叶转动,吹出热风,通过连接管和连接弯管输送到箱体内部,对产品进行烘干,启动震动电机,震动电机带动放置盒震动,提高了烘干效率。

标签:
加工技术
江苏 - 徐州 来源:北方有色网 2023-03-18
用于锂离子电池的相变导热材料及制备方法

本发明公开了一种用于锂离子电池的相变导热材料及制备方法,相变导热材料由以下质量百分比的原料制备得到:低熔点有机物烷烃40~60%,导热填充材料15‑30%,阻燃剂10‑20%,余量为着色剂。经导热填充材料干燥、球磨分散、低熔点有机物烷烃融化后混合制备。本发明提供的相变导热材料熔点低,可控制在20~30℃;当温度低于20℃时,材料导热系数小,低于0.1W/mK;温度高于30℃时,材料导热系数高,大于0.8W/mK;本发明制得的材料为电绝缘体,阻燃级别在V‑2以上,具有很强的阻燃性,用于锂离子电池中可实现高效的热管理。本发明制备方法简单,操作容易,生产成本低,值得大力推广。

标签:
加工技术
江苏 - 徐州 来源:北方有色网 2023-03-18
SnS<Sub>2</Sub>/HNTs复合锂离子电池的制备方法

本发明公开了一种SnS2/HNTs复合锂离子电池制备方法,包括以下步骤:称取0.4g的SnS2/HNTs复合负极材料与0.05g聚偏氟乙烯混合,滴入N‑甲基吡咯烷酮,搅拌混合均匀成浆,将浆料均匀涂覆于铜箔上,真空干燥,冲成直径为14mm的圆形负极极片,真空干燥,在充满氩气的手套箱中组装成电池,电池以锂片作为对电极,隔膜使用Celgard2400聚丙烯隔膜,电解液为1mol/l LiPF6融入碳酸乙烯酯EC/碳酸二甲酯DMC/碳酸二乙酯EMC溶液,滴加电解液至刚好充分浸润隔膜、正极、负极。

标签:
加工技术
江苏 - 徐州 来源:北方有色网 2023-03-18
上一页 19 20 21 22 23 ... 79 下一页
共79页    到第

北方有色为您提供最新的江苏徐州有色金属材料制备及加工技术理论与应用信息,涵盖发明专利、权利要求、说明书、技术领域、背景技术、实用新型内容及具体实施方式等有色技术内容。打造最具专业性的有色金属技术理论与应用平台!

全国热门有色金属设备推荐
展开更多 +
全国热门有色金属技术推荐
展开更多 +

 

江西省隆恩特环保设备有限公司
宣传

报名参会
更多+

报告下载

有色专家
更多+

武汉科技大学
校学术委员会主任 / 教授
长沙矿冶研究院有限责任公司
中国工程院院士
紫金矿业信息化研发中心
副总经理
湖南科技大学
所长/教授
广东省科学院工业分析检测中心
副主任
赤泥综合利用研究报告2025
推广

热门技术
更多+

推荐企业
更多+

福建省金龙稀土股份有限公司
宣传

发布

在线客服

公众号

电话

顶部
咨询电话:
010-88793500-807