青岛垚鑫智能科技有限公司
宣传

位置:中冶有色 >

有色技术频道 >

> 复合材料技术

分类:
全部
矿山技术
冶金技术
材料制备及加工技术
环境保护技术
分析检测技术
 
全部
功能材料技术
复合材料技术
新能源材料技术
合金材料技术
加工技术
地区:
全部
北京
天津
上海
重庆
河北
山西
辽宁
吉林
黑龙江
江苏
浙江
安徽
福建
江西
山东
河南
湖北
湖南
广东
海南
四川
贵州
云南
陕西
甘肃
青海
内蒙
广西
西藏
宁夏
新疆
其他
其他
展开
 
全部
长春
吉林
四平
辽源
通化
白山
松原
白城
延边朝鲜族自治州

吉林长春有色金属复合材料技术理论与应用

免费发布技术信息>>
薄膜穿孔板复合材料
薄膜穿孔板复合材料 1031     
 0

本发明公开了一种薄膜穿孔板复合材料,包括多孔材料和穿孔板,所述多孔材料设置有空腔,所述穿孔板覆盖于所述空腔顶部,并通过胶黏剂与所述多孔材料固定。本发明通过结合多孔吸声材料和共振吸声材料的吸声特性,改进了吸声材料的吸声性能,在全频域具有优异的吸声效果。

标签:
复合材料
吉林 - 长春 来源:中冶有色网 2023-03-18
量子点/聚芳醚酮纳米复合材料及其制备方法

本发明公开了一种量子点/聚芳醚酮纳米复合材料及其制备方法,属于纳米纤维技术领域。首先采用酚酞啉单体与4,4二氟二苯酮单体通过缩聚反应,制备了一种线性的苯羧基侧基聚芳醚酮。线性的苯羧基侧基聚芳醚酮材料本身是一种优良的耐酸碱、耐腐蚀、热稳定的特种塑料,我们将其与一种溶液形式的量子点即CdS/超支化聚芳醚酮混合,通过静电纺丝技术形成一种纤维膜材料。这种膜兼具量子点的高荧光性能与线性聚合物的稳定的特点,在静电纺丝条件下量子点又得以均匀分散,得到的是一种可用于光电器件的膜材料。这种掺入量子点的膜相对于没有掺入量子点的膜来说,荧光强度和热稳定性都有了大大的提高。

标签:
复合材料
吉林 - 长春 来源:中冶有色网 2023-03-18
生物基复合材料车载杯托

本发明公开了一种生物基复合材料车载杯托,包括:环形杯体,环形杯体的外壁用于和车辆上的预留空间的内壁过盈连接,环形杯体的内壁用于和容器的外壁过盈连接,环形杯体上设有多个沿其圆周方向分布的第一类三角形通孔,其底边外折、顶点位于环形杯体的外壁上、底角依次首尾相连,相邻的第一类三角形通孔之间设有底边内折的第二类三角形通孔,全部内折的底边构成环形杯体的外壁,环形杯体上还设有和第一类三角形通孔的底边共边的第三类三角形通孔,其顶点位于环形杯体的内壁上、底角依次首尾相连。相对于传统杯托,可以依靠环形杯体的变形来提高加持力,无需额外的夹持机构来夹持容器,也无需额外的固定装置来固定杯托,因此结构简单,使用方便。

标签:
复合材料
吉林 - 长春 来源:中冶有色网 2023-03-18
具有气泡吸附功能的室温硫化硅橡胶石墨烯仿生防污复合材料

本发明公开了一种具有气泡吸附功能的室温硫化硅橡胶石墨烯防污复合材料,本发明采用硅橡胶作为主要材料,它具有低表面能、低弹性模量和疏水的特点,本身就可以有一定的防污特性。以自然生物槐叶萍和肉质软珊瑚的结构及特性为灵感,制作出具备在水下吸附气泡功能防污材料,通过气泡作为材料和细菌间的屏障,可以有效的加强防污作用,从而阻止表面生物膜的形成,那么也就很大程度上降低了进一步的生物污染的可能。在硅橡胶原料的基础上掺杂石墨烯,增加了电负性,使得进一步降低了细菌的附着。本发明通过物理方式防污对其他海洋生物无毒副作用;室温硫化硅橡胶材料成本低、易获取、耐久性高;为海洋防污领域开辟了新方法。

标签:
复合材料
吉林 - 长春 来源:中冶有色网 2023-03-18
公路路基用粉煤灰土复合材料及其制备方法

一种公路路基用粉煤灰土复合材料,其特征在于它是由粉煤灰、土、聚丙烯纤维混合组成,工艺方法简单可靠,保证粉煤灰土混合料良好的抗冻性能,掺入了聚丙烯纤维的粉煤灰土的无侧限抗压强度比纯粉煤灰土要高,是其强度的1.26~1.74倍。本发明根据季冻区路基冻害机理和结构形式特点,采用抗冻融性好、强度高、价格低廉、环保的新型材料作为路基填料,不但具有理论指导意义,而且对解决工程难题具有直接的现实意义。

标签:
复合材料
吉林 - 长春 来源:中冶有色网 2023-03-18
变刚度复合材料板簧
变刚度复合材料板簧 821     
 0

本实用新型公开了一种变刚度复合材料板簧,包括:主簧,其为圆弧形结构;连接块,其一侧可拆卸的连接在所述主簧一侧表面的中间位置;副簧,其为弧形结构,且所述副簧一侧表面的中间位置连接在所述连接块另一侧;其中,所述副簧的中间位置向下延伸,形成凹面部,所述凹面部与所述连接块匹配设置;下夹板,其设置在所述副簧底部的中间位置;其中,所述下夹板顶部开设有凹槽,底部设置有凸起,所述凹槽与所述凹面部的底部匹配设置。通过主簧与副簧配合,能够在承受载荷时提供更大的刚度和强度,同时通过连接块与主簧和副簧可拆卸连接,防止在副簧上打孔,提高板簧的使用寿命。

标签:
复合材料
吉林 - 长春 来源:中冶有色网 2023-03-18
生物质富氢高能燃气联产纳米二氧化硅复合材料的方法

生物质富氢高能燃气联产纳米二氧化硅复合材料的方法,具体包括催化剂浸渍处理,脱水固炭减少焦油含量;催化蒸汽热解;在催化剂作用下,热解炭与焦油蒸汽重整、水煤气反应,生产富氢高能燃气;酸水洗残渣,干燥,气流粉碎机粉碎分级;经氧化、活化制备单分散活性纳米二氧化硅/炭粉体;用稀氨水分散,与天然乳胶溶液高搅混合,共沉淀制备纳米二氧化硅/炭/天然乳胶母料。本发明以生物质和水为原料,通过催化剂浸渍,催化蒸汽热解、催化蒸汽重整、催化水煤气反应,充分利用水中的氢制备富氢的高能燃气,用于供热、发电;进一步调整H/C比例制备合成气作为合成高碳醇的原料;反应废渣经酸洗、粉碎、改性制备天然纳米SiO2/C/NR母料。

标签:
复合材料
吉林 - 长春 来源:中冶有色网 2023-03-18
汽车复合材料保险杠防撞梁厚度的多目标优化方法

本发明公开了一种汽车复合材料保险杠防撞梁厚度的多目标优化方法,包括:步骤一、分别确定防撞梁的上板、下板、前板、后板和肋板的铺层厚度取值范围,以及各铺层厚度对应的铺层顺序;步骤二、生成初始样本数据集,并确定防撞梁铺层厚度优化的目标函数f(x)和约束函数g(x);步骤三、根据所述目标函数和所述约束函数,设置高斯随机过程核函数初始参数,并训练得到GPR模型;步骤四、通过GPR模型得到Pareto前沿解集,并在所述Pareto前沿解集中筛选出新的样本,加入所述初始样本数据集中;循环步骤二至步骤四,直到满足迭代次数,得到优化的Pareto前沿解集,并根据所述优化的Pareto前沿解集得到防撞梁的上板、下板、前板、后板和肋板的优化铺层厚度。

标签:
复合材料
吉林 - 长春 来源:中冶有色网 2023-03-18
纤维材料及纤维复合材料的制备方法

本发明公开了一种纤维材料及纤维复合材料的制备方法,所述纤维材料包括:上纤维层、下纤维层、连接所述上纤维层与下纤维层的中纤维层;其中,所述中纤维层由纬向纤维和经向纤维组成;所述纬向纤维和所述经向纤维均由竖直段纤维和连接在所述竖直段纤维两端的过渡段纤维组成;所述过渡段纤维与所述上纤维层和所述下纤维层在连接处的夹角均为钝角。本发明所述纤维材料具有良好的抗剥离性能。

标签:
复合材料
吉林 - 长春 来源:中冶有色网 2023-03-18
医用可降解复合材料
医用可降解复合材料 785     
 0

本发明涉及一种医用可降解复合材料,其包括有二氧化碳共聚物,聚己内酯(PCL)或聚3—羟基丁酸酯(PHB)一种或几种添加剂,马来酸酐封端剂,具体组成重量份数为:100份二氧化碳共聚物,10-50份添加剂,1-5份封端剂。本发明具有良好力学性能,可降解,热稳定性好,加工和成型容易。

标签:
复合材料
吉林 - 长春 来源:中冶有色网 2023-03-18
医疗级复合材料及其制备方法

本发明提出一种医疗级复合材料及其制备方法,选择机械性能及热塑性质与生物相容性材料相匹配的半结晶聚合物,以保证半结晶聚合物中在生物相容性材料中均匀交联,保证生物材料的性能稳定及均一性。

标签:
复合材料
吉林 - 长春 来源:中冶有色网 2023-03-18
碳纤维复合材料网格蒙皮太阳能电池阵基板的制备方法

本发明涉及碳纤维复合材料网格蒙皮太阳能电池阵基板的制备方法,包括以下步骤:步骤S1、设计网格蒙皮缠绕成型工装,所述网格蒙皮缠绕成型工装包括:两个连接轴、平板、连接板;步骤S2、在网格蒙皮缠绕成型工装上进行0°缠绕,0°缠绕结束后,将网格蒙皮缠绕成型工装与缠绕机的连接轴进行90°转向,并完成相对的90°缠绕成型,实现网格十字交叉缠绕;步骤S3、组装方管连接边框:选用碳纤维方管作为连接边框,方管连接处采用金属件加强处理;步骤S4、基板成型;步骤S5、粘贴聚酰亚胺薄膜。采用该方法能够确保网格蒙皮中纤维分布及树脂含量的均匀性,确保太阳电池阵基板整体平面度需求,所制作的太阳电池阵基板质量稳定、性能满足设计要求。

标签:
复合材料
吉林 - 长春 来源:中冶有色网 2023-03-18
稻壳基硅炭黑/聚氯乙烯复合材料

本发明提供一种稻壳基硅炭黑/聚氯乙烯复合材料,将稻壳炭经粉碎设备进行定向粉碎;所述稻壳炭的炭含量在45%~52%之间,硅含量在43%~50%之间;将粉碎后的稻壳炭通过分级得到粒径D90指标在18μm~25μm的稻壳炭粉体;将稻壳炭粉体加入处理剂进行高速均匀混炼得到填充料;温度在70~90℃之间,转速760r/min~1000r/min;将填充料与PVC混合后经挤出切粒后得到稻壳基硅炭黑/聚氯乙烯材料,所述的填充料与PVC质量比为(0.1‑0.36):1,所述的加工温度为160‑190℃,转速为15‑35rpm,通过添加处理剂对其进行改性及表面处理,使之拥有被利用到炭黑领域的相关性能。

标签:
复合材料
吉林 - 长春 来源:中冶有色网 2023-03-18
基于二氧化锰纳米片仿酶荧光复合材料的毒死蜱比率荧光法

本发明公开了一种基于二氧化锰纳米片仿酶荧光复合材料(AuNCs‑MnO2NSs)构建的毒死蜱比率荧光检测法。本发明,MnO2NSs具有荧光猝灭作用和仿酶催化活性,高效猝灭AuNCs荧光,同时催化邻苯二胺生成发光氧化产物OPDox,AChE催化硫代乙酰胆碱生成的硫代胆碱,可将MnO2NSs还原生成Mn2+,降低荧光猝灭能力和仿酶活性,使得AuNCs(645nm)荧光强度升高,OPDox(550nm)荧光强度下降。毒死蜱可特异抑制AChE活性,从而根据体系荧光切换,构建毒死蜱的比率荧光法(线性范围0.005‑0.25μg mL‑1,检出限0.27ng mL‑1)。同时建立便携化水凝胶平台,借助手持紫外灯可清晰显示,随着毒死蜱浓度增加,体系由红色变为黄色。本发明提升了检测毒死蜱的灵敏度和抗干扰能力,水凝胶便携试剂盒也为农药现场检测提供可能。

标签:
复合材料
吉林 - 长春 来源:中冶有色网 2023-03-18
粉煤灰/羧甲基纤维素/壳聚糖复合材料的制备方法

本发明涉及一种粉煤灰/羧甲基纤维素/壳聚糖复合材料的制备的制备方法,属于吸附材料领域。目前常用的除磷吸附剂,很多都是粉末、小颗粒状,存在成本较高、回收困难等问题,故需要开发一种新型的吸附剂。本发明是利用工业废弃物粉煤灰、具有较好的凝胶性能且无污染的羧甲基纤维素和壳聚糖,利用羧甲基纤维素可在含高价金属离子的溶液中迅速凝胶的原理,制备一种复合凝胶珠。制备过程简单,原料廉价易得,制备周期短,所制备的材料机械性能比较稳定。本发明制备的吸附剂在室温下可以吸附去除污水中的磷,有很好的应用前景。

标签:
复合材料
吉林 - 长春 来源:中冶有色网 2023-03-18
钢铝梯度复合材料钻杆
钢铝梯度复合材料钻杆 1222     
 0

本实用新型公开了一种钢铝梯度复合材料钻杆,钻杆被设计为内外双层结构,钻杆外层和接头部分采用钢材,内层部分采用铝合金,钢和铝合金界面之间通过其二者本身按比例梯度变化的过渡层而实现结合。该钻杆结合了钢材的强度、耐磨性、耐高温、抗腐蚀和铝合金材料轻质的优点,从而满足深部勘探装备发展的需要。钻杆的接头部分采用钢材料,解决了常规铝合金钻杆和钢接头间异种金属组装困难的问题,同时,既可以采用独立接头设计,也可以直接在钻杆上车出接头,缩短制造流程,节约成本;采用钢和铝二者本身按比例梯度变化的过渡层而实现钢铝界面之间结合,替代常规的钢铝机械式连接方法,节约材料并增强了钢铝之间的结合强度。

标签:
复合材料
吉林 - 长春 来源:中冶有色网 2023-03-18
防变形的玻璃钢复合材料模具

一种防变形的玻璃钢复合材料模具,包括模具本体,其特征在于:模具本体下面粘接一连接板,连接板下面焊接一螺柱,螺柱穿过过渡连接件的中心孔通过上下螺母与过渡连接件连接,过渡连接件的两侧地脚与加强筋连接。本实用新型通过调整螺母进而调整模具与加强筋的距离,便于将模具调整到与产品造型相同的状态而且用长期使用不变形,解决了原有模具加强筋结构调整模具费时费力的问题,给工人降低操作难度,保证模具在其使用寿命的范围内对成型的产品规格和质量没有影响。

标签:
复合材料
吉林 - 长春 来源:中冶有色网 2023-03-18
低导热率碳纤维复合材料支撑结构件

本发明提供了一种低导热率碳纤维复合材料支撑结构件,包括支撑结构件本体,所述支撑结构件本体上粘贴有均热层,所述均热层上设有局部多孔结构和/或局部多条状结构,所述局部多孔结构和/或局部多条状结构中填充有胶黏剂,所述均热层上胶黏有加热片,所述加热片与所述均热层上的局部多孔结构和/或局部多条状结构相胶黏接触。通过本发明,增加了均热层的可靠性,局部多孔或多条状结构可适应多种复杂形状,在小曲率表面可使用大孔隙形式均热层,可避免出现均热层剥落现象。

标签:
复合材料
吉林 - 长春 来源:中冶有色网 2023-03-18
复合材料发射筒泡沫夹层结构及其一体化成型方法

本发明公开了一种复合材料发射筒泡沫夹层结构的一体化成型方法,包括:内结构层;外结构层;多组环筋,其沿内结构层的轴向间隔设置在内结构层和外结构层之间;其中,每组环筋包括:第一环筋,其包括第一环筋基体和第一环筋主体;第二环筋,其与第一环筋间隔设置,第二环筋包括第二环筋基体和第二环筋主体;以及多个加强区,其沿内结构层的周向阵列;加强区的两端分别与第一环筋和第二环筋接合;其中,第一环筋基体及第二环筋基体的轴向截面均为梯形,并且梯形的底面与内结构层接合;泡沫填充层,其设置内结构层和外结构层之间,并且位于第一环筋、第二环筋及加强区以外的空间。

标签:
复合材料
吉林 - 长春 来源:中冶有色网 2023-03-18
树脂基纤维增强复合材料连续轧制的生产方法

本发明为一种树脂基纤维增强复合材料连续轧制的生产方法。所述的生产方法由上轧辊、上模、上轧辊油温加热管路、下轧辊、下模、下轧辊油温加热管路、支撑框架、送料机构、成型工艺参数控制系统所组成;其中,上轧辊、上模、上轧辊油温加热管路共同构成所述连续轧制生产方法的上轧辊系统;下轧辊、下模、下轧辊油温加热管路共同构成所述连续轧制生产方法的下轧辊系统;所述上、下轧辊均为空心圆筒,其内部均填充有用于模具加热的油液,通过上、下轧辊油温加热管路可以控制油液的温度,上、下轧辊表面除了上、下模安装区域以外,其他区域均覆盖有绝热层,用于避免油液热量不必要的损失;上、下模通过螺栓连接分别安装在所述的上、下轧辊表面。

标签:
复合材料
吉林 - 长春 来源:中冶有色网 2023-03-18
高性能锂离子电池正极FeF3复合材料的制备方法

本发明提供一种锂离子动力电池用正极FeF3复合材料的制备方法,制备的FeF3为三维有序大孔结构,其表面被导电高分子均匀包覆。本发明采用聚苯乙烯作为硬模板合成三维有序大孔结构,然后通过原位聚合的方法实现导电高分子的包覆。与传统的碳包覆相比,这种新颖的包覆方法既不需高温条件,也不产生二氧化碳,具有低成本、环保等优点。FeF3三维有序大孔结构与导电高分子包覆的双重结合使得其作为锂离子电池负极材料具有较高的放电容量和良好的循环稳定性。

标签:
复合材料
吉林 - 长春 来源:中冶有色网 2023-03-18
用于光催化降解有机污染物的多酸-二氧化钛复合材料及其制备方法

一种采用溶胶-凝胶、模板和悬涂等技术制备的新 型多酸-二氧化钛复合材料,包括三维有序大孔多酸-二氧化钛 粉末和多酸-二氧化钛复合膜,其中,二氧化钛为载体,选择的 多酸为一、二和三缺位Keggin阴离子如[Xn+W11O39](12-n)-(Xn+=P5+,Si4+,Ge4+),[γ-SiW10O36]8-和[Xn+W9O34](14-n)-(Xn+=Si4+,Ge4+,P5+,As5+)。将此类材料做光催化剂,采用低功率高压汞灯或可见光做光源,在非均相体系中,对水溶液中有机污染物如染料、有机氯农药、有机磷农药、卤代烃和各种有机酸实现了完全降解并矿化为无机物,表明此类光催化材料具有耐水性、高效能、低成本、易回收和长寿命等优点。

标签:
复合材料
吉林 - 长春 来源:中冶有色网 2023-03-18
复合材料产品成型模具

一种复合材料产品成型模具,其特征在于:还包括启模活块、预埋螺母、安装螺栓、顶出螺栓,在主体模具的两侧翻边上与主体模具内腔平齐开有侧面凹槽,侧面凹槽内设有启模活块,启模活块开有内螺纹孔,在侧面凹槽下部的主体模具内设有预埋螺母,预埋螺母也开有内螺纹孔,预埋螺母的内螺纹孔小于启模活动的内螺纹孔且两孔同心,穿过启模活块内螺纹孔与预埋螺母内螺纹孔配合设置一安装螺栓,用于固紧启模活块,顶出螺栓与启模活块配合从而带出启模活块。本实用新型避免了使用楔形启模器对模具的划伤、顶出结构在产品表面的留下印记,对于真空袋压成型工艺来说,保证了模具的完整性和密封性,达到了工序简单、方便、效率高的目的,使得产品批量化的质量得以保证。

标签:
复合材料
吉林 - 长春 来源:中冶有色网 2023-03-18
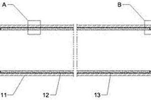
完全生物降解复合材料

本实用新型属于一种完全生物降解复合材料,包含三层结构。纸层(1)所用材料主要是植物纤维或聚乳酸纤维,涂层(2)为聚乳酸或聚乳酸的共聚物与增塑剂组成的聚乳酸组合物涂层,涂层(3)为聚乳酸或聚乳酸的共聚物与增塑剂组成的发泡聚乳酸组合物涂层。具备这种结构的材料尤其具有保温隔热功能,可以应用于制作热饮料纸杯、餐盒等一次性包装物。

标签:
复合材料
吉林 - 长春 来源:中冶有色网 2023-03-18
管状有机复合材料连续成型装置

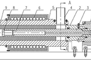
本实用新型涉及一种管状有机复合材料连续成型装置,包括固定在底座上的油缸总成,油缸活塞内部有一阶梯孔,一固定轴从右端插入阶梯小孔,并通过螺钉固装在油缸右端面上,固定轴左端与内径成型杆螺纹连接,内径成型杆内装有加热管,用于给内径成型杆加热,一挤压头,其右端插装在油缸活塞内部阶梯大孔内,并通过螺钉固定在活塞上,左端插入外径成型管内,一外径成型管,通过固定架固定在底座上;其右端上部设有加料口,在其外壁上设有加热装置。本装置可节省大量的模具,能够连续化生产,提高生产效率。

标签:
复合材料
吉林 - 长春 来源:中冶有色网 2023-03-18
可逆固体氧化物电池的电极材料及其复合材料、制备方法与应用

一种可逆固体氧化物电池的电极材料及其复合材料、制备方法与应用涉及电极材料领域,解决了现有电池成本高和寿命短的问题。所述电极材料为钙钛矿结构氧化物,结构式为Sr2‑xBixFe1.5Mo0.5O6‑δ,其中0<δ<0.2,0<x≤0.1。本发明制备的钙钛矿结构的SBFM材料具有成分较简单、均匀,合成工艺较简单等特点。在氢气气氛中高温还原,析出大量且分布均匀的纳米颗粒,同时产生较多的氧空位。纳米颗粒可以显著提升SBFM电极材料的导电性能,并提供大量的活性位点,以SBFM作为阳极,对反应气体具有快速催化的作用。在碳氢燃料气氛中,钙钛矿阳极中析出的纳米颗粒具有良好的催化活性,表现出良好的电化学性能。同时以本发明的SBFM材料用于制备多孔阳极,可以在碳氢燃料气氛中稳定的工作。

标签:
复合材料
吉林 - 长春 来源:中冶有色网 2023-03-18
基于石墨烯的聚苯乙烯复合材料及制备方法

本发明涉及一种基于石墨烯的聚苯乙烯复合材料,各原料的重量百分比为:石墨烯的质量分数为0.05%‑0.6%,苯乙烯的质量分数为35%‑43%,表面活性剂的质量分数为0.01%‑0.1%,助活性剂的质量分数为0.01%‑0.05%,分散剂的质量分数为0.5%‑2%,助分散剂的质量分数为0.01%‑0.1%,稳定剂的质量分数为0.26%‑1%,助稳定剂的质量分数为0.01%‑0.1%,引发剂的质量分数为0.5%‑2%,发泡剂戊烷的质量分数为2%‑5%,去离子水的质量分数为46.05%‑61.65%。本发明采用一步法聚合,适用于工业化反应釜生产,利于工业化生产的稳定性。

标签:
复合材料
吉林 - 长春 来源:中冶有色网 2023-03-18
预埋金属件闭腔网格框架结构复合材料的制备方法

本发明公开了一种预埋金属件闭腔网格框架结构复合材料的制备方法,包括如下步骤S100、设计衬板形状及尺寸公差,制备衬板以及预压模具,该衬板包括多块拼接的衬板分区;S200、制备预浸料及水溶性模具;S300、铺放水溶性模具块,并在水溶性模具块表面铺放预浸料;S400、在水溶性模具块上安装分区衬板、并利用分区预压模具进行分区合模预压;S500、预压后的分区小块组合到水溶性模具内,铺设蒙皮,并安装各衬板分区在进行合模;S600、进炉固化;S700、固化后脱模。本发明的制备方法基于分区式衬板,采用石英砂和水溶性胶粘剂的混合物作为芯模,分区预压铺放后的网格小块,安装衬板整体合模固化,解决了闭腔网格结构预埋金属件位置精度差、工艺难度大的技术问题。

标签:
复合材料
吉林 - 长春 来源:中冶有色网 2023-03-18
氯氧铋/铋/氮化碳三元复合材料光催化剂的合成方法

本发明公开了一种氯氧铋/铋/氮化碳(BiOCl/Bi/C3N4)三元复合材料光催化剂的合成方法。本发明主要通过原位合成法合成了含有金属铋的氮化碳/氯氧铋复合光催化材料。在初步合成薄片状氮化碳后,通过原位水热的方法,在控制合成温度及合成时间的同时,控制硝酸铋、十六烷基三甲基氯化铵以及乙二醇的含量,成功的在合成氯氧铋的同时合成具有表面等离子体效应的金属铋。并使用罗丹明B染料对其光催化降解性质进行了测试。本发明成功的在氮化碳材料上原位合成了氯氧铋以及金属铋的异质结构,通过金属铋的表面等离激元共振效应提高光催化剂的催化活性。

标签:
复合材料
吉林 - 长春 来源:中冶有色网 2023-03-18
多金属多层梯度复合材料的制备方法

一种多金属多层梯度复合材料的制备方法,其特征在于包括以下步骤:(1)准备A金属板和B金属板;(2)均匀化处理;(3)将A处理板单道次变形加工,制成不同厚度的A变形板;将B处理板单道次变形加工,制成不同厚度的B变形板;或者将B处理板单道次变形加工,制成B变形板;(4)去应力退火;(5)各退火板叠放,制成组合板;(6)铆接固定;(7)成型轧制;(8)垂直分割后分板叠放、铆接固定、成型轧制;(9)重复2~6次,制成N次成型板;退火处理。本发明的方法在保证材料界面结合良好的前提下,同时控制叠轧的总厚度,有效抑制累积叠轧导致的板材塑性失稳,强度降低的现象,提高层片细化效率,使得合金在维持良好塑性的同时具备较高的强度。

标签:
复合材料
吉林 - 长春 来源:中冶有色网 2023-03-18
上一页 17 18 19 20 21 ... 54 下一页
共54页    到第

中冶有色为您提供最新的吉林长春有色金属复合材料技术理论与应用信息,涵盖发明专利、权利要求、说明书、技术领域、背景技术、实用新型内容及具体实施方式等有色技术内容。打造最具专业性的有色金属技术理论与应用平台!

全国热门有色金属设备推荐
展开更多 +
全国热门有色金属技术推荐
展开更多 +

 

江西省隆恩特环保设备有限公司
宣传

报名参会
更多+

报告下载

有色专家
更多+

有研科技集团有限公司
中国工程院 院士
中国瑞林工程技术有限公司
中国工程院院士
赣州江钨钨合金有限公司
副总经理
中铝检测科技(郑州)有限公司/国家轻金属质量检验检测中心
正高级工程师
广东省科学院工业分析检测中心
副主任
赤泥综合利用研究报告2025
推广

热门技术
更多+

推荐企业
更多+

福建省金龙稀土股份有限公司
宣传

发布

在线客服

公众号

电话

顶部
咨询电话:
010-88793500-807