青岛垚鑫智能科技有限公司
宣传

位置:北方有色 >

有色技术频道 >

分类:
全部
矿山技术
冶金技术
材料制备及加工技术
环境保护技术
分析检测技术
 
全部
废水处理技术
大气治理技术
固/危废处置技术
土壤修复技术
地区:
全部
北京
天津
上海
重庆
河北
山西
辽宁
吉林
黑龙江
江苏
浙江
安徽
福建
江西
山东
河南
湖北
湖南
广东
海南
四川
贵州
云南
陕西
甘肃
青海
内蒙
广西
西藏
宁夏
新疆
其他
其他
展开
 
全部
南京
无锡
徐州
常州
苏州
南通
连云港
淮安
盐城
扬州
镇江
泰州
宿迁

江苏苏州有色金属环境保护技术理论与应用

免费发布技术信息>>
含氟离子和硝酸根离子的废水的处理方法

本发明公开了一种含氟离子和硝酸根离子的废水的处理方法。具体而言,该方法包括如下步骤:1)调节控制参数;2)反硝化脱氮;3)泥水分离;4)沉淀除氟;5)絮凝沉淀;和6)出水回流调节。与先除氟后脱氮的传统工艺相比,本发明的处理方法通过对进水水质(如离子浓度及pH值等控制参数)进行预先调节,避免了进水水质的大幅波动对后续反硝化过程的脱氮能力产生影响,实现了先脱氮后除氟的全新工艺,降低了传统工艺中除氟过程需大量投加碱液和反硝化过程需大量投加酸液的处理成本,更加适应大规模的工业化应用。

标签:
废水处理
江苏 - 苏州 来源:北方有色网 2023-03-19
带有旋转释放器的废水脱色装置

本实用新型公开了一种带有旋转释放器的废水脱色装置,包括:反应器筒体,该反应器筒体内由下至上依次为旋转释放区、紫外区、超声区、吸附区和出水区;设置于所述旋转释放区的旋转释放器,所述旋转释放器外接气水混合液进液管;设置于所述紫外区的紫外灯;设置于所述超声区的超声换能器;填充于所述吸附区内的吸附剂;以及设置于所述出水区上方的集气罩,所述集气罩通过气管连接尾气吸收装置。本实用新型将紫外、超声、改性炭黑催化臭氧氧化作用集成于一个反应装置中,在旋转释放器均匀布气的条件下,臭氧依次经过紫外,超声和改性炭黑催化剂作用,将臭氧转化成氧化能力更强的羟基自由基,提高了臭氧的利用率。

标签:
废水处理
江苏 - 苏州 来源:北方有色网 2023-03-19
电镀废水处理用锌回收装置

本实用新型公开了一种电镀废水处理用锌回收装置,包括水泵,所述水泵的一侧放置有石灰加工仓,石灰加工仓的一端开设有进水口,进水口的一端通过管道与水泵连接,所述石灰加工仓的另一端开设有第一通孔,第一通孔侧焊接固定有第一闸阀,第一闸阀的一侧放置有反应池,反应池一端焊接安装有水管接头,反应池另一端开设有第二通孔,第二通孔焊接固定有第二闸阀,所述反应池的另一端开设有污泥清理门,污泥清理门四周螺栓安装有密封条,污泥清理门的一侧开设有排水口,所述石灰加工仓与反应池之间放置有输送泵,此装置以工业消石灰为中和剂中和,在反应池固液分离,污泥经浓缩后送压滤机压滤,完成锌的收集,结构简单,投资费用少,适合中小型企业投入使用。

标签:
废水处理
江苏 - 苏州 来源:北方有色网 2023-03-19
改进电极连接方式的电化学废水处理装置

本实用新型公开了一种改进电极连接方式的电化学废水处理装置,包括电解槽和置于电解槽内的若干电极板,所述电解槽侧壁上对应开设有若干槽孔,每个电极板带有一段贯穿对应槽孔且延伸至电解槽外的极耳,所有极耳的接线端在电解槽外侧与导电铜排连接,导电铜排连接电源,极耳与槽孔之间密封连接。本实用新型电解槽外侧接线的极板连接方式,使极板连接部分不与氧化性气体接触,可提高电化学工艺的稳定性。

标签:
废水处理
江苏 - 苏州 来源:北方有色网 2023-03-19
工业洗衣机
工业洗衣机 826     
 0

本发明涉及一种工业洗衣机,它包括机体,进水管和排水管,所述的机体的上面开了一个可以放入或取出衣物的开口,且在开口的位置上与所述的机体可转动地安装了一个机盖,所述的排水管埋入地下,并连接到蓄水池中。本发明将该工业洗衣机的废水由明排改为暗排,给使用者带来了方便。

标签:
废水处理
江苏 - 苏州 来源:北方有色网 2023-03-19
用于汽车清理的废水利用设备及其工作方法

本发明公开了一种用于汽车清理的废水利用设备及其工作方法,包括收集机构、清洗机构以及控制机构,控制机构包括处理单元以及驱动单元,收集机构包括第一集水槽与第二集水槽,第一集水槽设置于汽车的前后两侧,第二集水槽位设置于汽车的左右两侧,第一集水槽与第二集水槽连通,第一集水槽的外形设置呈倒V型,第二集水槽的外形设置呈V型,第一集水槽与第二集水槽的内侧设置有向汽车内部延伸的槽体;清洗机构包括环形滑轨、电动滑块、电动伸缩杆以及电动刷盘,滑轨的轨道设置于滑轨的外侧,电动滑块内嵌于环形滑轨,电动伸缩杆用于连接电动滑块与电动刷盘,电动滑块以及电动伸缩杆用于调整电动刷盘的位置,电动刷盘用于清洗汽车的轮胎与轮毂。

标签:
废水处理
江苏 - 苏州 来源:北方有色网 2023-03-19
废水电化学处理系统的消泡装置和方法

本发明公开了一种废水电化学处理系统的消泡装置和方法,消泡装置包括电解槽,所述电解槽连有进水管和出水管,还包括:倒扣于所述电解槽上方的消泡挡板,所述消泡挡板上开设若干通孔,所述消泡挡板的朝向电解槽的面上设置若干倒刺;罩设于所述消泡挡板上方的集气罩,所述集气罩顶部连接排气管;分布于所述集气罩内壁上的若干个喷头,所述喷头通过管路外接高压水泵;与所述消泡挡板的底沿衔接且延伸出电解槽外的排渣口,所述排渣口通过管路连接泡沫收集池。本发明利用挡板的导流、拦截作用,使部分泡沫转化为液体,从挡板中溢出泡沫被高压喷头喷洒的水珠打破,泡沫和泡沫破灭的液体顺着水流回到电解槽,电解槽内可添加消泡剂进行处理。

标签:
废水处理
江苏 - 苏州 来源:北方有色网 2023-03-19
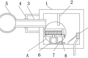
工厂废水重金属含量远程在线监测设备

本实用新型公开了一种工厂废水重金属含量远程在线监测设备,包括配重箱,所述配重箱一侧固定连接有进水管,所述进水管位于配重箱外部的一端固定连接有滤网罩,所述进水管中部固定连接有固定架,所述固定架远离滤网罩的一端与配重箱侧壁固定连接,本实用新型通过设置挡水板、滤网罩与抽水泵,挡水板的设置避免进入配重箱内的水发生喷溅,滤网罩的设置便于更好的将大块颗粒物进行阻挡,避免大块颗粒物沉积在配重箱内部,抽水泵的设置便于抽出配重箱内部的水,隔水板的设置便于更好的保护电机与远程在线监测设备主体,避免电机与远程在线监测设备主体受工业水的侵蚀,该装置操作简单,使用效果更好,便于更好的使用。

标签:
废水处理
江苏 - 苏州 来源:北方有色网 2023-03-19
纯水机的废水回收装置

本实用新型公开了一种纯水机的废水回收装置,涉及到家庭及工业用净化设备技术领域,包括污水处理筒与连通于污水处理筒顶侧的进水管,污水处理筒内壁的顶侧上固定连接有电动机,电动机同轴转动连接有搅拌轴,搅拌轴沿高度方向连接有若干组的搅拌环,污水处理筒的外壁顶侧上通过抽水管连接有储液箱,储液箱内装有大量的消毒液;搅拌轴带动搅拌环转动,使得消毒液与污水充分混合,从而消毒液将污水中的有毒物质处理彻底。

标签:
废水处理
江苏 - 苏州 来源:北方有色网 2023-03-19
重金属废水处理剂及其制备方法

本发明提供了一种重金属废水处理剂及其制备方法。处理剂组分包括:脱乙酰甲壳素、乙醇、硫酸铝、氢氧化钠、氢氧化钙、氯化铁、硫酸铁、对羟基苯甲酸甲酯、双乙酸钠、过氧化氢、过氧醋酸、低亚硫酸钠、盐酸、水。其制备方法为先将脱乙酰甲壳素、盐酸和水在常温下混合,使用磁力搅拌机搅拌,再加入硫酸铝、氢氧化钠、氢氧化钙、氯化铁、硫酸铁、双乙酸钠、过氧化氢、过氧醋酸和低亚硫酸钠,加热继续搅拌,最后加入乙醇和对羟基苯甲酸甲酯混合溶液,搅拌即得。本发明的处理剂能有效地去除重金属离子,同时具有良好的絮凝效果,使处理好的水能够被继续重新利用;另外其生产方法也较为简单,适宜于工业化生产。

标签:
废水处理
江苏 - 苏州 来源:北方有色网 2023-03-19
用于废水净化的分层式预处理设备及其工作方法

本发明公开了一种用于废水净化的分层式预处理设备及其工作方法,包括储水罐体、升降机架以及控制机构,控制机构包括处理单元以及驱动单元,储水罐体分为若干层储水腔,相邻储水腔通过电动腔门密封隔离,电动腔门设置呈圆锥状,且电动腔门的中部低于四周,电动腔门的中部设置有电动排污阀,电动排污阀用于向下层储水腔排放沉淀物质,每一层储水腔内设置有检测装置,检测装置用于检测该层储水腔中下部的沉淀物质的浓度,每一层储水腔内设置有排水孔以及与排水孔相连的排水管,排水孔内置有电动排水阀;升降机架设置于储水罐体的外部,升降机架包括升降装置、连接装置以及吸附棒,连接装置用于连接升降装置与吸附棒,升降装置用于调整吸附棒的高度。

标签:
废水处理
江苏 - 苏州 来源:北方有色网 2023-03-19
处理含盐废水的酸碱回收电解槽

本实用新型公开了一种处理含盐废水的酸碱回收电解槽,包括槽体,所述槽体内设置阳极电极板和阴极电极板,所述阳极电极板和阴极电极板分别平行设置,所述槽体内还平行设置有阳离子膜、阴离子膜和双极膜,且所述阳离子膜靠近所述阴极电极板,所述阴离子膜靠近所述阳极电极板,且在所述阳离子膜和阴极电极板之间设置双极膜,在所述阴离子膜与阳极电极板之间也设置双极膜。此电解槽操作便捷、安装及操作方便,且有效从含盐废回收酸碱,可实现资源回收利用,节省生产成本,开发新技术解决传统化学反应产生的二次污染问题,便可实现真正的绿色回收技术。

标签:
废水处理
江苏 - 苏州 来源:北方有色网 2023-03-19
处理羊毛面料印染废水的光催化剂的制备方法

本发明提供一种处理羊毛面料印染废水的光催化剂的制备方法,用简单易行的溶胶?凝胶法制备多孔质纳米二氧化钛,稀土作为掺杂金属对纳米二氧化钛进行改性,制备得到多孔质的稀土掺杂纳米二氧化钛凝胶,将凹凸棒土均匀地混合在凝胶中,在烘箱中将凝胶烘干后进行研磨煅烧。本发明制备的光催化剂有效地拓展了?TiO2对光波长的响应范围,增加了光催化剂的光电转化效率和光催化活性,而且TiO2的多孔质结构结合凹凸棒石独特的晶体结构,使本发明光催化剂具有阳离子可交换性、吸附脱色性,有利于光催化剂的重复利用,降低催化剂成本。此外,该光催化剂的制备方法简单易行,有利于工业化的推广。

标签:
废水处理
江苏 - 苏州 来源:北方有色网 2023-03-19
废水电化学处理系统的消泡装置

本实用新型公开了一种废水电化学处理系统的消泡装置,消泡装置包括电解槽,所述电解槽连有进水管和出水管,还包括:倒扣于所述电解槽上方的消泡挡板,所述消泡挡板上开设若干通孔,所述消泡挡板的朝向电解槽的面上设置若干倒刺;罩设于所述消泡挡板上方的集气罩,所述集气罩顶部连接排气管;分布于所述集气罩内壁上的若干个喷头,所述喷头通过管路外接高压水泵;与所述消泡挡板的底沿衔接且延伸出电解槽外的排渣口,所述排渣口通过管路连接泡沫收集池。本实用新型利用挡板的导流、拦截作用,使部分泡沫转化为液体,从挡板中溢出泡沫被高压喷头喷洒的水珠打破,泡沫和泡沫破灭的液体顺着水流回到电解槽,电解槽内可添加消泡剂进行处理。

标签:
废水处理
江苏 - 苏州 来源:北方有色网 2023-03-19
废水冷却过滤床
废水冷却过滤床 1130     
 0

本实用新型公开了一种废水冷却过滤床,包括滤床本体,所述滤床本体的内部两端安装有转动轮,转动轮与第一动力装置连接并作旋转运动;两个转动轮上套置有过滤组件,位于过滤组件的下方安装有毛刷辊,所述毛刷辊由第二动力装置驱动作原位旋转运动,所述滤床本体的底部位于所述毛刷辊的下方还安装有污渣收集箱,用于将所述毛刷辊清理下来的污渣排出所述滤床本体。本实用新型通过由第一驱动装置和第二驱动装置驱动的转动轮和毛刷辊的设计,以及套置在转动轮上的过滤组件以及位于毛刷辊底部的污渣收集箱的设计,实现了污水中污渣的有效自动分离并及时移除到过滤床外,主要去除污水中粘性重的污渣,为后续的污水进一步固液分离创造条件,实用性强。

标签:
废水处理
江苏 - 苏州 来源:北方有色网 2023-03-19
喷涂废水处理用电絮凝槽

本实用新型公开了一种喷涂废水处理用电絮凝槽,涉及污水处理设备技术领域,包括电絮凝槽外壳,所述电絮凝槽外壳底端开设有深槽,且深槽底端开设有滑轨,所述滑轨顶端安装有收集抽屉,所述电絮凝槽外壳内壁底端安装有支撑台,且支撑台顶端固定有电解槽,所述电解槽一侧连接有高频电源,且电解槽顶端安装有极板,所述极板一侧安装有倾斜滑槽。本实用新型中,通过安装有清理机构,可以实现将极板上附着的渣泥从极板上清理出来,并且通过控制开合机构,可以使清理出的渣泥落入收集抽屉中,使得极板表面变得干净整洁,从而提高电絮凝槽的工作效率,并且还使得电絮凝槽的使用寿命大有提升。

标签:
废水处理
江苏 - 苏州 来源:北方有色网 2023-03-19
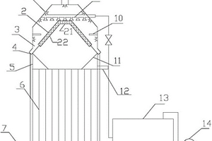
工业污泥等离子体全分解焚烧处理设备

工业污泥等离子体全分解焚烧处理设备,工业污泥引入口(9)接入等离子体焚烧炉(1),等离子体发生器(2)连接等离子体焚烧炉(1),氮气源(8)同时接入等离子体发生器(2)和等离子体焚烧炉(1),冷却水循环装置(3)连接在等离子体发生器(2)和等离子体焚烧炉(1)之间,等离子体焚烧炉(1)分别接出到蒸发回收装置(4)、微量尾气直排口(5)和非挥发废渣外排口(6)。可用于处理需高温裂解的多氯联苯(PCB)等高危险性废弃物;不产生二噁英(Dioxin)等剧毒物质,尾气处理量仅为传统焚烧法的5%至10%,可回收利用;无废水排放,废渣稳定无污染可填埋处理,保证处理安全。能源节约、焚烧彻底。

标签:
废水处理
江苏 - 苏州 来源:北方有色网 2023-03-19
用于高含盐工业污水的环保型深处理设备

本实用新型公开一种用于高含盐工业污水的环保型深处理设备,包括催化氧化池、氧化稳定池、后生化BAF池、清水池、稀释综合罐、预处理一级BAF池、预处理二级BAF池、主风管和出水池;一臭氧发生器通过气体管道连接到催化氧化池内部,所述清水池的进水孔与后生化BAF池通过后段传输管路连接;所述预处理一级BAF池、预处理二级BAF池均包括池壁、筛板和曝气通道,一生物填料区填充于池壁中部且其位于筛板上表面,所述曝气通道位于生物填料区中央处,一曝气头位于曝气通道底部,一位于曝气通道内的支风管两端分别与主风管和曝气头连接。本实用新型提高了对高含盐含酚废水的耐受能力,提高了高含盐含酚废水深度处理效果。

标签:
废水处理
江苏 - 苏州 来源:北方有色网 2023-03-19
高效循环浓缩的热交换蒸发工业污水处理系统

本实用新型涉及一种高效循环浓缩的热交换蒸发工业污水处理系统,包括逆流换热器,其内部传热管底部连接废水进口管的一端,其内部传热管上部通过废水进管连接竖管热交换器的底部进液口,竖管热交换器顶部通过上连通管连接旋风分离器侧面进液口,旋风分离器底部通过下连通管和竖管热交换器底部连通;旋风分离器顶部通过输水管连接到竖管热交换器内部传热管的顶部,输水管上设置有一加热装置,竖管热交换器内部传热管的底部通过蒸馏水出管连接蒸馏水罐,蒸馏水罐连接至逆流换热器底部。本装置相比较于传统蒸发器装置,能够节能90%。

标签:
废水处理
江苏 - 苏州 来源:北方有色网 2023-03-19
用于废水处理的离心沉降设备

本实用新型公开了一种用于废水处理的离心沉降设备。包括外壳和位于外壳内的转鼓,所述转鼓处设置有液体进口和液体出口,其底部还设置有沉渣出口,所述转鼓具有可开启或关闭的顶盖,所述顶盖具有通孔,一旋转轴穿过所述通孔位于转鼓内,一驱动装置驱动旋转轴转动,所述旋转轴上设置有刮板,所述刮板表面套设有一层橡胶套。本实用新型的离心沉降设备采用可转动的刮板对转鼓的内壁进行清洗,清洗效果好,通过刮板表面的橡胶套减少对转鼓的损伤,同时可以更换橡胶套,保持刮板本身的洁净。

标签:
废水处理
江苏 - 苏州 来源:北方有色网 2023-03-19
工业粉尘处理装置
工业粉尘处理装置 1217     
 0

本实用新型公开了一种工业粉尘处理装置,包括箱体以及设置在箱体顶部一侧的水箱,所述箱体一侧设置有进气管道,所述箱体另一侧顶部设置有出气管道,所述箱体底部中间位置设置有电机,所述箱体底部两侧均设置有排污管道,且所述排污管道内部均设置有控制阀门,所述箱体内部由过滤腔以及沉淀腔组成,所述过滤腔设置在沉淀腔顶部。本实用新型通过打开第一水泵对第一过滤组件进行冲洗,且通过打开电机对废水中的粉尘进行絮凝沉淀,使得装置能够对于粉尘进行再次处理,且保证了第一过滤组件的过滤效果,也使得装置的使用效果更好,且通过打开第二水泵,使得废水能够实现过滤的再次使用,进而提高了装置使用的环保性。

标签:
废水处理
江苏 - 苏州 来源:北方有色网 2023-03-19
环保型工业油脂分解剂的制备方法

本发明涉及油脂废水处理技术领域,且公开了一种环保型工业油脂分解剂的制备方法,包括以下步骤:调配釜和反应釜清洗,用清洁剂将调配釜和反应釜内部清洗干净,用热风机向调配釜和反应釜内冲入热空气10‑20min,使调配釜和反应釜内部保持清洁和干燥,留作备用。该环保型工业油脂分解剂的制备方法,通过该制备方法制得的环保型工业油脂分解剂对长链油脂去除速度快,效果好,且油脂分解后的产物对环境温和,降低了企业对油脂分解后生成产物处理的成本,提高了企业的经济效益,且排放物不会造成环境的二次污染,制得的油脂分解剂浓度高,可根据实际使用情况进行稀释,方便了油脂分解剂的使用,也增强了制得的油脂分解剂的适用性。

标签:
废水处理
江苏 - 苏州 来源:北方有色网 2023-03-19
工业污水处理一体机装置

本实用新型涉及一种工业污水处理一体机装置,包括依次设置的pH调节装置、电芬顿装置、氧化吹脱装置、絮凝装置、沉淀装置以及脱氮装置,上述各装置之间通过出水管相连通,pH调节装置连通污水进水管;pH调节装置包括pH调节槽、酸加药系统;氧化吹脱装置包括氧化吹脱槽、双氧水加药系统;絮凝装置包括第一絮凝槽、第二絮凝槽、碱加药系统以及絮凝剂加药系统;脱氮装置包括脱氮槽、次氯酸钠加药系统。本实用新型通过化学催化装置和电催化装置的结合,破除分解污水中络合物的稳定结构、分解氰化物;适合于高浓度COD废水、高盐度废水的处理;COD去除率大于50%;氰化物含量去除率大于96%;氨氮去除率大于60%。

标签:
废水处理
江苏 - 苏州 来源:北方有色网 2023-03-19
低环境影响的工业污水深度处理系统

本发明公开了一种低环境影响的工业污水深度处理系统,包括:过滤机构以及设置在过滤机构附近的电解机构,过滤机构包括滤网以及滤膜,滤网采用金属材质制备,滤网位于工业污水入水口位置,滤网附近设置有调节箱,调节箱内设有加药箱,调节箱连接滤网以及电解机构;电解机构包括脉冲电源以及与脉冲电源连接的电极板,电极板为多边菱形孔板,电解机构位于滤网以及滤膜中间位置,电解机构靠近滤膜一侧还设置有中转箱;滤膜附近设置有回流机构以及反渗透机构,回流机构连接滤膜以及调节箱,本发明将原废液中95%以上的水分离,其余以固态形式污染物分离,处理后废水各个污染指标降解明显,可实现全自动化无人值守的自动化程度。

标签:
废水处理
江苏 - 苏州 来源:北方有色网 2023-03-19
工业清洗剂及其制备方法

本发明公开了一种工业清洗剂及其制备方法,涉及一种洗涤领域,一种工业清洗剂,由以下原料按照质量配比混合而成,轻质硅酸钠、纯碱、脂肪酶与水的质量配比为(10‑20)∶(5‑15)∶(5‑10)∶(55‑80)。一种工业清洗剂的制备方法,包括如下步骤:步骤一:将轻质硅酸钠、纯碱、脂肪酶与水按照质量配比(10‑20)∶(5‑15)∶(5‑10)∶(55‑80)混合并搅拌至完全溶解;步骤二:静置2小时后进行分装。本发明中的VOC含量低、生物酶分解油污、环保,使得使用后的废水可以直接排放,同时去污效力强、耐用性强、使用安全、设备要求不高、加工工艺简单且制作成本低廉。

标签:
废水处理
江苏 - 苏州 来源:北方有色网 2023-03-19
工业离心脱水机
工业离心脱水机 1076     
 0

本实用新型公开了一种工业离心脱水机,包括机体、脱水桶、电机、气缸、钢球、连接杆和铰链;所述机体中间设有底板;所述底板的上方设有盛水桶;所述盛水桶的底部设有出水管;所述出水管内设有过滤网,且过滤网的上方开有取渣口;所述盛水桶内设有脱水桶;所述脱水桶的侧壁上开有通孔;所述脱水桶底部下端面设有环形槽;所述底板的上端面也设有环形槽;所述环形槽内安装有一组钢球。本实用新型结构简单,可以便捷的开启闭合脱水桶密封盖,气缸对密封盖施加力,使密封盖与机体紧密连接,可以避免由于碰撞而产生较大的噪音;通过在出水管设置废水过滤装置,使得脱水机脱离出来的废水经过处理再排放。

标签:
废水处理
江苏 - 苏州 来源:北方有色网 2023-03-19
工业废气净化装置
工业废气净化装置 1123     
 0

本发明公开了一种工业废气净化装置,包括:喷淋除尘仓、一级过滤仓和二级过滤仓,所述喷淋除尘仓与一级过滤仓之间通过第一废气输送管道连接,所述一级过滤仓与二级过滤仓之间通过第二废气输送管道连接,所述喷淋除尘仓内部上端设置有喷淋器,所述喷淋除尘仓上方设置有碱液储存室,所述碱液储存室与喷淋器通过连接管道连接,所述喷淋除尘仓底部设置有废水收集室,所述二级过滤仓一侧连接有排气管。通过上述方式,本发明提供的工业废气净化装置,能有效的净化工业生产过程中的废气。

标签:
废水处理
江苏 - 苏州 来源:北方有色网 2023-03-19
机械工业除尘设备
机械工业除尘设备 1023     
 0

本实用新型提供一种机械工业除尘设备,涉及机械除尘技术领域。该机械工业除尘设备,包括滤框,滤框的内侧壁均固定连接有弧形块,且每个弧形块的上表面均固定连接有竖杆,且每个竖杆的外表面从上到下依次固定连接有安装块和活动板,每个活动板的下表面位于竖杆两侧的位置均固定连接有连接块。该机械工业除尘设备,通过设置连接块、斜板、第一弹簧、滑块和滑杆,从而当弧形板向竖杆的内部进行移动时,通过第一弹簧可以使滑块向竖杆的方向移动,然后通过斜板可以使活动板向上移动,进一步的可以使安装块向上移动,从而方便电磁棒的拆卸,从而解决了现有的处理方式无法对废水中的铁屑进行收集,从而会对铁屑造成一定浪费的问题。

标签:
废水处理
江苏 - 苏州 来源:北方有色网 2023-03-19
工业污水处理用加热器
工业污水处理用加热器 1097     
 0

本实用新型公开了一种工业污水处理用加热器,包括第一加热箱和第二加热箱,所述第一加热箱和第二加热箱的左侧均固定安装有进水管,所述第一加热箱的右侧固定安装有控制面板,所述第一加热箱的正面和第二加热箱的背面均固定安装有泄压管,所述第一加热箱和第二加热箱的右侧均固定安装有排水管。该工业污水处理用加热器,利用两个加热箱交错为工业废水加热,通过设置螺旋式加热器、第一蒸汽输送管和第二蒸汽输送管,利用螺旋式加热器为第一加热箱内的污水加热,当第一加热箱内产生大量的高压蒸汽时,利用第二蒸汽输送管将高压蒸汽充入第二加热箱内,利用高压蒸汽为第二加热箱内的污水加热,实现了节能减排的目的。

标签:
废水处理
江苏 - 苏州 来源:北方有色网 2023-03-19
磷酸铁废水处理系统
磷酸铁废水处理系统 877     
 0

本实用新型涉及工业废水处理技术领域,提供一种磷酸铁废水处理系统,包括:第一预处理装置和第二预处理装置,分别用于对磷酸铁母液和磷酸铁洗水进行预处理;蒸发浓缩装置,分别与所述第一预处理装置、所述第二预处理装置连通,用于对母液澄清滤液和浓水A进行蒸发浓缩,并得到浓水B;离心装置,所述离心装置与所述蒸发浓缩装置连通,用于对浓水B进行离心;冷却结晶装置,所述冷却结晶装置与所述离心装置连通,用于对离心后的产物进行冷却结晶;干燥装置,所述干燥装置分别与所述离心装置、所述冷却结晶装置连通,用于对离心后和冷却结晶后的产物进行干燥,从而回收利用硫酸铵、磷酸氢铵、硫酸镁和纯水,达到资源回收和零排放的目的。

标签:
废水处理
江苏 - 苏州 来源:北方有色网 2023-03-19
上一页 181 182 183 184 185 ... 201 下一页
共201页    到第

北方有色为您提供最新的江苏苏州有色金属环境保护技术理论与应用信息,涵盖发明专利、权利要求、说明书、技术领域、背景技术、实用新型内容及具体实施方式等有色技术内容。打造最具专业性的有色金属技术理论与应用平台!

全国热门有色金属设备推荐
展开更多 +
全国热门有色金属技术推荐
展开更多 +

 

江西省隆恩特环保设备有限公司
宣传

报名参会
更多+

报告下载

有色专家
更多+

矿冶科技集团有限公司
党委书记 / 董事长
矿冶科技集团有限公司
所长/研究员级高工
湖南科技大学
所长/教授
中冶沈勘秦皇岛工程技术有限公司
原矿山院院长/教授级高工
中国有色金属工业协会
教授级高级工程师
赤泥综合利用研究报告2025
推广

热门技术
更多+

推荐企业
更多+

福建省金龙稀土股份有限公司
宣传

发布

在线客服

公众号

电话

顶部
咨询电话:
010-88793500-807