青岛垚鑫智能科技有限公司
宣传

位置:中冶有色 >

有色技术频道 >

> 废水处理技术

分类:
全部
矿山技术
冶金技术
材料制备及加工技术
环境保护技术
分析检测技术
 
全部
废水处理技术
大气治理技术
固/危废处置技术
土壤修复技术
地区:
全部
北京
天津
上海
重庆
河北
山西
辽宁
吉林
黑龙江
江苏
浙江
安徽
福建
江西
山东
河南
湖北
湖南
广东
海南
四川
贵州
云南
陕西
甘肃
青海
内蒙
广西
西藏
宁夏
新疆
其他
其他
展开
 
全部
杭州
宁波
温州
绍兴
湖州
嘉兴
金华
衢州
台州
丽水
舟山

浙江嘉兴有色金属废水处理技术理论与应用

免费发布技术信息>>
高效型面料染色废水处理设备

本实用新型公开了一种高效型面料染色废水处理设备,包括加工箱,所述加工箱的顶部固定连接有水泵,所述水泵的左侧连通有进水管,所述水泵的右侧通过导管贯穿加工箱并延伸至加工箱的内腔连通有喷淋头,所述加工箱的内腔设置有过滤装置,所述加工箱的内壁且位于过滤装置的下方固定连接有第一导流板,且第一导流板的底部连通有第一导流管,第一导流管的下方设置有混合装置。本实用新型通过加工箱、水泵、喷淋头、过滤装置、混合装置、沉淀箱、进气装置和回流装置的设置,达到了废水处理效率高的效果,同时解决了现有的染色废水处理设备存在着处理效率低下的缺陷,降低纺织染整企业的生产效率,增加生产成本的问题。

标签:
废水处理
浙江 - 嘉兴 来源:中冶有色网 2023-03-19
增塑剂生产中的废水回收装置

本发明公开了一种增塑剂生产中的废水回收装置,包括装置本体,所述装置本体为空腔结构,所述装置本体的一侧分别连接有进水管和出水管,其中进水管位于出水管的上方,所述装置本体的顶端一侧设有开口,开口的一侧内壁上铰接有顶板,所述装置本体的顶端另一侧设有进料斗,进料斗内设有水平设置的挡板,所述装置本体靠近进料斗的一侧内壁上安装有推杆电机,且推杆电机的输出轴与挡板的一端固定连接,所述进料斗的底端连接有竖直设置的导流管,所述装置本体靠近顶板的一侧内壁上焊接有导流架。本发明设计合理,占地面积小,易操作,方便控制添加剂出料量和出料选择,并对废水与中和材料进行充分混合,提高废水的回收质量和效率。

标签:
废水处理
浙江 - 嘉兴 来源:中冶有色网 2023-03-19
印染废水高效预处理装置

本实用新型提供了一种本印染废水高效预处理装置,属于机械技术领域。它解决了现有技术存在着稳定性差的问题。本印染废水高效预处理装置,包括内部为空腔的壳体,本装置还包括隔板一、隔板二、隔板三和加药管,上述隔板一竖直的固连在壳体内,隔板一将壳体内部分隔为左右相邻的两个腔体:腔体一和腔体二,上述隔板二和隔板三固连在腔体一处,上述隔板一和壳体之间形成进水腔一,上述隔板二和隔板三之间形成进水腔二,上述隔板三和壳体之间形成加药腔,上述加药管固连在壳体上且加药管下端位于加药腔内,加药管外端伸出壳体,上述隔板一上还具有通水孔且通水孔将加药腔与腔体二相连通。本本印染废水高效预处理装置稳定性高。

标签:
废水处理
浙江 - 嘉兴 来源:中冶有色网 2023-03-19
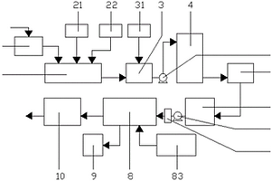
镀锌废水处理装置
镀锌废水处理装置 948     
 0

本实用新型提供一种镀锌废水处理装置,属于金属镀锌技术领域。它包括反应池、沉淀池、薄膜过滤器,第一送液管的一端连接镀锌炉,第一送液管的另一端连接冷却桶的上端,第一送液管上设置有截止阀和驱动泵,冷却桶内设置有隔油膜,第二送液管的一端连接于冷却桶的下端,第二送液管的另一端连接反应池,搅拌机构的搅拌轴和搅拌电机同轴连接,搅拌轴的下端设置有搅拌叶片,送料机构的送料螺杆的一端和送料电机同轴连接,第三送液管的两端分别连接反应池和沉淀池,沉淀池还通过第四送液管连接清水池,第四送液管内设置有薄膜过滤器。本实用新型实现氢氧化钠的自动精准定量投放,有效提高了镀锌废水的处理效果。

标签:
废水处理
浙江 - 嘉兴 来源:中冶有色网 2023-03-19
废水过滤净化设备
废水过滤净化设备 966     
 0

本实用新型公开了一种池式废水过滤净化设备。主要由一个能形成自重压力的进水用的废水竖管,和围绕该管设置的集水井管,两者之间填以过滤物层,如自然土,经过吸附过滤的过滤水由抽水泵抽取后供循环使用。本设备结构简单,投入少。特别适合于以悬浮物为主的、和毒性易于自然降解的情况。因此,也可以相应地降低其他必要的处理要求。

标签:
废水处理
浙江 - 嘉兴 来源:中冶有色网 2023-03-19
DMF与DMAC高浓度废水生物处理系统及处理方法

本发明涉及水处理技术领域,尤其是一种DMF与DMAC高浓度废水生物处理系统,包括调节池、厌氧生物反应器、氨吹脱塔、缺氧池、好氧活性污泥池、生物载体流动床、二沉池。一种DMF与DMAC高浓度废水生物处理方法,废水收集进入调节池,在调节池内加药剂调节后,通过输送泵输送至厌氧生物反应器,厌氧生物反应器出水通过输送泵输送至氨吹脱塔进行氨氮吹脱,氨吹脱塔的出水进入缺氧池,缺氧池的出水进入好氧活性污泥池,进入生物载体流动床,最终进入二沉池进行沉淀后,二沉池的出水达标排放。本发明的处理系统及其处理方法,能够有效处理高浓度、有毒、难降解有机物质,且能够耐受较高的负荷,COD去除效率较普通的厌氧反应器高。

标签:
废水处理
浙江 - 嘉兴 来源:中冶有色网 2023-03-19
用于处理电镀废水的BAF反应器

本发明供了一种用于处理电镀废水的BAF反应器,属于环境工程技术领域。它解决了现有电镀废水反应器中污染物去除率较低等技术问题。一种用于处理电镀废水的BAF反应器,反应器包括一反应池,反应池由一隔板分割为反应室一和反应室二,反应室一内设有以硬质泡沫塑料为填料的滤层一,反应室二内设有以球形轻质生物陶粒作为填料的滤层二,反应器还包括分别与反应室一和反应室二相联通的进水池和出水池,反应室二与一个供氧曝气池相连,隔板上设有联通反应室一和反应室二的过水孔。本发明具有去除率高、操作简单有效等优点。

标签:
废水处理
浙江 - 嘉兴 来源:中冶有色网 2023-03-19
提高超滤膜法预处理养猪废水通量的方法

本发明公开了一种提高超滤膜法预处理养猪废水通量的方法,属于畜禽养殖废弃物的处理技术领域,该方法按以下步骤进行:(1)养猪废水的混凝预处理,(2)残留铁盐的络合稳定处理,(3)混凝后出水的超滤处理。本发明具有的优点是:铁系混凝剂加入养猪废水后形成絮体速度快、沉降性能好、冬季低温处理效果好、对进水水质适应性强,不需要加入聚丙烯酰胺(PAM)等助凝剂即可实现较好混凝沉淀效果,络合稳定剂的加入可将混凝后出水中残留铁盐完全络合,避免出水中三价铁水解生成胶体析出对后续超滤膜运行造成负面影响,与不加入络合稳定剂进行超滤处理相比,经络合稳定处理后超滤处理的膜通量更高。

标签:
废水处理
浙江 - 嘉兴 来源:中冶有色网 2023-03-19
印染废水回收利用装置

本实用新型涉及印染废水处理技术领域,尤其为印染废水回收利用装置,包括箱体、溶气气浮机、筛网筒以及活性吸附碳,所述箱体右侧底端安装有排水管,所述箱体顶端安装有溶气气浮机,所述溶气气浮机右侧固定连接有导气管,所述溶气气浮机左侧位于箱体顶端安装有注水盖,所述箱体内部顶端安装有筛网筒,所述筛网筒顶端安装有手提杆,所述箱体内部安装有第一斜板,整体装置简单,能够有效保障初级筛分效果避免装置堵塞,从而提高了装置的稳定性,同时通过溶气进行固液分离且进行吸附消毒以及多次过滤使印染废水达到回收再利用标准,大大提高了装置的高效性,具有一定的推广价值。

标签:
废水处理
浙江 - 嘉兴 来源:中冶有色网 2023-03-19
畜禽养殖废水处理工艺

本发明公开了畜禽养殖废水处理工艺,属于畜禽养殖废弃物的处理技术领域,该方法包括如下步骤:重力沉淀预处理、絮凝处理、特种超滤处理、纳滤处理、反渗透处理、曝气生物滤池处理。本发明以膜技术为核心,提供一整套全流程的对于畜禽养殖废水中有机物、氮、磷等具有良好的分离去除效果,达到畜禽养殖业污染物排放标准,出水可回用于冲洗猪舍、猪场景观用水、冲厕等用途,并具有广泛适用性的适于各种不同清粪工艺畜禽养殖废水零排放的技术工艺。

标签:
废水处理
浙江 - 嘉兴 来源:中冶有色网 2023-03-19
用于印染废水的过滤设备

本实用新型提供了一种用于印染废水的过滤设备。它解决了现有废水过滤装置中的过滤网在使用一段时间后,就会出现堵塞,过滤不稳定等技术问题。本用于印染废水的过滤设备,包括机架,机架上固定有上部具有开口的过滤箱,过滤箱的上端侧部具有进水口,过滤箱的下端侧部具有出水口,过滤箱的中部固定有支撑环,机架上设置有能将开口封闭住的箱盖,箱盖与一能带动其上下移动的移动结构相连,箱盖上竖直设置有内部具有空腔的若干转轴,转轴上端与一能带动其转动的动力结构相连,转轴下端和呈螺旋形的毛条相连,箱盖上通过固定杆连接有滤网,且滤网能与支撑环相抵靠。本实用新型具有过滤可靠的优点。

标签:
废水处理
浙江 - 嘉兴 来源:中冶有色网 2023-03-19
多样性印染废水的风路处理系统

本实用新型公开了一种多样性印染废水的风路处理系统,包括依次连接的曝气调节池、第一气浮池、加药池、初沉池、调碱池、水解池、生化池、终沉池和回用排放水池,还包括二沉池、裂解反应器和第二气浮池,所述生化池连接二沉池,二沉池连接裂解反应器,裂解反应器连接第二气浮池,第二气浮池连接终沉池,还包括裂解鼓风机、生化池鼓风机和水解池鼓风机,裂解鼓风机连接裂解反应器,生化池鼓风机连接生化池,水解池鼓风机分别连接曝气调节池和水解池。本实用新型的有益效果为:采用了本系统对印染污水进行处理后,不仅产生的最终废水少,而且对于大部分的废水和污泥可以进行回收再利用,达到了节能减排的效果。

标签:
废水处理
浙江 - 嘉兴 来源:中冶有色网 2023-03-19
适用于阴离子染料废水处理的吸附剂及其制备方法

本发明公开了一种适用于阴离子染料废水处理的吸附剂,以硅胶为原料,引入多胺修饰,多胺在中性至弱碱性的水中容易质子化而呈现阳离子特性,因此能够捕捉阴离子染料废水中的阴离子物质,在强碱性条件下又可以去质子化而呈电中性,实现重复利用;然后将季铵盐阳离子表面活性剂所带的活性位点进一步引入多胺修饰的硅胶中,结合多胺修饰的硅胶的链式结构与聚硅硫酸铝缠绕结合,赋予整个吸附剂产品良好的吸附性能和脱色效果。

标签:
废水处理
浙江 - 嘉兴 来源:中冶有色网 2023-03-19
印染废水的循环利用方法

本发明公开了一种印染废水的循环利用方法,属于印染水处理技术领域,其技术要点包括将印染废水排放入原水沟内经水泵将提升到初沉池内,与废酸或废碱反应后得到沉淀;接着水体再经导管排放到气浮池内脱色,再排入到氧化沟内充分曝气后经水泵排入到储存箱内暂存,随后再排入到好氧生化池内进行净化处理;然后再经由二沉池处理后的水体一部分重新排放到车间内,并作为喷水织布机用水使用,待完成喷水织布后的水体可再次作为染色用水使用。而另一部分的水体检测合格后排入市政管网内。本发明减少了水体中的有机物的含量,提高了对印染废水的重复利用率,节约了后续处理的成本;同时还有利于提高纤维之间连接的强度,增强了布匹的抗拉强度和牢固度。

标签:
废水处理
浙江 - 嘉兴 来源:中冶有色网 2023-03-19
环保型造纸废水处理装置

本实用新型公开了一种环保型造纸废水处理装置,包括搅拌壳体,所述搅拌壳体底部焊接有底座,所述搅拌壳体一侧顶部外壁开有第一通孔,且第一通孔内壁通过螺纹连接有进污管,所述搅拌壳体底部外壁焊接有第二安装架,且第二安装架顶部外壁通过螺栓连接有电动机,所述搅拌壳体底部一侧内壁通过螺栓连接有抽水泵,且抽水泵输出端通过螺纹连接有抽水管,所述搅拌壳体一侧外壁焊接有第一支撑架,且第一支撑架一侧外壁焊接有物料桶。本实用新型通过设置有紫外线消毒灯,可以将过滤后的废水进行消毒杀菌,有利于废水的循环使用,砾石过滤层、天然沸石填充层和活性炭过滤层,有利于过滤后的废水能达到排放要求。

标签:
废水处理
浙江 - 嘉兴 来源:中冶有色网 2023-03-19
丙烯酰胺改性玉米秸秆/醇胺改性聚苯乙烯多孔树脂复合吸附剂在印染废水中的应用

本发明提供了丙烯酰胺改性玉米秸秆/醇胺改性聚苯乙烯多孔树脂复合吸附剂的制备方法:将65‑74份丙烯酰胺改性玉米秸秆和58‑67份醇胺改性聚苯乙烯多孔树脂于混合机中,加入100‑150份去离子水,混合均匀后,球磨1h,再55℃真空干燥箱中烘干,得到印染废水高效处理剂。丙烯酰胺改性玉米秸秆/醇胺改性聚苯乙烯多孔树脂复合吸附剂用于处理印染废水中,可以充分去除印染废水中的染料,具有广阔的应用前景。

标签:
废水处理
浙江 - 嘉兴 来源:中冶有色网 2023-03-19
利用纤维素基集成Fenton催化剂Fe3+C2O4/R深度处理印染废水的方法

本发明公开了一种利用纤维素基集成Fenton催化剂Fe3+C2O4/R深度处理印染废水的方法,将印染废水经筛网过滤后储存至调节池,经氯化钙脱稳预处理后投入少量纤维素基絮凝剂进行混凝沉淀,静置沉淀后的上清液加入纤维素基集成Fenton催化剂Fe3+C2O4/R进行氧化降解,最终得到水质良好的处理出水。本发明将预过滤的印染废水进行纤维素基絮凝剂和纤维素基集成Fenton催化剂的絮凝沉淀和氧化降解处理,降低了絮凝剂的用量和污泥产生量,且污泥可生物降解,同时通过深度处理也进一步提高了外排出水的水质,降低了生产成本,工艺过程环保高效,具有良好的经济和社会意义。

标签:
废水处理
浙江 - 嘉兴 来源:中冶有色网 2023-03-19
印染工艺废水净化回收系统

本实用新型公开了一种印染工艺废水净化回收系统,包括格栅池、PH调节池、曝气沉淀池、厌氧反应罐、提升水泵、氧化反应池、初级过滤池、超滤过滤装置、滤液洗液收集池和渗透液收集池,与现有技术相比,本实用新型结构简单,设计合理,通过将格栅池、PH调节池、曝气沉淀池、厌氧反应罐、提升水泵、氧化反应池、初级过滤池、超滤过滤装置、滤液洗液收集池和渗透液收集池有机结合的方式,对印染工艺废水进行综合,全面的过滤与净化,使得废水在经过净化后,可以重新进入到印染工艺的水循环过程中,大大提升了废水的利用率,值得推广。

标签:
废水处理
浙江 - 嘉兴 来源:中冶有色网 2023-03-19
处理氨氮废水的新型装置

本实用新型公开了一种处理氨氮废水的装置。目前的处理装置均只对其中的一种废水进行处理,尚无适用于不同浓度的氨氮废水处理装置。本实用新型的特征在于它由第一预处理系统、第二预处理系统、反渗透系统、电渗析系统和蒸发结晶系统组成,所述的第一预处理系统连接在反渗透系统的进液端,所述的第二预处理系统连接在电渗析系统的进液端;所述的反渗透系统由一级和二级反渗透装置串联而成,电渗析系统由一级、二级和三级电渗析装置串联而成,二级电渗析装置通过管路与蒸发结晶系统连接。本实用新型可以同时处理高、低浓度两种不同浓度的氨氮废水。

标签:
废水处理
浙江 - 嘉兴 来源:中冶有色网 2023-03-19
带保温功能的蒸汽废水热量回收装置

本发明提供了一种带保温功能的蒸汽废水热量回收装置,属于机械技术领域。它解决了现有制革产业中蒸汽废水热能不能有效回收利用等技术问题。一种带保温功能的蒸汽废水热量回收装置,包括储热箱,储热箱的下部一侧固设有进气管,储热箱的上部一侧固设有出气管,进气管上固设有气泵,进气管通过单向阀封闭,单向阀能朝储热箱内打开,出气管上固设有阀门;储热箱内部固设有导热网板,导热网板将储热箱分隔成上腔室和下腔室,上腔室用于储存热气。本发明具有回收利用蒸汽废水中热量的优点。

标签:
废水处理
浙江 - 嘉兴 来源:中冶有色网 2023-03-19
玻纤废水回用工艺
玻纤废水回用工艺 1094     
 0

本发明公开了一种玻纤废水回用工艺,包括以下步骤:(1)收集玻纤废水,通过调节池调节水质、水量均衡,然后送至反应池;(2)向反应池中添加药剂与玻纤废水反应,然后送至浅层气浮进行第一次固液分离,得到第一分离液,COD300‑500mg/L;(3)将第一分离液进行生化处理,降低COD至150mg/L,得处理液;(4)将处理液通过MBR系统进行第二次固液分离,降低COD至60‑100mg/L,得到第二分离液;(5)将第二分离液通过保安过滤器进行过滤,然后再通过RO系统进行过滤,得到回用水并送至生产用水点。该工艺流程简单实用,污水处理效率高,操作运行维护简单,经过处理后的玻璃纤维废水,可达到企业纯水回用要求。

标签:
废水处理
浙江 - 嘉兴 来源:中冶有色网 2023-03-19
高浓度硝酸盐废水浓缩装置

本实用新型公开了一种高浓度硝酸盐废水浓缩装置,包括反应釜,反应釜顶部安装有搅拌电机,搅拌电机固定有搅拌桨,反应釜连接有进液管和热气管,反应釜顶部通过出气管连接真空机组,出气管安装有换热器,反应釜底部连接有出液管,出液管出液端连通冷却釜顶端,冷却釜内从上至下装有多个挡板,冷却釜装有位于挡板下方的过滤网,冷却釜内壁设有第一空腔,挡板内设有第二空腔,第一空腔连接有冷气管。使用时,通过冷气管向第一空腔内吹入冷气对冷却釜内废水进行冷却,同时第一空腔内冷气会进入第二空腔对挡板进行冷却,使得废水在多个挡板上多次流动时进一步充分接触冷却,加速其冷却结晶速度。

标签:
废水处理
浙江 - 嘉兴 来源:中冶有色网 2023-03-19
废水悬浮物的一级处理装置

本发明公开了一种废水悬浮物的一级处理装置,包括污水池,所述污水池的外侧壁对称固定连接有两个集渣池,此废水悬浮物的一级处理装置结构简单,过滤网能够将废水表面的悬浮物阻隔,当需要清理逐渐被累积的悬浮物时,通过接通外部电源,当集渣槽向上移动到超过瓷砖时,活塞杆抵在第二固定板的下端面,让活塞相对气缸向下移动,随着集渣槽的向上移动,刮杆在第三弹簧的作用下不断的插入过滤网的孔洞中,将孔洞堵塞的污泥等废物捣碎,倒刺的设置也进一步的将污泥捣碎,疏通了过滤网,提高了废水的通过效率,省时省力,方便快捷。

标签:
废水处理
浙江 - 嘉兴 来源:中冶有色网 2023-03-19
多样性印染废水处理系统

本实用新型公开了一种多样性印染废水处理系统,包括依次连接的曝气调节池、第一气浮池、加药池、初沉池、调碱池、水解池、生化池、终沉池和回用排放水池,还包括二沉池、裂解反应器和第二气浮池,生化池连接二沉池,二沉池连接裂解反应器,裂解反应器连接第二气浮池,第二气浮池连接终沉池。本实用新型的有益效果为:采用了本系统对印染污水进行处理后,不仅产生的最终废水少,而且对于大部分的废水和污泥可以进行回收再利用,达到了节能减排的效果。

标签:
废水处理
浙江 - 嘉兴 来源:中冶有色网 2023-03-19
节能的废水蒸发浓缩处理装置

本实用新型属于废水减量化处理技术领域,具体公开了一种节能的废水蒸发浓缩处理装置,所述废水蒸发浓缩处理装置包括产生湿热空气的蒸发塔、冷凝除湿箱、热泵装置和空气回流装置。热泵装置包括依次连接的蒸发器、压缩机、冷凝器和节流装置。冷凝除湿箱包括下箱体和上箱体。下箱体内安装有对湿热空气进行冷凝的蒸发器,湿热空气经蒸发器分离为冷凝水和干冷空气。上箱体内安装有对干冷空气进行加热的冷凝器,蒸发器冷凝湿热空气所吸收的热量经冷凝器排放到干冷空气中,实现对干冷空气的加热,使干冷空气变为干热空气。利用蒸发器所吸收的热量对干冷空气进行加热,实现了余热的回收再利用,节约了废水蒸发浓缩处理装置的能耗。

标签:
废水处理
浙江 - 嘉兴 来源:中冶有色网 2023-03-19
多功能废气废水回收再利用方法

本发明是提供一种多功能废气废水回收再利用方法,特别涉及一种以废动植物油为原料生产生物柴油工艺中的多功能废气废水回收再利用方法。应用这种方法既能能将传统生产工艺中常常要排放到环境中的低沸点、短碳链酯、烷烃等具有恶臭的“裂解气”,进行回收并经处理后送到锅炉中作为燃料进行充分燃烧,保持排放的气体符合国家环保标准;同时还能将传统生产工艺中出现具有恶臭的“工作水”经处理后重新进入泵腔循环使用,无需排放到环境中,每天可节约近百吨的水资源又防止了对环境的污染。

标签:
废水处理
浙江 - 嘉兴 来源:中冶有色网 2023-03-19
涤纶织物染色一浴法工艺用的废水处理设备

本实用新型公开了一种涤纶织物染色一浴法工艺用的废水处理设备,涉及到纺织废水处理技术领域,包括管道泵,管道泵的底端固定连接有一级过滤管,一级过滤管的底端设置有连接管,连接管的底端设置有二级过滤管,二级过滤管的底端设置有排水管,一级过滤管包括固定板,固定板的上表面中部固定连接有支撑板和环形挡板,支撑板和环形挡板之间的缝隙内插接连接有过滤网板。本实用新型通过设置固定管和过滤网板,废水经过管道泵进入一级过滤管后,废水中的纤维被过滤网板过滤,过滤网板垂直设置在一级过滤管内,从而避免了纤维的堆积影响过滤网板的正常工作,从而使得装置的实用性得到提升。

标签:
废水处理
浙江 - 嘉兴 来源:中冶有色网 2023-03-19
染色废水高效回用装置
染色废水高效回用装置 1233     
 0

本实用新型公开了一种染色废水高效回用装置,属于废水回收技术领域,所述包括箱体,所述箱体底部左侧安装有支架A,所述箱体底部右侧安装有支架C,所述支架C右侧安装有按钮盒,所述箱体底部中间安装有连接柱且连接柱贯穿箱体底部,所述连接柱顶部安装有涡扇,所述连接柱底部安装有驱动器,所述驱动器底部安装有电机A,所述箱体内侧壁左侧安装有过滤盒且过滤盒呈对称安装在箱体内侧壁右侧,所述支架A外侧壁左侧焊接有固定板,所述固定板顶部安装有电机B,所述电机B输出端安装有联轴器。本实用新型通过过滤盒将废水内的棉絮清除从而不会影响染色效果,通过泵箱传输废水从而减去人力运输增加染色效率,适合被广泛推广和使用。

标签:
废水处理
浙江 - 嘉兴 来源:中冶有色网 2023-03-19
粽子生产中的废水处理装置

本实用新型公开了一种粽子生产中的废水处理装置,属于废水处理装置技术领域。本实用新型包括过滤池、综合氧化池、膜反应池以及砂滤池,所述过滤池中间固定设置有挡板并被挡板分隔为隔渣池和隔油池,所述挡板的下半部分设置为网状结构且在网状结构上设置有吸油棉,所述隔渣池的开口处可转动的设置有滤板,所述隔渣池的外侧壁上设置有配合于滤板的储渣槽;所述综合氧化池与过滤池之间设置有三级沉淀池;所述膜反应池连通于所述综合氧化池;所述砂滤池与膜反应池相连通且砂滤池采用活性砂滤器,所述砂滤池上设有溢流管以便于水流输出。本实用新型能有效的处理粽子生产中的废水,使得废水可循环利用,既环保卫生又能节约水资源。

标签:
废水处理
浙江 - 嘉兴 来源:中冶有色网 2023-03-19
高盐废水排放处理系统

本实用新型提出了一种高盐废水排放处理系统,包括废水收集池、调节处理池、多介质过滤器、电渗析处理装置、混凝沉淀单元、蒸发结晶单元、纳滤单元和反渗透除盐装置,所述废水收集池的出水端与调节处理池相连,所述调节处理池的输出端与多介质过滤器相连,所述多介质过滤器的输出端与电渗析处理装置相连,所述电渗析处理装置的浓水出水端与混凝沉淀单元相连,所述电渗析处理装置的产水出水端与纳滤单元相连,所述纳滤单元的出水端和反渗透除盐装置相连,所述反渗透除盐装置的产水端与电渗析处理装置相连,所述反渗透除盐装置的浓水出水端、混凝沉淀单元的出水端分别与蒸发结晶单元相连能够处理高浓度含盐废水,可有效地减少环境污染。

标签:
废水处理
浙江 - 嘉兴 来源:中冶有色网 2023-03-19
上一页 12 13 14 15 16 ... 25 下一页
共25页    到第

中冶有色为您提供最新的浙江嘉兴有色金属废水处理技术理论与应用信息,涵盖发明专利、权利要求、说明书、技术领域、背景技术、实用新型内容及具体实施方式等有色技术内容。打造最具专业性的有色金属技术理论与应用平台!

全国热门有色金属设备推荐
展开更多 +
全国热门有色金属技术推荐
展开更多 +

 

江西省隆恩特环保设备有限公司
宣传

报名参会
更多+

报告下载

有色专家
更多+

太原理工大学
院长/教授
矿冶科技集团有限公司
中国工程院院士
中南大学
中国工程院院士
洛阳有色矿业集团有限公司
生产技术部经理
矿冶科技集团
中国工程院院士
赤泥综合利用研究报告2025
推广

热门技术
更多+

推荐企业
更多+

福建省金龙稀土股份有限公司
宣传

发布

在线客服

公众号

电话

顶部
咨询电话:
010-88793500-807