青岛垚鑫智能科技有限公司
宣传

位置:中冶有色 >

有色技术频道 >

> 废水处理技术

分类:
全部
矿山技术
冶金技术
材料制备及加工技术
环境保护技术
分析检测技术
 
全部
废水处理技术
大气治理技术
固/危废处置技术
土壤修复技术
地区:
全部
北京
天津
上海
重庆
河北
山西
辽宁
吉林
黑龙江
江苏
浙江
安徽
福建
江西
山东
河南
湖北
湖南
广东
海南
四川
贵州
云南
陕西
甘肃
青海
内蒙
广西
西藏
宁夏
新疆
其他
其他
展开
 
全部
杭州
宁波
温州
绍兴
湖州
嘉兴
金华
衢州
台州
丽水
舟山

浙江嘉兴有色金属废水处理技术理论与应用

免费发布技术信息>>
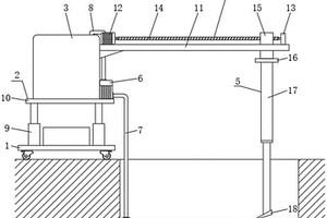
废水取样装置中的集液瓶组件

本实用新型公开了废水取样装置中的集液瓶组件,包括瓶体、伸缩杆和连接架;瓶体:顶端的左右两侧均设有固定座,所述固定座的外侧面设有凹槽,所述伸缩杆固定在固定座外侧面的凹槽内,所述连接架的一端与伸缩杆的外侧端转动连接,所述连接架的另一端与导流防护壳顶端的中部固定连接,拉动伸缩杆使导流防护壳从瓶体的外侧离开,转动连接架使导流防护壳移动到瓶口处,从而防止液体倾倒时顺着瓶体流出造成浪费,所述固定座的顶端设有遮挡单元;其中:还包括遮光套和防滑纹,所述遮光套套接在瓶体的外侧面,所述防滑纹均匀分布在瓶体的下表面,所述防滑纹为橡胶,该废水取样装置中的集液瓶组件,功能多样,密封性好,实用性强。

标签:
废水处理
浙江 - 嘉兴 来源:中冶有色网 2023-03-19
皮革废水加工循环利用装置

本申请公开了一种皮革废水加工循环利用装置,其包括箱体、设置于箱体顶部的盖体、设置于盖体顶部的进液口和设置于箱体底部的排液口,还包括设置于箱体内的曝气组件、与曝气组件相配合的防堵塞组件,所述曝气组件包括水平设置于箱体内的曝气管、设置于曝气管外侧壁顶部且与曝气管相连通的若干连通块、与连通块另一端相连通的卡箍、设置于卡箍上带有若干微型气孔的薄膜。有益效果:改变氨氮气体溶解于废水中所建立的气液平衡关系,使氨氮由液体转为气体。

标签:
废水处理
浙江 - 嘉兴 来源:中冶有色网 2023-03-19
EHBR废水处理净化装置
EHBR废水处理净化装置 776     
 0

本实用新型涉及EHBR废水处理技术领域,尤其为一种EHBR废水处理净化装置,包括EHBR膜主体以及夹排,所述EHBR膜主体的左右两侧均固定安装有安装板,所述第二连接板的右侧设置有流速控制机构,所述流速控制机构的内部设置有流速控制管,所述流速控制机构的右侧设置有进气端,所述夹排的正面中心处以及下表面均设置有把手柄螺栓,所述夹排上均匀分布有多个贯穿槽,本实用新型通过设置的流速控制管,通过将流速控制管道设置成螺旋状,当在气流过大时通过流速控制管道时会将气流产生的冲击力均匀的向四周分散,避免气流直接流入EHBR膜主体的内部,使得EHBR膜主体的内部某处一处单独承受气流的冲击,使得设备使用时,能够减少气流冲击,延长EHBR膜主体的使用寿命。

标签:
废水处理
浙江 - 嘉兴 来源:中冶有色网 2023-03-19
高浓度脱硫有机制药废水处理设备

本实用新型公开了一种高浓度脱硫有机制药废水处理设备,其结构包括电控箱、废水箱、加药泵、盖板、进水口、框体、支脚、出水槽、防护型过滤器本实用新型预留的管段作为安装壳的收纳槽使用,拆装操作时具有活动空隙,结构套接环与卡旋头安装在外管体对应通液口弯曲面上,设计成定位配件,安装壳推入安装时具有支撑性与固合性,拆装方便且通过施加在旋管头、导向环的作用力,能够便于部件的替换,加快了工作人员对部件维修速度且降低繁琐拆装部件造成的系列问题。

标签:
废水处理
浙江 - 嘉兴 来源:中冶有色网 2023-03-19
染布废水处理沉淀池的刮取装置

本实用新型涉及废水处理技术领域,且公开了一种染布废水处理沉淀池的刮取装置,包括带有滚轮的底板,所述底板的顶部设置有升降组件,所述升降组件的顶部固定安装有收集桶,所述收集桶一侧的顶部设置有水平移动组件,所述水平移动组件位于沉淀池的上方,且水平移动组件上设置有刮除组件,所述刮除组件的底端延伸至沉淀池的底部,所述收集桶的一侧底部固定安装有泥浆泵,所述泥浆泵的抽取管沿着沉淀池内壁延伸至沉淀池的底部。本实用新型通过水平移动组件带动刮除组件在沉淀池内移动,便于对沉淀池底的沉淀物进行刮除和聚拢,利用泥浆泵对沉淀物的抽取,实现沉淀物的刮取,方便沉淀池的清理,提高了工作效率。

标签:
废水处理
浙江 - 嘉兴 来源:中冶有色网 2023-03-19
高盐高有机物废水排放处理装置

本实用新型公开了一种高盐高有机物废水排放处理装置,包括曝气桶、析出桶和储存桶,所述曝气桶的桶盖上安装有搅拌装置,所述曝气桶的侧面安装有曝气机,且曝气机的曝气管设置在曝气桶内腔,所述曝气桶的侧面通过带有水泵的连通管与析出桶连通,所述析出桶的侧面通过另一组带有水泵的连通管与储存桶连通,所述连通管倾斜设置,所述曝气桶和桶盖通过多组环形阵列排列的竖向螺栓连接,桶盖的顶端还连通有带有密封盖的进料管,所述曝气桶的下半部设置为漏斗状,且曝气桶的底端连通有带有电磁阀的出料管,所述曝气桶的底端焊接有四组环形阵列排列的支撑腿。该高盐高有机物废水排放处理装置,能够对盐和有机物进行处理,而且处理起来方便快捷。

标签:
废水处理
浙江 - 嘉兴 来源:中冶有色网 2023-03-19
处理废水的多孔陶粒及其制造方法

本发明公开了一种处理废水的多孔陶粒,是具有粉煤灰、污泥, 粘土,辅料经成型后高温烧结,然后经过打散处理而成的球型或柱 型多孔陶粒。本发明的显著特点及有益效果是:以粉煤灰、污泥及 天然粘土为原料生产具有较高经济价值、较长寿命的环保产品,实 现了以废制废的目的。在特定烧制条件下形成与陶结构良好结合的 微孔碳粉末,在废水处理中既可以起到吸附有机物,也具有良好的 生物相容性而成为高负载量的生物固载材料。同时被吸附的有机物 形成局域高浓度区,从而提高了固定床生物滤池的处理效率。当使 用一段时间,污水滤过量明显减少时,可将陶粒材料干燥后,在同 等烧结条件下使其再生,从而实现治污材料的循环使用,并且不再 产生二次污染物。

标签:
废水处理
浙江 - 嘉兴 来源:中冶有色网 2023-03-19
含镍废水处理系统
含镍废水处理系统 760     
 0

本实用新型公开了一种含镍废水处理系统,其特征在于:包括依次连通的混药桶、隔膜泵、压滤机、沉淀桶、收集桶、PP棉滤装置、活性炭装置、超滤装置、多级离心泵和RO膜装置;所述混药桶与进料管连通;所述混药桶与至少1个储药装置连通,所述混药桶和储药装置之间设置有加药泵。本实用新型的含镍废水处理系统,结构简单,使用方便,通过依次连通的混药桶、隔膜泵、压滤机、沉淀桶、收集桶、PP棉滤装置、活性炭装置、超滤装置、多级离心泵和RO膜装置,实现了连续化处理,可使含镍废水经处理达到排放标准,且处理速度快,成本低。

标签:
废水处理
浙江 - 嘉兴 来源:中冶有色网 2023-03-19
丙烯酸及酯类废水生物处理污水池中的曝气装置

本实用新型提供了一种丙烯酸及酯类废水生物处理污水池中的曝气装置,属于废水处理技术领域。本丙烯酸及酯类废水生物处理污水池中的曝气装置,包括固定在污水池上方的机架,所述的机架上固定有送风机,所述送风机的出风口连通有输风总管,其特征在于,所述的机架上还转动设置有输风分管,且输风分管的上端与输风总管相连通,所述的输风分管与一能够带动其转动的驱动机构相连,输风分管的中部沿其周向连通有若干输风支管,所述的输风支管的下端沿其周向连通有若干固定管,所述的固定管上设有曝气组件;输风分管的下端沿其周向连通有若干固定管,所述的固定管上设有曝气组件。本实用新型具有爆气供氧效果好,面积大的特点。

标签:
废水处理
浙江 - 嘉兴 来源:中冶有色网 2023-03-19
用于造纸生产的废水过滤装置

本实用新型公开了一种用于造纸生产的废水过滤装置,涉及环保领域,一种用于造纸生产的废水过滤装置,包括收集箱,所述收集箱的顶端左侧安装有进水管,所述收集箱的右端下方安装有出水管,所述出水管的右端安装有水泵,所述水泵的顶端安装有传输管,所述传输管的另一端安装有过滤箱,所述过滤箱位于收集箱的右侧。本实用新型所述的一种用于造纸生产的废水过滤装置,设置的收集盒,在过滤完成之后,可以完成对纸浆的收集,此结构简单,操作方便,且实现纸浆的重复利用,防止纸浆的浪费,使经济最大化,设置的滑动板,在需要更换活性炭板时,便于对活性炭板的更换,且操作方便,同时还可以便于工作人员对过滤箱的内部进行清洗。

标签:
废水处理
浙江 - 嘉兴 来源:中冶有色网 2023-03-19
针纺织品染色废水处理装置

本发明涉及针纺织品技术领域,且公开了一种针纺织品染色废水处理装置,包括中和罐,所述中和罐的内部活动套接有一号旋转轴,所述一号旋转轴的侧面固定连接有搅拌叶,且一号旋转轴的顶端固定套接在一号电机的输出轴上,一号电机固定安装在中和罐的顶部,中和罐顶部的一侧固定安装有酸碱进液漏斗,且中和罐顶部的另一侧活动套接有胶头滴管,中和罐一侧的顶部固定套接有进废管。该针纺织品染色废水处理装置,通过二号旋转轴、转动轮和二号电机的配合,可以在废液处理的过程中,使化学试剂与废液均匀混合,避免出现反应不彻底的现象,加快了反应的速度,保证了处理的效果,同时也避免了对化学试剂造成浪费,提高了废液处理的效率。

标签:
废水处理
浙江 - 嘉兴 来源:中冶有色网 2023-03-19
染整废水的高效低排处理装置

本实用新型提供一种染整废水的高效低排处理装置,包括第一处理箱,密封盖,吸杂除杂机构,隔水板,第一过滤机构,处理管,第二处理箱,第二过滤机构,所述第一处理箱的上端面上设置有密封盖,且密封盖的一端通过卡扣安装有吸杂除杂机构;所述第一处理箱的内部安装有隔水板,且第一处理箱的内部设置有第一过滤机构,该第一处理箱的底端通过螺纹连接有处理管;所述第二过滤机构包括过滤网,吸附过滤层,高密度防漏网,且过滤网的一侧通过吸附过滤层设置有高密度防漏网。本实用新型吸杂除杂机构,第一过滤机构和第二过滤机构的设置,染整废水中杂质较容易去除,过滤效果好,吸附杂质效果好,能实现高效低排。

标签:
废水处理
浙江 - 嘉兴 来源:中冶有色网 2023-03-19
生化反应的废水高效处理装置

本发明涉及废水处理技术领域,公开了一种生化反应的废水高效处理装置,本发明包括处理池、滤板、抽水集管、拔杆,处理池向上敞口,滤板间隔架设在处理池内,处理池的两端底部对称设有固体废物沉槽,固体废物沉槽上固定设有与其内腔连通的固体废物排管且固体废物排管内设有通止阀,处理池的内壁前后对称固定设有滑槽框。本发明通过将PVDF滤板插入至导向肋板内然后在PVDF滤板与硬质外框板之间的空隙处装填活性炭填料,然后将滤板间隔架设在处理池的上端面,并采用软管将滤板与分管头连通,将沉积于处理池底壁的固体废物推入固体废物沉槽内并在累积一定程度后由固体废物排管处排出,保证处理池内的浑浊度始终处于指定浓度内,有利于提高过滤速度。

标签:
废水处理
浙江 - 嘉兴 来源:中冶有色网 2023-03-19
高PTA废水厌氧深度处理装置

本实用新型公开了一种高PTA废水厌氧深度处理装置,包括处理箱,所述处理箱的内部中间位置固定安装有循环弯管,所述循环弯管的前端表面设有循环进水管,所述循环弯管的后侧表面设有循环出水管,所述处理箱的内侧表面上端固定安装有三相分离装置,所述处理箱的内侧表面上端固定安装有外环板,所述外环板的外表面下端设有排气腔室,所述排气腔室的内部前端固定安装有排气管,所述外环板的内侧表面固定连接有内环板,所述内环板和外环板之间形成排水腔室,所述排水腔室的内部后端固定安装有排水管,所述排气管和排水管的端部均位于处理箱的外侧,这样能够大大提高使用的便利性和稳定性,保证废水处理的安全高效。

标签:
废水处理
浙江 - 嘉兴 来源:中冶有色网 2023-03-19
生物A/O法处理废水的装置

本实用新型公开一种生物A/O法处理废水的装置,其特征在于依次包括调节池、厌氧池、好氧池、终沉池和沉泥池;所述厌氧池被分成厌氧混合池和厌氧提泥池;所述好氧池被分成好氧曝气池和好氧提泥池。本实用新型结构简单,制作成本低,可以根据废水的性质,按需设置多级生物A/O处理装置。

标签:
废水处理
浙江 - 嘉兴 来源:中冶有色网 2023-03-19
废水折点氯化处理装置
废水折点氯化处理装置 1130     
 0

本实用新型公开了一种废水折点氯化处理装置,包括反应槽,反应槽顶部架有安装板,安装板架有朝下并可转动的转轴,转轴顶端固定有进液漏斗,转轴通过电机带动,转轴下部外壁设有多道螺旋槽,螺旋槽内布满出液孔,螺旋槽两侧设有第一弧形板和第二弧形板,第一弧形板与第二弧形板对称设置并呈将螺旋槽合围状,第一弧形板与第二弧形板均布满通孔,第一弧形板、第二弧形板顶部分别连通有第一进液管、第二进液管,反应槽内装有位于转轴下方的过滤网,反应槽内设有PH传感器和ORP传感器。废水在流入反应槽内前,可在螺旋槽内与次氯酸钠以及液碱初次反应,加速反应速度;反应后,流入到反应槽内在搅拌杆旋转带动下被均匀搅拌,从而进一步加速反应。

标签:
废水处理
浙江 - 嘉兴 来源:中冶有色网 2023-03-19
基于生物巢的有机废水处理系统及处理方法

本发明公开了一种基于生物巢的有机废水处理系统及处理方法,该系统包括:依次连通的格栅集水池、预曝布水调节池、斜管初沉池、水解酸化池、超效离子浅层气浮池、生化缺氧池、接触好氧池、延时接触氧化池、高效沉淀池、过滤池和排放汇集池;水解酸化池、接触好氧池和延时接触氧化池内均填装有有机生物巢填料,其由支撑骨架和包裹于支撑骨架外周的无纺布组成,支撑骨架由悬浮球或球形竹篾构成,直径大小为Φ25~Φ200mm,无纺布上开有过水孔。本将有机生物巢填料耦合在有机废水处理系统中,获得的处理系统不仅能够有效去除难分解且分子量大的有机污染物、硫化物、色度,而且对脱氮除磷、难降解抗生素等有极佳的效果。

标签:
废水处理
浙江 - 嘉兴 来源:中冶有色网 2023-03-19
污水站混凝池废水的再利用系统

本发明提供了一种污水站混凝池废水的再利用系统,属于污水处理技术领域。本污水站混凝池废水的再利用系统,包括污水导入机构、中和箱、泥水分离箱和沉淀箱,污水导入机构包括导入壳体和分别位于导入壳体两侧的导入端与导出端,导入壳体内部设有将其内腔分为上下两个腔体的过滤隔板,中和箱与导出端通过排污管一相连接,中和箱上端具有可打开的密封盖一,泥水分离箱与中和箱通过排污管二相连接,泥水分离箱上端具有可打开的密封盖二,沉淀箱与泥水分离箱通过排污管三相连接,沉淀箱内设有二次沉淀机构。本发明将污水重新回收利用,不但可避免污水排放危害环境的现象,而且可降低生产用水的成本,具有较高的实用价值。

标签:
废水处理
浙江 - 嘉兴 来源:中冶有色网 2023-03-19
绿色节能环保废水处理装置

本实用新型涉及废水处理技术领域,尤其是一种绿色节能环保废水处理装置,包括搅拌箱、过滤箱和存储箱,搅拌箱的顶部设有三通管和药剂入口,搅拌箱的内侧壁上设有两个第一轴承座,两个第一轴承座之间连接有第一转动轴,第一转动轴上套接有第一旋转轮,搅拌箱顶部和底部设有两个第二轴承座,两个第二轴承座之间连接有第二转动轴,第二转动轴的下部套接有第二旋转轮,搅拌箱和过滤箱之间设有第一连接水管,过滤箱和存储箱之间设有第二连接水管,存储箱的箱内底部安装有水质检测仪,存储箱和搅拌箱之间连接有第三连接水管,第三连接水管上连接有循环泵,存储箱的底部设有净水出水管。本实用新型结构简单,设计合理,节能环保,值得推广。

标签:
废水处理
浙江 - 嘉兴 来源:中冶有色网 2023-03-19
环保型喷水织机废水循环利用装置

本实用新型公开了一种环保型喷水织机废水循环利用装置,属于废水处理领域,包括底座、蓄水箱和电控箱,所述蓄水箱镶嵌于底座顶端,所述电控箱卡扣安装于蓄水箱一侧表面,所述蓄水箱一侧表面开设有接管口。本实用新型将喷水织机的排水口与蓄水箱一侧表面接管口内部镶嵌的衔接管相互连通,污水通过接管进入蓄水箱内,通过网架内部依次卡扣安装的前置过滤网、金属丝线过滤网和竹炭过滤网对污水进行过滤,从而可过滤掉污水内的杂质纤维以及有害污渍,同时通过蓄水箱内部底端表面镶嵌的紫外线灭菌灯可对污水进行紫外线灭菌,从而对污水进行净化,以便回收利于,通过蓄水箱顶端表面卡扣安装的箱盖,方便打开蓄水箱,对蓄水箱内部结构进行更换维护。

标签:
废水处理
浙江 - 嘉兴 来源:中冶有色网 2023-03-19
高效气浮处理含油废水装置

本实用新型公开了一种高效气浮处理含油废水装置,包括沉淀槽、气浮除油槽和净化槽,所述沉淀槽通过气浮除油槽与净化槽相连,所述沉淀槽内部设置有活性炭沉积室和沙石沉积室,且活性炭沉积室位于沙石沉积室上方,所述沙石沉积室下方设置有排渣板,所述排渣板下方设置有排渣通道,所述排渣通道一端固定连接固液分离机。本实用新型通过设置的过滤格栅和过滤网可以对含油废水进行初步的大杂质过滤,通过设置的活性炭沉积室和沙石沉积室可以将含油废水中的一些绒毛淤泥进行沉淀过滤,通过设置的固液分离机可以对废渣进行最后的分离,有效提高处理效率和质量,通过设置有油水分离机,可以对集油槽内部的废油进行进一步的废油提纯。

标签:
废水处理
浙江 - 嘉兴 来源:中冶有色网 2023-03-19
印染废水的电化学处理设备

本实用新型公开了一种印染废水的电化学处理设备,属于机械领域,包括箱体A,所述箱体A一侧间隙连接有气罐,所述气罐顶部可拆卸连接有管道,所述管道内部镶嵌连接有空气压缩机,所述管道一端活动连接在箱体A内侧底部,即可打开开关接通空气压缩机的电源电流输出端,继而通过其镶嵌连接的管道对与管道配合连接的气罐内进行抽取臭氧,从而通过管道一端输送到箱体A内侧底部,从而对印染废水进行氧化处理,继而对于印染废水处理时使用方法较多,继而不会导致处理效果不佳从而影响污水排放质量。

标签:
废水处理
浙江 - 嘉兴 来源:中冶有色网 2023-03-19
带有金属回收机构的电子废水处理装置

本实用新型公开了一种带有金属回收机构的电子废水处理装置,包括分离箱,所述分离箱的前端设置有旋转机构,所述旋转机构包括第一伺服电机,所述第一伺服电机通过电机座设置在分离箱的左侧前端外壁,所述第一伺服电机的动力输出端通过联轴器传动连接有转轴,所述转轴左端的圆周表面设置有转动齿轮,通过设置的旋转机构,能够带动转动筛筒进行旋转,继而便于对处理后的电子废水进行固液分离,使得液体能够直接排放,金属颗粒能够集中收集,进行后续的处理,降低成本的损失,通过设置的防堵塞机构,能够对转动筛筒内部进行搅拌,避免固体颗粒堵塞转动筛筒的滤孔,提高了电子废水的过滤效率和过滤质量。

标签:
废水处理
浙江 - 嘉兴 来源:中冶有色网 2023-03-19
多样性印染废水的水路处理系统

本实用新型公开了一种多样性印染废水的水路处理系统,包括依次连接的曝气调节池、第一气浮池、加药池、初沉池、调碱池、水解池、生化池、终沉池和回用排放水池,还包括二沉池、裂解反应器和第二气浮池,生化池连接二沉池,二沉池连接裂解反应器,裂解反应器连接第二气浮池,第二气浮池连接终沉池,还包括砂滤罐,回用排放水池的排污口连接砂滤罐。本实用新型的有益效果为:采用了本系统对印染污水进行处理后,不仅产生的最终废水少,而且对于大部分的废水和污泥可以进行回收再利用,达到了节能减排的效果。

标签:
废水处理
浙江 - 嘉兴 来源:中冶有色网 2023-03-19
用于强化废水处理生物膜的药剂与方法

本发明涉及废水处理技术领域,公开了一种用于强化废水处理生物膜的药剂与方法,该药剂通过使用微晶纤维素、淀粉等不易降解的大分子有机物作为营养源可刺激微生物细胞分泌胞外酶,实现对EPS的强化,提高微生物对污染物的降解能力,同时提升微生物之间的粘连强化生物膜等微生物聚集体的形成,达到强化生物膜的目的。

标签:
废水处理
浙江 - 嘉兴 来源:中冶有色网 2023-03-19
印染废水芬顿反应处理系统

本实用新型公开了一种印染废水芬顿反应处理系统,包括芬顿反应器、硫酸储罐和双氧水储罐,所述的芬顿反应器的前端连接有废水进水管,所述的硫酸储罐和双氧水储罐各自与废水进水管连接,所述的芬顿反应器后端连接有沉淀池,所述的芬顿反应器与沉淀池之间通过出水管连接,所述的沉淀池后接污泥池,所述的污泥池后接离心机,所述的离心机出料端聚合硫酸铁反应釜,所述的聚合硫酸铁反应釜下部设有出料管,所述的聚合硫酸铁反应釜通过出料管与储料罐连接,所述的出水管与碱液储罐连接,在出料管上设有过滤器。

标签:
废水处理
浙江 - 嘉兴 来源:中冶有色网 2023-03-19
钢管表面镀膜用磷化废水处理设备

本发明公开了一种钢管表面镀膜用磷化废水处理设备,包括污水初级处理设备和过滤池,所述壳体为圆筒形结构,壳体底部焊接设置有泥斗,泥斗为锥形体,泥斗底部设置有集泥坑,集泥坑下方设置有排泥管;所述壳体内部设置有槽钢架,槽钢架为井字形槽钢焊接架,槽钢架外侧与壳体内壁焊接;所述槽钢架的内部竖向设置有进水中心筒,进水中心筒与槽钢架固定连接,进水中心筒与进水管连通,进水中心筒中心同轴设置有旋转轴,旋转轴上方与减速电机轴连接,旋转轴下方与轴承架轴连接;本发明节省了水资源,节约了成本;占地面积小,设备高度小,投资费用低;排泥彻底,无污泥死角,运行及维修、保养简单、方便,抗废水进水冲击负荷能力强。

标签:
废水处理
浙江 - 嘉兴 来源:中冶有色网 2023-03-19
基于水解酸化—接触氧化工艺的废水处理装置

本实用新型公开了一种基于水解酸化—接触氧化工艺的废水处理装置,包括箱体、侧柱、隔板、外板、清水槽和排出管,所述箱体的顶端安装有废水管,所述卡块固定在内架的边侧,且内架上开设有活动窗,所述侧柱贯穿活动窗,所述隔板和外板均固定在箱体的内壁上,所述外板的顶端固定有第二出水堰,所述清水槽设置在外板的外侧,且清水槽的底端安装有排出管。该基于水解酸化—接触氧化工艺的废水处理装置,采用新型的结构设计,使得本装置将生物膜载体填料置于具有曝气功能的结构上方,保证了生物膜载体填料中的好氧菌能与氧气充分的接触,并且还设计了相关结构使得生物膜载体填料易取出查看,且设计了拦截结构,避免杂质阻塞管道,避免菌落流失。

标签:
废水处理
浙江 - 嘉兴 来源:中冶有色网 2023-03-19
树脂合成废水处理系统

本实用新型公开了一种树脂合成废水处理系统;本实用新型的目的是提供一种结构简单、能有效净化化工废水、当一个预调节池满载或故障后还能继续使用的树脂合成废水处理系统;它包括预调节池、调节池、厌氧池、好氧池一、好氧池二、沉淀池、排放池、污泥池;所述的预调节池有多个且均与调节池通过管路连接;所述的调节池、厌氧池、好氧池一、好氧池二、沉淀池通过管路依次连接;所述的排放池、污泥池分别与沉淀池连接;所述的沉淀池与好氧池一之间设有回流管,在回流管上设有回流泵;所述的调节池与厌氧池之间也设有回流管,在回流管上设有回流泵;它具有结构简单、设计合理和使用方便等特点。

标签:
废水处理
浙江 - 嘉兴 来源:中冶有色网 2023-03-19
制药废水中氯化铵盐浓缩提纯的系统

本实用新型公开了一种制药废水中氯化铵盐浓缩提纯的系统,其特征在于:包括过滤单元、脱盐浓缩单元、生化单元和结晶单元,所述过滤单元的出水口与脱盐浓缩单元的进水口相连通,所述脱盐浓缩单元的淡水出水口与生化单元的进水口相连接,所述脱盐浓缩单元的浓水出水口与结晶单元的进水口相连接。本实用新型中的高含氯化铵盐的制药废水一般为酸性废水,而ED离子膜装置进水要求为酸性条件,因此无需其他预处理,只需过滤杂质便可进水,本实用新型的药剂消耗量小,降低成本;脱盐浓缩单元采用ED离子膜装置,即电渗析技术,其浓缩浓水TDS可达20万mg/L以上,其浓水产量少,可降低后续结晶单元整体成本。

标签:
废水处理
浙江 - 嘉兴 来源:中冶有色网 2023-03-19
上一页 11 12 13 14 15 ... 25 下一页
共25页    到第

中冶有色为您提供最新的浙江嘉兴有色金属废水处理技术理论与应用信息,涵盖发明专利、权利要求、说明书、技术领域、背景技术、实用新型内容及具体实施方式等有色技术内容。打造最具专业性的有色金属技术理论与应用平台!

全国热门有色金属设备推荐
展开更多 +
全国热门有色金属技术推荐
展开更多 +

 

江西省隆恩特环保设备有限公司
宣传

报名参会
更多+

报告下载

有色专家
更多+

鞍钢集团有限公司
中国工程院院士
广西大学
处长/教授
北京科技大学
副院长/教授
长沙有色冶金设计研究院有限公司
正高级工程师/中国铝业首席工程师/全国有色金属行业设计大师/国家注册采矿工程师
长沙有色冶金设计研究院有限公司
党委书记、董事长
赤泥综合利用研究报告2025
推广

热门技术
更多+

推荐企业
更多+

福建省金龙稀土股份有限公司
宣传

发布

在线客服

公众号

电话

顶部
咨询电话:
010-88793500-807