青岛垚鑫智能科技有限公司
宣传

位置:中冶有色 >

有色技术频道 >

> 废水处理技术

分类:
全部
矿山技术
冶金技术
材料制备及加工技术
环境保护技术
分析检测技术
 
全部
废水处理技术
大气治理技术
固/危废处置技术
土壤修复技术
地区:
全部
北京
天津
上海
重庆
河北
山西
辽宁
吉林
黑龙江
江苏
浙江
安徽
福建
江西
山东
河南
湖北
湖南
广东
海南
四川
贵州
云南
陕西
甘肃
青海
内蒙
广西
西藏
宁夏
新疆
其他
其他
展开
 
全部
其他

其他有色金属废水处理技术理论与应用

免费发布技术信息>>
使用最适化的低盐培养基培养THRAUSTOCHYTRIALES属微生物的方法

本发明涉及用于培养THRAUSTOCHYTRIALES属微生物的最适化方法,按照该方法将微生物培养在不添加钠盐和氯盐并且总盐含量少于3.5G/L(相当于少于海水盐含量的10%)的低盐培养基中,随后从微生物和/或培养基中分离PUFAS。本发明特别涉及具有大大降低的总盐含量,尤其是特别降低的NACL含量的新的最适化培养基。通过使用不同盐类的新的组合物作为培养基的成分,可以极大地增加并显着简化PUFAS的生产,而这种培养基中离子的总重量比率不超过1.75G/L。此外,在优选情况下该培养基中完全不添加钠盐和氯盐,这有助于防止由含有盐的废水所引起的环境破坏。

标签:
废水处理
其他 - 其他 来源:中冶有色网 2023-03-19
CO<sub>2</sub>实现的响应性吸附剂的再生和再利用

本发明涉及一种利用CO2响应吸附材料去除重金属离子等污染物质以实现净化水的CO2触发型可转换吸附和脱附方法。所述方法包括(a)将废水与包含以可络合所述至少一种污染物质的形式存在的CO2响应官能团的聚合吸附材料接触;(b)从废水中分离所述吸附剂‑污染物的络合物;(c)将CO2鼓泡于该类络合物的浓缩水溶液中使包含处于富CO2形式的CO2响应官能团的聚合吸附材料释放出污染物而再生;(d)从聚合吸附材料分离释出的污染物。所述聚合吸附材料的pKb为7.5~9.0。本文公开的CO2响应吸附材料可被络合、释放和再生,而无需在解络合或再生步骤中引入热或酸。

标签:
废水处理
其他 - 其他 来源:中冶有色网 2023-03-19
发酵用粗糖原料的生产方法

从各种淀粉原料中,生产出可供多种发酵所使用的发酵用粗糖原料的方法。在此方法实际生产过程中把用水量限制在最小限度,而且基本没有废水及废弃物生成。淀粉原料经过磨碎、气动漂浮分离法等分离处理,被分离为相对较轻的上层部分和相对较重的下层部分,对下层部分进行反复的磨碎和分离,对最终被分离出的下层部分进行水解处理,就可得到发酵用粗糖原料。分离出的上层部分可作为饲料或者肥料利用。由分离处理所产生的滤液及上清液可被还流回前面的分离工序或者磨碎工序中循环再利用。

标签:
废水处理
其他 - 其他 来源:中冶有色网 2023-03-19
循环水的处理方法及其使用的组合物

一种净化家庭洗衣过程的废水并将其再利用的方法,优选再利用于洗涤或清洗步骤。该方法使用絮凝剂形成絮状物,并且分离出来,从而去除污垢。本发明还涉及水净化组合物,它包括可同时添加或按顺序加入的主和副絮凝剂,本发明还涉及提供单位剂量絮凝剂的试剂包,用于从处理水中分离出絮状物的装置,以及含有絮凝剂的洗涤剂组合物。

标签:
废水处理
其他 - 其他 来源:中冶有色网 2023-03-19
清洁发动机和收集废液的方法

本发明涉及清洁发动机领域,尤其使用诸如水和清洁剂,或仅仅水之类的清洁液,更具体地,涉及用于收集和处理来自发动机清洁操作的废水的系统,设备和包含这种系统的可移动的拖车。该系统包括用于在发动机清洁操作期间收集废液的收集装置和用于在所述清洁操作期间处理所收集的废液的处理装置。根据实施例,该系统设置在包括装备有轮子的底盘的在发动机(1)清洁操作期间为发动机(1)服务的可移动的拖车(50)上。可移动的拖车还包括相对于发动机(1)用于调整液体分离工具(31)的垂直位置的调整工具(73)和/或用于调整液体收集工具(302,36)的垂直位置的调整工具。

标签:
废水处理
其他 - 其他 来源:中冶有色网 2023-03-19
四官能团环氧树脂的合成方法及其制得的环氧树脂

本发明公开了一种四官能团环氧树脂的合成方法,包括如下步骤:a)用环氧氯丙烷溶解四酚羟基酚醛树脂,在催化剂存在的条件下,进行醚化反应;b)加入过量碱完成闭环反应;c)鼓入酸性气体或者加入无机酸或者加入水溶性有机酸中和去除过量碱,水洗除盐后回收环氧氯丙烷,得到四官能团环氧树脂粗产品;d)精制四官能团环氧树脂粗产品即得到四官能团环氧树脂。本发明还提供了一种由此合成方法所制备的环氧树脂。相对于现有技术中的四官能团环氧树脂的合成方法,利用本发明所提供的合成方法所制备的四官能团环氧树脂,环氧值较高,有机氯含量低,能满足覆铜板对环氧树脂的要求,另外,利用本合成方法,在合成过程中产生的废水大幅度降低。

标签:
废水处理
其他 - 其他 来源:中冶有色网 2023-03-19
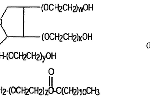
稳定的含水叶酸制剂及其制备方法

本发明涉及防止生物活性丧失的稳定的含水叶酸制剂,该制剂含有:a)叶酸和/或二氢叶酸或其至少一种铵、碱金属、碱土金属和/或链烷醇铵的盐;b)水溶性钼化合物;和c)一种多齿聚氧乙烯化合物。所述多齿聚氧乙烯化合物由下述结构式(I)表示:其中w+x+y+z的值为15-25。本发明的稳定的含水叶酸制剂可用作生物废水处理厂的添加剂,以提高活性污泥成分的污泥脱水作用。

标签:
废水处理
其他 - 其他 来源:中冶有色网 2023-03-19
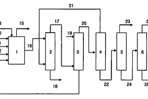
处理含水的废物流的方法和装置

本发明涉及处理含水废物流的方法,其中:(A)将含水废物流分成废水和废物淤泥;和(B)在蚕食反应器中将所述的废物淤泥转化成蚕食过的废物淤泥,该蚕食反应器包括包含蠕虫的载体且使所述的废物淤泥进料通过该包含蠕虫的载体。本发明还涉及可实施该方法的装置,特别涉及处理含水废物流的装置,该装置包含具有包含蠕虫的载体的蚕食反应器,其中该蚕食反应器具有2个被包含蠕虫的载体分开的隔仓。

标签:
废水处理
其他 - 其他 来源:中冶有色网 2023-03-19
从流体中去除汞的工艺、方法和系统

原油中的痕量水平的非挥发性汞通过将所述原油与含有至少一种单原子水溶性硫物种(例如硫化物和硫氢化物)的水料流接触来降低。将所述非挥发性汞萃取到所述水相中形成富含汞的废水,产生具有小于50%的所述初始非挥发性汞水平的处理过的原油。可将所述废水通过注入到储层中被处理或再循环。在一个实施方案中,所述水料流基本上由产出水组成。

标签:
废水处理
其他 - 其他 来源:中冶有色网 2023-03-19
用于在焦炭鼓单元中获得由凝固石油焦制成的可销售石油焦块的封闭焦炭料浆系统和方法

用于在焦炭鼓单元(4,8)中获得由凝固石油焦制成的可销售石油焦块的封闭系统(2),包括包含凝固石油焦的焦炭鼓单元(4,8);用于将石油焦破碎成可销售石油焦块的焦炭破碎单元(6,10);引导石油焦料浆至封闭料浆坑(14)的封闭浆管(12);用于接收来自料浆坑(14)的石油焦料浆的脱水仓单元(18,20),用于收集可销售的石油焦块并将过滤后的水和石油焦粉导出;与料浆坑(14)分离的封闭废水坑(24),用于接收来自脱水仓单元(18,20)的过滤后的水和石油焦粉;接收来自废水坑(24)的过滤后的水和石油焦的水沉降池(28),用于分离水与石油焦粉,使得石油焦粉收集在水沉降池(28)的底部,并用于将石油焦粉引导至料浆坑(14)中,其中石油焦粉与石油焦料浆混合;用于接收来自水沉降池(28)上部的净化水的清水池(29);以及用于从脱水仓单元(18,20)除去可销售石油焦块的去除单元(52)。

标签:
废水处理
其他 - 其他 来源:中冶有色网 2023-03-19
包含污泥和其它废料的合成聚集体和制备此类聚集体的方法

在本发明实施方案的一个实例中,公开了制备聚集体的方法,该方法包括将来自废水处理设备的污泥与非煤炭燃烧灰硅铝废料混合,使该混合物附聚以形成附聚物,和将所述附聚物高温加工以形成聚集体。例如,所述废料可以包括城市固体废物焚烧炉底灰、焚烧炉飞灰、焚烧炉过滤器粉尘、水泥窑粉尘、废玻璃、高炉矿渣、窑炉粉尘和/或花岗岩锯切残渣。该方法可以进一步包括在混合之前将所述废料研磨。优选地,研磨是湿研磨。附聚物的高温加工可以在回转窑中进行。所得的聚集体可以是轻重量或正常重量的,烧结或玻璃化的聚集体。还公开了聚集体和高和低钙硅铝材料的聚集体的制造方法。

标签:
废水处理
其他 - 其他 来源:中冶有色网 2023-03-19
固定式处理水排出装置
固定式处理水排出装置 1235     
 0

本发明涉及一种固定式处理水排出装置,其用于排出在污水或废水处理场中采用序批式间歇活性污泥法(SBR)来净化的处理水,阻断在处理过程中产生的浮游物质(浮渣)的排出,不需要机械装置的帮助下,只排出稳定水质的处理水。本发明的固定式处理水排出装置,其在具有内部返送槽、无氧槽、厌氧槽、需氧槽、以及两个需氧沉淀槽且用于处理流入的污水或废水的SBR方法中,在上述需氧沉淀槽的最终溢水口后端形成有水路形态的水槽,上述水槽中具有间隔壁,且利用间隔壁将水槽分隔为在一侧水槽下面设置有内部返送阀的返送区域和另一侧的排出区域,在上述间隔壁上面以覆盖间隔壁的盖形式设置有排出装置罩。

标签:
废水处理
其他 - 其他 来源:中冶有色网 2023-03-19
重金属的复合过滤和固定

本发明叙述了一种过滤介质和从液体例如废水中滤除金属的方法,在此方法中金属从液体中滤除并且以无危害和无毒形式化学地固定在所产生的滤饼里,因此其可以被无危害地掩埋处理。当全部或部分的金属溶解时,它们首先沉淀,然后过滤并化学固定。

标签:
废水处理
其他 - 其他 来源:中冶有色网 2023-03-19
在微生物体悬浮液中的颗粒有机物的破碎方法和装置

在一种载体介质中尤其在生物污水处理厂的废水或污泥中的微生物体悬浮液里的颗粒有机物的破碎方法和装置,其中有机物在一个作用腔里由于在一个封闭的流动通道内流动的载体介质短时间内极端地加速并马上紧接着减速而经受着惯性力。为产生这种惯性力使载体介质在这作用腔里蒸发并随后凝结,其中载体介质的总体状态通过改变流动速度而改变。由于在转变至蒸汽状态时极大地加大了液态相的体积,因此介质的流动速度以相同的程度提高。这引起对液体相的加料施加极端的加速力,这些力立即接着在蒸汽凝结成液相时又转变成减速力。通过相应的选择载体介质在作用腔里的流动速度就可以选择悬浮体的不同处理方式,它们可以从破碎大的絮片,通过破碎线状细菌直至使细胞完全分解破坏。

标签:
废水处理
其他 - 其他 来源:中冶有色网 2023-03-19
沉砂池及其用于控制沉砂池的方法

一种系统,用于通过测定沉砂池中所装水的温度和通过根据水温操作紊流产生装置来控制悬浮在沉砂池内所装废水中沙粒或粗砂粒的沉积。一种方法,该方法通过测定沉砂池内所装水的温度和根据水温操作紊流产生装置来控制悬浮在沉砂池内所装废水中的沙粒和粗砂粒的沉积。

标签:
废水处理
其他 - 其他 来源:中冶有色网 2023-03-19
带状扩散器
带状扩散器 722     
 0

披露了膜带状扩散器,它可用于例如活性污泥设备中对废水的曝气。这些扩散器具有膜、包括气管的扩散器主体、以及除了该气管外在大致同一方向上延长的一体的膜支撑件。这些管例如与该扩散器主体共挤出。该支撑部分具有孔,当它们充气时用于从该膜的下面向室中排放气体,并且该膜具有用于排放该气体的孔。该膜支撑件优选的包括翼板或侧部,它们具有在其下面的空间,该空间没有用于连接该部分和该管的支柱。还披露了将膜边缘和端部密封在该扩散器主体上的方法以及支撑该扩散器的方法。

标签:
废水处理
其他 - 其他 来源:中冶有色网 2023-03-19
制备三羟甲基丙烷的方法

本发明涉及一种制备三羟甲基丙烷(TMP)的方法,该方法包括以下步骤:1)通过使用正丁醛、甲醛水溶液、和碱金属氢氧化物水溶液由羟醛缩合反应和坎尼扎罗反应合成三羟甲基丙烷;2)通过使具有6~10碳的醇与步骤1)的产物混合物接触,从该产物混合物中萃取三羟甲基丙烷;3)通过使步骤2)的萃取物与水接触,从该萃取物中除去碱金属离子;和4)蒸馏从步骤3)得到的除去了碱金属离子的萃取物。根据本发明,可以省略单独的甲醛回收步骤;可以使用相对少量的萃取溶剂而使TMP的萃取效率最大化;由于TMP萃取中没有使用溶剂混合物,所以可以简化萃取溶剂的分离和回收处理;并且可以使TMP的产率最大化,同时可使产生的废水量最小化,因此以高的效率经济地制备TMP。

标签:
废水处理
其他 - 其他 来源:中冶有色网 2023-03-19
氨分解装置及其方法
氨分解装置及其方法 846     
 0

本发明揭露一种氨分解装置,主要包括至少一第一壳管式反应器及一第二壳管式反应器。第一壳管式反应器接收一混合液,其中混合液包括氨水、亚硝酸钠及盐酸,并将混合液输送至第二壳管式反应器加热,以产生氮气及废水。第二壳管式反应器将氮气及废水传输至第一壳管式反应器,最后由第一壳管式反应器排出。

标签:
废水处理
其他 - 其他 来源:中冶有色网 2023-03-19
微量元素、无机营养盐类扩散型菌体培养用载体

本发明提供在生物反应器和废水处理等中实现 高活性和高密度菌体的培养载体。作为微量元素·无机营养盐 扩散型菌体的培养载体, 是将对菌繁殖有用的微量元素和无机 营养盐包含在多孔体内。

标签:
废水处理
其他 - 其他 来源:中冶有色网 2023-03-19
增强的高级氧化方法
增强的高级氧化方法 800     
 0

一种用于处理废水溶液10的高级氧化方法,该方法包括:应用超声-芬顿反应,其中所述超声-芬顿反应包括:提供氧化剂40和至少一种催化剂50,其中所述至少一种催化剂选自下组二价金属离子,包括:Ti、Fe、Mg、Mo和Cu的二价离子;使处理溶液10和所述氧化剂40以及至少一种催化剂50进行由产生器装置20产生的超声空化;迫使处理溶液10流动通过用于产生超声波的超声装置20,以在所述处理溶液10中形成空化,所述处理溶液10流动经过超声装置20的至少一个流通管式反应器室24,其中,通过沿着所述至少一个管式反应器室24的长度L固定排列并连接的纵向串线分布排列的超声换能器26实现所述空化,沿着反应器室24的宽度尺寸WD实现所述空化,所述超声换能器26的发射频率在15-50kHz范围内,能量负载在0.1-1.5kW h/m3的范围内。

标签:
废水处理
其他 - 其他 来源:中冶有色网 2023-03-19
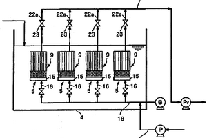
潜水式就地充氧机
潜水式就地充氧机 822     
 0

一种用来混合气体和液体并同时地搅动深槽底部的固体和淤渣使之悬浮的装置和方法。本发明包括有一台液-气充气机,它适于潜入深槽废水的水面以下。开动后能从潜水式充气装置底部喷出一股逐渐膨胀的高速液-气混合物,它具有足够的冲力来搅动深槽底部的沉淀固体和淤渣并使之悬浮起来。

标签:
废水处理
其他 - 其他 来源:中冶有色网 2023-03-19
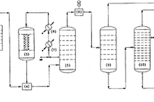
由四氯乙烯生产五氟乙烷及四氟氯乙烷的方法及设备

本发明提供由四氯乙烯生产五氟乙烷及四氟氯乙烷的方法及设备。所述方法中以PCE及HF为原料生产HCF-125及HCFC-124。所述设备包括液相反应器、文丘里式气体混合加压器、冷凝塔和气相反应器。本发明避免了用能耗高,难以维修及操作的含HF压缩机,避免了用碱来中和产品中的HF及HCl而造成产生大量的含氟的废水,并且巧妙地解决了HF与HCFC-123,HCFC-122及HCFC-124共沸物难以分离的问题,节省了在能耗,冷冻及相应设备的投资。CFC-115在产品塔中被循环的HCFC-124从产品HCF-125中萃取出来,随附产品HCFC-124在塔顶被分离出系统后,CFC-115随HCFC-124在生成HCF-134a的加氢反应器中转化为HCF-125,把有害物(ODS)转化为有用物HCF-125。

标签:
废水处理
其他 - 其他 来源:中冶有色网 2023-03-19
放气装置的清洗方法
放气装置的清洗方法 841     
 0

本发明涉及一种对固体液体混合处理液进行过滤液回收时的放气装置的清洗方法。所述放气装置(15)具有:至少一根与曝气鼓风机(B)连接的空气主管(18);与该空气主管(18)的中途合流的液体供给配管;通过从该空气主管(18)上分支的气体供给管(16)而水平连接的分支管路(25);以及与该分支管路(25)正交而水平配置且具有大致铅垂向下开口的多个放气孔的多个放气管(17)。将所述分支管路内的气体流速设定在1m/sec以上、8m/sec以下的范围,并将所述分支管路内的液体供给量设定在0.03L/min/mm2以上、0.2L/min/mm2以下的范围。利用这种构成,为了有效去除气液混合流体所带来的附着在放气管(17)放气孔上将其堵塞的固态污泥,可不停止废水处理而在任意时期对放气管进行清洗。

标签:
废水处理
其他 - 其他 来源:中冶有色网 2023-03-19
用于冲洗光致抗蚀剂的稀释剂和处理光致抗蚀剂层的方法

本发明提供一种用于冲洗光致抗蚀剂的稀释剂,其包括50到80重量%的醋酸正丁酯,丙二醇烷基醚,和丙二醇烷基醚醋酸酯。该稀释剂既对人类无毒害,也不对生态带来不利影响,而且没有不适的气味。其废液和与之相关的废水容易处理,由此使得这种稀释剂对环境友好。本发明的光致抗蚀剂稀释剂具有优异的冲洗能力。

标签:
废水处理
其他 - 其他 来源:中冶有色网 2023-03-19
速溶湿润粉糊
速溶湿润粉糊 857     
 0

本发明涉及一种制作新鲜的湿润粉糊,蒸煮面粉和其系列产品的方法。本发明的新方法制作的玉米湿润粉糊(面团)用于制作玉米粉圆饼,煎炸或烘烤的玉米粉圆饼片,炸玉米粉圆饼或玉米片。本发明的新方法在没有进行传统方法的蒸煮和浸泡步骤的情况下直接从原料中获得湿润粉糊,本发明的方法使用了一系列的加工步骤,包括磨碎,混合,水合,蒸煮和连续的冷却使胶凝化停止。本发明的新方法使用很少的水并且没有废水产生。

标签:
废水处理
其他 - 其他 来源:中冶有色网 2023-03-19
通过结晶过程制备5’-肌苷酸二钠的方法

本发明涉及一种从以微生物发酵产生的5’-肌苷酸(IMP)发酵液中制备5’-肌苷酸二钠(IMP2Na)的方法。与离子交换树脂法相比,本发明具有减少废水的效果,并且仅通过控制温度和使用少量的有机溶剂就可产生高纯度的5’-肌苷酸二钠。

标签:
废水处理
其他 - 其他 来源:中冶有色网 2023-03-19
固体垃圾无氧催化热裂解方法

本发明公开一种固体垃圾无氧催化热裂解方法,其步骤有,垃圾预处理:将外运垃圾放入垃圾池除去废水后,依次进行粗破、脱水、粉碎成小于3厘米的垃圾颗粒;再利用余热和再生可燃气和/或外加热来加热垃圾颗粒,在干燥将垃圾颗粒的水分含量降低到10-30%范围内,得到干燥垃圾颗粒。垃圾裂化分解:将干燥垃圾颗粒投入流化裂解炉,在无氧的条件下,利用余热和再生可燃气和/或外加热来加热流化裂解炉,使得裂解的温度和升温速度达到要求,加催化剂,使得干燥垃圾颗粒中的有机物质分解成无机物、可燃气、生物碳和液体化合物。裂化分解后的产物再加工:将无机物、可燃气、生物碳和液体化合物,分离、净化、合成加工成建材、燃气、成品肥料、燃油。本发明在中低温、催化、完全没有氧气的条件下,可以处理复杂的混合垃圾,连续进料,实现高效热裂解,产生燃气和碳等,同时,对产生的焦油进行二次裂解,消除管道堵塞和提高燃气热值等。

标签:
废水处理
其他 - 其他 来源:中冶有色网 2023-03-19
高分子微球的制造方法和通过该方法制造的高分子微球

本发明涉及高分子微球的制造方法和通过该方法制造的高分子微球,具体地说,涉及高分子微球的制造方法,通过该方法制造的高分子微球和包含所述微球的用于传递药物的组合物,该高分子微球的制造方法包括如下步骤:制造乳剂,该乳剂包含高分子化合物、药物、水不溶性有机溶剂和分散溶剂;和制造的乳剂中加入碱或酸,乳剂中除去水不溶性有机溶剂。本发明提供了利用碱或酸在乳剂中除去水不溶性有机溶剂的新高分子微球的制造方法,通过该制造方法制造的高分子微球和包含高分子微球的用于传递药物的组合物。因此,与现有的溶剂蒸发或溶剂提取工序不同,能够使用少量水最小化废水产生的同时用于较快时间内简便制造含目的药物的高分子微球。

标签:
废水处理
其他 - 其他 来源:中冶有色网 2023-03-19
酚性化合物等高分子化的方法及其应用

提供用具有多酚氧化活性的酶,在碱性环境中采用酶催化来制备酚性化合物或芳香胺化合物的高分子化物的方法,以及该法得到的高分子化物在增粘剂、稳定剂、絮凝剂、乳化剂、分散剂、保水剂、抗氧化剂、粘合剂、混凝土混合剂、染料、涂料、石油回收剂、土壤改良剂、种子喷播表土稳定剂、脱臭剂、消臭剂、农药展开剂、饲料粘合剂、杀菌剂、抗菌剂、病毒感染抑制剂、生物附着防止剂、生物驱虫剂、杀虫剂、泥敷剂、油墨基料或木材处理剂中的应用,并且提供利用上述高分子化反应的废水处理方法、脱氧方法、木材处理方法、混凝土处理方法以及土壤处理方法。

标签:
废水处理
其他 - 其他 来源:中冶有色网 2023-03-19
排水汇流组件
排水汇流组件 777     
 0

本发明提供一种排水汇流组件,其包括:一汇流本体,其具有一蓄水室,在该汇流本体两相对应的外周侧分别设有进水口及出水口,另外在蓄水室内进一步设有第一隔板分隔蓄水室形成有第一空间及第二空间,又在第一空间内进一步设有横隔板,横隔板分隔第一空间形成有汇流区及储水区,而在横隔板上另设有滤孔;在第二空间内进一步设有第二隔板,另设有第三隔板介于第二隔板与出水口之间;及盖体,其盖设并封组于蓄水室顶端,而盖体进一步具有废水清洁口及截油清洁口,该废水清洁口与截油清洁口于盖体盖设于汇流本体上时分别与第一空间及第二空间相连通。

标签:
废水处理
其他 - 其他 来源:中冶有色网 2023-03-19
上一页 11 12 13 14 15 ... 58 下一页
共58页    到第

中冶有色为您提供最新的其他有色金属废水处理技术理论与应用信息,涵盖发明专利、权利要求、说明书、技术领域、背景技术、实用新型内容及具体实施方式等有色技术内容。打造最具专业性的有色金属技术理论与应用平台!

全国热门有色金属设备推荐
展开更多 +
全国热门有色金属技术推荐
展开更多 +

 

江西省隆恩特环保设备有限公司
宣传

报名参会
更多+

报告下载

有色专家
更多+

有研科技集团有限公司
中国工程院 院士
辽宁忠旺集团
教授级高工
武汉科技大学
院长 / 教授
昆明冶金研究院有限公司
党委书记、执行董事
中铝科学技术研究院有限公司
董事长
赤泥综合利用研究报告2025
推广

热门技术
更多+

推荐企业
更多+

福建省金龙稀土股份有限公司
宣传

发布

在线客服

公众号

电话

顶部
咨询电话:
010-88793500-807