青岛垚鑫智能科技有限公司
宣传

位置:中冶有色 >

有色技术频道 >

> 固/危废处置技术

分类:
全部
矿山技术
冶金技术
材料制备及加工技术
环境保护技术
分析检测技术
 
全部
废水处理技术
大气治理技术
固/危废处置技术
土壤修复技术
地区:
全部
北京
天津
上海
重庆
河北
山西
辽宁
吉林
黑龙江
江苏
浙江
安徽
福建
江西
山东
河南
湖北
湖南
广东
海南
四川
贵州
云南
陕西
甘肃
青海
内蒙
广西
西藏
宁夏
新疆
其他
其他
展开
 
全部
上海

上海上海有色金属固/危废处置技术理论与应用

免费发布技术信息>>
CaO复合物以及制备方法及其吸收废气中CO<Sub>2</Sub>的方法

本发明公开了CaO复合物、CaO复合物的制备方法以及CaO复合物吸收废气中CO2的方法;所述CaO复合物,按重量份计,包括CaO 95‑99份;腐植酸盐1‑5份;将钙基固废、腐植酸盐、水充分搅拌,烘干,加入流化床煅烧炉中高温煅烧,制得CaO复合物,其中所述钙基固废为加热后产生CaO的工业固体废弃物;(1)将CaO复合物加入流化床碳酸化炉中,通入含CO2的废气,使得CaO复合物中的CaO吸收废气中的CO2,生成CaCO3复合物;(2)将步骤(1)得到的CaCO3复合物返回至流化床煅烧炉中,加热煅烧,得到CaO复合物和纯CO2,纯CO2排出流化床煅烧炉;CaO复合物再返回至流化床碳酸化炉中重新用于吸收废气中的CO2。本发明CaO复合物制备简单,成本低,使用寿命长,对CO2的吸收效率高。

标签:
固废
上海 - 上海 来源:中冶有色网 2023-03-19
碱激发免烧废渣土砖用再生砂浆及其制备方法和应用

本发明涉及一种碱激发免烧废渣土砖用再生砂浆及其制备方法和应用。该再生砂浆的原材料包括建筑固废、工业固废和碱激发剂。与现有技术相比,本发明所用的原材料基本全为来自建筑业和工业的固体废弃物,包括盾构渣土、再生砂、再生粉、矿渣粉和粉煤灰,将这些固废通过碱激发实现了再生利用,一方面消纳了大量不同类型的固废,另一方面也减少了对天然资源的依赖,符合国家循环经济的思想,此外,该再生砂浆与碱激发免烧砖砌体结构的砌块有着更好的适应性,使得最终的砌体结构整体性更强,且砂浆具有早强、粘结性强、无需湿养护、耐久性更高等优势。

标签:
固废
上海 - 上海 来源:中冶有色网 2023-03-19
用于废气废液的焚烧装置

本实用新型公开了一种用于废气废液的焚烧装置。本实用新型中,包括箱体,所述箱体的顶部固定安装有储油瓶,所述箱体的外壁右侧焊接上方固定安装有风机,所述箱体的右侧外壁位于所述风机下方开设有加料口,所述加料口的下方固定安装有点火器,所述箱体的内壁中部焊接有燃烧板,所述燃烧板的中部固定安装有旋转电机,所述燃烧板的内部开设有漏尘口,所述燃烧板的内部通过开设的插槽插接有密封块;防堵块可以对漏尘口内部进行清理,从而防止漏尘口内部发生堵塞,延长了该装置的使用寿命。净化室和活性炭吸附层可以对燃烧过程中产生的固体颗粒物和有毒有害化学物质进行处理,防止有害物质排到空气中,使得该装置更加绿色环保。

标签:
固废
上海 - 上海 来源:中冶有色网 2023-03-19
混凝土搅拌站废水废渣综合利用工艺

本发明涉及一种混凝土搅拌站废水废渣综合利用工艺,它包括泥浆、沙石分离过程,水池系统流程,泥浆回用过程,以及机械与电气控制系统。水池系统流程是当流入泥浆池内的泥浆液面超过溢流口高度时流入匀浆池,又流入清水池,泥浆水中的固体物沉淀后清水溢出,清水池内的水可回用,由泥浆、沙石分离器分离出的泥浆在匀浆池内经浓度调配并经人工测定以回用。泥浆回用过程是通过泥浆控制阀和清水电磁阀进行。本发明可达到无废水废渣排放,节约用水和建筑原材料,有利于保护环境。

标签:
固废
上海 - 上海 来源:中冶有色网 2023-03-19
基于反渗透制水机理的废水调节系统及废水调节方法

本发明提供了基于反渗透制水机理的废水调节系统以及废水调节方法,系统包括进水端和出水端,进水端和出水端之间的管路上依次设有TDS检测装置、进水电磁阀、过滤装置,过滤装置沿水流方向依次设有增压泵和RO滤芯,RO滤芯的净水出水口与出水端相连,浓水出水口与一污水排出端相连,污水排出端设置有排污电磁阀,排污电磁阀能够以至少两种排污流量排放浓水;进水电磁阀、增压泵和和排污电磁阀均与一电控装置相连,电控装置根据TDS检测装置监测到的温度和/或水体中溶解的总固体含量来控制增压泵及排污电磁阀。TDS探针用于检测进水水温和水质状况,电控装置根据不同的水质状况做出相应的判断,可调整废水调节系统的工作模式,确保所产生的净水水质达标。

标签:
固废
上海 - 上海 来源:中冶有色网 2023-03-19
含废酸和重金属的废水的处理设备

本实用新型提供了一种含废酸和重金属的废水的处理设备,包括:用于去除废水中的固体杂质颗粒的过滤装置;树脂罐,所述树脂罐的底端设有酸回收口和连接于所述过滤装置的废水进口,所述树脂罐的顶端设有洗脱口和金属废液口,所述树脂罐内满填有吸酸树脂粒;中和罐,所述中和罐具有一进液口和一出液口,所述中和罐的进液口连接于所述金属废液口,所述中和罐的出液口连接有金属沉淀池;反冲洗罐,连接于所述洗脱口;以及回收酸罐,连接于所述酸回收口。本实用新型解决了含废酸和重金属的废水采用传统的碱中和,存在耗费大量中和剂,且其中的废酸和重金属不能重新再生利用的问题。

标签:
固废
上海 - 上海 来源:中冶有色网 2023-03-19
电镀废酸和稀酸废水的树脂法回收工艺

本发明提出了一种电镀废酸和稀酸废水的树脂法回收工艺,该工艺主要包括两步,第一步将排出的废酸水经过滤脱除固体颗粒类杂质;第二步通过混合树脂脱除废水中的大量金属离子,使硫酸溶液中铝、铁、铅等金属离子含量达到回收再利用。本发明的创新点在于结合金属离子的交换作用和金属离子的螯合作用使用混合树脂实现金属离子的脱除,该工艺存在可循环操作、回收效率高、节能环保、安全程度高、工艺简易的优点。

标签:
固废
上海 - 上海 来源:中冶有色网 2023-03-19
废气废水污染源在线监测系统

本实用新型公开了一种废气废水污染源在线监测系统,属于环境监测术领域,包括支撑台,所述支撑台顶部的外壁固定安装有支撑件,所述支撑件顶部的外壁固定安装有水泵,所述水泵的输入端套接安装有进水管,所述进水管的一侧外壁固定安装有伺服电机,所述伺服电机的输出轴套接安装有主动齿轮,所述进水管圆柱外壁滑动安装有从动齿轮,本实用新型通过软绳和第一锥形过滤筒,伺服电机使传动筒转动,此时软绳因为离心力展开,软绳可以将细小碎石和水草击碎,未被软绳击碎的固体物质,则会被甩出,因为软绳具有柔韧性,不会像刀片一样容易被固体物质撞击损坏,可以轻易将固体物质拨开,这样过滤时,过滤眼不容易被堵塞。

标签:
固废
上海 - 上海 来源:中冶有色网 2023-03-19
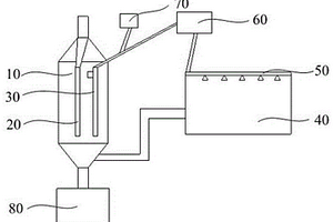
半焦热解废气废液的焚烧处理方法及系统

本发明涉及一种半焦热解废气废液的焚烧处理方法及系统,该方法包括以下步骤:将半焦热解废气废液通入有机吸收溶剂中,回收有机成分得到吸收浓缩废液,将所述吸收浓缩废液、燃料和空气通入循环流化床炉膛中进行燃烧反应;将燃烧产物送入旋风分离器得到固体粉尘和烟气,所述烟气经过除尘脱硝脱硫处理之后排入大气;该装置包括依次连接的废气废液吸收处理装置、循环流化床炉膛、旋风分离器和尾气处理装置。与现有技术相比,本发明具有对热解半焦废气废液中的有机物利用完全,废弃物处理无害化、资源化,处理系统节能、环保、有助于节能减排等优点。

标签:
固废
上海 - 上海 来源:中冶有色网 2023-03-19
用于废气检测的废气收集装置

本实用新型公开了一种用于废气检测的废气收集装置,包括废气收集罩和废气收集管,废气收集罩的上方设有废气收集管,废气收集管与废气收集罩紧密连接,废气收集管的上方设有废气收集槽,废气收集槽与废气收集管垂直设置。该种用于废气检测的废气收集装置,吸收盒的内部设有活性炭,活性炭设置有若干个,活性炭吸附通入的尾气中含有的固体微粒杂质和雾状液滴,将活性炭块取出后,可将吸附得到的化工原料回收利用,不但洁净了尾气,还能够节约成本,检测装置中部设有集气腔,且集气腔外部形状呈圆柱状,集气腔的直径呈由大变小的逐渐减少,能够将集气腔中的废气从流速快到流速小的转变,便于废气流入到贮样管中进行收集。

标签:
固废
上海 - 上海 来源:中冶有色网 2023-03-19
有机废气处理装置及有机废气处理组件

本申请提供了一种有机废气处理装置及有机废气处理组件,其中,有机废气处理装置包括:第一吸附塔、喷气装置、第二吸附塔、喷淋装置、蒸汽发生器、干燥装置以及回收装置。第一吸附塔内设有吸附件。喷气装置能够在第一吸附塔内移动。第二吸附塔与第一吸附塔连通。喷淋装置设在第二吸附塔内。蒸汽发生器与喷气装置连通。干燥装置与喷气装置连通。回收装置与第一吸附塔及第二吸附塔连通。本申请提供的有机废气处理装置,通过第一吸附塔、第二吸附塔对废气进行两次处理,能够有效地将废气中的有机物去除95%以上。通过高温蒸汽将吸附件上的有机物去除,对吸附片进行脱附再生,无需经常更换吸附件,降低了装置的维护频率,大幅减少固体废弃物的排放。

标签:
固废
上海 - 上海 来源:中冶有色网 2023-03-19
工业废水废气综合处理装置

本发明提供了一种工业废水废气综合处理装置,属于环保净化领域,所述过滤板焊接固定设置在预处理皿的内腔中部;所述冲洗口设置在预处理皿的而右侧下端;所述冷凝器的上面右侧设置有排气装置,冷凝器的右侧下端设置有排水管,冷凝器的内腔左侧通过排气管和过滤净化箱的上端相连接,冷凝器的左端下侧通过水管和过滤净化箱的右侧底部相连接;本发明装置通过在过滤板焊接固定设置在预处理皿的内腔中部,具有初步过滤固体杂质防止发生堵塞的功能;在油水分离层的下方设置有生物分解层,生物分解层的下侧设置有除臭层,具有分别对废水废气进行过滤净化和除臭的功能;本装置具有结构简单、实用性强和废水废气处理效果好的特点。

标签:
固废
上海 - 上海 来源:中冶有色网 2023-03-19
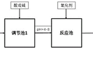
同时净化电镀废水和印染废水的方法

本发明属于环境保护和工业减排技术领域,提供了一种同时净化电镀废水和印染废水的方法。先将电镀废水和印染废水分别过滤除去固体颗粒,分析电镀废水存在的金属离子的种类和浓度,然后按照印染废水:电镀废水=100:1~300:1的体积比将二者混合得到混合废水并调节pH=4~8,再将氧化剂按照0.05g/L~0.1g/L的量加入到混合废水中搅拌反应得到处理水,最后在处理水中加入酸或者碱调节pH=6~8后排出。合理利用电镀废水中的金属离子作为催化剂使氧化剂产生自由基,攻击印染废水中的有机污染物从而降解印染废水。而电镀废水中高浓度的金属离子也被印染水稀释,最终两者都达到了排放标准。因此,本发明通过两者的协同治理,达到了两者共同达标排放的目的。

标签:
固废
上海 - 上海 来源:中冶有色网 2023-03-19
可拆卸式废水处理设施及废水处理工艺

本发明公开了一种可拆卸式废水处理设施,用于生活污水或同类水质的生产废水的处理,该设施按照废水处理流程,依次设置有:调节池,用于均匀废水的水质和水量;生物脱氮除磷反应器,按照废水处理流程,依次包括缺氧区、厌氧区和好氧区;所述生物脱氮除磷反应器的前端设置有过滤废水中的固体杂物的过滤装置;膜分离器,通过膜组件进行泥水分离;所述调节池、所述生物脱氮除磷反应器和所述膜分离器之间通过可拆卸的管路连通。本发明的调节池、生物脱氮除磷反应器、膜分离器等各设备间既能合并又能分散布置,分散布置时因各单元采用特殊结构设计,拆装方便,并具有灵活性、可移动的特点,而且可拆卸设计还使得各部分可单独回收再利用。

标签:
固废
上海 - 上海 来源:中冶有色网 2023-03-19
VOC废气冷凝回收用的废气回收设备

本实用新型公开了VOC废气冷凝回收用的废气回收设备,属于废气回收技术领域,VOC废气冷凝回收用的废气回收设备,包括冷凝器,所述冷凝器一端固定连接有进风管,所述进风管另一端固定安装有过滤箱,所述过滤箱顶面固定安装有箱盖,所述箱盖一端内部焊接有弹簧,所述箱盖内部处于弹簧内部固定安装有限位柱,所述弹簧一端焊接有滑块,所述滑块底面通过螺钉安装有过滤网,与现有技术相比,本实用新型所达到的有益效果是,可以对废气中的大颗粒固体进行阻隔,且可以对废气进行吸附,避免了带有颗粒的废气直接进行回收利用,导致废气回收的效果差,且避免了回收后的废气使用过程中容易对人们造成损害的情况出现。

标签:
固废
上海 - 上海 来源:中冶有色网 2023-03-19
利用味精发酵废液中的菌体来生产核糖核酸的生产方法

本发明公开了一种利用味精发酵废液中的菌体来生产核糖核酸的生产方法,其特征在于,包括如下步骤:用絮凝汽浮法从生产味精的发酵废液分离出菌体,收集,同时用水冲洗,沥干后,称重投料;将菌体悬浮于水中,用离子膜碱调pH至6-7;在搅拌下加入固体氯化铵,加热至沸,使温度保持在90-95℃,搅拌2-3小时;趁热进行板框压滤,滤液加0.5-1.0%活性炭处理,搅拌0.5小时,再进行板框过滤,滤液冷却至10-20℃,用6mol/l盐酸调pH至2-2.5,得核糖核酸(RNA)沉淀。

标签:
固废
上海 - 上海 来源:中冶有色网 2023-03-19
用于露天废油坑中的油水废弃物处理方法

本发明用于露天废油坑中的油水废弃物处理方法,其包含有一油抽取步骤、初筛步骤、除水排渣步骤、油水分离步骤、固体物处理步骤及空气净化步骤等;因此,当废油从露天废油坑取出后,先经过该初筛步骤筛取出体积较大的废弃物后,再置入一储油桶内并同时进行加热,使比重比油大的物质及水自然沈淀制储油桶底部后,而水与残渣物质分离后,再由该油水分离步骤中分离水与油分,已分别进行后续使用,另该固体物处理步骤则以热水清洗残渣后再进行输出,最后至于处理过程中所产生的废油气,则可导入一空气清净设备,收集油气并加以净化,如此将可有效且快速的处理掉该废油,达到较佳的处理效率与兼顾环保的功效。

标签:
固废
上海 - 上海 来源:中冶有色网 2023-03-19
利用制碱废液和废硫酸制高品质硫酸钙晶须的方法

本发明涉及一种利用制碱废液和废硫酸制高品质硫酸钙晶须的方法,采用制碱工业的外排废液CaCl2溶液和硫酸工业产生的废硫酸,联合生成硫酸钙,制作高品质硫酸钙晶须。本发明采用制碱工业的废液CaCl2溶液和硫酸工业产生的废硫酸为原料进行反应,利用晶体的成核、生长理论,控制晶体生长,得到粒径小于4μm,长径比大于200的高品质硫酸钙晶须。与现有技术相比,本发明通过特殊的加热方式,控制了加热能量,强化了硫酸钙晶须的结晶生长过程,可以得到粒径较小,表面光滑和长径比大的优质硫酸钙晶须。本发明可以将制碱废液和废硫酸进行高值化加工,既解决了大宗固体废弃物的环境影响问题,又可以得到高品质的硫酸钙,是一种有效利用资源,又减少污染的方法。

标签:
固废
上海 - 上海 来源:中冶有色网 2023-03-19
废印刷线路板非金属粉/聚丙烯复合材料及其制备方法

本发明公开了一种废印刷线路板非金属粉/聚丙烯复合材料及其制备方法,该制备方法包括以下步骤:步骤S1:将废印刷线路板经过粉碎和分选后得到的非金属粉加入到无机酸中,加热,过滤,收集非金属粉并干燥;步骤S2:将步骤S1得到的非金属粉加入含有溶剂、改性剂和催化剂的混合溶液中,加热,过滤,干燥后得到一次改性的废印刷线路板非金属粉;步骤S3:将步骤S2得到的一次改性非金属粉加入到有机溶液中,加热搅拌,过滤,收集固体,干燥后得到二次改性的废印刷线路板非金属粉;步骤S4:将步骤S3得到的二次改性非金属粉与聚丙烯混合,经挤出造粒后得到复合材料颗粒;本发明制备的复合材料力学性能优异,冲击强度达到或超过了原料聚丙烯的冲击强度。

标签:
固废
上海 - 上海 来源:中冶有色网 2023-03-19
建筑固体垃圾综合处理装置

本实用新型公开了一种建筑固体垃圾综合处理装置,包括处理箱,所述处理箱的一侧设有伺服电机,所述伺服电机的输出轴固定有第一转轴,所述第一转轴固定有第一皮带轮,所述第一皮带轮传动连接有第二皮带轮,所述第二皮带轮固定有第二转轴,所述第二转轴上固定有打碎棒,所述打碎棒位于处理箱的内,所述第一转轴固定有第一齿轮,所述第一齿轮传动连有第二齿轮,所述第二齿轮固定在第三转轴上,所述第一转轴和第三转轴上分别固定有第一研磨辊和第二研磨辊,所述第一研磨辊和第二研磨辊均位于处理箱的内部,所述打碎棒下方设有筛网,所述筛网的一侧设置有振动机构。通过上述结构实现对废物的打碎,筛分、研磨多级处理,工作效率高,处理质量好。

标签:
固废
上海 - 上海 来源:中冶有色网 2023-03-19
微生物固体发酵剂及制作方法

本发明涉及一种微生物固体发酵剂及制作方法,对微生物菌种进行复合培育,得出废弃物资源化处理的专用微生物菌种组合,发酵过程采用厌氧发酵。优点是:发酵过程中不易使营养成分消耗,发酵周期短,耗能低,转化率高;在发酵过程中,通过微生物及其产生的多种生理代谢物质,有效杀灭各种病原菌,分解转化各种有机物污染物质;根据原料的不同可得到不同的发酵产品,如将畜禽粪便转化为有机肥料,秸秆转化为秸秆蛋白饲料,泔脚或食品厂下脚料转化为发酵蛋白饲料等。

标签:
固废
上海 - 上海 来源:中冶有色网 2023-03-19
固体清洗剂
固体清洗剂 761     
 0

本发明公开了一种固体清洗剂,其所包含的各组分和各组分所占的重量百分比分别为:氟化氢铵52~60%;氟化钠10~15%;氯化钠5~10%;磷酸三钠5~8%;三聚磷酸钠5~8%;多聚磷酸钠 3~7%。制备时,将氟化氢铵、氟化钠、氯化钠、磷酸三钠、三聚磷酸钠、多聚磷酸钠混合后,搅拌均匀即可。本发明将氟化氢铵、氟化钠、氯化钠作为第一组分,磷酸三钠、三聚磷酸钠、多聚磷酸钠作为第二组分,第一组分提供具有清洗络合铁锈、渗透剥离锈垢的作用,第二组分具有防止腐蚀过量、减少腐蚀率的作用。本发明对环境污染小、对设备腐蚀小、清洗效果好、经济效益高,且稳定性能、配方合理,运输、储存、使用及废液处理比较安全环保。

标签:
固废
上海 - 上海 来源:中冶有色网 2023-03-19
固体氧化物燃料电池密封垫的制备方法

本发明提供了一种固体氧化物燃料电池密封垫的制备方法,包括以下步骤;将密封垫的原料研磨混匀,其中,溶剂含量为10~40wt%,分散剂含量为1~10wt%,粘结剂含量为1~10wt%,塑化剂含量为1~10wt%;将步骤1获得的浆料过筛,脱泡处理;将步骤2处理后的浆料涂覆在模具上,干燥成型,制得密封垫。该制备方法节约了原料,免除了废料回收的问题,易于批量生产且稳定性好。

标签:
固废
上海 - 上海 来源:中冶有色网 2023-03-19
固体碱催化作用下生物柴油的一种绿色制备方法

本发明涉及固体碱催化作用下生物柴油的一种绿色制备方法,具体步骤为:将短链脂肪酸酯(乙酸甲酯或乙酸乙酯等)作为酯交换试剂与动植物油脂混合,在催化剂存在下,在反应器中温度为30~350℃,反应时间为2~18小时,其中,酯交换试剂与动植物油脂的摩尔比为3∶1~30∶1,催化剂添加量为动植物油脂质量的1~30%;过滤除去催化剂并蒸馏除去过量的酯交换试剂,产品为生物柴油。本发明的优点:催化剂易于分离,无须水洗,不产生废水,为催化剂的重复使用提供了可能,从而解决生物柴油传统制备工艺中出现的极大技术及经济负担;油脂与酯交换试剂发生酯交换反应,产物直接可作为燃料使用,无副产物甘油的形成,提高了原料的利用率。

标签:
固废
上海 - 上海 来源:中冶有色网 2023-03-19
用于制备生物柴油的固体碱催化剂

本发明公开了一种用于制备生物柴油的固体碱催化剂,特点在于将重量比是:多孔性物质∶碱金属或碱土金属可溶性盐∶过渡金属元素或稀土金属元素可溶性盐为1∶0.02~1∶0.001~0.2的碱金属或碱土金属可溶性盐水溶液及过渡金属元素或稀土金属元素可溶性盐水溶液等体积浸渍多孔性物质、再经干燥、焙烧、研磨过筛而获得。本发明催化性能佳,酯交换反应后处理容易,无废液产生,易于分离且可多次重复使用,易于工业化应用。

标签:
固废
上海 - 上海 来源:中冶有色网 2023-03-19
处理高固体含量流体的高温高压流水热装置

一种环保领域的处理高固体含量流体的高温高压流水热装置,包括:顺次连接的注料机、热交换器、反应釜和贮泥罐,并且贮泥罐与热交换器相连。所述的热交换器和反应釜之间设有进料阀,反应釜和贮泥罐之间设有出料阀。所述的进料阀设置在反应釜的顶部,出料阀设置在反应釜的底部。所述的反应釜为中空的圆柱状密闭反应器,其外壁的上部设有出气口,出气口连接着压力表和阀门。本实用新型的优点:处理速度快、能量利用率高、操作运行方便、易扩大生产规模等;可在连续式高温高压水氧化设备基础上发展连续式高温高压水热法处理固体废弃物设备;且所述的反应釜可以在亚临界状态下运行。

标签:
固废
上海 - 上海 来源:中冶有色网 2023-03-19
制备高环氧值环氧大豆油的固体催化剂再生装置

本实用新型公开一种制备高环氧值环氧大豆油的固体催化剂再生装置,所述的再生装置下部设有空气入口和废水排放口,下部靠法兰连接有过滤网,所述的空气入口设有曝气头,所述的过滤网的孔径为100目~200目。该装置使得树脂催化剂再生操作变的更加简单有效,所制的再生离子树脂催化剂具有与新树脂相同的催化效果,大大的提高了树脂催化剂的催化效果和回收率。

标签:
固废
上海 - 上海 来源:中冶有色网 2023-03-19
固体速溶汽油清净增效剂及其组成物的制备方法

本发明公开了一种固体速溶汽油清净增效剂及其组成物的制备方法,该增效剂包括0.85重量份联苯、0.005重量份苯骈三氮唑、0.85重量份棕榈酸、0.025重量份二茂铁、0.05重量份十四烷酸、0.4重量份棕榈酸甲酯和0.4重量份棕榈酸棕榈酯,所述二茂铁中的Fe<100a。先将7种原料按重量比例混合,用制药研磨机研磨到80‑100目,然后用压片机制成直径18mm,厚度12mm,每片重量2.0‑2.2g的片剂,最后用瓶装或铝塑包装,发动机在上止点同步瞬间燃烧,热效率提高5%以上,动力增强5‑10%,节油率5%以上,废气排放下降50%以上,是一种携带方便、使用安全、节能、低碳、环保、省钱的产品。

标签:
固废
上海 - 上海 来源:中冶有色网 2023-03-19
钠硫电池固体电解质管烧结装置

本发明公开了一种钠硫电池固体电解质管烧结装置,包括炉体和将所述炉体底部封闭的台车;所述炉体包括双层外壳、位于双层外壳的夹层中的散热风扇和位于所述双层外壳内侧的内部防护层,所述内部防护层由低热容耐高温纤维板层压而成;所述炉体的顶部设有排气孔和加热元件,所述排气孔通过一个可自动开闭的排气盖封闭;所述台车由低热容耐高温纤维板层压而成,并通过竖直均匀插接在所述低热容耐高温纤维板中的陶瓷棒加固。其技术效果是:在保证烧结过程中炉体内温场和气氛的均匀的前提下,其可将在低温排胶阶段产生的有机挥发物、烟尘和废气等排出,实现排胶和烧结的一体化,并可缩短烧结的时间,提高了生产效率并且保证了固体电解质管电化学性能一致性。

标签:
固废
上海 - 上海 来源:中冶有色网 2023-03-19
将渗滤液转化成高吸水性凝胶固体颗粒的方法

本发明涉及一种将渗滤液转化成高吸水性凝胶固体颗粒的方法,取生活垃圾渗滤液纳滤浓缩液,在30℃~70℃恒温水浴电磁搅拌器作用下,向烧杯中加入渗滤液浓缩液并充分搅拌,向烧杯中依次加入定量过硫酸钾、丙烯酸和作为交联剂的N,N‑亚甲基双丙烯酰胺;搅拌至反应体系产生粘度、凝固,静置待渗滤液聚合凝胶完全形成,关闭恒温水浴反应器,待凝胶冷却至常温取出,切成小立方体,放入烘箱中烘干,得到渗滤液凝胶固体颗粒。采用本发明的方法,使作为难处理的高浓度有机废水污染物转化为高吸水性凝胶固体颗粒,解决了垃圾渗滤液纳滤浓缩液难以处理的问题,实现渗滤液无害化处理与资源化利用,具有经济与社会环境效益。

标签:
固废
上海 - 上海 来源:中冶有色网 2023-03-19
上一页 118 119 120 121 122 ... 136 下一页
共136页    到第

中冶有色为您提供最新的上海上海有色金属固/危废处置技术理论与应用信息,涵盖发明专利、权利要求、说明书、技术领域、背景技术、实用新型内容及具体实施方式等有色技术内容。打造最具专业性的有色金属技术理论与应用平台!

全国热门有色金属设备推荐
展开更多 +
全国热门有色金属技术推荐
展开更多 +

 

江西省隆恩特环保设备有限公司
宣传

报名参会
更多+

报告下载

有色专家
更多+

郑州大学
副院长/教授
矿冶科技集团有限公司
党委书记 / 董事长
武汉科技大学
校学术委员会主任 / 教授
矿冶科技集团有限公司
所长/研究员级高工
广西大学
处长/教授
赤泥综合利用研究报告2025
推广

热门技术
更多+

推荐企业
更多+

福建省金龙稀土股份有限公司
宣传

发布

在线客服

公众号

电话

顶部
咨询电话:
010-88793500-807