青岛垚鑫智能科技有限公司
宣传

位置:中冶有色 >

有色技术频道 >

> 废水处理技术

分类:
全部
矿山技术
冶金技术
材料制备及加工技术
环境保护技术
分析检测技术
 
全部
废水处理技术
大气治理技术
固/危废处置技术
土壤修复技术
地区:
全部
北京
天津
上海
重庆
河北
山西
辽宁
吉林
黑龙江
江苏
浙江
安徽
福建
江西
山东
河南
湖北
湖南
广东
海南
四川
贵州
云南
陕西
甘肃
青海
内蒙
广西
西藏
宁夏
新疆
其他
其他
展开
 
全部
南京
无锡
徐州
常州
苏州
南通
连云港
淮安
盐城
扬州
镇江
泰州
宿迁

江苏苏州有色金属废水处理技术理论与应用

免费发布技术信息>>
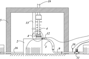
用于工业废水的降解装置

本发明公开的一种用于工业废水的降解装置,包括检测平台,所述检测平台的内部设置有防跌落机构。本发明所述的一种用于工业废水的降解装置,设有防跌落机构、加药桶放置机构与液面观察机构,能够在使用者攀爬检测平台时,将脚部插入限位罩内部再踩踏防滑踏板攀爬检测平台,提高攀爬时的稳定,设置的加药桶放置机构,在替换加药桶时,可以将放置盒从连接外壳内部抽出,替换放置盒内部的加药桶,再将放置盒推入连接外壳内部,减少加药桶替换的劳动强度,设置的液面观察机构,在装置使用时,降解箱内部的液面浮球可以在污水的升高下伸出反光提示板,方便人们观察降解箱内部的液面高度,带来更好的使用前景。

标签:
废水处理
江苏 - 苏州 来源:中冶有色网 2023-03-19
工业废水处理用清洗设备

本实用新型公开了工业废水处理用清洗设备,包括箱体,所述箱体一侧设有出水管,所述箱体另一侧设有进水管,所述进水管内部设有开关阀门,所述箱体顶部固定连接有固定板,所述固定板表面固定连接有高压水泵,所述箱体表面设有密封板,所述密封板表面固定连接有把手,所述箱体内部靠近顶部位置处固定连接有分流管,所述分流管底部设有高压喷头,所述箱体内部固定连接有固定槽,所述箱体内部与密封板平行位置处设有第一过滤板,所述箱体内部位于第一过滤板底部设有第二过滤板,所述箱体内部位于第二过滤板底部设有第三过滤板。本实用新型通过第一过滤板、第二过滤板、第三过滤板的设计能够过滤工业废水中的污垢防止其累积在运输管道内壁上。

标签:
废水处理
江苏 - 苏州 来源:中冶有色网 2023-03-19
工业废水过滤除杂装置

本发明公开了一种工业废水过滤除杂装置,包括支撑架,支撑架安装在底座上,支撑架的顶部设有过滤筒,过滤筒的内部安装有过滤除杂机构,过滤筒的底部设有下液管,下液管的下端设有下液口;过滤筒的内部安装有旋转过滤筒,旋转过滤筒的一端设有定位座,定位座的外侧部位置设有防护仓,防护仓的内部安装有第一驱动电机,第一驱动电机的前部设有第一旋转轴,第一旋转轴的外周面套装有第一搅拌叶片、涡旋叶片以及第二搅拌叶片,防护仓的内部设有一级过滤腔,第一搅拌叶片、涡旋叶片以及第二搅拌叶片安装在一级过滤腔内。本发明的二级过滤腔内的水则通过下液管从下液口排出,大大提高了对工业废水进行过滤除杂处理的效率。

标签:
废水处理
江苏 - 苏州 来源:中冶有色网 2023-03-19
辐照工业废水用控制处理系统

本实用新型涉及一种辐照工业废水用控制处理系统,包括电子加速器、扫描钛窗以及废水周转单元、自屏蔽体,该系统还包括用于前置输水单元、用于收集处理后废水的后置收集单元、形成水幕的喷射单元、辐照保护单元;废水周转单元包括废水周转箱、位于废水周转箱上方的扫描窗口以及出水口;辐照保护单元包括保护膜保持框以及保护膜。采用上述系统之后,可以减少甚至消除电子束直接作用在废水上产生的衍生腐蚀性物质对相关部件的破坏,延长钛箔的使用寿命;可以配合各种类型以及可变能量段的电子加速器使用;废水输送水幕厚度、流速可随电子束能量、束流同步调节,并且辐照废水吸收剂量一致性好;可使小型化自屏蔽加速器的使用得以实现。

标签:
废水处理
江苏 - 苏州 来源:中冶有色网 2023-03-19
用于工业废水回收处理的异味处理设备

本实用新型公开了一种用于工业废水回收处理的异味处理设备,涉及废水处理技术领域,为解决现有技术中的在废水中常常含有异味,污染周围空气,影响回收的废水质量的问题。所述设备主体的内部分别设置有第一吸附腔、第二吸附腔和氧化腔,所述第一吸附腔的内部设置有硅藻土,所述第二吸附腔的内部设置有活性炭箱,所述活性炭箱的两侧均设置有过水孔,所述氧化腔的内部设置有放气管,且放气管与设备主体通过螺栓固定连接,所述放气管的内部设置有放气孔,所述设备主体的上方安装有进气管道,且设备主体与进气管道通过螺栓固定连接,所述进气管道与放气管连通。

标签:
废水处理
江苏 - 苏州 来源:中冶有色网 2023-03-19
工业废水深度处理设备
工业废水深度处理设备 1011     
 0

本发明公开了一种工业废水深度处理设备,其特征在于:其包括:废水预处理静止和电吸附除油装置,通过静电吸附将废水中的油分去除,通过施加低压脉冲电絮凝机理使废水中的污染物以固态形式分离;废水膜分离集合,采用超滤膜过滤器将废液中以固态形式的污染物通过超滤膜将其过滤分离;废水电解处理集合包括有存液箱和电解箱,所述存液箱内部的顶部一侧设置有一药剂箱,所述药剂箱的顶部设置有一药剂投放口,所述药剂箱的底部设置有一喷洒头,还包括:自动启停模块、自动清洗模块、远程监控模块、手动控制模块、故障自动判断模块、一键急停模块。

标签:
废水处理
江苏 - 苏州 来源:中冶有色网 2023-03-19
工业废水回收用沉淀装置

本实用新型公开了一种工业废水回收用沉淀装置,包括第一壳体,所述第一壳体的一侧外壁开设有安装槽,且第一壳体的一侧外壁固定安装有两组定位板,所述第一壳体的一侧外壁设置有第二壳体,且第二壳体靠近第一壳体的一侧外壁固定安装有连接板和两组连接块,所述连接块和定位板的前后表面位置之间均开设有定位槽,且相邻两组连接块和定位板的前后表面位置活动安装定位杆,所述第二壳体的上表面固定安装密封板。本实用新型为一种工业废水回收用沉淀装置,该沉淀装置中的双重沉淀处理结构,可有效的加强其沉淀效果,使得工业废除在沉淀处理工序处理中更加彻底,同时也可有效的简化其拆卸步骤,使后期的维护清洁操作更加便捷。

标签:
废水处理
江苏 - 苏州 来源:中冶有色网 2023-03-19
用于制糖工业的废水处理系统

本实用新型公开了一种用于制糖工业的废水处理系统,包括集水池、调节池、配水池、厌氧反应室、好氧池、二沉池,所述集水池的出水端连接所述调节池的进水端,所述调节池的出水端连接所述配水池的进水端,所述配水池的出水端连接所述厌氧反应室的进水端,所述厌氧反应室的出水端连接所述好氧池的进水端,所述好氧池的出水端连接所述二沉池的进水端,其特征在于,所述废水处理系统还包括除磷装置。通过上述方式,本实用新型能够有效去除废水中的磷含量,且有效降低废水的COD值,使废水达到排放标准或循环利用。

标签:
废水处理
江苏 - 苏州 来源:中冶有色网 2023-03-19
辐照工业废水用控制处理系统

本发明涉及一种辐照工业废水用控制处理系统,包括电子加速器、扫描钛窗以及废水周转单元、自屏蔽体,该系统还包括用于前置输水单元、用于收集处理后废水的后置收集单元、形成水幕的喷射单元、辐照保护单元;废水周转单元包括废水周转箱、位于废水周转箱上方的扫描窗口以及出水口;辐照保护单元包括保护膜保持框以及保护膜。采用上述系统之后,可以减少甚至消除电子束直接作用在废水上产生的衍生腐蚀性物质对相关部件的破坏,延长钛箔的使用寿命;可以配合各种类型以及可变能量段的电子加速器使用;废水输送水幕厚度、流速可随电子束能量、束流同步调节,并且辐照废水吸收剂量一致性好;可使小型化自屏蔽加速器的使用得以实现。

标签:
废水处理
江苏 - 苏州 来源:中冶有色网 2023-03-19
锂电池工业废水净化方法

本发明涉及一种锂电池工业废水净化方法,包括废水分类储存、酸碱废水中和、混凝絮凝沉淀以及兼氧膜生物反应去污。采用酸碱中和、混凝絮凝沉淀、兼氧膜生物反应器技术联用的处理方法,提高锂电池废水的可生化性,工艺简单,成本低;同时实现了锂电池生产企业三种废水处理的有机结合,能同时处理三类废水,简化了工艺,减少的设备、药剂的重复投入,节省了运行成本。另外本方法对酸性和碱性废水仅仅进行简单的中和,并不添加额外的药剂。之后利用中和过的废水还残存的酸碱性先与锂电池生产废水进行酸碱调节,再视情况加入酸碱调节剂。这样节省了设备和药剂的投入,也减少了生产的工序。

标签:
废水处理
江苏 - 苏州 来源:中冶有色网 2023-03-19
密封性好的用于工业含油废水提炼设备

本实用新型提供一种密封性好的用于工业含油废水提炼设备,所述密封性好的用于工业含油废水提炼设备,包括箱体;盖体组件,所述盖体组件的底部设置于所述箱体的顶部;固定组件,所述固定组件设置于所述箱体的表面;搅拌组件,所述搅拌组件设置于所述箱体的内部;所述盖体组件包括箱盖,所述箱盖的底部与箱体的顶部相接触,所述箱盖的底部连接有四个固定块,所述箱盖的底部滑动连接有四个接触板。本实用新型提供的密封性好的用于工业含油废水提炼设备通过接触板和凸块的配合使用,可以减少箱体与箱盖之间的缝隙,这样可以增加装置的密封性,可以防止气体泄漏的情况,提高了装置使用时的效率,同时也提高了装置的实用性。

标签:
废水处理
江苏 - 苏州 来源:中冶有色网 2023-03-19
纺织工业废水的处理方法

本发明公开了一种纺织工业废水的处理方法,包括:(1)调整pH值;(2)对步骤(1)处理所得废水进行混凝气浮处理;(3)对步骤(2)处理所得废水进行一级缺氧/一级好氧生物处理;(4)对步骤(3)处理所得废水进行二级缺氧/二级好氧生物处理;(5)对步骤(4)处理所得废水进行过滤和纳滤处理;(6)对所述步骤(5)处理所得纳滤产水进行反渗透处理,反渗透浓水进入一级缺氧池;(7)对步骤(5)处理所得纳滤浓水进行DTRO碟管式反渗透处理;(8)对步骤(7)处理所得DTRO碟管式反渗透浓水进行蒸发处理;该方法不仅解决了废水中盐分分散处理的问题,提高了处理效率、效果,降低了处理成本,还实现了废水处理零排放。

标签:
废水处理
江苏 - 苏州 来源:中冶有色网 2023-03-19
重金属工业废水的绿色处理设备及利用方法

本发明提供一种重金属工业废水的绿色处理设备及利用方法,运用于化工、环保水处理技术领域,过滤装置包括过滤集结组件和过滤器;净化装置包括净化调节组件和净化池;循环利用装置包括PAC加药装置、回收水池以及供水主管;采用了收集装置将废水收集起来,防止废水乱排放对水源产生二次污染,达到了保护水源的目的;采用了过滤装置,将污水中的杂质进行过滤,防止污水中的杂质进一步污染水体,达到了水体的初步净化目的,采用了重金属捕集池采用了重金属捕集池将污水中的重金属离子提取出来,防止对水体的进一步污染,实现对污水中重金属离子的分离有利于保护水体环境。

标签:
废水处理
江苏 - 苏州 来源:中冶有色网 2023-03-19
环保低噪的工业废水回收设备

本实用新型公开了一种环保低噪的工业废水回收设备,包括底座,所述底座顶部的中间固定连接有防滑垫,防滑垫的顶部设置有第一保护箱,所述第一保护箱的底部与防滑垫接触,所述第一保护箱的内部为中空结构,所述第一保护箱的内部设置有搅拌箱。该环保低噪的工业废水回收设备,通过第一保护箱和第二保护箱的设计,对过滤箱和搅拌箱起到了防护的作用,避免本装置在使用时搅拌箱和过滤箱受到外部撞击从而发生损坏,第一吸音海绵和第二吸音海绵的设计,对过滤箱和搅拌箱加工时产生的噪音进行吸收,起到了降噪环保的作用,通过防滑垫和减震弹簧的设计,减小装置在使用过程中产生的晃动,起到了减震的作用,满足了使用者的使用需求。

标签:
废水处理
江苏 - 苏州 来源:中冶有色网 2023-03-19
化肥工业废水净化系统

本发明涉及一种化肥工业废水净化系统,包括絮凝沉淀单元、废水汽提单元、芬顿氧化反应单元以及化肥生产废水储罐。本系统采用絮凝沉淀单元、废水汽提单元、芬顿氧化反应单元联用的模式,既保证了处理效果又兼顾了成本;整体工艺简单,处理效果好,废水运行成本低;同时处理系统抗冲击负荷强,系统稳定性高。采用阳离子瓜尔胶絮凝剂作为絮凝剂。提高了絮凝效果,减少了絮凝剂用量,节省了成本,并且绿色环保对环境无污染。模块化卧式汽提塔的设计增加了汽提塔结构的灵活性,降低了成本,也方便汽提塔的保养和维修。填料细柱状突起及镂空部的设计,使填料具有比表面积大、压降小、流体分均匀、传质效率高等优点。

标签:
废水处理
江苏 - 苏州 来源:中冶有色网 2023-03-19
基于电化学和膜过滤工业废水高效处理设备

本发明公开了一种基于电化学和膜过滤工业废水高效处理设备,其包括:废水油分离处理集合,通过多通道聚集和静电吸附将废水中的油分去除;废水电解处理集合,通过施加低压脉冲电絮凝机理使废水中的污染物以固态形式分离,通过电解水产生羟基将有机类污染物分解去除;废水膜分离集合,采用超滤膜过滤器将废液中以固态形式的污染物通过超滤膜将其过滤分离;采用碟片式反渗透膜分离技术将水中残余污染物去除;净水排放集合,用于将处理后的水进行最后的净化和排放。本发明能实现废水全自动处理后实现中水回用,同时达到国家排放要求。原水污染成份的波动性对处理后水样影响较小,在降低处理成本的同时也节省了企业生产所消耗的用水。

标签:
废水处理
江苏 - 苏州 来源:中冶有色网 2023-03-19
工业废水净化蒸发器
工业废水净化蒸发器 879     
 0

本实用新型公开了一种工业废水净化蒸发器,包括设备本体和顶盖,所述顶盖和设备本体的外侧分别固定连接有第一固定法兰和第二固定法兰,所述第一固定法兰的顶部和第二固定法兰的底部分别设有多个第一固定板和多个第二固定板,所述第一固定板的一侧活动连接有L型架,L型架的一侧固定连接有L型块,所述第二固定板的一侧固定连接有两个固定杆。本实用新型不仅能够方便对废水净化蒸发器进行拆卸清洗,提高了废水净化蒸发器拆卸的便捷性,而且能够避免在使用废水净化蒸发器发生漏水的现象,提高了废水净化蒸发器的密封效果,还能够使废水净化蒸发器放置的更加稳定,提高了废水净化蒸发器使用的稳定性。

标签:
废水处理
江苏 - 苏州 来源:中冶有色网 2023-03-19
工业废水处理用管式微滤膜过滤装置

本实用新型涉及一种工业废水处理用管式微滤膜过滤装置,包括支架,设于支架上的过滤组件,以及分别设于过滤组件沿过滤方向两端的污水进口和净水出口,其特征在于:过滤组件包括多个首尾顺次连接的膜管组件单元,膜管组件单元包括外管和设于外管中的微滤膜膜管,相邻膜管组件单元通过各自微滤膜膜管的连通而连通,污水进口与微滤膜膜管连通,净水出口与外管连通,污水进口的下游还设有错流循环泵。本过滤装置采用内进外出错流方式运行,减少未能透过微滤膜的颗粒在膜表面的堆积,保持过滤组件通量的稳定性,延长使用寿命。本过滤装置的进水为经絮凝、有效沉淀等方式处理后的工业废水,去除粒径在0.05μm以上的微粒,使出水水质达到RO膜进水要求。

标签:
废水处理
江苏 - 苏州 来源:中冶有色网 2023-03-19
工业废水高效处理设备及处理工艺

本发明公开了一种工业废水高效处理设备及处理工艺,处理设备包括有废水油分离处理集合、废水电解处理集合、废水膜分离集合和净水排放集合;处理工艺包括如下步骤:(1)将废水装入预处理箱预处理;(2)将废水传输至静置除油箱静置,而后将油吸出收集;(3)废水传至静电吸附箱进行静电吸附工序;(4)废水传输至存液箱后投放药剂再进行搅拌;(5)将废水传输至电解箱处理;(6)处理之后的废水传输至超滤膜过滤筒进行膜过滤;(7)分离后的废水传输至反渗透过滤筒将水中残余污染物去除;(8)处理完毕后,废水通过过滤筒进行最后的过滤消毒,而后通过排放管排放。本发明能实现废水全自动处理后实现中水回用,同时达到国家排放要。

标签:
废水处理
江苏 - 苏州 来源:中冶有色网 2023-03-19
工业废水处理的装置
工业废水处理的装置 958     
 0

本实用新型涉及水环境保护的技术领域,特别是涉及一种工业废水处理的装置,其增加工业废水的处理效果,提高实用性;包括底板、支柱、箱体、第一铰链、箱盖、倒斗、排出管、排放管、进水管、支架、过滤板、投放窗和第二铰链,支柱的底端与底板的顶端连接,箱体底端与支柱的顶端连接,箱体内部设置有腔室,箱盖通过第一铰链可转动安装在箱体上,倒斗的顶端与箱体的底端连接,排出管的顶端与倒斗的底端连接并与腔室连通,排出管的输出端与排放管的输入端连接,进水管安装在箱体上并与腔室连通,多组支架安装在箱体腔室内,过滤板的底端与支架的顶端连接,箱体上设置有投放口,投放窗通过多组第二铰链可转动安装在投放口处,箱体上设置有搅拌装置。

标签:
废水处理
江苏 - 苏州 来源:中冶有色网 2023-03-19
新型的工业废水处理装置

本发明涉及污水处理装置技术领域,特别涉及一种新型的工业废水处理装置,它包含吸附池、沉淀塔、过滤塔,所述的吸附池的外侧设置有化学药剂添加槽、污水进口,所述的沉淀塔设置在过滤塔的上端,沉淀塔的底部设置有排污过滤装置,沉淀塔的中间设置有无机滤料,沉淀塔的上端一侧通过管道与过滤塔中间连接,所述的过滤塔的中间设置有淹没式膜滤器,过滤塔的底部设置有排污口;它结构简单,具有去除各种难降解有机物和水溶性有机物的良好性能,大大降低了工业废水的处理成本;处理后的水质能够达到各种排放标准和要求。

标签:
废水处理
江苏 - 苏州 来源:中冶有色网 2023-03-19
工业废水的重金属离子高灵敏度检测实验装置

本发明属于环境保护警示牌技术领域,尤其为一种工业废水的重金属离子高灵敏度检测实验装置,包括底板和收纳盒,所述底板的上方安装有支撑架,且支撑架的内壁设置有导轨,并且导轨的内侧安装有容置盘,所述容置盘的内侧设置有反应皿,所述容置盘的顶部安装有标记牌,且标记牌的外侧设置有卡块,并且卡块的端头处安装有弹簧,所述底板的顶部设置有安装架,且安装架的内部安装有收纳桶,所述收纳桶的内部设置有收纳篮,且收纳篮的外壁安装有滑块,所述收纳桶的内壁开设有导向槽。该工业废水的重金属离子高灵敏度检测实验装置,便于多样本的放置和标记,便于检测实验后传感材料的收纳,便于传感原材料等杂物的放置。

标签:
废水处理
江苏 - 苏州 来源:中冶有色网 2023-03-19
工业废水零排放清液防堵塞型结晶蒸发器

本发明公开了一种工业废水零排放清液防堵塞型结晶蒸发器,包括发生反应的壳体,该壳体呈空心状,所述壳体一侧设有物料进口,物料进口与分离器连接,所述壳体内设有导流桶,导流桶的上端顶靠在壳体内部,所述导流桶上部周侧设有若干开孔,壳体上位于导流桶的一侧设有循环出料口,壳体上安装有封头,所述封头上设有凹槽,该凹槽内安装有蒸汽出管;所述壳体下方设有折边锥封头,所述折边锥封头下方设有接圈,接圈下方设有锥接圈,所述锥接圈上设有结晶出料口。本发明的有益效果是,能够有效对工业废水进行蒸发结晶,并且做到零排放,便于人们进行使用。

标签:
废水处理
江苏 - 苏州 来源:中冶有色网 2023-03-19
工业废水焚烧余热锅炉

本发明公开了一种工业废水焚烧余热锅炉,具有竖井式烟道,烟道底部具有烟气入口,烟道从下至上依次安装有蒸发器模块、过热器模块、第一空气预热器模块、省煤器模块、第二空气预热器模块、烟囱,蒸发器模块内安装有蒸发器,过热器模块内安装有过热器,第一空气预热器模块内安装有第一空气预热器,省煤器模块内安装有省煤器,第二空气预热器模块内安装有第二空气预热器,第二空气预热器具有空气入口,第一空气预热器具有空气出口。本发明用于回收工业废水焚烧后的高温烟气能量,既能有效利用能量,又能保护环境。

标签:
废水处理
江苏 - 苏州 来源:中冶有色网 2023-03-19
利于工业废水处理的微生物固定化处理方法

本发明提供了一种利于工业废水处理的微生物固定化处理方法,运用于环保技术领域采用磁性微纳米非均相Fenton催化材料,在氧化剂中诱导产生羟基自由基将难降解有机污染物降解为CO2、H2O和其他矿物盐,将难降解的污染物转化为易生物处理的物质,采用新型复合聚氨酯多孔载体来提高固定化微生物数量和对有毒物质的承受及降解能力,将工业废水中难降解的污染物转化为易生物处理的物质之后与固定化微生物联用,提高有机化工废水效率和降低成本,整个过程绿色、无二次污染。

标签:
废水处理
江苏 - 苏州 来源:中冶有色网 2023-03-19
用于工业废水的沉淀净化装置

本实用新型公开了一种用于工业废水的沉淀净化装置,包括污水导入管、废水沉淀池、沉淀剂供给机构、支撑架和反冲洗管,所述支撑架设置在废水沉淀池的上方,所述污水导入管设置在支撑架上,所述沉淀剂供给机构设置在废水沉淀池的中部,且废水沉淀池与污水导入管吊装固定,所述反冲洗管设置在废水沉淀池的池底处。该实用新型设置有支撑架,在支撑架的两端均设有侧耳,且支撑架的底部两侧均设有夹具,使其方便与废水沉淀池的顶部的池边框夹紧固定,方便将其进行安装固定,且侧耳上通过第二支撑杆设有污水导入管,在污水导入管的一端设有排污浮罩,此种设计方便污水的供给,且可以保证排水过程在水面最上部,可以避免沉淀污垢对排污管管口造成堵塞。

标签:
废水处理
江苏 - 苏州 来源:中冶有色网 2023-03-19
工业废水膜过滤处理系统

本实用新型涉及废水膜过滤技术领域,且公开了一种工业废水膜过滤处理系统,包括筒身,筒身的顶部固定连接有压板,压板的底部固定连接有橡胶密封板,橡胶密封板的外表面与筒身的内壁相接触,压板的顶部开设有螺纹孔,螺纹孔的内壁与螺纹杆外表面的顶部螺纹连接,螺纹杆外表面的底部与限位板滑动连接。该工业废水膜过滤处理系统,通过设置膜管为无机陶瓷膜,并设置橡胶密封板顶住膜管,以加快膜管过滤污水的速率,提高了装置的工作效率,通过设置螺纹杆和压板相配合,使得螺纹杆限制限位板的运动轨迹,减小限位板对膜管的挤压,从而减小膜管在运行过程中受到的压力,提高了膜管的使用寿命,便于装置的长久使用。

标签:
废水处理
江苏 - 苏州 来源:中冶有色网 2023-03-19
可防止堵塞的工业废水处理设备

本实用新型公开了可防止堵塞的工业废水处理设备,涉及工业废水处理技术领域,包括过滤箱和清理单元;过滤箱下表面四角分别设置有支柱,过滤箱内部设置有喷水单元和滤网,过滤箱上表面设置有进水管;清理单元包含有支撑板、电机、螺杆、滑块、刮板、安装架、出杂孔、接杂箱、电动滚筒和毛刷,所述接杂箱和支撑板分别设置在过滤箱的两侧,接杂箱上设置有安装槽,接杂箱通过出杂孔连通过滤箱,所述支撑板上设置有电机,所述电机的输出轴连接螺杆,所述螺杆分别转动连接过滤箱和接杂箱。本实用新型能够对废水中的杂物进行有效去除,且能避免杂物对滤网造成堵塞,有效提高了废水处理的效率。

标签:
废水处理
江苏 - 苏州 来源:中冶有色网 2023-03-19
工业有机废水的预处理方法

本发明提供了一种工业有机废水的预处理方法,包括以下步骤:S1.将有机废水过滤,将废水的pH为4.5‑6.5;过超声协同Fenton反应进行降解,其中,Fenton试剂和溴化十六烷基三甲胺改性的沸石按照质量比为1‑3:0.5‑3制成混合料,其中混合料在废水中的投加浓度为500‑1500ppm;S3.将步骤S2中的废水过滤,然后再加入复合絮凝剂,超声波反应40‑90min,然后加入固定化酶载体,继续超声波反应60‑120min;S4.步骤S3中的水体沉降,过滤,即可。本预处理方法处理废水的效果显著,方法简单,易实施。

标签:
废水处理
江苏 - 苏州 来源:中冶有色网 2023-03-19
工业废水处理用的过滤装置

本实用新型涉及工业废水处理技术领域,公开了一种工业废水处理用的过滤装置,所述第一筒体的内部安装有调节组件,且第一筒体与第二筒体之间还设置有水泵,所述第一筒体的内壁固定安装有阻流板,所述第二筒体的外侧壁固定安装有第一出液口,且第二筒体的内壁开设有滑槽,所述第二筒体的内部设置有推送组件。本实用新型通过调节组件可以方便使用者调节搅拌杆的伸展程度,在电动机相同的转速下,可以提高第一筒体内废水与化学药剂的搅拌混合效率,使二者快速发生反应,方便后续处理,通过推送组件可以带动活塞和过滤网进行左右移动,此时通过活塞的往复运动,可以对第二筒体内壁上附着的杂质进行清除,降低了使用者的清洁难度。

标签:
废水处理
江苏 - 苏州 来源:中冶有色网 2023-03-19
上一页 111 112 113 114 115 ... 118 下一页
共118页    到第

中冶有色为您提供最新的江苏苏州有色金属废水处理技术理论与应用信息,涵盖发明专利、权利要求、说明书、技术领域、背景技术、实用新型内容及具体实施方式等有色技术内容。打造最具专业性的有色金属技术理论与应用平台!

全国热门有色金属设备推荐
展开更多 +
全国热门有色金属技术推荐
展开更多 +

 

江西省隆恩特环保设备有限公司
宣传

报名参会
更多+

报告下载

有色专家
更多+

矿冶科技集团江苏北矿金属循环利用科技有限公司
书记 / 总经理
南方科技大学
外籍院士
中国瑞林工程技术有限公司
中国工程院院士
江西理工大学
副处长/教授
辽宁忠旺集团
教授级高工
赤泥综合利用研究报告2025
推广

热门技术
更多+

推荐企业
更多+

福建省金龙稀土股份有限公司
宣传

发布

在线客服

公众号

电话

顶部
咨询电话:
010-88793500-807