青岛垚鑫智能科技有限公司
宣传

位置:中冶有色 >

有色技术频道 >

> 加工技术

分类:
全部
矿山技术
冶金技术
材料制备及加工技术
环境保护技术
分析检测技术
 
全部
功能材料技术
复合材料技术
新能源材料技术
合金材料技术
加工技术
地区:
全部
北京
天津
上海
重庆
河北
山西
辽宁
吉林
黑龙江
江苏
浙江
安徽
福建
江西
山东
河南
湖北
湖南
广东
海南
四川
贵州
云南
陕西
甘肃
青海
内蒙
广西
西藏
宁夏
新疆
其他
其他
展开
 
全部
南京
无锡
徐州
常州
苏州
南通
连云港
淮安
盐城
扬州
镇江
泰州
宿迁

江苏常州有色金属加工技术理论与应用

免费发布技术信息>>
具有自修复功能的锂硫电池正极极片及其制备方法

本发明公开了一种具有自修复功能的锂硫电池正极极片及其制备方法,属于电化学电池技术领域。本发明锂硫电池正极极片是由接枝了二硫键/多硫键的硫复合材料和粘结剂所构成,其中,硫复合材料和粘结剂中的二硫键/多硫键是动态可逆共价键,提供自修复功能。在锂硫电池充放电过程中,可以利用硫复合材料和粘结剂中的二硫/多硫键的自修复功能修复极片中产生的裂纹以及调控活性物质在充放电过程中的相转移过程,避免纳米颗粒的团聚,实现活性物质的均匀沉积,进而实现锂硫电池的高性能和长循环寿命。

标签:
加工技术
江苏 - 常州 来源:中冶有色网 2023-03-18
均相磷酸铁锂电池的制备方法

本发明涉及了一种均相磷酸铁锂电池的制备方法,属于电池材料领域。针对目前在磷酸铁锂制备成本较高,电池成品率低,而且反应过程中,很难保证反应的一致性的弊端,提供了一种均相磷酸铁锂电池的制备方法,该方法将硝酸镍、硝酸铝和煅烧尿素得到的黄色粉末加入到无水乙醇中进行,冷却过滤后的得滤渣并干燥煅烧,将硝酸铁、硝酸磷和煅烧后的滤渣加水搅拌、超声分散后过滤烘干,将干燥好的固体放入混合溶液中浸泡、烘烤,烘烤后置于一氧化氮的还原性气氛的高温炉中,焙烧4~6h,即可,该方法制得的磷酸铁锂电池内部颗粒大小较为均匀,颗粒团聚较少,一致性好,而且工艺简单,成本低。

标签:
加工技术
江苏 - 常州 来源:中冶有色网 2023-03-18
高阻燃高导热锂电池隔膜及其制备方法

本发明涉及一种高阻燃高导热锂电池隔膜及其制备方法,将氮化铝5~10份、氮化硼1~3份、碳化硅1~3份、核壳阻燃剂5~10份、二乙基次膦酸铝1~3份、硅烷偶联剂0.1~1份置于乙醇中,搅拌形成悬浮液;然后将超高分子量聚乙烯20~40份与上述两种悬浮液进行混合,干燥后,加入60‑80份白油经熔融挤出,双向拉伸、白油萃取、热定型后收卷制得高阻燃高导热锂电池隔膜。本发明在锂电池隔膜中添加复合阻燃体系以及高导热无机填料,形成桥架连接的阻燃网络和导热网络,提高隔膜的阻燃性及导热性,从导热及阻燃两个方面解决锂电池的安全性问题。

标签:
加工技术
江苏 - 常州 来源:中冶有色网 2023-03-18
锂离子电池无钴浆料及其制备方法与应用

本发明涉及一种锂离子电池无钴浆料及其制备方法与应用,所述锂离子电池无钴浆料由无钴材料粉体、导电剂粉体、第一粘结剂、第二粘结剂与溶剂组成;所述制备方法直接将无钴粉体材料、导电剂粉体、第一粘结剂、第二粘结剂与溶剂进行混合,使无钴材料粉体能够在浆料体系中充分分散,且制备时间较短,极大地提高了锂离子电池无钴浆料的制备效率,提高了锂离子电池无钴浆料的生产效率,降低了生产成本。

标签:
加工技术
江苏 - 常州 来源:中冶有色网 2023-03-18
充放电自动均衡的锂离子动力电池串联电池组

本发明涉及一种锂离子动力电池,特别涉及一种充放电自动均衡的锂离子动力电池串联电池组,本发明每个单体锂离子动力电池(1)主电芯(1-1)串联,还包括均衡电芯(1-2)和芯片(9),每个单体锂离子动力电池(1)的主电芯(1-1)和均衡电芯(1-2)共正极,每个单体锂离子动力电池(1)主电芯(1-1)与均衡电芯(1-2)之间设置充电控制电路(3)和放电控制电路(4),每个单体锂离子动力电池(1)主电芯(1-1)上还设置有过充过放保护电路(5)。本发明另一种方案是每个单体锂离子动力电池(1)主电芯(1-1)和均衡电芯(1-2)共负极。本发明使用寿命长,充放电效率高,成本低,实现了真正的自动均衡。

标签:
加工技术
江苏 - 常州 来源:中冶有色网 2023-03-18
提高锂电池能量密度研究用结构件

本实用新型公开了一种提高锂电池能量密度研究用结构件,包括壳体和盖板,所述盖板通过六角螺栓固定安装在所述壳体的顶部,所述壳体上设置有散热组件,所述盖板的上表面分别开设有正极通孔和负极通孔;本实用新型,通过风帽配合,在不借用外力的情况下可以将壳体内由锂电池产生的高温及时的散发出去,降低散热成本,提高锂电池的使用寿命,同时避免散热期间外界的灰尘进入壳体内,进一步避免因灰尘堆积而造成散热困的现象,提高散热效率,而且方便将锂电池从壳体内取出,便于锂电池的更换。

标签:
加工技术
江苏 - 常州 来源:中冶有色网 2023-03-18
液冷和相变冷却结合的锂离子电池箱体

本实用新型涉及锂离子电池技术领域,具体涉及液冷和相变冷却结合的锂离子电池箱体,包括箱体,箱体上下开口,箱体包括液冷结构和相变冷结构,液冷结构包括连接在箱体上端的第一液冷板和连接在箱体下端的第二液冷板,箱体内设有若干列锂离子电池,相邻四个锂离子电池之间设有一个液冷管道,液冷管道内有冷却液,第一液冷板上设有与液冷管道相通的上进液孔,第二液冷板上设有与液冷管道相通的下出液孔,相变冷结构包括设置在箱体内壁上的相变材料层,本实用新型将液冷和相变冷却方式结合,对锂离子电池组进行降温,降温速度快,工作效率高,保证了电池的正常工作,防止危险发生。

标签:
加工技术
江苏 - 常州 来源:中冶有色网 2023-03-18
富锂陶瓷涂覆隔膜及其制备方法

本发明公开了一种富锂陶瓷涂覆隔膜及其制备方法。富锂陶瓷涂覆隔膜包括基膜,基膜表面有富锂陶瓷浆料涂布形成的涂覆层。富锂陶瓷浆料各原料组分为,按重量份数计,富锂陶瓷粉体10‑60份、粘结剂3‑10份、交联剂0.5‑10份。其中交联剂具有N=N双键、粘结剂具有CH3‑CH2‑CH2‑结构,粘结剂和交联剂通过键合连接。富锂陶瓷涂覆隔膜的制备方法为(1)锂盐与陶瓷粉体共同合成、煅烧形成富锂陶瓷粉体;(2)富锂陶瓷粉体、粘结剂、交联剂、水共混、分散、值得富锂陶瓷浆料;(3)在基膜表面均匀涂布富锂陶瓷浆料,经高温、紫外照射、光照、电子束作用,得到富锂陶瓷涂覆隔膜。本发明制备的富锂陶瓷涂覆隔膜耐高温且稳定性强,可提高锂电池使用寿命及电池容量。

标签:
加工技术
江苏 - 常州 来源:中冶有色网 2023-03-18
锂电池及车辆
锂电池及车辆 1137     
 0

本实用新型涉及一种锂电池及车辆,本实用新型的锂电池包括壳体,设于壳体内的极组,以及盖置于壳体上的盖板,并于壳体中填充有电解液。并且,盖板上设有防爆阀、注液孔以及正极柱和负极柱,于极组的外部包覆有Mylar膜,该Mylar膜包括由聚酯材料构成的膜体,以及覆设于膜体至少一侧的吸热层。本实用新型所述的锂电池,通过在Mylar膜中设置吸热层,可在电池内部发生热失控时,通过吸热层吸收热量,可使热量不至于很快散发出去传递到相邻电芯,相邻电芯发生热失控的间隔时间可得到延长,从而可提高锂电池的安全性能。

标签:
加工技术
江苏 - 常州 来源:中冶有色网 2023-03-18
用于镁锂合金的快速成型装置

本实用新型涉及一种用于镁锂合金的快速成型装置,包括控制器和密封的外壳,控制器设于外壳的外部,外壳内充满惰性气体、并设有机架,机架设有三维运动装置;三维运动装置上分别安置有挤出组件以及成型平台;挤出组件包括合金桶、环形加热器、保温层、测温电阻、以及施压部件,合金桶底部设有喷嘴,环形加热器设于合金桶的周向,保温层设于环形加热器的周向,测温电阻设于合金桶的桶壁;施压部件伸入合金桶内并与合金桶的桶壁密闭接触。本实用新型专门针对镁锂合金,能够实现无模具化成型;整个成型过程通过半熔或熔化状态挤出,累积层压强化了镁锂合金的绝对强度;成型过程属于高温挤出,相当于热轧工艺,有效解决镁锂合金时效软化现象。

标签:
加工技术
江苏 - 常州 来源:中冶有色网 2023-03-18
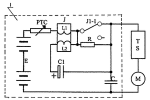
动力锂电池高倍率放电保护装置

一种动力锂电池高倍率放电保护装置,包括线路板,线路板上的电路由锂电池、电子保险丝、复合继电器、延时电容、限流电阻和双电层电容组成,复合继电器由电流线圈、电压保持线圈以及常闭触点组成,电子保险丝连接在蓄电池正极与电流线圈之间,延时电容的正极与电压保持线圈连接,负极与双电层电容的正极连接,双电层电容的负极与分别与蓄电池负极以及电机连接,限流电阻的一端分别与电流线圈和电压保持线圈连接,限流电阻的另一端分别与双电层电容的正极以及调速器连接,常闭触点与限流电阻并联。本实用新型结构简单,不仅能提高锂电池的放电倍率,而且能提高锂电池使用寿命。

标签:
加工技术
江苏 - 常州 来源:中冶有色网 2023-03-18
测定钛酸锂硅碳负极材料中元素含量的方法

本发明公开了一种测定钛酸锂硅碳负极材料中元素含量的方法。该方法包括:使用高频红外碳硫仪测定钛酸锂硅碳负极材料中的碳含量,使用微波消解结合ICP‑OES测定钛酸锂硅碳负极材料中的锂含量和钛含量,使用重量法结合ICP‑OES修正补偿测定钛酸锂硅碳负极材料中的硅含量。该方法可对钛酸锂硅碳负极材料中的锂、钛、硅、碳元素含量进行准确测定,且重现性好,能够为钛酸锂硅碳负极材料的研发提供有力支持。

标签:
加工技术
江苏 - 常州 来源:中冶有色网 2023-03-18
可调控锂电池充电器
可调控锂电池充电器 781     
 0

本实用新型涉及锂电池技术领域,具体涉及一种可调控锂电池充电器,包括充电装置,所述充电装置包括充电器本体和电极导片,所述充电器本体内固定连接有调节装置,所述调节装置包括弹簧、夹持板、橡胶板、螺纹帽、螺纹柱、顶板、滑杆和密封套,所述弹簧远离充电器本体内壁的一面固定连接有夹持板,所述充电器本体的上表面卡接有螺纹帽,所述螺纹帽内螺纹连接有螺纹柱。本实用新型设置有调节装置,通过设置弹簧与夹持板可以对不同宽度的锂电池进行夹持,同时通过转动螺纹柱可以对顶板的位置进行调节,实现对不同型号的锂电池进行夹持固定,同时橡胶板可以对锂电池进行保护,保障了本装置的适用性。

标签:
加工技术
江苏 - 常州 来源:中冶有色网 2023-03-18
具有耐高温隔膜的扣式锂电池

本实用新型涉及电池领域,尤其是一种具有耐高温隔膜的扣式锂电池。一种具有耐高温隔膜的扣式锂电池,包括正极壳和负极盖组构成的电池外壳,所述的电池外壳内设有正极和负极,所述的正极和负极之间设有隔膜,所述的隔膜的材质为玻璃纤维膜。本实用新型采用玻璃纤维膜作为隔膜,与普通隔膜相比,孔率、吸液率较高,且耐高温性能好,由普通隔膜的80~90℃提高到140~150℃,可用于需点焊的锂电池,能承受住点焊瞬间的高温,也可用于高温锂电池的生产。此外,由于该隔膜吸液及保液性能较高,电池经高温贮存老化试验后,电池放电性能也较好,即该耐高温高性能隔膜提高了扣式锂电池的贮存性能,提高了约50%。

标签:
加工技术
江苏 - 常州 来源:中冶有色网 2023-03-18
锂电池隔膜萃取用水循环系统及方法

本发明属于锂电池隔膜生产技术领域,具体涉及一种锂电池隔膜萃取用水循环系统及方法。本锂电池隔膜萃取用水循环系统包括:控制模块;若干级水洗子系统,沿隔膜输送方向依次布置,用于依次对隔膜进行多级水洗;浓度调节子系统;当上一级水洗子系统内萃取出的物质浓度超过预设值时,所述控制模块控制浓度调节子系统将下一级水洗子系统内的工艺水加入上一级水洗子系统内。本发明的有益效果是,本发明的锂电池隔膜萃取用水循环系统具有多级水洗子系统,可依次对隔膜进行多级水洗;浓度调节子系统可在上一级水洗子系统内萃取出的物质浓度超过预设值时,将下一级水洗子系统内的工艺水加入上一级水洗子系统内进行稀释,以对浓度进行调节,节省了资源。

标签:
加工技术
江苏 - 常州 来源:中冶有色网 2023-03-18
基于聚甲基丙烯酸甲酯的锂离子电池复合隔膜

本发明涉及一种基于聚甲基丙烯酸甲酯的锂离子电池复合隔膜,其主要用于锂离子电池。聚甲基丙烯酸甲酯微孔隔膜用超临界流体相分离的方法制备,聚甲基丙烯酸甲酯微孔膜的两侧分别复合Al2O3颗粒和PS微球,制得聚甲基丙烯酸甲酯锂离子电池复合隔膜。本发明中所制得的锂离子电池复合隔膜具有良好的透气性、保液性和耐高温性能,能显著提高电池的安全性和循环性能。

标签:
加工技术
江苏 - 常州 来源:中冶有色网 2023-03-18
空心多孔三元正极材料及其制备方法、锂离子电池

本发明提供了一种空心多孔三元正极材料及其制备方法、锂离子电池。该制备方法包括:将硬模板剂、络合剂、沉淀剂以及镍钴锰溶液混合,进行共沉淀反应,得到前驱体;将前驱体及锂盐混合进行煅烧,以去除硬模板剂,得到空心多孔三元正极材料。由上述制备方法制得的空心多孔的三元正极材料,有着较多的高度开放的三维孔道,更有利于锂离子的嵌入和脱出,同时还增大了电极和电解液的接触面积,可以有效地避免锂离子在快速嵌入和脱出过程中对三元正极材料结构的破坏现象,进一步提高了电池循环性能和安全性能。同时,该空心多孔的三元正极材料构成的电池还具有更高的倍率性能,其多孔结构促使电池在大倍率下充放电过程中依然具备较佳的结构稳定性。

标签:
加工技术
江苏 - 常州 来源:中冶有色网 2023-03-18
正极活性材料及其制备方法、锂离子电池

本申请提供正极活性材料及其制备方法、锂离子电池,其中,所述正极活性材料的化学通式为LiaYbNixCoyM1‑x‑yO2,其中,0.95≤a≤1.08,0≤b<0.2,0.4≤x<0.95,0≤y<0.6;M选自Mn、Al、Cu、Zn、Cr中的至少一种;Y选自Na、K、Rb、Cs、Fr中的至少一种;所述Y离子在所述正极活性材料的锂层中的掺杂量是Y离子总掺杂量的80%以上。本申请提供的正极活性材料及其制备方法、锂离子电池,能够实现碱金属离子的定向掺杂,提高碱金属离子在锂层中的掺杂量,从而有效改善正极活性材料的结构稳定性,进而改善材料的循环性能。

标签:
加工技术
江苏 - 常州 来源:中冶有色网 2023-03-18
锂电池极片检测方法、装置、存储介质及电子设备

本公开涉及一种本公开的目的是提供一种锂电池极片检测方法、装置、存储介质及电子设备,解决了在极片毛刺的检测过程因人为检测对极片造成损坏以及检测效率低,工作繁琐的技术问题。该方法包括:获取锂电池极片的纵截面图像,纵截面图像中包括被锂电池极片包裹的锂电池箔材;以纵截面图像中锂电池极片的长度方向为Y轴,锂电池极片的厚度方向为X轴,建立平面坐标系;根据纵截面图像获取锂电池极片的左侧边缘与锂电池箔材的第一距离值和锂电池极片的右侧边缘与锂电池箔材的第二距离值;在第一距离值和第二距离值同时小于预设值的情况下,输出锂电池极片检测合格的信息。

标签:
加工技术
江苏 - 常州 来源:中冶有色网 2023-03-18
制备钛酸锌锂/碳纳米复合负极材料的方法

本发明涉及锂离子电池制造技术领域,特别是一种制备钛酸锌锂/碳纳米复合负极材料的方法。首先将乙酸锂、乙酸锌、碳源溶于无水乙醇,再加入纳米二氧化钛,分散均匀制得悬浮液;将悬浮液在油浴中蒸干后,真空干燥,并且在保护气体气氛中热处理充分,得到目标产物钛酸锌锂/碳复合负极材料。本发明制备钛酸锌锂/碳复合负极材料工艺简单、安全、成本低廉,所得钛酸锌锂/碳复合负极材料粒径为纳米尺寸,具有较高的充放电容量、良好的倍率性能。

标签:
加工技术
江苏 - 常州 来源:中冶有色网 2023-03-18
石墨烯包覆锂离子电池石墨负极材料的方法及其应用

本发明公开一种石墨烯包覆锂离子电池石墨负极材料的方法,包括如下步骤:(1)将石墨超声分散于溶剂中,得到石墨悬浮液;(2)将氧化石墨超声溶解于溶剂中,得到氧化石墨烯溶液;(3)按氧化石墨烯与石墨的质量比为0.01~0.3:1,将氧化石墨烯溶液加入石墨悬浮液,超声混匀,然后除去溶剂,得到干燥的固体粉末;(4)在惰性气氛下,步骤(3)所得的固体粉末于600~1000℃处理1~4h,冷却即得到石墨烯包覆的锂离子电池石墨负极材料。该方法简单易行,耗能低,环境友好,成本低,包覆效果良好,纯度高,适宜大批量的工业化生产。作为锂离子电池负极材料时无需添加导电剂,而且循环性能十分优良,首次效率达90%。

标签:
加工技术
江苏 - 常州 来源:中冶有色网 2023-03-18
负极材料、负极片及其制备方法和全固态锂离子电池

本发明提供了负极材料、负极片及其制备方法和全固态锂离子电池,该负极材料包括包覆锂粉;硅碳粉;导电剂;和固体电解质;其中,所述包覆锂粉包括锂粉和包覆在所述锂粉的至少一部分外表面上的导锂包覆层。该负极材料中,一方面采用包覆锂粉,在可以有效补锂的同时,包覆锂粉的活性较锂粉大大降低,对环境、设备没有苛刻要求,与现有技术兼容性高,生产成本较低,同时操作安全性大大提高;另一方面,该负极材料中添加了固体电解质,可以极大降低锂粉与固态电解质的副反应,进而可以有效提高首次库伦效率的同时,使得锂电池体系具备更高的安全性。

标签:
加工技术
江苏 - 常州 来源:中冶有色网 2023-03-18
补锂装置
补锂装置 1063     
 0

本实用新型公开了一种补锂装置,属于锂离子电池负极补锂技术领域。该补锂装置包括沿第一方向依次设置的固定剂涂覆机构、锂粉释放组件、固化机构和辊压机构,固定剂涂覆机构用于在沿第一方向移动的补锂结构上涂覆固定剂,锂粉释放组件包括的锂粉分布器可转动地设置在补锂结构的上方,锂粉分布器上设置开口大小可调的锂粉漏孔,固化机构用于将锂粉固化在补锂结构上,辊压机构用于将锂粉压至预设厚度。该补锂装置通过设置固定剂涂覆机构,能够提前在补锂结构上涂覆一层固定剂,固定剂可以粘住锂粉,如此可在进行后续工序时保证锂粉位置固定不变,实现锂粉在补锂结构上的均匀分布,且通过将锂粉漏孔的大小设置为可调,能够实现精确补锂。

标签:
加工技术
江苏 - 常州 来源:中冶有色网 2023-03-18
适合低温环境的正极材料和锂离子电池

本发明公开一种适合低温环境的正极材料,按照质量分数包括以下物质:87%至97%磷酸铁锂;1%至8%金属氧化物;1%至3%正极导电剂;1%至3%粘结剂;本发明还公开了使用该正极材料制成的适合低温环境的锂离子电池;本发明通过向磷酸铁锂添加均匀分布的金属氧化物,改善磷酸铁锂与集流体之间的电接触,降低接触电阻,降低正极的电极极化,改善低温下的导电性;本发明所得锂离子电池有效降低低温环境下的内部阻抗,提升电池充放电效率,延长循环寿命。

标签:
加工技术
江苏 - 常州 来源:中冶有色网 2023-03-18
多元多尺度混杂增强镁锂基复合材料及其制备方法

本发明涉及金属材料技术领域,具体涉及一种多元多尺度混杂增强镁锂基复合材料及其制备方法。一种多元多尺度混杂增强镁锂基复合材料,以镁锂合金为基体,以微米碳化钛颗粒、纳米碳化钛颗粒、包镍多壁碳纳米管为增强相,包含以重量比计的下列组分:5~15wt.%的微米碳化钛颗粒、1~3wt.%的纳米碳化钛颗粒、0.5~1.5wt%的包镍多壁碳纳米管、3~6wt.%的Al、8~14wt.%的Li、余量为Mg,杂质元素Si、Fe、Cu和Ni的总量小于0.02wt.%。本发明还提供其制备方法。本发明制备的镁锂基复合材料,在不明显提高材料密度的前提下,大幅提高镁锂基复合材料的强度,并保证良好的塑性。

标签:
加工技术
江苏 - 常州 来源:中冶有色网 2023-03-18
串联锂电池组的检测方法

本发明提供一种串联锂电池组的检测方法,属于电学检测领域。所述检测方法通过间隔的发光电路对锂电池进行检测,以发光电路中发光二极管是否发光判断锂电池的状态,并以发光二极管未发光的位置判断发生故障的锂电池的位置。能在任何工艺位置和场地对串联锂电池组进行检测,不受场地、电源、气源等因素的限制。并且无需专用的检测设备,使用方便、快捷。判断依据简单明了,检测更可靠。

标签:
加工技术
江苏 - 常州 来源:中冶有色网 2023-03-18
隔膜、制备方法及锂离子电池

提供一种隔膜,包括式1和/或式2所示结构,其中,R为‑F、苯环、氟取代的苯环、氰基取代的苯环或C1‑8的全氟碳链的一种或几种。还提供该隔膜的制备方法和包括该隔膜的锂离子电池。本发明的隔膜,将聚合物电解质固定于隔膜上,提高电解质的力学性能。将离子电导率高的磺酰亚胺类锂盐接枝到隔膜上,限制阴离子的移动,从而降低电池内部的浓差极化。选用无定形态的PEO寡聚物(聚乙二醇甲醚甲基丙烯酸酯)作为锂离子传导链段,增强链段运动能力,提高锂离子的传导能力。

标签:
加工技术
江苏 - 常州 来源:中冶有色网 2023-03-18
二元富锂碳酸盐前驱体及其制备方法和应用

本发明公开了一种二元富锂碳酸盐前驱体及其制备方法和应用,其中,所述二元富锂碳酸盐前驱体化学式为Ni(1‑X)MnXCO3,其中,X为0.6~0.7。该二元富锂碳酸盐前驱体为小粒径实心球形结构,并且具有粒度可控且粒度分布均匀、球形度高、球形表面光滑、电化学性能和能量密度优异的优势,其在有氨体系和无氨体系均可稳定生产,特别是在无氨体系下,没有含氨废水产生,对环境友好,同时该二元富锂碳酸盐前驱体不含金属钴,较现有的三元镍钴锰前驱体不仅降低了原料成本,而且不会产生环境污染,另外采用该前驱体制备得到的正极材料具有较高的比容量以及优异的循环性能和电化学放电性能。

标签:
加工技术
江苏 - 常州 来源:中冶有色网 2023-03-18
碳包覆混合溶剂热掺杂富锂锰材料及其制备方法和应用

本发明涉及一种碳包覆混合溶剂热掺杂富锂锰材料及其制备方法和应用,将镍盐和/或钴盐,以及锰盐、掺杂金属的盐类化合物分散于混合溶剂中混合均匀,再加入适量碱源以调节溶液pH值至8~10之间,得到混合溶液;将混合溶液转移到反应釜中放置于烘箱内加热,冷却洗涤干燥后得到金属掺杂富锂锰前驱体材料;将金属掺杂富锂锰正极材料前驱体与过量2%~10%的锂源混合,分散均匀后置于烧结炉中进行分段煅烧,制备得到金属掺杂富锂锰正极材料;其中金属掺杂富锂锰正极材料的分子式为xLi2MnO3·(1‑x)Li(M11‑aM2a)O2;按照质量比100:0.01~100:0.1,将金属掺杂富锂锰正极材料与低沸点长链碳在混料机中混合均匀,再将混合物料置于炉中煅烧,得到碳包覆混合溶剂热掺杂富锂锰材料。

标签:
加工技术
江苏 - 常州 来源:中冶有色网 2023-03-18
扣式锂锰电池自动化生产线

一种扣式锂锰电池自动化生产线,属于电池生产线技术领域,它包括真空干燥手套箱(1)、负极壳体振动排料机(2)和阳极壳体振动排料机(9),其特征是在所述的真空干燥手套箱(1)中还安装有传送带(3)、锂带裁切装置(4)、锂材冲压成形装置(5)、隔离膜冲压成形装置(6)、电解液加注装置(7)、阳极排料装置(8)、阳极壳体与负极壳合组合装置(10)以及电池冲压封口装置(11),它解决了市场急需,有利于提高扣式锂锰电池的生产效率。

标签:
加工技术
江苏 - 常州 来源:中冶有色网 2023-03-18
上一页 104 105 106 107 108 ... 123 下一页
共123页    到第

中冶有色为您提供最新的江苏常州有色金属加工技术理论与应用信息,涵盖发明专利、权利要求、说明书、技术领域、背景技术、实用新型内容及具体实施方式等有色技术内容。打造最具专业性的有色金属技术理论与应用平台!

全国热门有色金属设备推荐
展开更多 +
全国热门有色金属技术推荐
展开更多 +

 

江西省隆恩特环保设备有限公司
宣传

报名参会
更多+

报告下载

有色专家
更多+

武汉理工大学
副主任/研究员
广西大学
处长/教授
石家庄铁道大学
团委书记/副教授
中铝检测科技(郑州)有限公司/国家轻金属质量检验检测中心
正高级工程师
长沙矿山研究院有限责任公司
高级工程师
赤泥综合利用研究报告2025
推广

热门技术
更多+

推荐企业
更多+

福建省金龙稀土股份有限公司
宣传

发布

在线客服

公众号

电话

顶部
咨询电话:
010-88793500-807