青岛垚鑫智能科技有限公司
宣传

位置:中冶有色 >

有色技术频道 >

分类:
全部
矿山技术
冶金技术
材料制备及加工技术
环境保护技术
分析检测技术
 
全部
功能材料技术
复合材料技术
新能源材料技术
合金材料技术
加工技术
地区:
全部
北京
天津
上海
重庆
河北
山西
辽宁
吉林
黑龙江
江苏
浙江
安徽
福建
江西
山东
河南
湖北
湖南
广东
海南
四川
贵州
云南
陕西
甘肃
青海
内蒙
广西
西藏
宁夏
新疆
其他
其他
展开
 
全部
南京
无锡
徐州
常州
苏州
南通
连云港
淮安
盐城
扬州
镇江
泰州
宿迁

江苏南通有色金属材料制备及加工技术理论与应用

免费发布技术信息>>
聚氨酯复合材料
聚氨酯复合材料 1026     
 0

本发明公开了一种聚氨酯复合材料,按照重量份计,包括以下组分:蔗糖聚醚20-40份、异氰酸酯50-70份、纳米氧化铝粉10-15份、季铵盐催化剂2-4份、竹炭纤维4-8份、抗氧剂0.5-1份、二月桂酸二丁基锡0.5-1份。本发明的聚氨酯复合材料以蔗糖聚醚和异氰酸酯聚氨酯为主料,通过在聚氨酯中分散铝粉来提高导热性能,另外通过竹炭纤维与铝粉相互协同作用,竹炭纤维协助铝粉在聚氨酯中分散的同时也增强了传导热能的作用,从而进一步提高聚氨酯复合材料的导热系数。

标签:
复合材料
江苏 - 南通 来源:中冶有色网 2023-03-18
具有加热冷却系统的轻质高强复合材料在线成形用模具

具有加热冷却系统的轻质高强复合材料在线成形用模具,涉及复合材料成形技术领域,本发明包括凸模、凹模,所述凹模配合设置在凸模的下方,在所述凸模下表面的两侧分别设置厚度定位槽,在所述两个厚度定位槽之间的凸模上间隔设置若干凸模加热管道和凸模冷却管道;在所述凹模上表面的两侧分别设置与厚度定位槽对应的支撑凸起,在所述两个支撑凸起之间的凹模上间隔设置若干凹模加热管道和凹模冷却管道。本发明可以实现对模具进行快速加热、快速冷却,且可实现加热与冷却模式的快速切换,满足轻质高强复合材料在线模压成形工艺要求,实现快速模压、快速固化,可提高整条模压生产线的生产效率。

标签:
复合材料
江苏 - 南通 来源:中冶有色网 2023-03-18
具有良好抗压性能的碳纳米管复合材料及其制备方法

本发明属于碳纳米管技术领域,公开了一种具有良好抗压性能的碳纳米管复合材料及其制备方法,包括以下步骤:S1:将氧化石墨烯粉体置于去离子水中,同时加入发泡剂,搅拌均匀后,超声分散2‑4min,得到氧化石墨烯浆料;S2:在上述氧化石墨烯浆料中加入酸化的碳纳米管,搅拌均匀后,超声分散2‑4min,得到混合浆料;S3:将混合浆料置于烘箱内进行烘干去水,在110‑120℃的温度下得到混合粉料;S4:将上述混合粉料内加入乙二醇和发泡剂,进行二次发泡,以1000r·min的转速充分混合30min,得到发泡浆料,S5:将制得的发泡浆料放入200‑600℃的马弗炉中,进行退火处理,加热20‑30min,冷却至常温后得到碳纳米管复合材料,本发明方法制得的碳纳米管复合材料混合均匀,密度小,抗压能力强。

标签:
复合材料
江苏 - 南通 来源:中冶有色网 2023-03-18
基于石墨烯复合材料的柔性防辐射纤维及其制备方法

本发明公开了一种基于石墨烯复合材料的柔性防辐射纤维及其制备方法,该方法包含:步骤1,将热塑性树脂与功能性粉体、偶联剂、分散剂、抗氧剂均匀混合,通过双螺杆挤出机进行熔融共混造粒,制备出纺丝用功能性母粒;步骤2,将步骤1所得的功能母粒与热塑性树脂共混熔融纺丝,或者将功能性母粒进行直接熔融纺丝,获得热塑性树脂纤维的原长丝;步骤3,将步骤2所得的原长丝进行网络加弹后,获得具有屏蔽防护性能的网络纤维丝。本发明还提供了通过该方法制备的基于石墨烯复合材料的柔性防辐射纤维。本发明制备的基于石墨烯复合材料的柔性防辐射纤维,主要针对屏蔽电离辐射防护领域,具有屏蔽防护效率高、力学性能优良等特点。

标签:
复合材料
江苏 - 南通 来源:中冶有色网 2023-03-18
石墨烯高强保温复合材料及其制备方法

本发明公开了一种石墨烯高强保温复合材料及其制备方法,该制备方法包含:制备石墨烯粉体;制备水性石墨烯分散浆料;将异氰酸酯类化合物加入到第一搅拌釜中;再加入石墨烯分散浆料,持续搅拌;将保温材料加入到第一搅拌釜中,搅拌均匀制得混合物A;将氨基化合物加入到第二搅拌釜中;再依次加入增强剂、增韧剂,并持续搅拌;将稳定剂加入到第二搅拌釜中,恒温持续搅拌,制得混合物B;将混合物A与混合物B分别装入喷枪,混合进行喷涂,得到石墨烯高强保温复合材料。本发明还提供了通过该方法制备的石墨烯高强保温复合材料。本发明制备工艺简单,所得材料抗冲击性能强,并具有低导热系数,高效保温功能,使用寿命长等特点。

标签:
复合材料
江苏 - 南通 来源:中冶有色网 2023-03-18
三价钛自掺杂二氧化钛纳米颗粒‑部分还原氧化石墨烯纳米片复合材料及其制备方法

本发明公开了一种三价钛自掺杂二氧化钛纳米颗粒‑部分还原氧化石墨烯纳米片复合材料及其制备方法,复合材料呈粉末状,其粉末颗粒包括作为基底的部分还原氧化石墨烯纳米片和作为负载物的三价钛自掺杂二氧化钛纳米颗粒,三价钛自掺杂二氧化钛纳米颗粒均匀沉积于部分还原氧化石墨烯纳米片上。本发明制备的复合材料光电性能显著提高,同时具备良好的化学稳定性能和重复利用性,采用一步水热法实现了二氧化钛纳米颗粒在氧化石墨烯纳米片上的负载同时实现了三价钛的自掺杂以及氧化石墨烯的部分还原,获得的三价钛掺杂二氧化钛纳米颗粒尺寸分布均匀,方法操作简单、条件温和、工艺简易,在光催化降解工业有机染料及光解水制氢领域展现出良好的前途。

标签:
复合材料
江苏 - 南通 来源:中冶有色网 2023-03-18
艇用不饱和聚酯复合材料的真空袋法制备方法

本发明公开了一种艇用不饱和聚酯复合材料的真空袋法制备方法,涉及高分子复合材料制备技术领域。制备方法包括:将石墨烯添加入四氢呋喃溶液,经过超声波处理后脱除溶剂得到预处理的石墨烯;向不饱和聚酯基材中加入添加剂和固化剂并搅拌混合均匀;将得到的混合料加入模具后用尼龙膜覆盖,覆盖完毕后用粘性密封条与将模具整体包覆于尼龙膜所形成的袋体中;将真空泵与袋体上预留的真空嘴连接,并将袋体中空气抽出至真空度低于一个大气压,常温下固化至凝胶硬化状态后从真空袋中取出,于室温下放置直至完全熟化。本发明通过以单层石墨烯作为添加剂,同时通过本发明制备方法制备得到的不饱和聚酯复合材料具有高强度、高硬度、拉伸模量以及低表面电阻率。

标签:
复合材料
江苏 - 南通 来源:中冶有色网 2023-03-18
纤维混凝土复合材料及其制备方法

本发明公开了一种纤维混凝土复合材料及其制备方法,涉及混凝土技术领域,包括如下步骤:除混凝土修复胶囊以外,将各个组份原料按比例加入到搅拌设备中,对原料进行混合搅拌处理,搅拌速度设置为300~400转/分钟,搅拌时间设置为4~6分钟;将搅拌完成的混凝土从搅拌设备中取出,并对混凝土进行浇筑成型;采用投放设备将混凝土修复胶囊均匀的投放到混凝土的内部位置;本发明通过投放设备将混凝土修复胶囊自动的投放至混凝土中,避免直接将混凝土修复胶囊与混凝土混合浇筑而导致其破损失效,提高了该纤维混凝土复合材料的自修复功能的可靠性,同时使得混凝土修复胶囊投放的更加均匀,提高了该纤维混凝土复合材料的自修复效果。

标签:
复合材料
江苏 - 南通 来源:中冶有色网 2023-03-18
抗菌型环保复合材料
抗菌型环保复合材料 1174     
 0

本发明提供一种抗菌型环保复合材料,所述抗菌型环保复合材料的配方如下:植物纤维30%-50%;塑料基材20%-40%;抗菌剂5%-15%;粘结剂5%-20%;热稳定剂2%-5%;润滑剂1%-5%。本发明因添加有抗菌剂,使得本发明的复合材料具有抗菌作用,不易发生霉变,使用寿命延长。且因使用各种木质材料或草本废物,实现对有用资源的二次利用,节约了宝贵的木材,绿色环保。

标签:
复合材料
江苏 - 南通 来源:中冶有色网 2023-03-18
长纤维增强聚丙烯热塑性复合材料及其制备方法

本发明公开了一种长纤维增强聚丙烯热塑性复合材料及其制备方法,所述长纤维增强聚丙烯热塑性复合材料包括按质量份配比的如下组分:聚丙烯50-65份,马来酸酐接枝PP 5-8份,硅烷偶联剂0.1-0.3份,抗氧剂0.3-0.5份,无碱玻璃纤维30-50份,所述制备方法是将上述原材料进行混合搅拌、混合熔解挤出、包装成品。本发明所述的复合材料相比现有的材料有更强的耐热性、强度、刚性以及抗冲性能,且玻璃纤维分布均匀。

标签:
复合材料
江苏 - 南通 来源:中冶有色网 2023-03-18
晶须复合材料隧道墙面板

本实用新型涉及一种晶须复合材料隧道墙面板,包括晶须复合材料面板块和连接件,面板块的左端设有向左开口的榫槽,榫槽的下沿向左延伸形成舌部,面板块的右端设有向右延伸的榫头,榫头的下肩向左退缩形成凹部;连接件包括左侧连接件,当两个面板块左右拼接时,右侧面板块的舌部插入左侧连接件的企口,左侧连接件固定于墙体上,左侧面板块的榫头插入右侧面板块的榫槽中并且左侧连接件置于左侧面板块的凹部中。本实用新型的晶须复合材料隧道墙面板可以方便牢固地固定于墙面,具有足够的机械强度和绝缘性能、强耐腐蚀性、防火性、耐老化性和防水性,以及质轻、易于加工、安装效率高、寿命长等特点,可以很好地满足隧道墙面板的要求并杜绝安全隐患。

标签:
复合材料
江苏 - 南通 来源:中冶有色网 2023-03-18
高强度耐磨抗老化复合材料拉剂型材

本实用新型公开了高强度耐磨抗老化复合材料拉剂型材,包括型材本体,所述型材本体的材质为玻璃纤维,所述型材本体的形状设置为凹型且为一体拉挤制造,所述型材本体的表面套设有阻燃层,所述阻燃层的表面固定连接有抗老化层,所述抗老化层的表面固定连接有耐磨层。本实用新型通过设置玻璃纤维制造型材本体能够大幅提高型材本体的强度,而且相较于钢制型材本体能够降低型材本体的制造成本,通过设置抗老化层与耐磨层,能够提高型材本体的防护效果,使型材本体具备耐磨抗老化的优点,解决了现有的复合材料拉剂型材制造结构较为单一,不具备耐磨抗老化的效果,复合材料拉剂型材长时间暴露在室外后会导致其使用寿命降低的问题。

标签:
复合材料
江苏 - 南通 来源:中冶有色网 2023-03-18
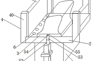
应用于复合材料玻璃的粘接、制孔装置

本申请涉及一种应用于复合材料玻璃的粘接、制孔装置,粘接、制孔装置包括支撑组件、模具组件、旋转组件和加热组件,模具组件与支撑组件活动连接,模具组件包括上模具和下模具,上模具活动设置于下模具,并且与下模之间形成一型腔,上模具与下模具对应位置设置有与型腔连通的制孔位,旋转组件与模具组件连接,加热组件与模具组件连接。本申请通过加热组件调控温度,可以加快复合材料和玻璃基体粘接固化速率,减少固化等待时间,提高模具使用效率,然后通过旋转组件转动模具组件,接着通过模具组件上的制孔位对复合材料玻璃进行制孔,避免采用机加模具制孔时上的二次定位,保证了产品孔位精度,且节约成本,提高了工作效率,实用性强。

标签:
复合材料
江苏 - 南通 来源:中冶有色网 2023-03-18
飞机玻璃用复合材料安装连接孔强度测试装置

本实用新型涉及一种飞机玻璃用复合材料安装连接孔强度测试装置,包括:上夹头;螺栓孔固定机构,可夹紧连接于上夹头;安装件,用于在测试试件时,穿过测试孔,将试件的一端安装于螺栓孔固定机构上;位移测量机构,与螺栓孔固定机构连接,位移测量机构用于在测试试件时,测量螺栓孔固定机构的位移;以及下夹头,可夹紧连接于试件的另一端连接,下夹头用于在测试试件时,夹紧于试件的另一端,拉动试件向下移动,测试测试孔的强度。本实用新型通过测试试件上的测试孔,模拟飞机玻璃用复合材料安装连接孔强度的测试,能够实现螺栓连接结构形式的飞机玻璃设计时边部复合材料性能的检测,可以为飞机玻璃的设计及优化提供设计参考。

标签:
复合材料
江苏 - 南通 来源:中冶有色网 2023-03-18
以橡胶组分添加制备高击穿强度和高储能密度的复合材料薄膜的方法

本申请提供了一种复合材料薄膜及其制造方法,按照配比混合塑料基体和橡胶,并通过熔融拉伸法或溶液浇铸法来制备复合材料薄膜,适量的橡胶组分在塑料基体中均匀分散,它的加入起到了缺陷修饰的作用,使复合材料在电场中的击穿强度以及储能密度得到了很大的提高,该复合材料制备简单,易于工业化生产,且大幅提高了聚合物基体的性能,符合当前市场对于高耐压和高储能密度聚合物基薄膜材料的需求,可以替代薄膜电容器中常用的双向拉伸聚丙烯薄膜,从而提高薄膜电容器的比特性。

标签:
复合材料
江苏 - 南通 来源:中冶有色网 2023-03-18
超高温抗烧蚀C/C‑SiC‑ZrB2智能复合材料

本发明提供了一种超高温抗烧蚀C/C‑SiC‑ZrB2智能复合材料,其制备方法包括如下步骤:1)将含有ZrB2和SiC的浆料浸涂于C/C复合材料表面;然后进行固化处理;2)将步骤1)重复多次;3)将固化后的材料进行高温处理后得到预涂层材料;4)将预涂层材料进行二次高温处理;制得超高温抗烧蚀C/C‑SiC‑ZrB2智能复合材料。本发明的超高温抗烧蚀C/C‑SiC‑ZrB2智能复合材料,是一种性能优良的超高温材料,具有良好的超高温抗烧蚀效果。

标签:
复合材料
江苏 - 南通 来源:中冶有色网 2023-03-18
复合材料电缆沟
复合材料电缆沟 961     
 0

本实用新型公开一种复合材料电缆沟,包括若干互相连接的主体,该主体由复合材料制成,该主体包括底板和组装在该底板两侧的侧板,相邻该主体互相连接的部位的主体内表面是平滑的。上述复合材料电缆沟结构稳定,充分实现了运输和安装的简便性,并能同时保证复合材料电缆沟在安装时不会对电缆保护层造成损伤。

标签:
复合材料
江苏 - 南通 来源:中冶有色网 2023-03-18
瑜伽球生产用复合材料及其制备方法

本发明提供一种瑜伽球生产用复合材料及其制备方法,所述复合材料由以下按重量份数计的组分制成:PVC颗粒30~50份、碳纤维10~20份、色母粒0.5~3份、中药粉15~30份、甘油3~5份、添加剂10~18份、发泡剂2~10份、阻燃剂0.2~0.5份、增塑剂1~3份、稳定剂0.5~3份。本发明在生产瑜伽球的复合材料中加入中草药成分,使用瑜伽球时,中草药时刻散发出能使人凝神静气、养心益脑的精油味,促使锻炼者放下浮躁、静心锻炼,提神醒目,提高锻炼效果。

标签:
复合材料
江苏 - 南通 来源:中冶有色网 2023-03-18
用于帽眉舌芯的高弹轻质具强紫外吸收的乙烯-醋酸乙烯共聚物基复合材料及制备方法

本发明公开了用于帽眉舌芯的高弹轻质具强紫外吸收的乙烯‑醋酸乙烯共聚物基复合材料及制备方法,它涉及复合材料技术领域。具体由以下组分按质量百分比制成:EVA颗粒70~98 wt%,EVA发泡母粒1.5~5 wt%,BNNTs粉末0.05~25 wt%,ZnO粉末0.5~1.5 wt%,硅油0.1~0.5 wt%;复合材料发泡疏松多孔,密度为0.3~0.6g/cm3;弹性回复率不低于98%;拉伸强度不低于3MPa;紫外吸收率不低于50%。本发明的优点在于:无机基质与有机基体高度融合,材料性能稳定而均一;复合材料能同时保持轻质、高弹和高强度,作为帽眉舌芯材料,更方便折叠收纳携带而不变形或断裂;复合材料对紫外线的吸收度明显增强。

标签:
复合材料
江苏 - 南通 来源:中冶有色网 2023-03-18
再生纤维素纤维/气凝胶复合材料及其制备方法

本发明提供了一种再生纤维素纤维/气凝胶复合材料及其制备方法,所述制备方法包括:S1按重量分计,将5~10份氢氧化钠、5~10尿素、1~5份氧化石墨烯、0.5~2份表面活性剂加入100份水中,超声处理10~30min,配置成一混合溶液;S2将1~5份纤维素加入混合溶液中并搅拌均匀,得到纤维素混合溶液。S3将再生纤维素基材铺在模具中,加入纤维素混合溶液至覆盖所有再生纤维素基材的表面,得到初级复合材料模板;S4加入硫酸或者盐酸对初级复合材料模板进行处理,然后再经过水洗、低温冷冻、冷冻干燥,得到再生纤维素/气凝胶复合材料。本发明的再生纤维素纤维/气凝胶复合材料具有优异的机械强度、保温性能、抗菌性能和轻质的特点。

标签:
复合材料
江苏 - 南通 来源:中冶有色网 2023-03-18
新型复合材料自动挤压成型装置

本实用新型公开了新型复合材料自动挤压成型装置,包括主体和连接杆,所述主体的上端设置有挤压仓,且挤压仓的内部设置有电动推杆一,所述电动推杆一的下端设置有碾压轴,且碾压轴的下端设置有滚动轴,所述连接杆固定于滚动轴的前表面,且连接杆的外表面设置有皮带,所述滚动轴的上表面设置有复合材料板,所述挤压仓的左侧设置有水箱,且水箱的下端左侧设置有水泵,所述水泵的输出端设置有连接管,所述主体的下端设置有收集仓,所述收集仓的下端设置有电动推杆二。通过设置的电动推杆一能够灵活地调节碾压轴的下降的高度,从而能够根据复合材料板的厚度不同进行自动调节,并且碾压轴设置有多组,可以增加复合材料板的挤压效果。

标签:
复合材料
江苏 - 南通 来源:中冶有色网 2023-03-18
再生碳纤维复合材料输油管道保护壳

本实用新型公开了再生碳纤维复合材料输油管道保护壳,包括油管本体,以及套设于油管本体外部的保护主壳体,保护主壳体上开设有内凹槽,内凹槽内设有弹喷防火组,弹喷防火组由弹性垫、防火填充层、热熔膜层组成,保护主壳体远离油管本体的一端设有抗盐雾层,抗盐雾层远离保护主壳体的一端设有抗油抗撕裂层,抗油抗撕裂层的外壁开设有漫反射槽,漫反射槽内设有防眩凸块组。提高了再生碳纤维复合材料保护壳对于输油管道的针对性灭火防火性,提高了再生碳纤维复合材料保护壳的抗盐雾性以及耐油抗冲撞撕裂性,提高了再生碳纤维复合材料保护壳对于外部阳光的漫反射,避免造成光环境污染。

标签:
复合材料
江苏 - 南通 来源:中冶有色网 2023-03-18
树脂基低介电复合材料的制备方法及其应用

本发明公开了一种树脂基低介电复合材料的制备方法及其应用,涉及复合材料技术领域,本发明以环氧树脂作为树脂基料,通过化学改性和物理混合相结合的方式来改善环氧树脂的应用性能,进而制得新型树脂基低介电复合材料,该复合材料具有较低的介电常数和介电损耗,同时力学性能优良,可以很好地满足印刷电路板基板材料的性能要求。

标签:
复合材料
江苏 - 南通 来源:中冶有色网 2023-03-18
石墨烯-聚丙烯复合材料及其制备方法

本发明公开了一种石墨烯‑聚丙烯复合材料及其制备方法,石墨烯‑聚丙烯复合材料由如下方法制备而成:将聚丙烯加热融化后,加入石膏粉和碳纤维,搅拌均匀,400‑600℃加热搅拌1‑3小时;然后加入纳米石墨烯,搅拌均匀,300‑500℃加热搅拌1‑3小时,冷却即得所述石墨烯‑聚丙烯复合材料。本发明提供的石墨烯‑聚丙烯复合材料具有优异的导电性能。

标签:
复合材料
江苏 - 南通 来源:中冶有色网 2023-03-18
银行金融设备用高致密、超高强水泥基复合材料

本发明公开了一种银行金融设备用高致密、超高强水泥基复合材料,该复合材料由微细水泥、硅灰、超高强玄武岩砂、高效减水剂、镀铜钢纤维和水按照一定比例混合均匀并经标准养护而成:该水泥基复合材料各组分相对于微细水泥的重量比例为:微细水泥:1;硅灰:0.15~0.25;超高强玄武岩砂:1.2~1.8;高效减水剂:0.005~0.010;镀铜钢纤维:0.40~0.60;水:0.19~0.25;所制得的复合材料抗压强度在180MPa以上。

标签:
复合材料
江苏 - 南通 来源:中冶有色网 2023-03-18
共聚酯复合材料
共聚酯复合材料 798     
 0

本发明公开了一种共聚酯复合材料,由以下重量百分比的原料及其配比制成:共聚酯1-90%;聚碳酸酯1-90%;相容剂1-3%;线性低密度聚乙烯0.5-2%;聚四氟乙烯0.1-1%;偶联剂0.05-0.8%;其余为填料。本发明的优点是:该种共聚酯复合材料按照一定的比例进行配比制成,使用寿命长,添加的丙烯腈-丁二烯-苯乙烯三元共聚物具有较好的低温韧性、耐溶剂性、加工流动性好等特性,制成的共聚酯复合材料性能好,稳定性高,添加有机纤维能保证共聚酯复合材料的韧性,适用范围广。

标签:
复合材料
江苏 - 南通 来源:中冶有色网 2023-03-18
复合材料金属制品加工装置

本发明属于金属制品加工技术领域,尤其涉及一种复合材料金属制品加工装置。所述复合材料金属制品加工装置包括:工作台、去毛刺机构、两个固定机构和循环利用机构,所述去毛刺机构、固定机构和循环利用机构均设置在工作台上;所述去毛刺机构包括两个滑槽、螺纹杆、伺服电机一、两个滑块一、气缸一、凹形块、伺服电机二、皮带轮一、两个调节机构、皮带和磨砂带,两个所述滑槽均开设在工作台的顶部,所述螺纹杆转动安装在对应的滑槽内,所述螺纹杆的一端延伸至对应的滑槽外。本发明提供的复合材料金属制品加工装置具有使用方便,适用广泛可以对多种形体金属制品进行固定加工和去毛刺,降低成本提高加工效率的优点。

标签:
复合材料
江苏 - 南通 来源:中冶有色网 2023-03-18
pps纳米复合材料水热合成法

本发明公开了一种pps纳米复合材料水热合成法,首先准备用于制备PPS材料的原材料,将预先计量好的Na2S·9H20放入聚合釜内,密闭后抽真空,然后在通氮气保护的条件下对其进行加热,采用两段不同温度进行干燥,干燥完成后出料口温度要下降到常温,再将脱水后的Na2S和对-二氯苯装入配有电动搅拌和回流冷凝器的聚合釜内中,并加入NMP和乙酸锌,密闭后抽真空,然后在通氮气保护的条件下对其进行加热,将蒸馏水和0.1~0.4ml质量分数为85%的水合肼、纳米无机填料添加于内衬为聚四氟乙烯的不锈钢高压反应釜中,将反应釜放入烘箱加热至80~180°C,升温速率为8.3°C/min,保温8~24小时,然后在空气中自然冷却至室温,该pps纳米复合材料的合成方法简单,通过水热合成的方法可以快速的制备得到高品质的pps纳米复合材料。

标签:
复合材料
江苏 - 南通 来源:中冶有色网 2023-03-18
尼龙复合材料的生产检测验证方法和装置

本发明提供了一种尼龙复合材料的生产检测验证方法和装置,方法包括以下步骤:步骤一:根据配方进行称料;步骤二:生产尼龙复合材料;步骤三:将所述混合材料加入双螺杆挤出机的主喂料口、所述增强材料加入双螺杆挤出机的侧喂料口,经熔融、挤出、冷却、干燥、切粒成粒料;步骤四:将上述尼龙复合粒料通过生产检测验证装置进行生产检测过程。尼龙复合材料的生产检测验证装置,包括装置底座、固定板、检测板、隔离装置和和升降装置;所述装置底座上安装固定板,所述固定板上安装检测板,所述固定板两侧分别安装隔离装置,所述升降装置安装在装置底座两侧;所述装置底座为长方体装置底座、所述固定板为长方体固定板,所述固定板表面为光滑表面。

标签:
复合材料
江苏 - 南通 来源:中冶有色网 2023-03-18
纳米铅沉积多级孔结构碳复合材料的制备方法及应用

本发明公开了一种纳米铅沉积多级孔结构碳复合材料的制备方法及应用,属于铅酸电池技术领域。所述的制备方法包括:(1)将多级孔结构碳材料浸泡于NaOH或KOH水溶液中,过滤、洗涤至中性后烘干得到粉末,再在惰性气氛下烧结,得到具有官能团修饰的多级孔结构碳;(2)将具有官能团修饰的多级孔结构碳置于空气气氛下煅烧制得表面修饰的多级孔结构碳;(3)将表面修饰的多级孔结构碳浸没于硝酸铅溶液中,再滴加硫酸溶液,收集沉淀,清洗,干燥后制得所述的纳米铅沉积多级孔结构碳复合材料。本发明提供的复合材料应用于铅酸电池的负极中,具有更高能量密度,且在部分荷电态条件下具有超长的循环寿命,真正实现储能应用领域的要求和收益。

标签:
复合材料
江苏 - 南通 来源:中冶有色网 2023-03-18
上一页 99 100 101 102 103 ... 110 下一页
共110页    到第

中冶有色为您提供最新的江苏南通有色金属材料制备及加工技术理论与应用信息,涵盖发明专利、权利要求、说明书、技术领域、背景技术、实用新型内容及具体实施方式等有色技术内容。打造最具专业性的有色金属技术理论与应用平台!

全国热门有色金属设备推荐
展开更多 +
全国热门有色金属技术推荐
展开更多 +

 

江西省隆恩特环保设备有限公司
宣传

报名参会
更多+

报告下载

有色专家
更多+

南方科技大学
外籍院士
辽宁忠旺集团
教授级高工
西安建筑科技大学
院长/教授
广东省科学院工业分析检测中心
副主任
北京科技大学、中国科学院
院士
赤泥综合利用研究报告2025
推广

热门技术
更多+

推荐企业
更多+

福建省金龙稀土股份有限公司
宣传

发布

在线客服

公众号

电话

顶部
咨询电话:
010-88793500-807