青岛垚鑫智能科技有限公司
宣传

位置:中冶有色 >

有色技术频道 >

分类:
全部
矿山技术
冶金技术
材料制备及加工技术
环境保护技术
分析检测技术
 
全部
功能材料技术
复合材料技术
新能源材料技术
合金材料技术
加工技术
地区:
全部
北京
天津
上海
重庆
河北
山西
辽宁
吉林
黑龙江
江苏
浙江
安徽
福建
江西
山东
河南
湖北
湖南
广东
海南
四川
贵州
云南
陕西
甘肃
青海
内蒙
广西
西藏
宁夏
新疆
其他
其他
展开
 
全部
南京
无锡
徐州
常州
苏州
南通
连云港
淮安
盐城
扬州
镇江
泰州
宿迁

江苏南通有色金属材料制备及加工技术理论与应用

免费发布技术信息>>
高性能聚碳酸酯复合材料

本发明涉及一种高性能聚碳酸酯复合材料,属于塑料技术领域,所述高性能聚碳酸酯复合材料以聚碳酸酯为基体,同时含有多种助剂。通过选择助剂的种类以及含量,通过各助剂的协同作用,使得所述高性能聚碳酸酯复合材料具有优异的阻燃性能、抗氧化性能以及耐磨性能,应用范围广泛。

标签:
复合材料
江苏 - 南通 来源:中冶有色网 2023-03-18
纳米铁氧化石墨烯复合材料及其应用

本发明公开了一种纳米铁氧化石墨烯复合材料及其应用,纳米铁氧化石墨烯复合材料由如下方法制备:取氧化石墨烯粉末分散在去离子水中,超声分散均匀;将溶液放置于三口烧瓶中,并加入无水乙醇和聚乙二醇,再将一定量的硫酸亚铁加入到溶液中,搅拌溶解,然后滴加三乙胺,滴加完毕后继续搅拌反应,然后用无水乙醇真空抽滤洗涤三次,真空条件下烘干即得。本发明提供的纳米铁氧化石墨烯复合材料可以用于吸附水中环丙沙星。

标签:
复合材料
江苏 - 南通 来源:中冶有色网 2023-03-18
高分子复合材料透水砖生产的设备

本发明为一种高分子复合材料透水砖生产的设备,其特征在于:所述高分子复合材料透水砖的生产设备包括解板拉缝装置、套模送板装置、收拢装置、布料整平装置、旋压搓动装置、倒角脱模装置,所述解板拉缝装置、套模送板装置、收拢装置、布料整平装置、旋压搓动装置、倒角脱模装置依次运转执行。有益效果如下:对砖坯的上表面进行覆盖一层高分子复合材料,能使得砖坯具备隔热、保温、透气、透水、承压及表面色彩多样化等多方面特性,现提供如下透水砖罩面成型设备。

标签:
复合材料
江苏 - 南通 来源:中冶有色网 2023-03-18
高透明scPLA/PHA复合材料及其制备方法

本申请属于高分子复合材料技术领域,公开一种高透明scPLA/PHA复合材料及其制备方法,由可生物降解的立构聚乳酸(scPLA)和聚羟基脂肪酸酯(PHA)制备而成,复合材料的拉伸强度为30‑100MPa,断裂伸长率为30%‑120%,透明度80%~100%。本发明制备的复合材料具有高透明,高品质,生产和使用过程不会产生对环境有害的物质,可以生物降解,有良好的韧性和断裂伸长率,制造工艺简单,制造成本低等特点。

标签:
复合材料
江苏 - 南通 来源:中冶有色网 2023-03-18
温致变色醋酸纤维素复合材料及其制备方法和应用

本发明提供了一种温致变色醋酸纤维素复合材料及其制备方法和应用。复合材料至少采用以下生产原料制成:100份二醋酸纤维素、0.5‑15份温致变色母料、10‑54份增塑剂和0‑2份添加剂。制备方法包括:将上述组分混合、塑化并切粒后,得到温致变色醋酸纤维素复合材料。本发明的复合材料能用于可穿戴产品中,在22‑35℃的室内外环境中能够响应温度的变化而呈现出色泽变化的效果,从而具有良好的视觉效应和防伪性,并能够满足消费者个性化的穿戴需求。

标签:
复合材料
江苏 - 南通 来源:中冶有色网 2023-03-18
功能化石墨烯增强聚烯烃复合材料的制备方法

本发明提供了一种功能化石墨烯增强聚烯烃复合材料的制备方法,所述制备方法包括:S1、将石墨烯或氧化石墨烯进行预处理,得到功能化石墨烯;S2、将功能化石墨烯与聚烯烃基体进行高速预混,得到混合物料;S3、将混合物料经复合工艺后水冷造粒,得到石墨烯复合聚烯烃粒子;将石墨烯复合聚烯烃粒子进行注塑或压片成型,制得石墨烯增强聚烯烃复合材料。本发明为工业化制备高性能聚烯烃基石墨烯复合材料提供了直接的方法,并同时解决了石墨烯改性难,双螺杆复合分散性差的问题,最终通过这种高效连续化的制备方式,得到了不同领域适用型的聚烯烃功能复合材料。

标签:
复合材料
江苏 - 南通 来源:中冶有色网 2023-03-18
改性高分子复合材料及其制备方法

本申请公开了一种改性高分子复合材料及其制备方法,由改性高分子塑料、弹性橡胶与铝合金型材复合制备而成,其中高分子塑料采用改性高分子塑料,可添加色剂使其颜色具有多变性;弹性橡胶添加夜光荧光剂,以提高其安全性;其次,复合材料内添加铝合金型材,增强材料的力学性能。其制备方法包括以下步骤:1)选取改性高分子塑料基料、铝合金型材以及弹性橡胶;2)将改性高分子塑料基料加入挤出机挤出,经第一挤出块与铝合金型材相结合;3)再经过第二共挤出块,由挤出机挤出的弹性橡胶与改性高分子塑料、铝合金型材经共挤模具,实现共挤成型;其中:所述共挤装置主要由一个固定模块以及第一、第二两个挤出块组成,其中前端设有铝合金型材固定块,第一挤出块设有改性高分子塑料型腔,第二挤出块设有弹性橡胶型腔。本发明高分子复合材料复合材料平直度好、强度高、抗老化等,夜间有警示作用,能代替传统天然木材,特别适用于景观工程。

标签:
复合材料
江苏 - 南通 来源:中冶有色网 2023-03-18
吸附砷的复合材料及其制备方法

本发明公开了一种吸附砷的复合材料及其制备方法,复合材料由如下方法制备而成:将天然磁黄铁矿粉碎研磨,使用前焙烧,焙烧后置于六偏磷酸钠和磷酸二氢钾的水溶液中加热搅拌反应,再用蒸馏水反复洗涤至中性,最后再次焙烧,即得所述吸附砷的复合材料。本发明提供的复合材料对砷具有优异的吸附效果。

标签:
复合材料
江苏 - 南通 来源:中冶有色网 2023-03-18
ABS‑PBT‑聚酰胺三基体复合材料

本发明涉及一种ABS‑PBT‑聚酰胺三基体复合材料,属于塑料技术领域,所述ABS‑PBT‑聚酰胺三基体复合材料以ABS、PBT以及聚酰胺作为该复合材料的基体,同时含有多种功能助剂,通过优化助剂的种类以及含量,使得所述ABS‑PBT‑聚酰胺三基体复合材料具有优异的耐候性能、耐磨性能以及机械性能,同时具有良好的抗静电性能和导热性能。

标签:
复合材料
江苏 - 南通 来源:中冶有色网 2023-03-18
温敏性环氧树脂复合材料及其制备方法

本发明公开了一种温敏性环氧树脂复合材料及其制备方法。该复合材料由10~70份温敏性聚合物,和90~30份环氧树脂组成。所述的温敏性聚合物为甲基丙烯酸N,N-二甲基乙酯或其衍生物的均聚物、或者甲基丙烯酸N,N-二甲基乙酯或其衍生物与其它丙烯酸或丙烯酸酯类单体的共聚物中的一种或几种,并且可以通过改变共聚单体的种类及含量来调节低温临界溶解温度(LCST)。该复合材料的制备简单,将温敏性聚合物和环氧单体混合均匀,在一定的温度下固化成型即可。该复合材料可以随着温度的变化由亲水性突变为憎水性,可以应用与智能涂料,功能塑料等领域。

标签:
复合材料
江苏 - 南通 来源:中冶有色网 2023-03-18
耐腐蚀的化纤维复合材料及其生产工艺

本发明涉及纤维材料技术领域,具体涉及一种耐腐蚀的化纤维复合材料及其生产工艺,包括单复合层和多复合层,单复合层由纤维、环氧树脂和固化剂混合而成,两个多复合层分别与单复合层固定连接,两个多复合层分别位于单复合层的两侧,多复合层由四氟乙烯、纤维、环氧树脂和固化剂混合而成,多复合层中添加有耐腐蚀性好的四氟乙烯,从而增加了强化纤维复合材料的抗腐蚀性,使强化纤维复合材料能够在易腐蚀环境中进行使用,从而增加了强化纤维复合材料在易腐蚀环境中的使用寿命。

标签:
复合材料
江苏 - 南通 来源:中冶有色网 2023-03-18
碳氢复合材料及其制造的高频覆铜板

本发明公开了一种碳氢复合材料及其制造的高频覆铜板,包括高频覆铜板包括填料层、内基板、粘合填充胶和铜箔板,该覆铜板由新式碳氢复合材料制备内基板,其碳氢复合材料在制备过程中通过变更引发剂中过氧化苯甲酸叔丁酯与蛭石粉的占比,当蛭石粉的含量较多时,该碳氢复合材料制备的内基板在压制过程中,含有气泡的量较大,使该内基板的脆性增大,通过变更亲水剂中硬脂酸铝和月桂醇硫酸钠的比例,当月桂醇硫酸钠的含量较多时,其能够将高分子化合物中的结构水析出,再经过分离及后续操作制备的内基板的质量较轻,本发明结构完整合理,丰富了高频覆铜板的制备工艺,使该高频覆铜板能够适应并兼容于各类使用环境。

标签:
复合材料
江苏 - 南通 来源:中冶有色网 2023-03-18
双动短行程下压式复合材料液压机

本实用新型公开了一种双动短行程下压式复合材料液压机,主要包括:立柱、锁止装置、上工作台、回程缸、下工作台、辅助液压缸、主液压缸、基座、锁母等,本实用新型具有双动工作台、大开口、短行程、下压式的结构形式,可以实现复合材料液压机的长距离高速空程运动与短时间快速建压压制,降低了复合材料液压机的制造成本与装机功率,并有效地提升了复合材料液压机的生产效率与能效。

标签:
复合材料
江苏 - 南通 来源:中冶有色网 2023-03-18
锂电池铜排复合材料及其制作方法

本发明涉及一种锂电池铜排复合材料,其为多个粒状结构复合而成,所述粒状结构包括主体部和表层部,所述表层部包覆所述主体部,所述表层部为聚乙炔用溴化亚铜和质子酸掺杂制得,所述主体部为铜复合材料,本发明还涉及上述锂电池铜排复合材料的制备方法,该锂电池铜排复合材料耐热、不易发生氧化现象;不易污染,牢固度更强劲,不易腐蚀。

标签:
复合材料
江苏 - 南通 来源:中冶有色网 2023-03-18
应用于纤维增强复合材料筋拉索的摩擦式锚具

本实用新型公开了一种应用于纤维增强复合材料筋拉索的摩擦式锚具,包括机架,机架上设置多根绕装纤维复合材料筋拉索的固定轴,在最后一根固定轴的后方设置将纤维复合材料筋拉索末端压紧固定的螺旋压力紧固器。本实用新型结构合理,易于安装和锚固的。

标签:
复合材料
江苏 - 南通 来源:中冶有色网 2023-03-18
软磁金属复合材料水基流延浆料及其薄膜的制备方法

本发明公开了一种软磁金属复合材料水基流延浆料及其薄膜的制备方法,其特征包括:其原料按照质量百分数计,片状软磁金属复合材料100份,去离子水150‑350份,分散剂0.5‑2份,粘结剂5‑10份,增塑剂2.5‑5份,消泡剂0.5‑1份,碱性溶液1‑10份,偶联剂0.1‑5份。具体步骤如下:1)金属磁粉的片状化处理及表面修饰;2)磁性氧化物包覆软磁金属复合材料的制备;3)复合材料水基流延浆料的制备;4)脱泡,流延。本发明通过磁性金属表面修饰、复合、配比,实现磁性金属磁粉水基流延浆料流延的制备,其湿润性好,挥发快、干燥时间短、浆料脱除泡容易、流延膜柔韧性较好、不易开裂、强度高的优点,该方法具有制备方便、环保、成本低的特点,适用于工业化生产。

标签:
复合材料
江苏 - 南通 来源:中冶有色网 2023-03-18
人造纤维共生热熔混杂复合材料的生产装置

本发明公开了一种人造纤维共生热熔混杂复合材料的生产装置,所述的生产装置至少包括两个独立的纤维生产单元,纤维生产单元在纤维牵伸时通过具有一定压力的气流夹持纤维进行拉伸,获取一定细度的纤维;各个纤维生产单元的纤维喷嘴的牵伸气流的出口气流方向的均交汇于一处,该交汇处为纤维的混合位置;纤维生产单元的喷丝口将所有产出的纤维在交汇处进行混合,混合后的混杂纤维被纤维收集器收集,形成人造纤维共生热熔混杂复合材料。本发明能够使不同聚合物原料同时直接纺出的纤维在熔融状态下进行混杂黏连,使最终形成的复合材料具有抗撕裂、高蓬松、混合均匀的特点,无需施加化学粘合剂而使材料黏接,同时也可以获得任意混合比例的复合材料。

标签:
复合材料
江苏 - 南通 来源:中冶有色网 2023-03-18
氧化铝和氧化铜复合材料及其制备方法

本发明公开了一种氧化铝和氧化铜复合材料及其制备方法,氧化铝和氧化铜复合材料通过如下方法制备而成:首先制备氯化铝和氯化铜的混合溶液,然后向该混合溶液中加入氨水,调节pH至8.5‑9.5,置于4℃冰箱中过夜絮凝;将絮状物过滤出后先烘干再煅烧,即得所述氧化铝和氧化铜复合材料。本发明提供的氧化铝和氧化铜复合材料具有优异的力学性能。

标签:
复合材料
江苏 - 南通 来源:中冶有色网 2023-03-18
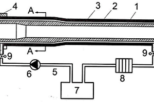
预应力可主动冷却复合材料火炮身管

本发明公开了一种预应力可主动冷却复合材料火炮身管,包括火炮身管、炮尾,火炮身管外设置碳纤维复合材料加固层;所述火炮身管包括钢质内衬管,钢质内衬管外设置钢质层间承压隔条,在内衬管与碳纤维复合材料加固层之间的间隙为冷却通道,冷却通道上设有冷却液进口、出口,进口通过设有泵的管道与冷却液储液箱连接,出口通过设有散热器的管道与冷却液储液箱连接;所述碳纤维复合材料加固层缠绕在钢质层间承压隔条外表。本发明既可以有效降低火炮身管的重量,又可以有效降低身管因射击产生的高温。

标签:
复合材料
江苏 - 南通 来源:中冶有色网 2023-03-18
氧化锌和氧化铜复合材料及其制备方法

本发明公开了一种氧化锌和氧化铜复合材料及其制备方法,氧化锌和氧化铜复合材料通过如下方法制备而成:首先制备氯化锌和氯化铜的混合溶液,然后向该混合溶液中加入氨水,调节pH至8.5‑9.5,置于4℃冰箱中过夜絮凝;将絮状物过滤出后先烘干再煅烧,即得所述氧化锌和氧化铜复合材料。本发明提供的氧化锌和氧化铜复合材料具有优异的力学性能。

标签:
复合材料
江苏 - 南通 来源:中冶有色网 2023-03-18
含氟层聚酰亚胺复合材料的制备方法及用于该方法的设备

本发明公开了一种含氟层聚酰亚胺复合材料的制备方法及用于该方法的设备。制备包括如下步骤:将经过表面处理的聚酰亚胺薄膜通过放卷系统、纠偏装置、电晕处理等装置,以0.5-100米的速度经过装有含氟材料的挤出浇铸系统,将氟材料复合至聚酰亚胺薄膜上;复合有氟材料的聚酰亚胺薄膜进入主成型系统以进一步控制氟材料厚度并将氟材料烧结在聚酰亚胺薄膜表面,制得含氟层聚酰亚胺薄膜。本发明实现了多层复合、单/双面复合,并可制备不同氟层厚度的复合材料,工艺简洁、精度高、效率高。

标签:
复合材料
江苏 - 南通 来源:中冶有色网 2023-03-18
新型碳纤维循环丝增强PC/ABS合金复合材料

本实用新型提供了一种新型碳纤维循环丝增强PC/ABS合金复合材料,由外层的碳纤维循环丝(1)和内部的PC/ABS合金(2)组成,各组分含量如下:PC为60-80重量份,ABC为20-40重量份,相容剂为5重量份,碳纤维循环丝5-20重量份。所述的复合材料通过以下步骤制备而成:1)将经过表面处理的碳纤维循环丝烘干备用;同时将PC和ABS烘干备用;2)将PC、ABS和相容剂混合均匀备用;3)将PC、ABS和相容剂混合物加入双螺杆挤出机;并且将碳纤维循环丝在双螺杆挤出机的侧喂料口加入,挤出造粒,即得碳纤维循环丝增强PC/ABS合金复合材料熔体;4)将挤出的碳纤维循环丝增强PC/ABS合金复合材料熔体冷却吹干后,切粒烘干。本实用新型由于碳纤维循环丝,提高了PC/ABS合金拉伸强度、伸长率和热变形温度。

标签:
复合材料
江苏 - 南通 来源:中冶有色网 2023-03-18
利用废弃塑料制成的环保复合材料

本发明公开了一种利用废弃塑料制成的环保复合材料,以重量份100为单位,包括以下原料:废弃材料50‑60、改性植物纤维2‑5、天然纤维15‑20、抗菌剂0.5‑1、粘结剂3‑4、表面活性剂3‑4、催化剂1‑2、阻燃剂3‑4、抑烟剂5‑6、稳定剂2‑4,填充剂3‑5,此环保复合材料利用废弃塑料为主进行改性并且形成复合材料,环保节约资源。

标签:
复合材料
江苏 - 南通 来源:中冶有色网 2023-03-18
应用于复合材料玻璃的粘接、制孔装置及方法

本申请涉及一种应用于复合材料玻璃的粘接、制孔装置及方法,粘接、制孔装置包括支撑组件、模具组件、旋转组件和加热组件,模具组件与支撑组件活动连接,模具组件包括上模具和下模具,上模具活动设置于下模具,并且与下模之间形成一型腔,上模具与下模具对应位置设置有与型腔连通的制孔位,旋转组件与模具组件连接,加热组件与模具组件连接。本申请通过加热组件调控温度,可以加快复合材料和玻璃基体粘接固化速率,减少固化等待时间,提高模具使用效率,然后通过旋转组件转动模具组件,接着通过模具组件上的制孔位对复合材料玻璃进行制孔,避免采用机加模具制孔时上的二次定位,保证了产品孔位精度,且节约成本,提高了工作效率,实用性强。

标签:
复合材料
江苏 - 南通 来源:中冶有色网 2023-03-18
镍钴锰酸锂复合材料及其制备方法

本发明涉及锂离子电池技术领域,本发明公开了一种镍钴锰酸锂Li(Ni0.8Co0.1Mn0.1)O2复合材料,包括镍钴锰酸锂Li(Ni0.8Co0.1Mn0.1)O2,和包覆在镍钴锰酸锂表面的疏水材料。由于疏水材料包覆在镍钴锰酸锂表面,包覆材料不溶于水。因此相对于传统的镍钴锰酸锂材料,这种镍钴锰酸锂Li(Ni0.8Co0.1Mn0.1)O2复合材料能够改善镍钴锰酸锂电池易吸水的问题。本发明还公开了上述镍钴锰酸锂Li(Ni0.8Co0.1Mn0.1)O2复合材料的制备方法。

标签:
复合材料
江苏 - 南通 来源:中冶有色网 2023-03-18
热收缩套管用无卤阻燃PET复合材料及制备方法

本发明公开了一种热收缩套管用无卤阻燃PET复合材料及制备方法,该无卤阻燃PET复合材料包含如下重量百分比的配方组成:PET树脂75‑85%;有机阻燃剂10‑20%;纳米蒙脱土1‑3%;玻璃纤维1‑4%;纳米二氧化硅1.7‑3.5%;热稳定剂0.1‑0.4%;抗氧剂0.1‑0.4%;相容剂1‑3%;分散剂0.1‑0.5%;抗滴落剂0‑0.5%。本发明制备的无卤阻燃PET复合材料具有优异的阻燃性和韧性,沸水收缩率达到45%。

标签:
复合材料
江苏 - 南通 来源:中冶有色网 2023-03-18
用于三通接头的耐热性复合材料

本发明公开了一种用于三通接头的耐热性复合材料,其特征在于:所述耐热性复合材料按照重量百分比由以下组分组成:PC(35%)‑PBT(65%)为73~80%,成核剂为2~6%,润滑剂为6~10%,抗氧化剂为1~5%,色母为6~7%,按照重量百分比将所有原料充分混合,搅拌均匀,通过自动吸料泵输入到干燥器,在80~100℃进行烘干至水含量0~5%,通过送料泵将烘干后的混合料输入到挤塑机进料口,通过挤塑机的螺杆将混合料经过170~190℃的高温塑化成粘流态,经过螺杆的推送到固化态,再通过芯模口模变成三通接头管材。本发明的优点在于所述复合材料结构稳定耐高温性能优异,适用于制作三通接头。

标签:
复合材料
江苏 - 南通 来源:中冶有色网 2023-03-18
含有纳米微晶的阻尼减振复合材料及其制造方法

本发明公开了一种含有纳米微晶的阻尼减振复合材料,包括:羧基丁腈橡胶、受阻酚类抗氧剂AO 4426和AO 2246。其制备方法包括2个步骤:混炼和热压成形。本发明选用一种带有强极性的羧基官能团的丁腈橡胶作为基础材料,加入二种极性功能有机小分子,经混炼均匀、热压成型成为羧基丁腈橡胶为基础的酯类阻尼复合材料,不同有机小分子的OH与羧基丁腈橡胶的羧基‑COOH在热压成型工艺中产生脱水反应形成酯类化合物为复合材料的基体,C=N基团与受阻酚的OH间、有机小分子OH间形成可逆性氢键,有效改善了阻尼性能,并且在使用过程中不会出现“喷霜现象”,有效提高了阻尼材料的使用寿命。

标签:
复合材料
江苏 - 南通 来源:中冶有色网 2023-03-18
聚乙烯纳米复合材料
聚乙烯纳米复合材料 1145     
 0

本发明公开了一种聚乙烯纳米复合材料,由以下重量百分比的原料及其配比制成:主剂60-80%;助剂10-15%;抗氧剂0.1-0.3%;微细纤维素2-5%;负离子粉1-3%;去离子水余量。本发明的优点是:抗氧剂的添加能有效的阻断、抑制或延缓聚合物氧化或自动氧化过程,能有效的延长使用寿命,大大降低了成本,添加纳米电气石或竹炭和微细纤维素能加强聚乙烯纳米复合材料的韧性,聚乙烯纳米复合材料性能稳定。

标签:
复合材料
江苏 - 南通 来源:中冶有色网 2023-03-18
膨润土纳米碳复合材料及其应用

本发明公开了一种膨润土纳米碳复合材料及其应用,膨润土纳米碳复合材料由如下方法制备而成:称取膨润土和葡萄糖,加蒸馏水溶解,超声分散后,置于水热反应釜中,进行水热反应,将反应后的复合材料冷却至室温,离心分离、洗涤、烘干、研磨即得所述膨润土纳米碳复合材料。本发明提供的膨润土纳米碳复合材料对六价铬具有良好的吸附作用。

标签:
复合材料
江苏 - 南通 来源:中冶有色网 2023-03-18
上一页 100 101 102 103 104 ... 110 下一页
共110页    到第

中冶有色为您提供最新的江苏南通有色金属材料制备及加工技术理论与应用信息,涵盖发明专利、权利要求、说明书、技术领域、背景技术、实用新型内容及具体实施方式等有色技术内容。打造最具专业性的有色金属技术理论与应用平台!

全国热门有色金属设备推荐
展开更多 +
全国热门有色金属技术推荐
展开更多 +

 

江西省隆恩特环保设备有限公司
宣传

报名参会
更多+

报告下载

有色专家
更多+

中南大学
常务副校长
南方科技大学
外籍院士
西安建筑科技大学
院长/教授
北京工业大学、中国工程院
中国工程院 院士
长沙有色冶金设计研究院有限公司
正高级工程师/中国铝业首席工程师/全国有色金属行业设计大师/国家注册采矿工程师
赤泥综合利用研究报告2025
推广

热门技术
更多+

推荐企业
更多+

福建省金龙稀土股份有限公司
宣传

发布

在线客服

公众号

电话

顶部
咨询电话:
010-88793500-807