青岛垚鑫智能科技有限公司
宣传

位置:中冶有色 >

有色技术频道 >

分类:
全部
矿山技术
冶金技术
材料制备及加工技术
环境保护技术
分析检测技术
 
全部
功能材料技术
复合材料技术
新能源材料技术
合金材料技术
加工技术
地区:
全部
北京
天津
上海
重庆
河北
山西
辽宁
吉林
黑龙江
江苏
浙江
安徽
福建
江西
山东
河南
湖北
湖南
广东
海南
四川
贵州
云南
陕西
甘肃
青海
内蒙
广西
西藏
宁夏
新疆
其他
其他
展开
 
全部
广州
韶关
深圳
珠海
汕头
佛山
江门
湛江
茂名
肇庆
惠州
梅州
汕尾
河源
阳江
清远
东莞
中山
潮州
揭阳
云浮

广东江门有色金属材料制备及加工技术理论与应用

免费发布技术信息>>
带电锂离子电池预处理的装置

本实用新型涉及废旧电池破碎领域,提供了一种带电锂离子电池预处理的装置及方法,其中装置包括给料器、抽气单向阀、保护气单向阀、破碎机、回转炉、控制所述回转炉运动的传动装置、出料装置、旋风除尘器、用于处理回转炉所产生的烟气的二燃室和烟气冷却装置,破碎机的进料口与给料器连接,该进料口上设置保护气单向阀,破碎机的出料口与回转炉的进料斗连接,抽气单向阀设置于破碎机的破碎腔内,且抽气单向阀通过管道连通回转炉内部,出料装置的一端与回转炉连接,出料装置的另一端与旋风除尘器、二燃室、烟气冷却装置依次连接。本实用新型可以直接省去预处理步骤中的放电环节,减少了放电过程中资源的浪费,也避免了带电电池破碎后的火灾风险。

标签:
加工技术
广东 - 江门 来源:中冶有色网 2023-03-18
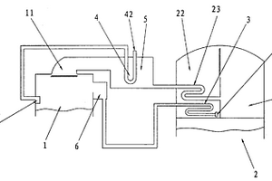
带稀溶液预热器的直燃型溴化锂空调高压发生器

一种带稀溶液预热器的直燃型溴化锂空调高压发生器,包括本体,所述本体具有燃烧腔和蒸发腔;燃烧腔上有一烟管与外界连通,其特殊之处在于:还包括一稀溶液预热腔和一加热器;所述稀溶液预热腔与蒸发腔连通,稀溶液预热腔有稀溶液入口,在稀溶液预热腔与蒸发腔的交界处设置有隔板;加热器设置在稀溶液预热腔内,烟管穿过蒸发腔与加热器的烟气进口连接,加热器的出烟口伸出本体外。由于采用这样的结构,进入高压发生器稀溶液,首先在稀溶液预热腔内预热,从隔板溢出流到蒸发腔再蒸发,有效地利用排出烟气的温度,节约了能源,提高了效率。

标签:
加工技术
广东 - 江门 来源:中冶有色网 2023-03-18
锂电池的极片输送设备的速度差消除装置

本实用新型公开了一种锂电池的极片输送设备的速度差消除装置,包括:料带进给机构,包括基板,以及固定安装在基板上的可转动的导轮,基板的上端安装有用于放置料卷的放料装置,基板上通过滑动机构设置有可沿基板的竖立方向运动的动滑轮;速度差消除机构,包括固定架,固定架的前后两侧分别设置有相互平行的转动杆,固定架上通过升降机构设置有可沿固定架的竖立方向做升降运动的压辊,升降机构包括沿固定架的竖立方向设置有导杆,导杆上滑动套接有导块,压辊可转动安装在导块上,固定架上部安装有定滑轮,定滑轮上绕有拉线,拉线的一端与导块连接,另一端连接有配重块。实现物料输送匀速,实现两种不同料带传输装置之间的速度差,提高料带传送的效率。

标签:
加工技术
广东 - 江门 来源:中冶有色网 2023-03-18
锂离子电池正极材料混料器介质球分离装置

本实用新型公开了一种锂离子电池正极材料混料器介质球分离装置,包括机架和分离器主体,分离器主体安装于机架上,分离器主体包括有向下倾斜的导料槽,使用时将混料器下料口与分离器主体的入料口软连接,通过控制混料器阀门开关,由混料器下料口放出来的介质球和混料粉在导料槽倾斜的晒网上滚动时,实现了介质球和混料粉的分离,混料粉可以在导料槽下方的物料回收槽收集,介质球可以在导料槽末端的介质收集出口收集,实现介质球和混料粉的快速分离,通过该分离装置一个人就可以轻松完成介质球和混料粉的分离操作,避免传统分离操作中需要多人进行操作,极大的提升了工作效率,降低了工作难度。

标签:
加工技术
广东 - 江门 来源:中冶有色网 2023-03-18
低自放电锂离子电池的化成方法

本发明提供了一种低自放电锂离子电池的化成方法,其中所述化成方法包括首次注液,在低温环境下控制充电电流进行的第一化成步骤,二次注液,在常温环境下控制电流进行的第二化成步骤,以及在高温环境下进行的第三化成步骤,而且首次注液和二次注液的电解液组分不同。通过本发明的化成方法,形成更为致密的SEI膜,在长期存储后自放电较低,并且存储后依然保持较高的循环寿命。

标签:
加工技术
广东 - 江门 来源:中冶有色网 2023-03-18
锂电池的极片的夹紧熔断装置

本实用新型公开了一种锂电池的极片的夹紧熔断装置,包括卷绕装置,包括由电机驱使转动的卷针座,卷针座上均布设置有多个卷针;送料装置,设置在卷绕装置的上方两侧,包括送料夹机构、滑块、滑轨和第一驱动装置,送料夹机构设于滑块上,第一驱动装置用于驱动滑块沿滑轨往复滑动;隔膜切断装置,数量设置为2个,分别设置在卷绕装置的下方两侧,其包括安装支架、导向驱动装置、切刀驱动装置、发热管;通过设置隔膜切断装置,通过设置发热管,在切刀切断隔膜之前对切刀进行加热,加热后的切刀在切断隔膜时能使隔膜快速熔断,从而能使切刀快速将隔膜切断,减少切断隔膜的时间,从而减少两次卷绕之间的等待时间,以提高电芯的生产效率。

标签:
加工技术
广东 - 江门 来源:中冶有色网 2023-03-18
锂锰干电池生产用极片分条机

本实用新型公开了一种锂锰干电池生产用极片分条机,包括:机架、纵剪机、收卷总成、张紧总成,所述的机架为分条机的固定基座,所述的纵剪机安装在机架前端,所述的收卷总成安装在机架后端,所述的张紧总成安装在机架中部,所述的收卷总成由安装架、收卷轴、收卷轮、动力轴、动力电机组成,所述的安装架为两根,两根安装架竖直固接在机架两侧,所述的收卷轴两端通过轴承座连接在两根安装架上,所述的收卷轮均匀连接在收卷轴上,所述的动力轴通过轴承座连接在安装架一侧,且动力轴与收卷轴通过锥齿轮连接,所述的动力电机输出轴与动力轴固接。本实用新型具有结构简单、造价低廉、分条完全、使用效果好等优点。

标签:
加工技术
广东 - 江门 来源:中冶有色网 2023-03-18
改进的溴化锂空调蒸发器

一种改进的溴化锂空调蒸发器,包括冷剂喷嘴和换热器构成;冷剂喷嘴设置在换热器上方,并与换热器换热管配合;其特征在于:位于换热器上部的换热管的端口为冷水进口,位于换热器下部的换热管的端口为冷水出口。由于采用这样的结构,冷冻水出口的换热管位于换热器的下部,换热管外冷剂液膜厚度更低,有利于拉低冷冻水出水温度,提高蒸发器效率。通过机组实验表明,冷冻水采用上进下出方式比下进上出方式时制冷量可以提高4-7%。

标签:
加工技术
广东 - 江门 来源:中冶有色网 2023-03-18
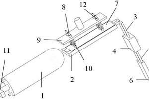
易换式聚合物(软包装)锂离子电池负极耳点焊定位装置

本实用新型涉及焊接装置,具体地涉及一种易换式聚合物(软包装)锂离子电池负极耳点焊定位装置,如附图所示,该装置包含基座1和可更换焊接块2两大部份,他们之间用螺钉固定,可更换焊接块2上装有横向定位块3和纵向定位块4。本实用新型优点有二:一是保证极耳与电极片焊接位置准确,二是焊接块磨损后更换方便。

标签:
加工技术
广东 - 江门 来源:中冶有色网 2023-03-18
锂电材料粉体压片机用的压实模具

本实用新型公开了一种锂电材料粉体压片机用的压实模具,其包括圆形凸模和圆形凹模,圆形凸模的中间设有圆形凸起,圆形凹模的中间设有与圆形凸起匹配的圆形凹槽,圆形凹槽的内径与极片的集流体的外径匹配,圆形凸模的外周面的对称两侧分别设有径向凸出的第一测量点,圆形凹模的外周面的对称两侧分别设有径向凸出的第二测量点,压实模具在粉体压片机上装配时,第一测量点与第二测量点的连接线平行于压实模具的开合方向。采用本实用新型,能够实现极片的压实密度无损测量,且减少人工对极片进行取点测量操作时带来的误差;还能更直观表现出不同压力下对应极片的压实密度变化情况,具有贴近实际生产、准确、快捷、使用方便等优点。

标签:
加工技术
广东 - 江门 来源:中冶有色网 2023-03-18
改进的溴化锂空调的发生器

一种改进的溴化锂空调的发生器包括高压发生器和低压发生器,还包括一液液换热器和一稀溶液换热器;所述换热器通过一降温减压室与高压发生器连通;稀溶液换热器的出液端设置有稀溶液闪发器、进液端与低温热交换器或溶液泵出口连通,稀溶液换热器设置在降温减压室内;液液换热器的出液端设置有浓溶液闪发器,其进液端与高压发生器的浓溶液液囊连通。由于采用这样的结构,各换热器热力系数明显提高,高压发生器和低压发生器蒸发效果更好,减少溶液用量。

标签:
加工技术
广东 - 江门 来源:中冶有色网 2023-03-18
软包聚合物锂电池生产用组装装置

本实用新型公开了一种软包聚合物锂电池生产用组装装置,涉及锂电池领域,包括支撑箱体,所述支撑箱体的底面螺栓连接有支撑垫块,所述支撑箱体的一侧边螺栓连接有控制箱,所述支撑箱体的两侧边对称水平螺栓连接有固定横板,所述固定横板的顶面水平螺栓连接有推动气缸,所述推动气缸的输出端水平螺纹连接有对接压杆,所述对接压杆的顶面均匀开设有放料槽,所述对接压杆在远离推动气缸的一侧边均匀开设有套接孔,所述对接压杆在远离推动气缸的一侧边均匀开设有导向孔。本实用新型装置设计结构简单操作方便,在采用了多方向的挤压固定使得进行组装时更加的精准高效,同时在进行组装时能够一次完成多个组装任务使得生产效率大大提高。

标签:
加工技术
广东 - 江门 来源:中冶有色网 2023-03-18
小型电器用高散热充电锂电池

本实用新型涉及锂电池技术领域,具体揭示了一种小型电器用高散热充电锂电池,包括电池、散热板以及设置在电池内侧的承托板,所述电池包括两组电芯,且呈堆叠设置,所述电池的内侧固定连接有内框,且与电芯相连接;所述散热板与电池的顶部互相卡接,且通过紧固件与散热板固定相连;本实用新型通过设置的紧固件配合导热板和散热板能够让电池更加快速的将热量导出,同时利用设置的导热橡胶套和金属板以及循环泵与冷却液之间的组合,能够让电池热量导出的更加的迅速,满足电池在充放电池使用的需要,使得电池的寿命得到延长,且减少电池出现爆炸的风险,让整个电池可以更好的服务于小型电池的使用需要。

标签:
加工技术
广东 - 江门 来源:中冶有色网 2023-03-18
电容式锂电池注液组装口设备

本发明公开了一种电容式锂电池注液组装口设备,包括:注液手套箱,包括第一箱体,以及多个沿第一箱体的长度方向依次排列设置的注液机构,第一箱体的一端设置有第一进料口,进料口上安装有双重隔离门;封装手套箱,包括第二箱体,以及安装在第二箱体内的封装机构,第二箱体的一端与第一箱体的另一端通过管道连通,第二箱体的侧部安装有第二进料口;注液手套箱与封装手套箱连接有用于控制温度和湿度的空调装置。通过设置注液手套箱与封装手套箱,第一箱体与第二箱体通过管道连通,同时连接有用于控制温度和湿度的空调装置,实现了注液手套箱与封装手套箱内的温度湿度的统一,能够解决注液以及封装工序之间的环境骤变的问题,降低对锂电池性能的影响。

标签:
加工技术
广东 - 江门 来源:中冶有色网 2023-03-18
锂电池叠片工艺专用加持压紧结构

本实用新型公开了锂电池叠片工艺专用加持压紧结构,包括感应体、放置部以及移动部,感应体为圆柱形导体结构,放置部位于感应体一侧,移动部活动贴合于放置部,感应体上设有安装部;放置部包括:上电台、第一导线、接地开关、第二导线以及大地;上电台位于感应体一侧,第一导线的一端安装于上电台上,本实用新型涉及锂离子电池技术领域,设有感应体,感应体使放置部带有电荷,当移动部吸取极片后,将极片压紧放置部上,使极片带有电荷,随后将带电的极片移动走,避免一次吸取几片极片的情况发生,降低了不良品产生的概率,便于极片的持有以及叠加,提高了生产效率,提高了产量,避免生产成本升高。

标签:
加工技术
广东 - 江门 来源:中冶有色网 2023-03-18
用于锂离子正极材料的收料装置

本实用新型涉及锂离子正极材料领域,公开了一种用于锂离子正极材料的收料装置,包括干燥箱、抽气泵和氮气瓶,抽气泵通过第一气管与干燥箱连接,抽气泵与干燥箱之间设有用于通断第一气管的第一阀门,氮气瓶通过第二气管与干燥箱连接,氮气瓶与干燥箱之间设有用于通断第二气管的第二阀门,干燥箱上设有用于检测干燥箱的内部气压的第一气压表。采用本实用新型,不但能够将干燥箱抽真空,还能在干燥箱泄压时及时补充氮气,避免干燥器在泄压时的涌入空气的水汽或二氧化碳,保证正极材料表征的容量和循环偏高,保证了收料质量,可见,本实用新型的结构简单合理,能够防止干燥箱内涌入水汽或二氧化碳,收料品质高。

标签:
加工技术
广东 - 江门 来源:中冶有色网 2023-03-18
锂电池盖帽压焊组件
锂电池盖帽压焊组件 1079     
 0

本实用新型涉及电池制造技术领域,具体涉及一种锂电池盖帽压焊组件;包括外套和内套,外套顶端固定连接有固定块,内套卡接在外套内,内套外壁开设有四个第一通孔,四个第一通孔内均通铰轴铰接有配合块,四个配合块位于内套部分互相接触,内套内底部固定连接有弹性件,弹性件顶部的外壁与配合块靠近内套中心轴的端面接触,配合块位于内套外部分上端面固定连接有顶块;本实用新型通过设置套筒,从而使得电池放置更稳定,再通过弹性件缓冲机械臂固定下降速度带来的冲击,减少盖帽的滑动和电池的损伤,再通过限位块对盖帽的矫正和限位作用,从而使得电池盖帽不会轻易滑动,有效的降低了锂电池盖帽压焊时盖帽滑动的现象,有效的提高了生产效率。

标签:
加工技术
广东 - 江门 来源:中冶有色网 2023-03-18
动力锂离子电池用正极材料表面改性工艺方法

本发明公开了动力锂离子电池用正极材料表面改性工艺方法,该方法是选取一次灼烧合成的锂镍钴锰氧化合物正极材料作为包覆载体,通过在正极材料和包覆物料的混合水系浆料内添加一定量的粘结剂、表面活性剂和分散剂,降低纳米金属氧化物在搅拌过程中的团聚,并均一的粘附在正极材料颗粒表面,再经过二次灼烧处理后实现表面均一的包覆,制备的正极材料电化学性能稳定,循环寿命良好。

标签:
加工技术
广东 - 江门 来源:中冶有色网 2023-03-18
软包聚合物锂电池生产用组装夹具

本实用新型公开了一种软包聚合物锂电池生产用组装夹具,涉及锂电池领域,包括主支撑板,所述主支撑板的一侧边水平开设有卡接槽,所述主支撑板的底面开设有贯穿螺孔,所述贯穿螺孔的内侧边螺栓连接有顶接螺杆,所述主支撑板在远离卡接槽的一端开设有翻转卡槽,所述翻转卡槽的内侧边水平插接有支撑翻转杆,所述主支撑板的侧边螺纹连接有紧固螺杆,所述支撑翻转杆在远离主支撑板的一端套接有支撑套块,所述支撑套块的顶面垂直螺纹连接有夹持螺杆。本实用新型装置设计小巧结构简单操作方便,在进行安装时具有随意性使得不受限制的进行安装,同时在对物料夹持后可以进行多角度的调整作用,使得可以方便的对物料进行操作具有多变灵活性。

标签:
加工技术
广东 - 江门 来源:中冶有色网 2023-03-18
基于溴化锂制冷技术替代工业生产线电制冷供冷系统

本实用新型公开了一种基于溴化锂制冷技术替代工业生产线电制冷的供冷系统,包括控制箱、第一溶液泵、第二溶液泵、高温段溶液热交换器和低温段溶液热交换器,所述第一溶液泵一端设置有冷剂泵,所述第一溶液泵另一端通过螺钉安装有加液阀,所述第二溶液泵外侧通过螺丝安装有稀溶液调节阀,所述冷剂泵一端通过管道连接有冷剂水取样阀,所述冷剂水取样阀顶部连接有高温段冷剂水调节阀,所述高温段冷剂水调节阀两端分别通过管道连接有冷剂水旁通阀和低温段冷剂水调节阀。该新型能利用溴化锂制冷技术代替电制冷,用来发生反应的热水是来自电站余热锅炉热水加热器的热水,节能效果佳,操作简单,耐用效果好,适合广泛推广使用。

标签:
加工技术
广东 - 江门 来源:中冶有色网 2023-03-18
溴化锂空调冷剂蒸汽吸收机

一种溴化锂空调冷剂蒸汽吸收机,它包括冷剂蒸汽吸收室,液环式压缩机,喷淋嘴,冷却器和液封器;液环式压缩机吸气口与吸收器连通、其出口通过导管与设置在冷剂蒸汽吸收室底部的液封器配合;冷却器设置在冷剂蒸汽吸收室内;喷淋嘴设置在冷剂蒸汽吸收室内腔上部,与溶液泵出口连接;冷剂蒸汽吸收室底部与吸收器内的稀溶液连通,冷剂蒸汽吸收室上部与真空抽气室连通。吸收器内的冷剂蒸汽被压缩在冷剂蒸汽吸收室内,用冷却器降温,由稀溶液吸收,送回吸收器;大量冷剂蒸汽被从吸收器中抽出,促进冷剂蒸汽在吸收器内流动,提高吸收器吸收效果;由于吸收器内的不凝性气体也被抽出,被压缩密封在冷剂蒸汽吸收室较小的空间内,便于用真空泵排到溴化锂空调外。

标签:
加工技术
广东 - 江门 来源:中冶有色网 2023-03-18
用于锂电正极前驱体材料的高效反应器

本实用新型公开了一种用于锂电正极前驱体材料的高效反应器,包括第一本体,第一本体设置有容置原料进行反应的第一腔室,第一腔室内设置有转轴和连接转轴的搅拌桨,转轴的轴线沿上下方向设置,第一腔室的底部的横截面积由上至下减小,第一腔室的底壁设置有锥形凸起,锥形凸起的中心设置于转轴的正下方。本实用新型的一种用于锂电正极前驱体材料的高效反应器,扩大搅拌范围,促使原料循环流动,使原料充分混合和反应。

标签:
加工技术
广东 - 江门 来源:中冶有色网 2023-03-18
带过流自断功能的锂电池极耳

本实用新型公开了一种带过流自断功能的锂电池极耳,包括极耳片,所述极耳片一端接入电芯外部电路,另一端连接电池电极,极耳片中部通过打孔开设有通孔。本实用新型的锂电池极耳通过打孔在极耳片中部开设通孔,使极耳片中部导电部分变窄,当由于短路而导致过大的电流通过极耳片时,极耳片在通孔两侧边的部分能及时熔断,起到保护电池的作用。

标签:
加工技术
广东 - 江门 来源:中冶有色网 2023-03-18
软包聚合物锂电池生产用夹具

本实用新型公开了一种软包聚合物锂电池生产用夹具,涉及锂电池领域,包括支撑底板,所述支撑底板的顶面均匀开设有连接通孔,所述支撑底板的顶面垂直向上焊接有支撑立板,所述支撑立板的一侧边开设有转动卡槽,所述转动卡槽的内侧边套接有转动盘一,所述转动盘一的一侧边垂直插接有支撑杆,所述支撑立板的一侧边开设有插接通孔,所述插接通孔的内侧边水平插接有支撑转杆,所述支撑转杆在远离支撑立板的一端固定焊接有固定块,所述固定块在远离支撑转杆的一侧边竖直向开设有滑动卡槽。本实用新型装置设计一体化结构简单操作方便,在采用了翻转的结构使得在进行使用操作时更加的方便快捷,且便于后期进行翻转操作大大的提高了工作效率。

标签:
加工技术
广东 - 江门 来源:中冶有色网 2023-03-18
全密封一次性锂二氧化锰电池

本发明公开了一种全密封一次性锂二氧化锰电池,涉及锂二氧化锰电池领域,包括电池外壳和电池芯体,所述电池外壳的上端端口设置有玻璃封密封组件,所述玻璃封密封组件的中部镶嵌有负极柱;所述电池外壳的上部内壁设置有内凸环,所述电池外壳的内壁设置有防腐镀膜层,所述玻璃封密封组件的边缘与电池外壳之间通过激光焊接工艺进行熔融密封焊接,所述玻璃封密封组件的下侧面固定有防腐层。本发明电池只有一个壳体,电池芯体制作完成后直接装入电池外壳内,减少一次电池芯体先装入电池的内壳,再装入电池外壳的工序,且玻璃封密封组件与电池外壳之间通过激光焊接工艺进行熔融密封焊接,这样电池芯体被完全密封与外界隔绝,电池使用寿命长。

标签:
加工技术
广东 - 江门 来源:中冶有色网 2023-03-18
从锂云母中提取碱金属的方法

本发明公开了一种从锂云母中提取碱金属的方法,包括将锂云母粉碎,加入过量盐酸浸提后去除其中的不溶物,得到的提取液进行喷雾干燥,干燥物料水洗,固液分离得到氯盐溶液;对氯盐溶液进行分级纯化,得到不同的碱金属盐。本发明方法,可以高效去除其中的杂质,利于后续的分离纯化。过量的盐酸及喷雾干燥生成的盐酸可以方便地回收利用,有利于降低环境污染。本方法用水量少,结晶效率高,物料流通量和能量消耗低。同时,本发明方法可以有效降低去除杂质造成的碱金属损失,可以更为高效地回收其中的碱金属。

标签:
加工技术
广东 - 江门 来源:中冶有色网 2023-03-18
用于锂电正极前驱体材料的高效干燥器

本实用新型公开了一种用于锂电正极前驱体材料的高效干燥器,包括罐体、与罐体的内部连通的除湿风机,罐体的顶部设置有进料口,罐体的底部设置有出料口,罐体的内部设置有干燥盘、拨料板和带动拨料板沿干燥盘的表面转动的转轴,罐体的侧壁设置有第一进气口,罐体内设置有遮挡第一进气口的第一挡板,第一挡板设置有若干第一通孔。本实用新型的一种用于锂电正极前驱体材料的高效干燥器,避免罐体内产生大股气流,减少随空气排出的原料量,减少环境污染。

标签:
加工技术
广东 - 江门 来源:中冶有色网 2023-03-18
锂电正极前驱体材料的高效洗涤器

本实用新型公开了一种锂电正极前驱体材料的高效洗涤器,包括机架,机架设置有主梁,主梁的一端设置有止推板,主梁的另一端设置有压紧板和连接压紧板的液压装置,止推板设置有第一进料口,止推板和压紧板之间设置有过滤组件,过滤组件包括若干水平方向叠放的滤板,相邻的滤板之间形成滤室,相邻的滤室连通,靠近止推板的滤室与第一进料口连通,滤室内设置有滤布,滤布与滤板连接,若干滤板与主梁滑动连接,贴合压紧板的滤板或压紧板设置有第二进料口。本实用新型的一种锂电正极前驱体材料的高效洗涤器,避免进料口堵塞,使进料充分。

标签:
加工技术
广东 - 江门 来源:中冶有色网 2023-03-18
高寿命散热的太阳能锂电池

本实用新型涉及一种高寿命散热的太阳能锂电池,包括防护箱、电池本体和保护盖,所述防护箱的内部安装有减震片,所述防护箱的内部连接有支撑框,所述支撑框的内部安装有减震弹簧,所述减震弹簧的顶部连接有支撑杆,所述减震弹簧的底部安装有缓冲座,所述支撑杆的顶部设置有支撑板,所述减震片的内部安装有分隔柱,所述减震片的内部连接有缓冲装置。该高寿命散热的太阳能锂电池,通过支撑框对减震弹簧进行固定,当装置在运输过程中,支撑杆对支撑板进行有效支撑,确保其结构稳定可靠,并利用减震弹簧对其进行有效缓冲,与缓冲座配合使用,完成对其的整体内部的减震,确保其整体装置能够稳定正常运行。

标签:
加工技术
广东 - 江门 来源:中冶有色网 2023-03-18
锂离子电池正极材料多层烧结用匣钵

本实用新型公开了一种锂离子电池正极材料多层烧结用匣钵,所述匣钵包括钵基和钵体,所述钵体设置于钵基上,所述钵基周边的边缘超出钵体对应边,所述钵体的四周钵壁上设有火槽。本实用新型装置结构简单,配合辊道炉多层烧结锂离子电池正极材料时可改善下层粉料气氛环境,不仅可以改善产品的质量,还可以延长匣钵和辊道炉辊棒的使用寿命,经济效益明显。

标签:
加工技术
广东 - 江门 来源:中冶有色网 2023-03-18
上一页 7 8 9 10 11 ... 29 下一页
共29页    到第

中冶有色为您提供最新的广东江门有色金属材料制备及加工技术理论与应用信息,涵盖发明专利、权利要求、说明书、技术领域、背景技术、实用新型内容及具体实施方式等有色技术内容。打造最具专业性的有色金属技术理论与应用平台!

全国热门有色金属设备推荐
展开更多 +
全国热门有色金属技术推荐
展开更多 +

 

江西省隆恩特环保设备有限公司
宣传

报名参会
更多+

报告下载

有色专家
更多+

南昌航空大学
副院长/教授
矿冶科技集团江苏北矿金属循环利用科技有限公司
书记 / 总经理
江西理工大学
教授
中南大学
院长/教授
北京科技大学
副院长/教授
赤泥综合利用研究报告2025
推广

热门技术
更多+

推荐企业
更多+

福建省金龙稀土股份有限公司
宣传

发布

在线客服

公众号

电话

顶部
咨询电话:
010-88793500-807