青岛垚鑫智能科技有限公司
宣传

位置:中冶有色 >

有色技术频道 >

分类:
全部
矿山技术
冶金技术
材料制备及加工技术
环境保护技术
分析检测技术
 
全部
功能材料技术
复合材料技术
新能源材料技术
合金材料技术
加工技术
地区:
全部
北京
天津
上海
重庆
河北
山西
辽宁
吉林
黑龙江
江苏
浙江
安徽
福建
江西
山东
河南
湖北
湖南
广东
海南
四川
贵州
云南
陕西
甘肃
青海
内蒙
广西
西藏
宁夏
新疆
其他
其他
展开
 
全部
杭州
宁波
温州
绍兴
湖州
嘉兴
金华
衢州
台州
丽水
舟山

浙江湖州有色金属材料制备及加工技术理论与应用

免费发布技术信息>>
超临界二氧化碳流体制备硫锡化物/碳复合材料的方法及应用

本发明公开了一种超临界二氧化碳流体制备硫锡化物/碳复合材料的方法及应用,属于硫锡化物/碳复合材料制备技术领域。一种超临界二氧化碳流体制备硫锡化物/碳复合材料的方法及应用,将硫源、锡源、溶剂和碳源按照一定的比例均匀混合得到的混合物放入高压球磨罐中,在一定的条件下球磨,球磨后得到的样品分别用无水乙醇和去离子水冲洗2‑4次,冷冻干燥后在保护气氛炉中退火,冷却后进行研磨得到硫锡化物/碳复合材料样品,可以通过运用超临界二氧化碳自身在超临界态下的强分散性和其高压低温提供的反应条件制备硫锡化合物/碳复合材料,提供了一种反应温度低、绿色环保,易工业化的生产方法。

标签:
复合材料
浙江 - 湖州 来源:中冶有色网 2023-03-18
硅-碳-钴复合材料及其制备方法和应用

本发明公开一种硅‑碳‑钴复合材料及其制备方法和应用,所述硅‑碳‑钴复合材料含有硅‑碳‑钴三元材料颗粒,所述硅‑碳‑钴三元材料颗粒相互之间构成三维多孔网络状结构;所述的硅‑碳‑钴复合材料的制备方法,包括将硅化镁粉末、草酸钴粉末混合后在惰性气体气氛下进行热处理;对所得产物进行酸洗处理,酸洗后经后处理得到所述硅‑碳‑钴复合材料;所述的硅‑碳‑钴复合材料在可充电电池负极材料中的应用。本发明工艺简单,利用一次固相反应和简单酸洗直接制得成品,具有很大的操作性。该复合材料作为锂离子电池负极材料时倍率性能优异,可以作为一种潜在的功率型锂离子电池负极材料的解决方案。

标签:
复合材料
浙江 - 湖州 来源:中冶有色网 2023-03-18
汽车用碳纤维复合材料的喷漆装置

本发明涉及复合材料喷漆技术领域,且公开了一种汽车用碳纤维复合材料的喷漆装置,包括箱体,所述箱体的内部分别转动连接有主动轴和传动轴,所述主动轴的两端分别固定连接有上链轮二和上链轮一,所述上链条的表面设置有连接机构,所述电机的输出端设置有传动机构,所述箱体的上表面设置有风干机构,所述箱体的前部设置有旋转机构。该汽车用碳纤维复合材料的喷漆装置,通过电机的转动,将会带动螺纹板以及调节杆的转动,调节杆的转动将会带动滑动架进行上下位置的循环运动,使得喷头可以进行上下运动,来进行对材料的喷漆,使得喷漆更加的均匀,更加的迅捷,从而很好的提高对复合材料的喷漆效率,降低操作人员的工作强度。

标签:
复合材料
浙江 - 湖州 来源:中冶有色网 2023-03-18
锂离子电池硅碳复合材料及其制备方法

本发明公开了一种锂离子电池硅碳复合材料及其制备方法,属于锂离子电池技术领域。所述复合材料包括:包含纳米硅、碳材料、纳米惰性金属或金属硅化物的复合颗粒,以及包覆在所述复合颗粒表面的碳层,所述复合材料为具有微米尺寸的多孔二级结构,由纳米硅、碳材料、金属盐和有机碳源溶液混合,经喷雾热解和烧结碳化制得。该复合材料可以充分发挥出硅、碳和金属材料的协同效应,硅材料的电化学容量高,碳材料增加导电性,惰性金属或金属硅化物可以进一步增加导电性并减少体积变化;多孔二级结构有效地提高了振实密度并适应了硅的体积膨胀以减轻机械应力。

标签:
复合材料
浙江 - 湖州 来源:中冶有色网 2023-03-18
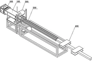
注胶盒和纤维增强发泡复合材料的连续生产线

一种注胶盒和一种纤维增强发泡复合材料的连续生产线,包括有分布架、注胶盒、发泡装置、成型模及牵引装置,分布架用于使纤维材料按照设计要求进行空间分布;注胶盒包括有浸润通道、注胶通道以及出料通道,注胶盒上设置多个浸润通道和注胶通道,发泡装置呈隧道式结构设置,一端与注胶盒连通另一端与成型模连通,注胶盒靠近发泡装置一侧设置的送风装置,成型模上设置有加热装置。纤维材料通过浸润通道的同时被经由注胶通道注入浸润通道的液态基体材料浸润后成为复合材料前体,经过出料通道后进入发泡装置内进行预发泡后进入成型模内进行完全发泡和固化或者定形,还可以通过将不同的纤维和/或液态基体材料在不同的浸润通道浸润形成不同的复合材料前体,可以使制造的复合材料的不同的部分的材料成分不同,功能不同,性能不同。

标签:
复合材料
浙江 - 湖州 来源:中冶有色网 2023-03-18
制备连续纤维增强复合材料的设备

本实用新型提供一种制备连续纤维增强复合材料的设备,其包括注胶设备、模具及牵引装置,注胶设备与模具相连,复合材料的基体材料和增强材料经由注胶设备进入到模具,成型后的复合材料经牵引装置牵拉脱出模具,所述注胶设备包括具有连续锥形腔的注胶盒,注胶盒入口处设有储胶段,注胶盒的入口端设有穿纱板。采用本实施例的设备制备连续纤维增强复合材料,可以对纤维纱和纤维毡的空间位置进行精确的定位;并对纤维进行充分的浸胶和预成型;同时还可以保证树脂能够很好地浸润纤维。

标签:
复合材料
浙江 - 湖州 来源:中冶有色网 2023-03-18
碳化钛-碳核壳阵列负载垂直石墨烯/二氧化锰复合材料及其制备方法和应用

本发明提供了一种碳化钛‑碳核壳阵列负载垂直石墨烯/二氧化锰复合材料及其制备方法和应用,其制备方法,包括以下步骤:将清洗后的基底放置在等离子体石英管中,通过化学气相沉积法制得碳化钛‑碳核壳阵列;以碳化钛‑碳核壳阵列为载体置于离子体石英管中,通过化学气相沉积法制得碳化钛‑碳核壳阵列负载垂直石墨烯复合材料;将碳化钛‑碳核壳阵列负载垂直石墨烯复合材料置于原子层沉积仪中,原子层沉积法制得碳化钛‑碳核壳阵列负载垂直石墨烯/二氧化锰复合材料。本发明还包括采用上述方法制得的复合材料及其在锌离子电池中的应用。本发明的碳化钛‑碳核壳阵列负载垂直石墨烯/二氧化锰复合电极材料具有高比容量、高倍率性能及高循环寿命。

标签:
复合材料
浙江 - 湖州 来源:中冶有色网 2023-03-18
复合材料拉挤型材、光伏组件系统及门窗幕墙系统

本实用新型公开复合材料拉挤型材、光伏组件系统及门窗幕墙系统,复合材料拉挤型材包括:型材本体以及型材插接部,型材插接部为设置于型材本体上的衬件,或为型材本体的一部分;型材插接部的至少一个部分具有凸起或者凹陷或者缺口;和/或,在外力作用下,型材插接部的至少一个部分能够变形而形成凸起或者凹陷或者缺口;和/或,在加热条件下,型材插接部的至少一个部分能够熔融或者软化;型材插接部上插接前预制或插接后形成的凸起或者凹陷或者缺口与插接件或者其他部件配合卡接;或,型材插接部与插接件或者其他部件焊接。本实用新型通过型材接插部实现复合材料拉挤型材之间或者复合材料拉挤型材与其他部件之间的快速插接,拓展其应用范围。

标签:
复合材料
浙江 - 湖州 来源:中冶有色网 2023-03-18
青霉孢子碳/二氧化锰复合材料及其制备方法与应用

本发明公开了一种青霉孢子碳/二氧化锰复合材料及其制备方法与应用,首先通过成熟的橘子自然得到青霉孢子,再将青霉孢子作为二氧化锰活性材料生长的基底,可以制备出青霉孢子碳/二氧化锰复合材料。该复合材料中二氧化锰作为活性物质,可以容纳锌离子的嵌入与脱出,青霉孢子碳则有利于改善二氧化锰材料的外部电子传输,获得更优异的电化学性能。因此本发明制备出的青霉孢子碳/二氧化锰复合材料,具有柔性、高比容量,高倍率性能及高循环寿命等优点,在小型移动电子设备、电动汽车、太阳能发电和航空航天等领域具有广阔的应用前景。

标签:
复合材料
浙江 - 湖州 来源:中冶有色网 2023-03-18
注胶盒和纤维增强发泡复合材料的连续生产线及生产方法

一种注胶盒和一种纤维增强发泡复合材料的连续生产线,包括有分布架、注胶盒、发泡装置、成型模及牵引装置,分布架用于使纤维材料按照设计要求进行空间分布;注胶盒包括有浸润通道、注胶通道以及出料通道,注胶盒上设置多个浸润通道和注胶通道,发泡装置呈隧道式结构设置,一端与注胶盒连通另一端与成型模连通,注胶盒靠近发泡装置一侧设置的送风装置,成型模上设置有加热装置。纤维材料通过浸润通道的同时被经由注胶通道注入浸润通道的液态基体材料浸润后成为复合材料前体,经过出料通道后进入发泡装置内进行预发泡后进入成型模内进行完全发泡和固化或者定形,还可以通过将不同的纤维和/或液态基体材料在不同的浸润通道浸润形成不同的复合材料前体,可以使制造的复合材料的不同的部分的材料成分不同,功能不同,性能不同。

标签:
复合材料
浙江 - 湖州 来源:中冶有色网 2023-03-18
碳基-金属氧化物复合材料的原位电解制备方法

本发明公开了一种碳基‑金属氧化物复合材料的原位电解制备方法,属于碳基‑金属氧化物复合材料的原位电解制备领域。一种碳基‑金属氧化物复合材料的原位电解制备方法,将碳酸盐脱水、烘干,以上述碳酸盐为熔盐电解质、金属为牺牲阳极、石墨为负极,置于电解池中,按1‑10℃/min的升温速率加热电解池至将熔盐完全熔化,然后施加电压进行电解制备,反应结束后,将石墨阴极从熔盐中取出,刮下表面沉积物,得到碳‑金属氧化物复合材料,可以通过简单的电解步骤,即可同步合成碳和金属氧化物,具有工艺简单、成本低、易于工业化生产的特点。

标签:
复合材料
浙江 - 湖州 来源:中冶有色网 2023-03-18
模拟测试SiC/Al复合材料力学性能的方法、记录媒体及系统

本发明属于材料分析技术领域,特别涉及一种模拟测试SiC/Al复合材料力学性能的方法。利用该方法,可以在原子/分子尺度模拟SiC/Al复合材料的拉伸、断裂过程,获得应力应变曲线、杨氏模量、抗拉强度等力学性能指标。本发明可以准确、高效地得到SiC/Al复合材料相关力学性能及参数,弥补微观尺度上实验设计及观察的局限性,同时也规避了传统实验中可能存在的不确定因素。本发明还提供了一种存储有模拟测试SiC/Al复合材料力学性能程序的非暂态可读记录媒体及包含该媒体的装置,通过处理电路可以调用该程序,以执行上述方法。

标签:
复合材料
浙江 - 湖州 来源:中冶有色网 2023-03-18
尼龙增强聚醚醚酮复合材料及其制备方法

本发明公开了一种尼龙增强聚醚醚酮复合材料及其制备方法,一种尼龙增强聚醚醚酮复合材料,包括以下重量份的原材料:包括聚醚醚酮50‑65份,尼龙66短纤维35‑45份,纳米二氧化钛粉末0.5‑5份,聚二甲硅氧烷1‑2份和抗氧剂0.5‑1份。本发明属复合材料技术领域,本发明是一种结合纳米材料填充,得到利用短纤维增强peek耐磨损性能更好的尼龙增强聚醚醚酮复合材料。

标签:
复合材料
浙江 - 湖州 来源:中冶有色网 2023-03-18
金属复合低碳镁碳复合材料

本发明涉及一种用于炼钢的耐火材料,尤其涉及一种金属复合低碳镁碳复合材料。金属复合低碳镁碳复合材料,该复合材料按重量百分比计由以下的组分经过压制成型制得:镁砂85%~95%,石墨2.0%~4.5%,金属钢纤维1.0%~6.0%,酚醛树脂0.5%~2.0%,金属脱氧剂1.5%~5.0%;所述的金属脱氧剂由金属铝粉和硅粉组成,铝硅比2.0:1~3.0:1。该复合材料的优点是:提高了低碳镁碳砖的热震稳定性及高温强度。

标签:
复合材料
浙江 - 湖州 来源:中冶有色网 2023-03-18
用于流体填充工艺的软磁复合材料

本发明提供一种用于流体填充工艺的软磁复合材料,包括软磁粉末和粘结剂,所述软磁粉末与所述粘结剂充分混合,所述软磁粉末为平均沃德尔球形度较高的软磁粉末,平均沃德尔球形度高的软磁粉末流动时产生的摩擦力小,且比表面积小、松装密度大。因此,在流动性相同的情况下,含有平均沃德尔球形度高的软磁粉末的软磁复合材料比含有平均沃德尔球形度低的软磁粉末的软磁复合材料需要更少的粘结剂,在实际满足流体填充工艺所需的流动性时,含有平均沃德尔球形度高的软磁粉末的软磁复合材料的密度更高,磁性材料占比更大,制备的电感器效果更好。

标签:
复合材料
浙江 - 湖州 来源:中冶有色网 2023-03-18
保温阻燃塑木复合材料板材及其生产方法

本发明涉及一种塑木复合材料板材及其生产方法,特别是涉及一种保温阻燃塑木复合材料板材及其生产方法,属于新材料技术领域。一种保温阻燃塑木复合材料板材由100质量份数聚乙烯、20‑30质量份数马来酸酐接枝聚乙烯、10‑16质量份数聚氨酯泡沫粉、20‑30质量份数改性硅灰石、8‑16质量份数复配阻燃粒子、130‑170质量份数木粉、3‑5质量份数氯化聚乙烯及1‑3质量份数硬脂酸锌组成。本发明得到的一种保温阻燃塑木复合材料板材重量轻,保温节能,阻燃效果好,加工制作、运输、安装均十分方便,防水、防腐、防虫蛀,废弃后可再生,环境友好。

标签:
复合材料
浙江 - 湖州 来源:中冶有色网 2023-03-18
新型耐冲击的木塑复合材料及其制备新方法

本发明属于木塑复合材料领域,公开了一种耐冲击的木塑复合材料及其制备方法,所述的复合材料包括:低密度聚乙烯15-23份、聚氯乙烯8-14份、木质纤维素12-18份、玉米秸秆为15-26份、甘蔗秸秆为8-15份、甘油为10-15份、聚酯纤维为13-17份、钛酸四丁酯为2-5份。制备方法包括以下步骤:(1)将玉米秸秆和甘蔗秸秆干燥、机械粉碎为粉末;(2)将上述的原料用搅拌机进行搅拌,搅拌至均匀;(3)将步骤(2)搅拌均匀后的原料进行双螺杆挤压,挤出后冷却至室温,为制备的耐冲击的木塑复合材料。

标签:
复合材料
浙江 - 湖州 来源:中冶有色网 2023-03-18
抗老化耐冲击改性木塑复合材料及其制备方法

本发明提供了一种抗老化耐冲击改性木塑复合材料及其制备方法,所述木塑复合材料包括以下重量份的原料:聚烯烃20‑50份,酶解木质素改性植物纤维30‑70份,聚合松香1‑3.5份、无机填料0.1‑10份,抗氧化剂0.1‑4份、抗紫外剂0.1‑3份,所述酶解木质素改性植物纤维是通过酶解木质素和植物纤维通过酸酐反应得到。本发明制备的改性木塑复合材料的植物纤维和塑料之间亲和力高,复合材料尺寸稳定性高,刚性和韧性均衡,同时抗老化性也有提升;在制备酶解木质素的过程中,加入一定量木质素酶,还能够提高酶解木质素改性植物纤维所制备的木塑复合材料的耐冲击性能。本发明提供的利用木质素改性植物纤维方法,充分利用木质素资源,变废为宝,实现了木质素资源的综合利用。

标签:
复合材料
浙江 - 湖州 来源:中冶有色网 2023-03-18
硅碳复合材料的制备方法及应用

本发明公开了一种硅碳复合材料的制备方法及应用,属于复合材料制备技术领域。所述制备方法,包括以下步骤:(1)将硅基合金磨成粉末,经酸洗得到多孔硅材料;(2)将多孔硅材料与有机高分子碳源和溶剂混合,球磨制得匀浆状混合物,烘干后热处理制得所述硅碳复合材料。本发明在碳包覆时,采用粘度高的有机高分子碳源(如聚偏氟乙烯),与少量溶剂混合制成粘稠的胶体,再配合球磨使有机高分子碳源有效地均匀粘附在多孔硅表面,碳包覆的效率更高;另外有机溶剂使用量少,节省溶剂蒸干消耗的能源,进而降低生产成本。制备工艺简单、适合大规模生产,制得的硅碳复合材料中的硅碳占比合理,具有较好的体积应变能力,提升锂离子电池的电化学性能。

标签:
复合材料
浙江 - 湖州 来源:中冶有色网 2023-03-18
改性水泥基复合材料
改性水泥基复合材料 857     
 0

本发明公开了一种改性水泥基复合材料的制备方法,其步骤如下:(1)按重量份数,首先将称好的水泥80?90份、粉煤灰5?9份、精细砂5?8份,纳米云母粉2?3份, 纳米滑石粉0.3份混合搅,然后加水搅拌,再加入减水剂搅拌,此时的砂浆具有良好的流动性和和易性;(2)然后加热到60℃保温15min,降低至常温后加入PLA纤维2?3份,钢纤维2份,继续搅拌直至纤维分散状态良好、无结团,改性水泥基复合材料完成。本发明制得的水泥混凝土具有很好的抗氯离子渗透性效果,基于RCM?测试,可以测得不同龄期(28和56d)氯离子渗透深度,相对于未改性的水泥,其28d几乎不发生渗透,56d氯离子渗透系数分别降低69.2?93.9%。

标签:
复合材料
浙江 - 湖州 来源:中冶有色网 2023-03-18
复合材料体、浸渍设备、及成型设备和方法、型材

本发明提供一种复合材料体、浸渍设备、及成型设备和方法、型材,所述复合材料体具有第一材料层和第二材料层,所述第二材料层与第一材料层组成成分或密度不同,形成所述第一材料层的第一材料体包含由液态的第一基体材料浸渍第一增强材料形成的第一预浸体,形成第二材料层的第二材料体与所述第一预浸体复合形成复合前体,所述复合前体经后续固化、成型或二次加工工艺处理定型为一体形成所述复合材料体。采用本发明的浸渍设备及浸渍方法可以确保基体材料充分浸渍纤维增强材料;同时采用本发明的成型设备及成型方法,可以很方便地将制造厚截面的复合材料产品,外层和芯层材料组成和密度可以根据需要灵活调整,从而达到最优的性价比。

标签:
复合材料
浙江 - 湖州 来源:中冶有色网 2023-03-18
制备连续纤维增强复合材料的设备及方法

本发明提供一种制备连续纤维增强复合材料的设备,其包括注胶设备、模具及牵引装置,注胶设备与模具相连,复合材料的基体材料和增强材料经由注胶设备进入到模具,成型后的复合材料经牵引装置牵拉脱出模具,所述注胶设备包括具有连续锥形腔的注胶盒,所述注胶盒的入口附近开有注胶口。本发明还提供一种制备连续纤维增强复合材料的方法,其采用前述设备,以酚醛树脂作为基体材料,酚醛树脂的固化前体组合物中添加热塑性树脂粉末,并以高于500rpm转速搅拌不低于3分钟,并且在成型过程中对树脂预热和/或对注胶盒加热。采用本实施例的设备和方法,可以精确定位纤维材料,并对纤维进行充分的浸胶和预成型,有效提高了复合材料的综合性能。

标签:
复合材料
浙江 - 湖州 来源:中冶有色网 2023-03-18
PVC复合材料、发泡板及生产方法、设备和地板

本发明公开一种PVC复合材料,其以重量份计,包括PVC40~60份、轻质碳酸钙40~60份、无机/有机复合发泡剂0.8~1.2份、发泡调节剂3~5份、增韧剂2~4份、润滑剂0.8~1.2份以及稳定剂1.5~2.5份,其中无机/有机复合发泡剂中的无机发泡剂与有机发泡剂的重量比为1/2~1。本发明同时公开使用上述PVC复合材料的发泡板及配套的生产方法、设备和地板,由此制得的PVC产品结构强度高,发泡性能好,具有较为满意的静音效果。

标签:
复合材料
浙江 - 湖州 来源:中冶有色网 2023-03-18
碳纳米管增强铝基复合材料及其制备方法

本发明公开了一种碳纳米管增强铝基复合材料及其制备方法,该复合材料由以下质量百分比的组分组成:碳纳米管4.2%~10.0%,碳化硅4.5%~5.4%,锌0.8%~2.1%,铬1.0%~2.2%,钛2.2%~4.5%,铅0.3%~1.5%,银0.5%~1.0%,三氧化二钇2.3%~6.4%,余量为铝。制备方法:a、氢氧化钾微波活化碳纳米管;b、机械球磨混料机均匀混合;c、烧结即得复合材料。本发明制备的碳纳米管增强铝基复合材料的布氏硬度、弹性模量、抗拉强度高,综合性能良好,工艺可靠高效。

标签:
复合材料
浙江 - 湖州 来源:中冶有色网 2023-03-18
液晶高分子助剂复合材料及其制备方法

本发明属于一种液晶高分子助剂复合材料及其制备方法,属于高分子材料领域。本发明的液晶高分子助剂复合材料由带有离子基团的液晶高分子助剂和树脂复合而成,带有离子基团的液晶高分子助剂的质量为复合材料总质量的5‰~20%,余量为树脂;树脂为选自ABS‑38。制备方法:先制备带有离子基团的液晶高分子助剂;然后将步骤一制备的带有离子基团的液晶高分子助剂与树脂混合,经双螺杆挤出机熔融挤出,挤出的料条经过水槽冷却后切粒得到产品。本发明液晶聚合物原位复合材料应用在汽车零部件、精密电子仪器、光导纤维、医疗器械、防水材料、纺织领域、绝缘材料、储能材料、防弹衣或降落伞领域。

标签:
复合材料
浙江 - 湖州 来源:中冶有色网 2023-03-18
熔渗烧结钨铜复合材料表面覆铜的方法

本发明公开了一种熔渗烧结钨铜复合材料表面覆铜的方法,包括配制钨粉与铜粉的混合料,以重量百分比计,其中钨粉的含量为65-85%,铜粉的含量为15-35%;将制得的混合料加入成形剂经喷雾干燥制粒后,在模具中压制成形,压制压力150~400MPa,得到钨骨架压坯;将无氧铜冲压成铜排作为烧结熔渗剂;将烧结熔渗剂叠放在钨骨架压坯上面后放入石墨模具中,然后在真空炉中进行烧结,得到钨铜复合材料,该钨铜复合材料由钨铜合金层和铜层构成,铜层覆盖在钨铜合金的表面上。本发明将钨铜复合材料的熔渗密度提高到99%以上,完全满足一些特殊设备部件的要求,大大延长这些特殊设备的使用寿命。

标签:
复合材料
浙江 - 湖州 来源:中冶有色网 2023-03-18
CPC炭塑复合材料及其制备工艺

本发明属于塑料复合材料技术领域,尤其涉及一种CPC炭塑复合材料及其制备工艺。本发明的原料组成包括高密度聚乙烯树脂,竹炭纤维,木粉以及马来酸酐相容剂,而其中的竹炭纤维长度有0.12‑0.23mm、0.55‑0.80mm这两个最优的范围,最后再配合特定且区分开来的竹炭纤维制备方法、炭塑复合材料混炼方法,保证最终的炭塑复合材料兼具较高的抗冲击强度和较高的拉伸强度。本发明具有以下优点:第一,使用竹炭纤维部分代替了木粉,大大降低了地板的腐坏、霉变速度,延长其有效使用寿命;第二,竹炭纤维在制备时经过了煅烧环节,纤维表面的极性得以降低,其相较于原始的竹纤维,与树脂界面之间的相容性更好,竹炭纤维在地板中的分布更加均匀,进一步提升地板的结构强度。

标签:
复合材料
浙江 - 湖州 来源:中冶有色网 2023-03-18
锂电池用石墨复合材料及其制备方法

本发明公开了一种锂电池用石墨复合材料及其制备方法,这种石墨复合材料包括石墨主体材料、位于所述石墨主体材料表面的包覆层。所述石墨主体材料为石墨和纳米硅组成的复合材料,所述包覆层为改性沥青、分散剂、有机碱组成的包覆材料。该石墨复合材料中石墨可均匀的分散于二氧化硅的纳米孔道内,碳化后更为细密,所制备的纳米级多孔石墨主体材料,具有高比表面积、高导电性、低成本的特性、由于孔道致密均匀,锂离子可在球的各个方向插入和放出,可有效解决石墨片层溶胀、坍塌和不能快速大电流充放电的问题。采用改性沥青包覆石墨主体材料的核‑壳结合方式,制备的电池负极材料具有高可逆容量、化学稳定性强、导电率高、首次充放电效率高等特点。

标签:
复合材料
浙江 - 湖州 来源:中冶有色网 2023-03-18
可快速插接的复合材料拉挤型材、拼接方法及其应用

本发明公开一种可快速插接的复合材料拉挤型材、拼接方法及其应用,复合材料拉挤型材包括:型材本体以及型材插接部,型材插接部为设置于型材本体上的衬件,或为型材本体的一部分;型材插接部的至少一个部分具有凸起或者凹陷或者缺口;和/或,在外力作用下,型材插接部的至少一个部分能够变形而形成凸起或者凹陷或者缺口;和/或,在加热条件下,型材插接部的至少一个部分能够熔融或者软化;型材插接部上插接前预制或插接后形成的凸起或者凹陷或者缺口与插接件或者其他部件配合卡接;或,型材插接部与插接件或者其他部件焊接。本发明通过型材接插部实现了复合材料拉挤型材之间或者复合材料拉挤型材与其他部件之间的快速插接,大大拓展了复合材料拉挤型材的应用范围。

标签:
复合材料
浙江 - 湖州 来源:中冶有色网 2023-03-18
硫化镍/石墨烯复合材料及其制备方法和应用

本发明公开了一种硫化镍/石墨烯复合材料及其制备方法和应用,属于复合材料技术领域。所述制备方法包括将含镍离子的溶液与氧化石墨烯混合得到混合液,再在混合液中加入含硫化合物进行水热反应得到固体产物,将所述固体产物置于惰性气氛下,煅烧制得所述的硫化镍/石墨烯复合材料。本发明通过将含镍离子、含硫化合物和氧化石墨烯的混合物经水热反应后得到的产物进行煅烧制得纯度较高的硫化镍/石墨烯复合材料,有利于提高锂离子电池的能量以及循环性能与倍率性能。

标签:
复合材料
浙江 - 湖州 来源:中冶有色网 2023-03-18
上一页 82 83 84 85 86 ... 87 下一页
共87页    到第

中冶有色为您提供最新的浙江湖州有色金属材料制备及加工技术理论与应用信息,涵盖发明专利、权利要求、说明书、技术领域、背景技术、实用新型内容及具体实施方式等有色技术内容。打造最具专业性的有色金属技术理论与应用平台!

全国热门有色金属设备推荐
展开更多 +
全国热门有色金属技术推荐
展开更多 +

 

江西省隆恩特环保设备有限公司
宣传

报名参会
更多+

报告下载

有色专家
更多+

有研科技集团有限公司
中国工程院 院士
长沙矿冶研究院有限责任公司
中国工程院院士
北京科技大学
主任/教授
紫金矿业信息化研发中心
副总经理
辽宁忠旺集团
教授级高工
赤泥综合利用研究报告2025
推广

热门技术
更多+

推荐企业
更多+

福建省金龙稀土股份有限公司
宣传

发布

在线客服

公众号

电话

顶部
咨询电话:
010-88793500-807