青岛垚鑫智能科技有限公司
宣传

位置:北方有色 >

有色技术频道 >

> 失效分析技术

分类:
全部
矿山技术
冶金技术
材料制备及加工技术
环境保护技术
分析检测技术
 
全部
物理检测技术
化学分析技术
力学检测技术
无损检测技术
失效分析技术
环境检测技术
地区:
全部
北京
天津
上海
重庆
河北
山西
辽宁
吉林
黑龙江
江苏
浙江
安徽
福建
江西
山东
河南
湖北
湖南
广东
海南
四川
贵州
云南
陕西
甘肃
青海
内蒙
广西
西藏
宁夏
新疆
其他
其他
展开
 
全部
北京

北京有色金属失效分析技术理论与应用

免费发布技术信息>>
考虑时变失效阈值的复合材料结构可靠性实时评估方法

本发明涉及一种考虑时变失效阈值的复合材料结构可靠性实时评估方法,它包含以下六个步骤:步骤一:建立系统方程,步骤二:滤波器初始化,步骤三:时间更新,步骤四:量测更新,步骤五:失效阈值估计,步骤六:可靠性评估。步骤三到步骤六重复运行直至最终时刻。本发明的有益效果是:采用自校准卡尔曼滤波算法对复合材料结构所面临的未知输入进行估计与补偿,提升了结构损伤状态的估计精度,并结合状态相关的结构失效阈值,可对复合材料结构可靠性进行实时评估,促进了复合材料结构从被动的计划性维修向主动的视情维修转变,对于复合材料结构的精细化维护具有重要意义。

标签:
失效分析
北京 - 北京 来源:北方有色网 2023-03-19
失效钒电池正极电解液制备二氧化钒的方法

本发明公开了一种失效钒电池正极电解液制备二氧化钒的方法,包括以下步骤:a、测定失效钒电池正极电解液的五价钒离子浓度;b、向所述步骤a的电解液中加入碳基吸附剂,吸附,过滤、干燥,得到含钒吸附剂;c、将所述步骤b得到的含钒吸附剂在惰性气氛保护下,进行焙烧,得到二氧化钒。本发明的失效钒电池正极电解液制备二氧化钒的方法,碳基吸附剂具有操作简单、成本低廉、产品纯度较高、重复性好、适于工业化生产等优点,实现了对钒电解液的回收以及再利用,节约了生产成本,并且改善环境污染。

标签:
失效分析
北京 - 北京 来源:北方有色网 2023-03-19
干气密封卡涩失效故障排除的方法

本发明涉及离心压缩机技术领域,是一种干气密封卡涩失效故障排除的方法,其包括步骤一:确定泄漏的一端,将联轴器断开并将锁轴工具安装于离心压缩机轴上;步骤二:通过锁轴工具使泄漏端干气密封的静环表面与动环表面贴和在一起。步骤三:向离心压缩机腔体内进行静态充压,向干气密封供应密封气。步骤四:利用锁轴工具反方向窜动压缩机转子,观察干气密封泄漏压力有无变化,若无变化则继续充压。步骤五:重复步骤四的过程并反复窜动转子,直至达到预定压力值时,压差变送器示值仍无变化,证明静环密封环已将位移范围内堆积的灰份清除。本发明结构合理而紧凑,使用方便,其能降低现场维检修工作量,具有简便、高效的特点。

标签:
失效分析
北京 - 北京 来源:北方有色网 2023-03-19
失效标准均值更新补偿方法及装置

本发明提供一种失效标准均值更新补偿方法及装置,能够减小由于材料分散性引起的个别样本与样本总体之间的偏差,以提高样本个体故障诊断的准确度。所述方法包括:获取原样本空间失效标准的均值和方差,并获取新样本特征参量;基于获取的原样本空间失效标准的均值和方差、及新样本特征参量,利用最大后验概率更新失效标准的均值;判断更新后的均值与更新前的均值之间的相对误差是否小于预设的第一阈值,若是,则利用更新后的均值与更新前的均值之间的差值对新样本特征参量进行补偿本发明适用于机械设备故障诊断和寿命预测操作。

标签:
失效分析
北京 - 北京 来源:北方有色网 2023-03-19
过滤器的失效过滤管确定、保护方法及装置

本发明提供了一种过滤器的失效过滤管确定、保护方法及装置,过滤器的失效过滤管确定方法包括:利用预先设置的高频动态压力传感器采集脉冲反吹过程中过滤器内壁不同位置处的动态压力数据;其中,所述的动态压力数据包括:压力值数据及时间数据;根据各传感器采集的动态压力数据确定压力波到达不同位置处的时间差数据;根据所述时间差数据利用TDOA算法建立定位仿真模型;根据所述定位仿真模型生成的仿真结果确定失效过滤管的所在组。本发明通过测定脉冲反吹过程中过滤器内壁面不同位置处的动态压力,并且根据各个传感器之间的信号时间差,能精准的对断裂的过滤管所在的组进行定位,进而对断裂的过滤管实施保护。

标签:
失效分析
北京 - 北京 来源:北方有色网 2023-03-19
动密封热失效试验方法
动密封热失效试验方法 1048     
 0

本发明公开了一种对装配在传动装置中的被试密封件进行动密封热失效试验的方法,包括步骤:设置被试件动密封热失效试验所需的试验压力、介质温度、试验转速和测试时间的参数;根据设定的介质温度开始对传动装置进行加温;利用微型传感器传送的信号判断传动装置内的介质温度达到设定的介质温度时,给装配有被试密封件的传动装置提供压力直至传动装置内的油压达到设定的测试压力,并且启动电机来使传动装置的试验转速达到设定的试验转速;保持介质温度、测试压力和试验转速不变,直到到达设定的测试时间后,并且记录在达到设定的测试时间之前的关于被试密封件的温升状态和时间、压力和转速相关的试验数据。

标签:
失效分析
北京 - 北京 来源:北方有色网 2023-03-19
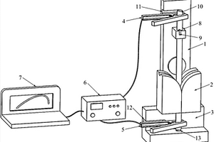
接触线反复弯曲试验失效判定系统

接触线反复弯曲试验失效判定系统,属于轨道交通领域,主要由机械系统、电子系统以及数据采集和显示系统组成;机械系统包括拨杆(1)、导向块(2)、支座(3),电子系统由上电夹钳(4)、下电夹钳(5)、电控制柜(6)组成,数据采集和显示系统为电脑控制单元(7)。电控制柜(6)向连接接触线(10)的上电夹钳(4)、下电夹钳(5)施加直流电压和电流,测试接触线(10)在拨杆(1)控制的反复弯曲过程中的电阻,并通过电脑控制单元(7)实时显示电阻随时间变化曲线,判定反复弯曲过程中接触线(10)出现裂和断的次数,实现智能判定接触线失效次数的功能。

标签:
失效分析
北京 - 北京 来源:北方有色网 2023-03-19
失效钒电池电解液制备氮化钒的方法

本发明公开了一种失效的钒电池电解液制备氮化钒的方法,包括如下步骤:a、测定失效钒电池电解液中总钒离子浓度;b、向所述步骤a的失效钒电池电解液中加入碳基吸附剂,吸附,过滤、干燥,得到含钒吸附剂;c、将所述步骤b得到的含钒吸附剂在氮气气氛下进行两段程序升温煅烧,得到氮化钒。本发明的失效的钒电池电解液制备氮化钒的方法解决了现有钒电池电解液回收工艺单一以及现有氮化钒制备方法单一等不足,不仅可以解决现有失效钒电池电解液处置问题,还可以获得高附加值氮化钒产品,具有很好的应用前景。

标签:
失效分析
北京 - 北京 来源:北方有色网 2023-03-19
失效钒电池电解液回收制备五氧化二钒的方法

本发明公开了一种失效钒电池电解液回收制备五氧化二钒的方法,包括如下步骤:a、测定失效钒电池电解液的总钒离子浓度;b、向所述步骤a的电解液中加入碳基吸附剂,吸附,过滤、干燥,得到含钒吸附剂;c、将所述步骤b得到的含钒吸附剂在空气中焙烧,得到五氧化二钒。本发明的失效钒电池电解液回收制备五氧化二钒的方法,不仅实现了钒电解液的回收再利用,而且产生高附加值的五氧化二钒,该回收方法具有工艺简单,操作方便等优点,而且整个工艺流程无废水、废气产生,属于典型的废物循环利用工艺技术,具有很高的实际应用价值。

标签:
失效分析
北京 - 北京 来源:北方有色网 2023-03-19
基于浴盆失效曲线的水电机组劣化评估方法

本发明公开了一种基于浴盆失效曲线的水电机组劣化评估方法,该方法充分考虑机组从安装到最终超期服役的浴盆失效路径,采用三种不同的劣化模型对单个指标进行评价,使机组不同指标能够精确表征机组早期、中期和晚期的劣化程度。同时综合考虑家族缺陷,巡检记录等现场数据,对各个方面的指标进行变权重加权计算,最终得到机组综合劣化程度和评级,指导机组维修决策和超期服役运行,本发明能够有效评估水电机组的劣化程度,具有很好的经济效益和工程价值。

标签:
失效分析
北京 - 北京 来源:北方有色网 2023-03-19
超声电机磨损失效寿命的快速确定方法

本发明公开了一种超声电机磨损失效寿命的快速确定方法,即在加速应力下进行超声电机的加速寿命试验,监测磨损过程的全寿命周期中摩擦材料磨损量、转子转速、定子温度、摩擦转矩、失效时间等参数;在加速寿命试验进行的同时,进行正常应力下超声电机的寿命试验,监测磨损过程中摩擦材料磨损量等参数,在加速应力下所有电机失效后停止正常应力下的超声电机寿命试验;基于定子行波速度解析表达式计算定子行波速度并基于超声电机的定/转子接触模型获得转子受到接触面的轴向力等寿命试验过程中不易测得的参数;根据加速因子和加速应力下的磨损失效时间反推正常应力下超声电机的使用寿命。在加速应力下,寿命试验耗时较短,起到快速确定寿命的目的。

标签:
失效分析
北京 - 北京 来源:北方有色网 2023-03-19
智能电动车辆视觉车道居中辅助系统失效安全控制方法

本发明提出的一种智能电动车辆视觉车道居中辅助系统失效安全控制方法,通过自车搭载的视觉相机得到智能电动车辆行驶过程中视觉相机探测范围内的车道线信号,根据车道线方程得到自车的期望行驶轨迹;当车道线信号正常时,利用车道线信号计算当前时刻的预瞄横向偏差,以此计算当前时刻的自车期望方向盘转角信号,自车按照该转角信号进行操作;当车道线信号异常时,车道居中辅助系统将基于PDC算法推算自车与道路中心的相对位置关系,并求得自车需执行的转向命令,在一定时间内维持住自车在既定车道内行驶。本发明能够在车道线信号完全失效且驾驶员来不及接管的时间段,为驾驶员安全接管争取宝贵时间,从而达到安全行驶的目的。

标签:
失效分析
北京 - 北京 来源:北方有色网 2023-03-19
导引头数据失效模式下的制导信息重构方法

本发明涉及一种导引头数据失效模式下的制导信息重构方法,利用导引头稳定跟踪段的输出信息对目标位置进行被动定位,并根据目标位置序列得到目标速度信息,进而得到目标运动规律;在导引头失效情况下,利用被动定位的目标运动规律计算弹目相对运动关系,并生成视线角速率,实现制导信息重构,与工程中常用的过载指令记忆导引方法或按预估目标进行虚拟导引的方法相比,大大改善了故障模式下的制导精度,提高了命中概率;并且原理简单,易于工程实现;并且本发明方法使用导引头先验信息对目标运动规律进行被动定位,基于软件实现,无需新增探测器件,易于操作和实践,降低成本,并且原理简单,无需复杂的理论算法支撑,工程上易于实现和移植。

标签:
失效分析
北京 - 北京 来源:北方有色网 2023-03-19
空间延迟容忍网络连接意外失效的应对方法

本发明公开一种空间延迟容忍网络连接意外失效的应对方法,该方法与提供可靠传输的LTP协议协同工作,包括建立并使用连接失效发现机制、连接恢复探测机制、连接失效及恢复通告机制、连接图更新机制和考虑连接失效的路由计算机制,使用束的连续重传作为连接失效的标志,当发现连接失效时将失效信息告知其他节点,其他节点根据通告更新连接信息,在计算路由时及时将失效连接从路径中排除,以此来应对空间电磁干扰或节点能量过低等原因造成的连接失效问题。

标签:
失效分析
北京 - 北京 来源:北方有色网 2023-03-19
模拟电路焊点机械蠕变失效机理的表征参数确定方法

模拟电路焊点机械蠕变失效机理的表征参数确定方法,步骤如下:1,选定一模拟电路,在EDA仿真软件中绘制出电路图;2,用焊点机械蠕变失效机理退化模型代替焊点机械蠕变失效机理在电路中的作用过程;3,在EDA仿真软件中,按故障注入方式,将焊点机械蠕变失效机理注入到所绘制的电路图中;4,设置EDA仿真软件中仿真的环境条件,进行电路仿真实验;5,记录每个测量节点不同时刻的输出值;6,计算出每个测量节点的各个时刻输出值的累计变化率;7,对每个测量节点的各个时刻输出值的累计变化率进行对比,找出变化最快的节点,按照表征参数的选取原则,将此节点代表的参数作为模拟电路焊点机械蠕变失效机理的表征参数。

标签:
失效分析
北京 - 北京 来源:北方有色网 2023-03-19
抗GPS失效的车载组合导航方法

一种抗GPS(全球定位系统)失效的车载组合导航方法,本发明涉及一种适用于车载低成本组合导航系统的抗GPS失效组合导航方法。该方法首先利用动态卷积相关法估计不同类传感器测量数据的相对时间延迟,依据相对时间延迟校准GPS、陀螺和速度传感器三类传感器的输出数据;其次采用去野值新息正交滑窗平均滤波器剔除上述三类传感器原始数据野值,降低数据离散度;第三,GPS有效状态下实时在线估计陀螺和速度传感器误差系数并补偿;第四,当GPS失效发生时启动递推算法给出位置和航向信息。本发明解决车载低成本陀螺和速度传感器误差漂移快的问题,显著提高位置、航向精度。可用于任何包含GPS、陀螺、速度传感器的车载导航系统中。

标签:
失效分析
北京 - 北京 来源:北方有色网 2023-03-19
兴趣点失效校验方法、装置、服务器及存储介质

本发明实施例公开了一种兴趣点失效校验方法、装置、服务器及存储介质。该方法包括:接收目标区域中的各个用户发送的目标兴趣点的信息;其中,所述目标兴趣点的信息至少包括:所述目标兴趣点的名称和所述目标兴趣点的位置;根据所述目标兴趣点的信息获取所述目标兴趣点的初始数据;其中,所述目标兴趣点的初始数据至少包括:所述目标兴趣点的初始名称和所述目标兴趣点的初始位置;获得所述目标兴趣点的初始数据与所述目标兴趣点的信息的相似度;根据所述目标兴趣点的初始数据与所述目标兴趣点的信息的相似度对所述目标兴趣点进行失效校验。不仅可以准确地对兴趣点进行失效检验,而且还可以节省人工成本和时间成本。

标签:
失效分析
北京 - 北京 来源:北方有色网 2023-03-19
绝对式光电编码器失效模式下的寻零控制系统及方法

一种绝对式光电编码器失效模式下的寻零控制系统及方法,本发明针对某卫星型号产品光电编码器进入增量模式导致角度测量错误的一种故障冗余措施。为了提高粗指向机构产品的可靠性和可用性,在编码器部分硬件故障的情况下也能保证产品的功能和性能。采用的绝对式光电编码器当部分硬件或软件功能失效的情况下会转入增量模式进行工作,此时光电编码器测量的角度变为增量数据。为了获得绝对的角度,需要寻找到光电编码器的绝对零位,然后编码器将以寻找到的零位为基准输出角度数据,以指示出激光终端粗指向机构的工作位置。

标签:
失效分析
北京 - 北京 来源:北方有色网 2023-03-19
水泥环气密封性失效判断方法

本发明公开了一种水泥环气密封性失效判断方法,包括以下步骤:确定气密封性失效点;计算水泥环实际受力情况;将计算结果与实验结果进行对比,判断水泥环受力是否超过其气密封性失效点;确定水泥石残余应变值;对井筒压力变化过程进行模拟,计算水泥环实际受力情况,以及压裂结束后水泥环残余应变情况;将计算结果与实验结果进行对比,判定气密封性是否安全。本发明将水泥石损伤及渗透率变化作为其气密封失效的评判标准,利用三轴加卸载应力应变实验,对渗透率进行监测,得到渗透率随应力应变的变化特征,辅以声发射监测,对水泥石内部结构变化进行监控。该方法比传统方法更准确,对水泥环的性能及配方设计、现场井筒操作的指导更安全。

标签:
失效分析
北京 - 北京 来源:北方有色网 2023-03-19
高水压多道盾尾刷动态密封失效涌水溃土实验平台和方法

本发明提供了一种高水压多道盾尾刷动态密封失效涌水溃土实验平台和方法。该装置包括:反力架、密封装置、动态滑移装置、固定钢板、压力传感器、电缸或油缸和油脂土水浆液加压系统;利用固定钢板连接密封装置与反力架的横梁,压力传感器与电缸或油缸连接,用于监测电缸或油缸推杆的顶推力;动态滑移装置通过前端连接反力架的电缸或油缸,实现水平移动模拟盾构机掘进时管片与盾尾刷之间的相对滑动;密封装置用于密封油脂土水浆液加压系统中的油脂注入口和浆料注入口,以形成盾尾所处的真实环境状态。本发明可以模拟真实环境下盾尾密封失效的过程,进而得出盾尾密封失效的原因与注浆压力、油脂压力、水土压力及盾尾刷压缩量之间的关系。

标签:
失效分析
北京 - 北京 来源:北方有色网 2023-03-19
基于数据时间维度信息的软件性能失效表征要素确定方法

本发明公开了一种基于数据时间维度信息的软件性能失效表征要素确定方法,涉及软件性能失效在线预计领域。本发明的方法首先基于软件运行平台的状态变量和软件内部特征变量构建了软件性能失效表征要素待选集合。随后根据数据收集时软件是否即将失效和预计提前时间为数据进行标注,形成样本,并划分训练集和测试集。接下来通过导数方法、滑动窗口方法、预计误差方法和特征选择算法排列形成14种独立的数据处理流程,对样本进行处理,为样本引入数据时间维度信息。最后,使用分类器算法对14组数据中的训练集进行训练,并根据相应的测试集评估模型效果,选择得分最高的模型所对应的数据处理流程为最佳数据处理流程,并基于最佳数据处理流程确定软件性能失效表征要素。

标签:
失效分析
北京 - 北京 来源:北方有色网 2023-03-19
设备失效率的确定方法、装置、计算机设备及存储介质

本发明公开了一种设备失效率的确定方法、装置、计算机设备及存储介质,涉及航空技术领域,用于确定综合模块化航空电子系统中各设备的失效率。本发明的主要技术方案为:根据综合模块化航空电子系统中每种设备类型的重要度值、复杂度值、维修值、测试值,确定每种设备类型的分配失效率;将所述分配失效率小于对应的预估失效率的设备类型,确定为目标设备类型;根据所述目标设备类型的重要度值、成本值、时间值、质量值,所述分配失效率和对应的预估失效率,重新确定所述目标设备类型的失效率。

标签:
失效分析
北京 - 北京 来源:北方有色网 2023-03-19
电连接器接触失效的原位模拟与在线诊断方法

本发明提供一种电连接器接触失效的原位模拟与在线诊断方法,其特征在于,该方法能够对电连接器实际使用时的多种接触失效工作模式进行原位模拟与在线诊断,模拟与在线诊断使用模拟诊断装置进行,该方法包括对电连接器实际使用过程中正常插合状态下持续出现的微动磨损失效、滑动磨损失效以及偏心插入状态下插拔接触失效、经受振动冲击接触失效进行模拟与在线诊断。本发明能够原位模拟电连接器实际使用状态中的多种接触失效工作模式,同时对失效过程中电连接器的主要性能参数接触电阻进行实时监测,进而复现电连接器产品的间歇性接触失效现象,对电连接器的失效提供数据支持及电连接器性能改进提供依据。

标签:
失效分析
北京 - 北京 来源:北方有色网 2023-03-19
高压脉动液体密封失效实验装置

本发明公开了一种高压脉动液体密封失效实验装置,属于金属‑金属硬密封技术领域。密封失效实验装置设置在原有的高压液力循环系统中,密封失效实验装置以三通的形式输出液力工况,所述密封失效实验装置能够测得密封压紧力,同时能够降低三通结构密封基面与基面连接螺纹的垂直度加工要求;所述密封失效实验装置布置于高压增压设备下游,为整个循环液体压力的最高处。本发明能够实时监测密封面压力载荷,根据泄露量的多少判断密封是否可靠,同时能够显著降低试验件的加工难度,剔除不必要的加工偏差对实验受力的影响。

标签:
失效分析
北京 - 北京 来源:北方有色网 2023-03-19
防毒面罩失效预警装置

本实用新型公开了一种防毒面罩失效预警装置,该装置包括存储与毒气反应的化学物质的反应池、位于所述反应池上表面的憎水膜,在所述反应池两端的红外发射装置和红外接收装置,以及与所述红外接收装置蓝牙连接的蓝牙接收模块和对应的报警喇叭。通过该装置,由于红外光吸收的变化,将传统的毒气引发的化学变色程度转化为大小可测的电信号。有效的将反应池、红外发射接收装置、蓝牙发射接收装置和报警喇叭连成一体,使得毒气失效预警装置可以安装于防毒面具内,并且实现报警与监测的分离。

标签:
失效分析
北京 - 北京 来源:北方有色网 2023-03-19
考虑多部位及多失效模式的涡轮盘损伤容限评估方法

本发明涉及一种考虑多部位及多失效模式的涡轮盘损伤容限评估方法,步骤:(1)获取涡轮盘工况条件,包括载荷谱,典型温度等;(2)确立三种典型失效模式:盘心低循环疲劳失效、盘缘蠕变疲劳失效、榫接结构高低周复合疲劳失效;(3)针对三种失效模式,分别开展宏微观裂纹扩展实验,采集材料裂纹扩展性能数据;(4)建立描述涡轮盘材料低循环疲劳、蠕变疲劳、高低周复合疲劳典型失效模式的裂纹扩展寿命预测方法,形成考虑多部位及多失效模式的涡轮盘损伤容限评估方法。

标签:
失效分析
北京 - 北京 来源:北方有色网 2023-03-19
用于智能电能表应力失效拐点的判别方法和系统

本发明公开了一种用于智能电能表应力失效拐点的判别方法和系统,包括:确定智能电能表的典型应力;获取所述典型应力对应的应力条件数据及失效拐点数据;通过所述典型应力、应力条件数据及失效拐点数据,对预先构建的CNN‑LSTM网络失效拐点预测模型进行训练和测试;通过所述模型输出待判别的智能电能表失效拐点的预测值。解决现有技术智能电能表应力失效拐点预测结果与实际情况偏差大的问题。

标签:
失效分析
北京 - 北京 来源:北方有色网 2023-03-19
失效钒电池正极电解液回收制备三氧化二钒的方法

本发明公开了一种失效钒电池正极电解液回收制备三氧化二钒的方法,其包括如下步骤:a、测定失效钒电池正极电解液的四价钒离子浓度和五价钒离子浓度;b、向所述步骤a的电解液中加入碳基吸附剂,吸附,过滤、干燥,得到含钒吸附剂;c、将所述步骤b得到的含钒吸附剂在惰性气氛保护下,进行焙烧,得到三氧化二钒产物。本发明的失效钒电池正极电解液回收制备三氧化二钒的方法,不仅可以解决现有失效钒电池电解液处置问题,还可以获得高附加值三氧化二钒产品,工艺简单,无污染,环境友好,具有很好的应用前景。

标签:
失效分析
北京 - 北京 来源:北方有色网 2023-03-19
基于手动绑线机的高密度封装芯片失效定位方法

本发明公开了一种基于手动绑线机的高密度封装芯片失效定位方法,包括如下步骤:S1:提供COB转接板,并对转接板进行开窗预处理;S2:提供透明薄载玻片;S3:将芯片背面开封或者正面开封,露出硅基面;S4:将芯片的开封面朝向载波片,并进行粘接固定;S5:芯片粘接固定后将透明薄载玻片粘到转接板的开窗部位,使得硅基面朝向待观测面;S6:设置绑线机参数;S7:使用绑线机将芯片的待测针脚与转接板的指定管脚相连接;以及S8:使用EMMI定位芯片失效位置。本发明的高密度封装芯片失效定位方法克服了直接开封测试法中由许多类型封装无外延针脚无法测试问题,也可以规避芯片取die直测法无法背面定位的问题,同时具备价格低廉、使用范围广的优点。

标签:
失效分析
北京 - 北京 来源:北方有色网 2023-03-19
考虑舵机失效及气动扰动的飞行器旋转控制系统及方法

本发明公开了一种考虑舵机失效及气动扰动的飞行器旋转稳定控制系统及方法,该系统中添加有用于观测舵机失效及气动扰动的自适应二阶观测部分和二阶滑模旋转稳定控制部分,使得该旋转稳定控制模块能够在飞行器出现舵机失效或气动扰动情况下控制飞行器,实现飞行器旋转通道稳定。通过自适应二阶观测器对舵机失效及气动扰动进行观测,并通过状态方程中引入考虑舵机失效及气动扰动来给出更为合理的控制指令,进而通过控制指令抵消舵机失效及气动扰动对飞行器旋转稳定的不良影响,通过在控制律中引入二阶滑模面,来保证旋转角及旋转角速度准确收敛至期望值。

标签:
失效分析
北京 - 北京 来源:北方有色网 2023-03-19
上一页 80 81 82 83 84 ... 94 下一页
共94页    到第

北方有色为您提供最新的北京有色金属失效分析技术理论与应用信息,涵盖发明专利、权利要求、说明书、技术领域、背景技术、实用新型内容及具体实施方式等有色技术内容。打造最具专业性的有色金属技术理论与应用平台!

全国热门有色金属设备推荐
展开更多 +
全国热门有色金属技术推荐
展开更多 +

 

江西省隆恩特环保设备有限公司
宣传

报名参会
更多+

报告下载

有色专家
更多+

太原理工大学
院长/教授
赣州江钨钨合金有限公司
工程师
赣州有色冶金研究所有限公司
副主任/高级工程师
国家钨与稀土产品质量检验检测中心
主任
西北有色金属研究院、中国工程院
院士
赤泥综合利用研究报告2025
推广

热门技术
更多+

推荐企业
更多+

福建省金龙稀土股份有限公司
宣传

发布

在线客服

公众号

电话

顶部
咨询电话:
010-88793500-807